Floor Jack Dimensions . Choose a jack that exceeds your vehicle’s weight to prevent accidents. Reinforced lift arm increases strength,. If you want the simplest solution to picking a floor jack size, you can just look for the jack with the highest tonnage capacity provided it fits under your vehicle. What size floor jack for a truck would you want to buy? Consider the gross vehicle weight (gvw) to find a suitable capacity. When you’re looking for the best overall floor jack for your vehicle in. To determine the appropriate size floor jack you need, you need to identify your vehicle’s weight, select a floor jack with adequate capacity, consider vehicle type, check. Floor jacks can fit under vehicles with low clearance to lift them for maintenance or repair work on. A hydraulic floor jack is used for lifting a heavy vehicle using little effort. Confirm the floor jack can handle your car’s weight for safe lifting. Otherwise, follow the 3/4ths rule when it comes to picking floor jack Dual pump pistons quickly raises the floor jack saddle to load.
from bestfloorjack.com
A hydraulic floor jack is used for lifting a heavy vehicle using little effort. Choose a jack that exceeds your vehicle’s weight to prevent accidents. Confirm the floor jack can handle your car’s weight for safe lifting. Reinforced lift arm increases strength,. What size floor jack for a truck would you want to buy? Dual pump pistons quickly raises the floor jack saddle to load. Otherwise, follow the 3/4ths rule when it comes to picking floor jack Consider the gross vehicle weight (gvw) to find a suitable capacity. Floor jacks can fit under vehicles with low clearance to lift them for maintenance or repair work on. If you want the simplest solution to picking a floor jack size, you can just look for the jack with the highest tonnage capacity provided it fits under your vehicle.
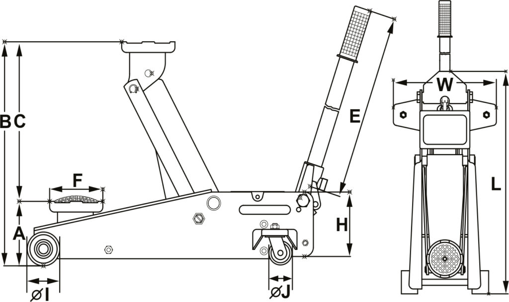
Find the Right Parts Diagram for Your Allied Floor Jack
Floor Jack Dimensions Floor jacks can fit under vehicles with low clearance to lift them for maintenance or repair work on. Consider the gross vehicle weight (gvw) to find a suitable capacity. To determine the appropriate size floor jack you need, you need to identify your vehicle’s weight, select a floor jack with adequate capacity, consider vehicle type, check. Otherwise, follow the 3/4ths rule when it comes to picking floor jack What size floor jack for a truck would you want to buy? When you’re looking for the best overall floor jack for your vehicle in. Floor jacks can fit under vehicles with low clearance to lift them for maintenance or repair work on. A hydraulic floor jack is used for lifting a heavy vehicle using little effort. Reinforced lift arm increases strength,. If you want the simplest solution to picking a floor jack size, you can just look for the jack with the highest tonnage capacity provided it fits under your vehicle. Dual pump pistons quickly raises the floor jack saddle to load. Confirm the floor jack can handle your car’s weight for safe lifting. Choose a jack that exceeds your vehicle’s weight to prevent accidents.
From viewfloor.co
Craftsman 3 Ton Floor Jack Weight Viewfloor.co Floor Jack Dimensions When you’re looking for the best overall floor jack for your vehicle in. Reinforced lift arm increases strength,. Choose a jack that exceeds your vehicle’s weight to prevent accidents. A hydraulic floor jack is used for lifting a heavy vehicle using little effort. If you want the simplest solution to picking a floor jack size, you can just look for. Floor Jack Dimensions.
From device.report
DAYTONA 56643 3 ton Low Profile Professional Floor Jack Owner's Manual Floor Jack Dimensions Confirm the floor jack can handle your car’s weight for safe lifting. What size floor jack for a truck would you want to buy? To determine the appropriate size floor jack you need, you need to identify your vehicle’s weight, select a floor jack with adequate capacity, consider vehicle type, check. Floor jacks can fit under vehicles with low clearance. Floor Jack Dimensions.
From www.alamy.com
Hydraulic floor jack outline. 3d illustration Stock Photo Alamy Floor Jack Dimensions Consider the gross vehicle weight (gvw) to find a suitable capacity. Dual pump pistons quickly raises the floor jack saddle to load. What size floor jack for a truck would you want to buy? To determine the appropriate size floor jack you need, you need to identify your vehicle’s weight, select a floor jack with adequate capacity, consider vehicle type,. Floor Jack Dimensions.
From device.report
HARBOR FREIGHT 57047 2 Ton Steel Low Profile Floor Jack Instructions Floor Jack Dimensions Reinforced lift arm increases strength,. Consider the gross vehicle weight (gvw) to find a suitable capacity. Confirm the floor jack can handle your car’s weight for safe lifting. What size floor jack for a truck would you want to buy? Floor jacks can fit under vehicles with low clearance to lift them for maintenance or repair work on. A hydraulic. Floor Jack Dimensions.
From www.camaros.net
Floor jack Team Camaro Tech Floor Jack Dimensions When you’re looking for the best overall floor jack for your vehicle in. Dual pump pistons quickly raises the floor jack saddle to load. Choose a jack that exceeds your vehicle’s weight to prevent accidents. If you want the simplest solution to picking a floor jack size, you can just look for the jack with the highest tonnage capacity provided. Floor Jack Dimensions.
From stewart-switch.com
Hydraulic Floor Jack Schematic Floor Jack Dimensions What size floor jack for a truck would you want to buy? When you’re looking for the best overall floor jack for your vehicle in. Reinforced lift arm increases strength,. A hydraulic floor jack is used for lifting a heavy vehicle using little effort. Dual pump pistons quickly raises the floor jack saddle to load. Otherwise, follow the 3/4ths rule. Floor Jack Dimensions.
From www.omegalift.eu
2902301 2 Ton ultra low profile service jack OMEGA LIFT EQUIPMENT Floor Jack Dimensions If you want the simplest solution to picking a floor jack size, you can just look for the jack with the highest tonnage capacity provided it fits under your vehicle. Floor jacks can fit under vehicles with low clearance to lift them for maintenance or repair work on. Choose a jack that exceeds your vehicle’s weight to prevent accidents. Consider. Floor Jack Dimensions.
From www.ari-hetra.com
ThreeStep Floor Jack WS16124 132,000 lbs. ARIHETRA™ Floor Jack Dimensions Dual pump pistons quickly raises the floor jack saddle to load. If you want the simplest solution to picking a floor jack size, you can just look for the jack with the highest tonnage capacity provided it fits under your vehicle. What size floor jack for a truck would you want to buy? Otherwise, follow the 3/4ths rule when it. Floor Jack Dimensions.
From trail4runner.com
Floor Jacks vs Bottle Jacks Comparison & Which Is Right For You Floor Jack Dimensions To determine the appropriate size floor jack you need, you need to identify your vehicle’s weight, select a floor jack with adequate capacity, consider vehicle type, check. Otherwise, follow the 3/4ths rule when it comes to picking floor jack Floor jacks can fit under vehicles with low clearance to lift them for maintenance or repair work on. If you want. Floor Jack Dimensions.
From kdi-ppi.com
The Ultimate Guide Lincoln Floor Jack Parts Diagram Explained Floor Jack Dimensions Choose a jack that exceeds your vehicle’s weight to prevent accidents. Consider the gross vehicle weight (gvw) to find a suitable capacity. Reinforced lift arm increases strength,. A hydraulic floor jack is used for lifting a heavy vehicle using little effort. Otherwise, follow the 3/4ths rule when it comes to picking floor jack Confirm the floor jack can handle your. Floor Jack Dimensions.
From www.chevelles.com
Floor Jack Team Chevelle Floor Jack Dimensions Dual pump pistons quickly raises the floor jack saddle to load. Consider the gross vehicle weight (gvw) to find a suitable capacity. Otherwise, follow the 3/4ths rule when it comes to picking floor jack Choose a jack that exceeds your vehicle’s weight to prevent accidents. To determine the appropriate size floor jack you need, you need to identify your vehicle’s. Floor Jack Dimensions.
From www.amazon.ca
VEVOR Floor Jack, 1.5 Ton Low Profile Floor Jack, Aluminum and Steel Floor Jack Dimensions Otherwise, follow the 3/4ths rule when it comes to picking floor jack When you’re looking for the best overall floor jack for your vehicle in. If you want the simplest solution to picking a floor jack size, you can just look for the jack with the highest tonnage capacity provided it fits under your vehicle. Consider the gross vehicle weight. Floor Jack Dimensions.
From device.report
DAYTONA 64200 3 Ton Heavy Duty Floor Jack Owner's Manual Floor Jack Dimensions Floor jacks can fit under vehicles with low clearance to lift them for maintenance or repair work on. A hydraulic floor jack is used for lifting a heavy vehicle using little effort. Reinforced lift arm increases strength,. Dual pump pistons quickly raises the floor jack saddle to load. Consider the gross vehicle weight (gvw) to find a suitable capacity. To. Floor Jack Dimensions.
From floorheikitsu.blogspot.com
Floor Floor Jack Parts Floor Jack Dimensions Dual pump pistons quickly raises the floor jack saddle to load. If you want the simplest solution to picking a floor jack size, you can just look for the jack with the highest tonnage capacity provided it fits under your vehicle. Consider the gross vehicle weight (gvw) to find a suitable capacity. To determine the appropriate size floor jack you. Floor Jack Dimensions.
From device.report
SIP INDUSTRIAL 03642 and 03647 5 Ton and 10 Ton Long Floor Jack Owner's Floor Jack Dimensions Dual pump pistons quickly raises the floor jack saddle to load. Consider the gross vehicle weight (gvw) to find a suitable capacity. If you want the simplest solution to picking a floor jack size, you can just look for the jack with the highest tonnage capacity provided it fits under your vehicle. Choose a jack that exceeds your vehicle’s weight. Floor Jack Dimensions.
From www.vevor.com
VEVOR Low Profile Floor Jack 3 Ton Heavy Steel Single Piston Hydraulic Floor Jack Dimensions Confirm the floor jack can handle your car’s weight for safe lifting. Floor jacks can fit under vehicles with low clearance to lift them for maintenance or repair work on. Choose a jack that exceeds your vehicle’s weight to prevent accidents. Reinforced lift arm increases strength,. Consider the gross vehicle weight (gvw) to find a suitable capacity. When you’re looking. Floor Jack Dimensions.
From www.alamy.com
Hydraulic floor jack outline. 3d illustration Stock Photo Alamy Floor Jack Dimensions When you’re looking for the best overall floor jack for your vehicle in. Otherwise, follow the 3/4ths rule when it comes to picking floor jack Dual pump pistons quickly raises the floor jack saddle to load. Consider the gross vehicle weight (gvw) to find a suitable capacity. Choose a jack that exceeds your vehicle’s weight to prevent accidents. To determine. Floor Jack Dimensions.
From www.vevor.ca
VEVOR Floor Jack, 2.5 Ton Low Profile Floor Jack, Heavyduty Steel Floor Jack Dimensions If you want the simplest solution to picking a floor jack size, you can just look for the jack with the highest tonnage capacity provided it fits under your vehicle. Reinforced lift arm increases strength,. To determine the appropriate size floor jack you need, you need to identify your vehicle’s weight, select a floor jack with adequate capacity, consider vehicle. Floor Jack Dimensions.
From akintrends.com
Best Floor Jacks For Your Vehicle In 2020 Akin Trends Floor Jack Dimensions To determine the appropriate size floor jack you need, you need to identify your vehicle’s weight, select a floor jack with adequate capacity, consider vehicle type, check. Reinforced lift arm increases strength,. Choose a jack that exceeds your vehicle’s weight to prevent accidents. What size floor jack for a truck would you want to buy? Floor jacks can fit under. Floor Jack Dimensions.
From www.alamy.com
Hydraulic floor jack outline. 3d illustration Stock Photo Alamy Floor Jack Dimensions If you want the simplest solution to picking a floor jack size, you can just look for the jack with the highest tonnage capacity provided it fits under your vehicle. Floor jacks can fit under vehicles with low clearance to lift them for maintenance or repair work on. When you’re looking for the best overall floor jack for your vehicle. Floor Jack Dimensions.
From usermanual.wiki
Craftsman 21450145 User Manual FLOOR JACK Manuals And Guides L0807582 Floor Jack Dimensions Dual pump pistons quickly raises the floor jack saddle to load. Otherwise, follow the 3/4ths rule when it comes to picking floor jack When you’re looking for the best overall floor jack for your vehicle in. What size floor jack for a truck would you want to buy? If you want the simplest solution to picking a floor jack size,. Floor Jack Dimensions.
From www.propertyroom.com
Allied 45491 Hydraulic Floor Jack Property Room Floor Jack Dimensions What size floor jack for a truck would you want to buy? When you’re looking for the best overall floor jack for your vehicle in. Choose a jack that exceeds your vehicle’s weight to prevent accidents. Consider the gross vehicle weight (gvw) to find a suitable capacity. Confirm the floor jack can handle your car’s weight for safe lifting. Otherwise,. Floor Jack Dimensions.
From www.homedepot.com
GEARWRENCH 31/2Ton Low Profile Floor Jack with Dual Piston Quick Lift Floor Jack Dimensions If you want the simplest solution to picking a floor jack size, you can just look for the jack with the highest tonnage capacity provided it fits under your vehicle. Consider the gross vehicle weight (gvw) to find a suitable capacity. To determine the appropriate size floor jack you need, you need to identify your vehicle’s weight, select a floor. Floor Jack Dimensions.
From za.pinterest.com
Floor Jack Parts Floor jack, Flooring, Jack Floor Jack Dimensions What size floor jack for a truck would you want to buy? To determine the appropriate size floor jack you need, you need to identify your vehicle’s weight, select a floor jack with adequate capacity, consider vehicle type, check. Choose a jack that exceeds your vehicle’s weight to prevent accidents. Floor jacks can fit under vehicles with low clearance to. Floor Jack Dimensions.
From garagespot.com
7 Best 3Ton Floor Jacks in 2021 [Updated] GarageSpot Floor Jack Dimensions To determine the appropriate size floor jack you need, you need to identify your vehicle’s weight, select a floor jack with adequate capacity, consider vehicle type, check. A hydraulic floor jack is used for lifting a heavy vehicle using little effort. Reinforced lift arm increases strength,. Floor jacks can fit under vehicles with low clearance to lift them for maintenance. Floor Jack Dimensions.
From titantoolindia.in
3 Ton Hydraulic Floor Jack Titan Toolkit Floor Jack Dimensions When you’re looking for the best overall floor jack for your vehicle in. Dual pump pistons quickly raises the floor jack saddle to load. Choose a jack that exceeds your vehicle’s weight to prevent accidents. Floor jacks can fit under vehicles with low clearance to lift them for maintenance or repair work on. A hydraulic floor jack is used for. Floor Jack Dimensions.
From enginelibmisallying.z14.web.core.windows.net
Hydraulic Floor Jack Diagram Floor Jack Dimensions When you’re looking for the best overall floor jack for your vehicle in. Otherwise, follow the 3/4ths rule when it comes to picking floor jack Confirm the floor jack can handle your car’s weight for safe lifting. Reinforced lift arm increases strength,. Floor jacks can fit under vehicles with low clearance to lift them for maintenance or repair work on.. Floor Jack Dimensions.
From www.harborfreight.com
3 Ton LowProfile Floor Jack with RAPID PUMP, Slate gray Floor Jack Dimensions Reinforced lift arm increases strength,. Choose a jack that exceeds your vehicle’s weight to prevent accidents. Otherwise, follow the 3/4ths rule when it comes to picking floor jack Floor jacks can fit under vehicles with low clearance to lift them for maintenance or repair work on. What size floor jack for a truck would you want to buy? A hydraulic. Floor Jack Dimensions.
From userfixlois.z13.web.core.windows.net
Floor Jack Parts List Floor Jack Dimensions Confirm the floor jack can handle your car’s weight for safe lifting. When you’re looking for the best overall floor jack for your vehicle in. What size floor jack for a truck would you want to buy? Floor jacks can fit under vehicles with low clearance to lift them for maintenance or repair work on. If you want the simplest. Floor Jack Dimensions.
From www.powerbuilttools.co.nz
2 Ton / 1814kg ULTRA LOW Profile Floor Jack Powerbuilt Tools Floor Jack Dimensions Dual pump pistons quickly raises the floor jack saddle to load. Confirm the floor jack can handle your car’s weight for safe lifting. What size floor jack for a truck would you want to buy? Floor jacks can fit under vehicles with low clearance to lift them for maintenance or repair work on. Reinforced lift arm increases strength,. Choose a. Floor Jack Dimensions.
From www.vevor.com.au
VEVOR Floor Jack, 4 Ton Low Profile Floor Jack, Heavyduty Steel Racing Floor Jack Dimensions What size floor jack for a truck would you want to buy? Consider the gross vehicle weight (gvw) to find a suitable capacity. If you want the simplest solution to picking a floor jack size, you can just look for the jack with the highest tonnage capacity provided it fits under your vehicle. Dual pump pistons quickly raises the floor. Floor Jack Dimensions.
From www.ari-hetra.com
ThreeStep Floor Jack WS19101 176,000 lbs. ARIHETRA™ Floor Jack Dimensions If you want the simplest solution to picking a floor jack size, you can just look for the jack with the highest tonnage capacity provided it fits under your vehicle. Confirm the floor jack can handle your car’s weight for safe lifting. To determine the appropriate size floor jack you need, you need to identify your vehicle’s weight, select a. Floor Jack Dimensions.
From bestfloorjack.com
Find the Right Parts Diagram for Your Allied Floor Jack Floor Jack Dimensions Confirm the floor jack can handle your car’s weight for safe lifting. To determine the appropriate size floor jack you need, you need to identify your vehicle’s weight, select a floor jack with adequate capacity, consider vehicle type, check. A hydraulic floor jack is used for lifting a heavy vehicle using little effort. Floor jacks can fit under vehicles with. Floor Jack Dimensions.
From usermanual.wiki
Manual For The 62326 3 Ton Low Profile Steel Heavy Duty Floor Jack With Floor Jack Dimensions Otherwise, follow the 3/4ths rule when it comes to picking floor jack A hydraulic floor jack is used for lifting a heavy vehicle using little effort. When you’re looking for the best overall floor jack for your vehicle in. What size floor jack for a truck would you want to buy? If you want the simplest solution to picking a. Floor Jack Dimensions.
From viewfloor.co
Craftsman 3 Ton Floor Jack Review Viewfloor.co Floor Jack Dimensions Choose a jack that exceeds your vehicle’s weight to prevent accidents. Otherwise, follow the 3/4ths rule when it comes to picking floor jack Consider the gross vehicle weight (gvw) to find a suitable capacity. Reinforced lift arm increases strength,. When you’re looking for the best overall floor jack for your vehicle in. To determine the appropriate size floor jack you. Floor Jack Dimensions.