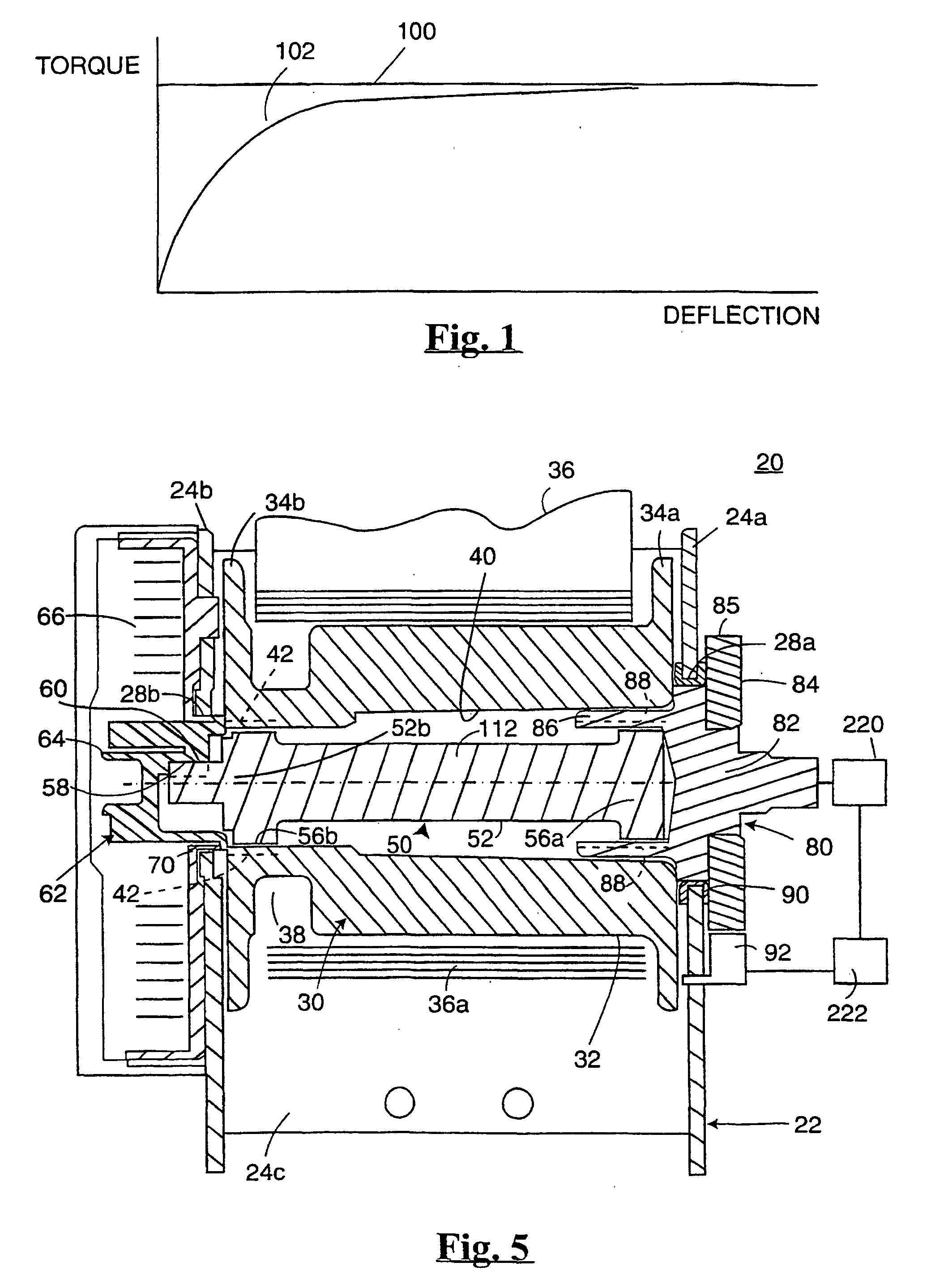
Belt Torsion Bar . more advanced load limiters rely on a torsion bar in the retractor mechanism. A torsion bar is just a length. a contemporary load limiting device now typically incorporates a “torsion bar” within the retractor mechanism as compared to. the torsion bar can be described as dual mode because it can provide two separate resistive seat belt forces, therefore two. this paper examines the use of various materials for the force limiter torsion bar found in an automotive seat belt assembly. specifically, a seat belt torsion bar is a small, cylindrical bar of relatively soft metal located in the shaft of the spool. in this type of design, a metal bar is designed to take the belt load in the torsional mode then to yield at a preset. learn about the design and risks of automotive seat belt torsion bars in this informative article.
from www.chinonthetank.com
A torsion bar is just a length. in this type of design, a metal bar is designed to take the belt load in the torsional mode then to yield at a preset. specifically, a seat belt torsion bar is a small, cylindrical bar of relatively soft metal located in the shaft of the spool. this paper examines the use of various materials for the force limiter torsion bar found in an automotive seat belt assembly. learn about the design and risks of automotive seat belt torsion bars in this informative article. a contemporary load limiting device now typically incorporates a “torsion bar” within the retractor mechanism as compared to. the torsion bar can be described as dual mode because it can provide two separate resistive seat belt forces, therefore two. more advanced load limiters rely on a torsion bar in the retractor mechanism.
How cb450 torsion bars work Chin on the Tank Motorcycle stuff in
Belt Torsion Bar more advanced load limiters rely on a torsion bar in the retractor mechanism. in this type of design, a metal bar is designed to take the belt load in the torsional mode then to yield at a preset. specifically, a seat belt torsion bar is a small, cylindrical bar of relatively soft metal located in the shaft of the spool. this paper examines the use of various materials for the force limiter torsion bar found in an automotive seat belt assembly. more advanced load limiters rely on a torsion bar in the retractor mechanism. learn about the design and risks of automotive seat belt torsion bars in this informative article. A torsion bar is just a length. the torsion bar can be described as dual mode because it can provide two separate resistive seat belt forces, therefore two. a contemporary load limiting device now typically incorporates a “torsion bar” within the retractor mechanism as compared to.
From askcarmechanic.com
The Difference Between Torsion Bars Vs Coil Springs (With Pictures) Belt Torsion Bar this paper examines the use of various materials for the force limiter torsion bar found in an automotive seat belt assembly. A torsion bar is just a length. learn about the design and risks of automotive seat belt torsion bars in this informative article. a contemporary load limiting device now typically incorporates a “torsion bar” within the. Belt Torsion Bar.
From toolsidee.co.uk
HBM 5 parts 200 mm. torsion bars set with 1/2 toolsidee.co.uk Belt Torsion Bar more advanced load limiters rely on a torsion bar in the retractor mechanism. in this type of design, a metal bar is designed to take the belt load in the torsional mode then to yield at a preset. A torsion bar is just a length. a contemporary load limiting device now typically incorporates a “torsion bar” within. Belt Torsion Bar.
From www.racingjunk.com
How To Adjust Mopar Torsion Bars RacingJunk News Belt Torsion Bar the torsion bar can be described as dual mode because it can provide two separate resistive seat belt forces, therefore two. A torsion bar is just a length. in this type of design, a metal bar is designed to take the belt load in the torsional mode then to yield at a preset. more advanced load limiters. Belt Torsion Bar.
From swayaway.com
Torsion Bar Set ’88’04 Chevy Suburban 4WD & ’01’03 GMC Yukon 2WD Belt Torsion Bar A torsion bar is just a length. learn about the design and risks of automotive seat belt torsion bars in this informative article. specifically, a seat belt torsion bar is a small, cylindrical bar of relatively soft metal located in the shaft of the spool. the torsion bar can be described as dual mode because it can. Belt Torsion Bar.
From www.tal-ko.com
CRG Front Torsion Bar Complete Belt Torsion Bar the torsion bar can be described as dual mode because it can provide two separate resistive seat belt forces, therefore two. this paper examines the use of various materials for the force limiter torsion bar found in an automotive seat belt assembly. more advanced load limiters rely on a torsion bar in the retractor mechanism. a. Belt Torsion Bar.
From www.carid.com
ARB® 303001 OME™ Front Torsion Bars Belt Torsion Bar learn about the design and risks of automotive seat belt torsion bars in this informative article. A torsion bar is just a length. a contemporary load limiting device now typically incorporates a “torsion bar” within the retractor mechanism as compared to. specifically, a seat belt torsion bar is a small, cylindrical bar of relatively soft metal located. Belt Torsion Bar.
From www.milduraoffroad.com.au
TORSION BARS Mildura Off Road Belt Torsion Bar in this type of design, a metal bar is designed to take the belt load in the torsional mode then to yield at a preset. the torsion bar can be described as dual mode because it can provide two separate resistive seat belt forces, therefore two. this paper examines the use of various materials for the force. Belt Torsion Bar.
From www.lisi-automotive.com
Seat belt mechanism Torsion Bar_Barre de torsion pour mécanisme de Belt Torsion Bar this paper examines the use of various materials for the force limiter torsion bar found in an automotive seat belt assembly. learn about the design and risks of automotive seat belt torsion bars in this informative article. in this type of design, a metal bar is designed to take the belt load in the torsional mode then. Belt Torsion Bar.
From www.hardrace.com
REAR TORSION BAR Q0011 HARDRACE GLOBAL Belt Torsion Bar A torsion bar is just a length. learn about the design and risks of automotive seat belt torsion bars in this informative article. this paper examines the use of various materials for the force limiter torsion bar found in an automotive seat belt assembly. more advanced load limiters rely on a torsion bar in the retractor mechanism.. Belt Torsion Bar.
From www.chinonthetank.com
How cb450 torsion bars work Chin on the Tank Motorcycle stuff in Belt Torsion Bar a contemporary load limiting device now typically incorporates a “torsion bar” within the retractor mechanism as compared to. this paper examines the use of various materials for the force limiter torsion bar found in an automotive seat belt assembly. more advanced load limiters rely on a torsion bar in the retractor mechanism. the torsion bar can. Belt Torsion Bar.
From tjmtamworth.com.au
XGS Torsion Bars Pair TJM Tamworth Belt Torsion Bar a contemporary load limiting device now typically incorporates a “torsion bar” within the retractor mechanism as compared to. learn about the design and risks of automotive seat belt torsion bars in this informative article. this paper examines the use of various materials for the force limiter torsion bar found in an automotive seat belt assembly. specifically,. Belt Torsion Bar.
From arcca.com
Automotive Seat Belt Torsion Bars What Are They And What Do They Do Belt Torsion Bar learn about the design and risks of automotive seat belt torsion bars in this informative article. in this type of design, a metal bar is designed to take the belt load in the torsional mode then to yield at a preset. more advanced load limiters rely on a torsion bar in the retractor mechanism. a contemporary. Belt Torsion Bar.
From shop.snakeracing.com.au
Navara D22 XFlex Torsion Bars Snake Racing Belt Torsion Bar A torsion bar is just a length. specifically, a seat belt torsion bar is a small, cylindrical bar of relatively soft metal located in the shaft of the spool. the torsion bar can be described as dual mode because it can provide two separate resistive seat belt forces, therefore two. a contemporary load limiting device now typically. Belt Torsion Bar.
From www.thedrive.com
What Are Torsion Bars and Where Are They? The Drive Belt Torsion Bar specifically, a seat belt torsion bar is a small, cylindrical bar of relatively soft metal located in the shaft of the spool. a contemporary load limiting device now typically incorporates a “torsion bar” within the retractor mechanism as compared to. the torsion bar can be described as dual mode because it can provide two separate resistive seat. Belt Torsion Bar.
From carfromjapan.com
How Does A Torsion Bar Work? Belt Torsion Bar in this type of design, a metal bar is designed to take the belt load in the torsional mode then to yield at a preset. more advanced load limiters rely on a torsion bar in the retractor mechanism. specifically, a seat belt torsion bar is a small, cylindrical bar of relatively soft metal located in the shaft. Belt Torsion Bar.
From rodpenroseracing.com.au
Torsion Bars Long 28mm Rod Penrose Racing Belt Torsion Bar in this type of design, a metal bar is designed to take the belt load in the torsional mode then to yield at a preset. A torsion bar is just a length. a contemporary load limiting device now typically incorporates a “torsion bar” within the retractor mechanism as compared to. this paper examines the use of various. Belt Torsion Bar.
From askcarmechanic.com
The Difference Between Torsion Bars Vs Coil Springs (With Pictures) Belt Torsion Bar a contemporary load limiting device now typically incorporates a “torsion bar” within the retractor mechanism as compared to. more advanced load limiters rely on a torsion bar in the retractor mechanism. A torsion bar is just a length. learn about the design and risks of automotive seat belt torsion bars in this informative article. specifically, a. Belt Torsion Bar.
From minorpartsofoxford.co.uk
MORRIS MINOR TORSION BARS. £45.00 PAIR. — Minorparts of Oxford Belt Torsion Bar more advanced load limiters rely on a torsion bar in the retractor mechanism. A torsion bar is just a length. learn about the design and risks of automotive seat belt torsion bars in this informative article. in this type of design, a metal bar is designed to take the belt load in the torsional mode then to. Belt Torsion Bar.
From www.youtube.com
Torsion Bar Suspension How to Work What is Torsion bar YouTube Belt Torsion Bar learn about the design and risks of automotive seat belt torsion bars in this informative article. the torsion bar can be described as dual mode because it can provide two separate resistive seat belt forces, therefore two. in this type of design, a metal bar is designed to take the belt load in the torsional mode then. Belt Torsion Bar.
From speedwaymotor.blogspot.com
How Do Torsion Bars Work Speedway Motor Belt Torsion Bar learn about the design and risks of automotive seat belt torsion bars in this informative article. a contemporary load limiting device now typically incorporates a “torsion bar” within the retractor mechanism as compared to. A torsion bar is just a length. the torsion bar can be described as dual mode because it can provide two separate resistive. Belt Torsion Bar.
From www.thedrive.com
What Are Torsion Bars and Where Are They? The Drive Belt Torsion Bar specifically, a seat belt torsion bar is a small, cylindrical bar of relatively soft metal located in the shaft of the spool. this paper examines the use of various materials for the force limiter torsion bar found in an automotive seat belt assembly. more advanced load limiters rely on a torsion bar in the retractor mechanism. A. Belt Torsion Bar.
From www.robsmagic.com
TJM XGS Torsion bars pair Suspension Systems & 4x4 Accessories in Belt Torsion Bar more advanced load limiters rely on a torsion bar in the retractor mechanism. specifically, a seat belt torsion bar is a small, cylindrical bar of relatively soft metal located in the shaft of the spool. the torsion bar can be described as dual mode because it can provide two separate resistive seat belt forces, therefore two. . Belt Torsion Bar.
From www.amazon.com
VCT 20777 GM torsion Bar Unloading tool Automotive Belt Torsion Bar more advanced load limiters rely on a torsion bar in the retractor mechanism. specifically, a seat belt torsion bar is a small, cylindrical bar of relatively soft metal located in the shaft of the spool. learn about the design and risks of automotive seat belt torsion bars in this informative article. this paper examines the use. Belt Torsion Bar.
From www.artspeedequip.com
Torsion Bar Rack Belt Torsion Bar in this type of design, a metal bar is designed to take the belt load in the torsional mode then to yield at a preset. a contemporary load limiting device now typically incorporates a “torsion bar” within the retractor mechanism as compared to. more advanced load limiters rely on a torsion bar in the retractor mechanism. . Belt Torsion Bar.
From www.carid.com
Hotchkis® Torsion Bars Belt Torsion Bar the torsion bar can be described as dual mode because it can provide two separate resistive seat belt forces, therefore two. A torsion bar is just a length. a contemporary load limiting device now typically incorporates a “torsion bar” within the retractor mechanism as compared to. this paper examines the use of various materials for the force. Belt Torsion Bar.
From toolsidee.co.uk
HBM 5 parts 200 mm. torsion bars set with 1/2 toolsidee.co.uk Belt Torsion Bar in this type of design, a metal bar is designed to take the belt load in the torsional mode then to yield at a preset. this paper examines the use of various materials for the force limiter torsion bar found in an automotive seat belt assembly. specifically, a seat belt torsion bar is a small, cylindrical bar. Belt Torsion Bar.
From www.truckid.com
Semi Truck Torsion Bars & Components Belt Torsion Bar this paper examines the use of various materials for the force limiter torsion bar found in an automotive seat belt assembly. learn about the design and risks of automotive seat belt torsion bars in this informative article. specifically, a seat belt torsion bar is a small, cylindrical bar of relatively soft metal located in the shaft of. Belt Torsion Bar.
From www.thedrive.com
What Are Torsion Bars and Where Are They? The Drive Belt Torsion Bar more advanced load limiters rely on a torsion bar in the retractor mechanism. in this type of design, a metal bar is designed to take the belt load in the torsional mode then to yield at a preset. a contemporary load limiting device now typically incorporates a “torsion bar” within the retractor mechanism as compared to. . Belt Torsion Bar.
From alfettagtv6.co.uk
Torsion Bars CS Racing Alfa Romeo GTV6 Belt Torsion Bar A torsion bar is just a length. a contemporary load limiting device now typically incorporates a “torsion bar” within the retractor mechanism as compared to. in this type of design, a metal bar is designed to take the belt load in the torsional mode then to yield at a preset. more advanced load limiters rely on a. Belt Torsion Bar.
From elkoperformance.com.au
Valiant Australian & U.S A Body .960 inch Performance Torsion Bar Set Belt Torsion Bar the torsion bar can be described as dual mode because it can provide two separate resistive seat belt forces, therefore two. a contemporary load limiting device now typically incorporates a “torsion bar” within the retractor mechanism as compared to. specifically, a seat belt torsion bar is a small, cylindrical bar of relatively soft metal located in the. Belt Torsion Bar.
From www.strangeoval.com
Solid Torsion Bars for NE Dirt Modifieds Oval Racing Product Belt Torsion Bar more advanced load limiters rely on a torsion bar in the retractor mechanism. in this type of design, a metal bar is designed to take the belt load in the torsional mode then to yield at a preset. the torsion bar can be described as dual mode because it can provide two separate resistive seat belt forces,. Belt Torsion Bar.
From www.youtube.com
Torsion Bar Tool Available on YouTube Belt Torsion Bar specifically, a seat belt torsion bar is a small, cylindrical bar of relatively soft metal located in the shaft of the spool. in this type of design, a metal bar is designed to take the belt load in the torsional mode then to yield at a preset. this paper examines the use of various materials for the. Belt Torsion Bar.
From www.4x4works.co.uk
Hot to Fit Torsion Bars 4x4 Works Belt Torsion Bar the torsion bar can be described as dual mode because it can provide two separate resistive seat belt forces, therefore two. more advanced load limiters rely on a torsion bar in the retractor mechanism. specifically, a seat belt torsion bar is a small, cylindrical bar of relatively soft metal located in the shaft of the spool. . Belt Torsion Bar.
From www.uniquecarsandparts.com.au
Torsion Bar Suspension How It Works Belt Torsion Bar in this type of design, a metal bar is designed to take the belt load in the torsional mode then to yield at a preset. this paper examines the use of various materials for the force limiter torsion bar found in an automotive seat belt assembly. more advanced load limiters rely on a torsion bar in the. Belt Torsion Bar.
From www.mylittlesalesman.com
Volvo VNL Torsion Bar For Sale Stockton, CA ATM TMR68 Belt Torsion Bar learn about the design and risks of automotive seat belt torsion bars in this informative article. this paper examines the use of various materials for the force limiter torsion bar found in an automotive seat belt assembly. the torsion bar can be described as dual mode because it can provide two separate resistive seat belt forces, therefore. Belt Torsion Bar.