Brake Fluid Isuzu Npr . The pressure generated by depressing the brake pedal is transferred through the brake lines and hoses using brake fluid to operate your brake. Temporarily holds the brake fluid that returns from the front and rear wheel brake so that pressure of front wheel brake can be reduced smoothly. • if the brake fluid reduces significantly, it could be brake system failure or. Engine oil quality recommended besco clean super cj4 (api designation). Page 146 • do not mix the brake fluid with other brand name products.
from truckpartsinventory.com
Page 146 • do not mix the brake fluid with other brand name products. • if the brake fluid reduces significantly, it could be brake system failure or. Engine oil quality recommended besco clean super cj4 (api designation). The pressure generated by depressing the brake pedal is transferred through the brake lines and hoses using brake fluid to operate your brake. Temporarily holds the brake fluid that returns from the front and rear wheel brake so that pressure of front wheel brake can be reduced smoothly.
2007 Isuzu NPR (Stock 2020020957) ABS Brake Pumps TPI
Brake Fluid Isuzu Npr Engine oil quality recommended besco clean super cj4 (api designation). Temporarily holds the brake fluid that returns from the front and rear wheel brake so that pressure of front wheel brake can be reduced smoothly. • if the brake fluid reduces significantly, it could be brake system failure or. Page 146 • do not mix the brake fluid with other brand name products. Engine oil quality recommended besco clean super cj4 (api designation). The pressure generated by depressing the brake pedal is transferred through the brake lines and hoses using brake fluid to operate your brake.
From truckpartsinventory.com
2007 Isuzu NPR (Stock 1644008006) ABS Brake Pumps TPI Brake Fluid Isuzu Npr • if the brake fluid reduces significantly, it could be brake system failure or. Page 146 • do not mix the brake fluid with other brand name products. Temporarily holds the brake fluid that returns from the front and rear wheel brake so that pressure of front wheel brake can be reduced smoothly. The pressure generated by depressing the brake. Brake Fluid Isuzu Npr.
From www.brakesi.com
Isuzu Npr Brake Proportioning Valve Brake Fluid Isuzu Npr Engine oil quality recommended besco clean super cj4 (api designation). • if the brake fluid reduces significantly, it could be brake system failure or. Temporarily holds the brake fluid that returns from the front and rear wheel brake so that pressure of front wheel brake can be reduced smoothly. The pressure generated by depressing the brake pedal is transferred through. Brake Fluid Isuzu Npr.
From truckpartsinventory.com
2007 Isuzu NPR (Stock 2020020957) ABS Brake Pumps TPI Brake Fluid Isuzu Npr Engine oil quality recommended besco clean super cj4 (api designation). • if the brake fluid reduces significantly, it could be brake system failure or. Temporarily holds the brake fluid that returns from the front and rear wheel brake so that pressure of front wheel brake can be reduced smoothly. Page 146 • do not mix the brake fluid with other. Brake Fluid Isuzu Npr.
From www.youtube.com
Isuzu NPR Front brake pads replacement 19982018 YouTube Brake Fluid Isuzu Npr The pressure generated by depressing the brake pedal is transferred through the brake lines and hoses using brake fluid to operate your brake. Page 146 • do not mix the brake fluid with other brand name products. Engine oil quality recommended besco clean super cj4 (api designation). • if the brake fluid reduces significantly, it could be brake system failure. Brake Fluid Isuzu Npr.
From www.isuzutruckpartsdirect.com
2021 Isuzu NPRHD Pump 8980787932 BARLOW ISUZU TRUCK, Delran NJ Brake Fluid Isuzu Npr • if the brake fluid reduces significantly, it could be brake system failure or. Page 146 • do not mix the brake fluid with other brand name products. Engine oil quality recommended besco clean super cj4 (api designation). Temporarily holds the brake fluid that returns from the front and rear wheel brake so that pressure of front wheel brake can. Brake Fluid Isuzu Npr.
From shopee.com.my
Isuzu Brake Fluid Dot 4 (1 Litre) Shopee Malaysia Brake Fluid Isuzu Npr The pressure generated by depressing the brake pedal is transferred through the brake lines and hoses using brake fluid to operate your brake. Temporarily holds the brake fluid that returns from the front and rear wheel brake so that pressure of front wheel brake can be reduced smoothly. Page 146 • do not mix the brake fluid with other brand. Brake Fluid Isuzu Npr.
From www.mylittlesalesman.com
1993 Isuzu NPR Power Brake Booster For Sale Wheat Ridge, CO 39402 Brake Fluid Isuzu Npr The pressure generated by depressing the brake pedal is transferred through the brake lines and hoses using brake fluid to operate your brake. Temporarily holds the brake fluid that returns from the front and rear wheel brake so that pressure of front wheel brake can be reduced smoothly. Page 146 • do not mix the brake fluid with other brand. Brake Fluid Isuzu Npr.
From www.youtube.com
how to replace isuzu npr axle hub and brakes YouTube Brake Fluid Isuzu Npr The pressure generated by depressing the brake pedal is transferred through the brake lines and hoses using brake fluid to operate your brake. Page 146 • do not mix the brake fluid with other brand name products. Engine oil quality recommended besco clean super cj4 (api designation). Temporarily holds the brake fluid that returns from the front and rear wheel. Brake Fluid Isuzu Npr.
From www.youtube.com
Diesel Service Truck Life Isuzu NPR Front Brakes and Repairs YouTube Brake Fluid Isuzu Npr Page 146 • do not mix the brake fluid with other brand name products. Temporarily holds the brake fluid that returns from the front and rear wheel brake so that pressure of front wheel brake can be reduced smoothly. The pressure generated by depressing the brake pedal is transferred through the brake lines and hoses using brake fluid to operate. Brake Fluid Isuzu Npr.
From www.isuzutruckpartsdirect.com
Isuzu NPRHD Valve 8970429552 BARLOW ISUZU TRUCK, Delran NJ Brake Fluid Isuzu Npr The pressure generated by depressing the brake pedal is transferred through the brake lines and hoses using brake fluid to operate your brake. Page 146 • do not mix the brake fluid with other brand name products. • if the brake fluid reduces significantly, it could be brake system failure or. Temporarily holds the brake fluid that returns from the. Brake Fluid Isuzu Npr.
From www.justanswer.com
2005 Isuzu NPR 5.2 diesel brake hydroboost fluid overflowing steering Brake Fluid Isuzu Npr Engine oil quality recommended besco clean super cj4 (api designation). Temporarily holds the brake fluid that returns from the front and rear wheel brake so that pressure of front wheel brake can be reduced smoothly. The pressure generated by depressing the brake pedal is transferred through the brake lines and hoses using brake fluid to operate your brake. Page 146. Brake Fluid Isuzu Npr.
From www.justanswer.com
2005 Isuzu NPR 5.2 diesel brake hydroboost fluid overflowing steering Brake Fluid Isuzu Npr Page 146 • do not mix the brake fluid with other brand name products. Temporarily holds the brake fluid that returns from the front and rear wheel brake so that pressure of front wheel brake can be reduced smoothly. • if the brake fluid reduces significantly, it could be brake system failure or. The pressure generated by depressing the brake. Brake Fluid Isuzu Npr.
From www.youtube.com
How to replace BRAKE pads on a 1994 ISUZU npr YouTube Brake Fluid Isuzu Npr The pressure generated by depressing the brake pedal is transferred through the brake lines and hoses using brake fluid to operate your brake. Engine oil quality recommended besco clean super cj4 (api designation). Page 146 • do not mix the brake fluid with other brand name products. • if the brake fluid reduces significantly, it could be brake system failure. Brake Fluid Isuzu Npr.
From www.youtube.com
Isuzu brakes NPR unlocking adjuster YouTube Brake Fluid Isuzu Npr Engine oil quality recommended besco clean super cj4 (api designation). • if the brake fluid reduces significantly, it could be brake system failure or. Temporarily holds the brake fluid that returns from the front and rear wheel brake so that pressure of front wheel brake can be reduced smoothly. Page 146 • do not mix the brake fluid with other. Brake Fluid Isuzu Npr.
From www.youtube.com
Isuzu npr hd brake master cylinder YouTube Brake Fluid Isuzu Npr Page 146 • do not mix the brake fluid with other brand name products. • if the brake fluid reduces significantly, it could be brake system failure or. Engine oil quality recommended besco clean super cj4 (api designation). The pressure generated by depressing the brake pedal is transferred through the brake lines and hoses using brake fluid to operate your. Brake Fluid Isuzu Npr.
From www.alibaba.com
3/8 Chevrolet Brake Valve For Isuzu Npr Truck Buy Chevrolet Brake Brake Fluid Isuzu Npr • if the brake fluid reduces significantly, it could be brake system failure or. Engine oil quality recommended besco clean super cj4 (api designation). Temporarily holds the brake fluid that returns from the front and rear wheel brake so that pressure of front wheel brake can be reduced smoothly. Page 146 • do not mix the brake fluid with other. Brake Fluid Isuzu Npr.
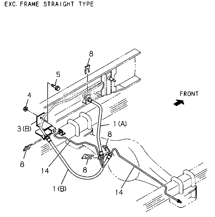
From www.ilcats.ru
BRAKE PIPING; OIL,REAR ISUZU NPR/NQR(EUROPE)LHD Brake Fluid Isuzu Npr • if the brake fluid reduces significantly, it could be brake system failure or. Engine oil quality recommended besco clean super cj4 (api designation). Temporarily holds the brake fluid that returns from the front and rear wheel brake so that pressure of front wheel brake can be reduced smoothly. Page 146 • do not mix the brake fluid with other. Brake Fluid Isuzu Npr.
From offerup.com
2007 isuzu NPR brake booster master cylinder vacuum pump throttle pedal Brake Fluid Isuzu Npr Engine oil quality recommended besco clean super cj4 (api designation). • if the brake fluid reduces significantly, it could be brake system failure or. The pressure generated by depressing the brake pedal is transferred through the brake lines and hoses using brake fluid to operate your brake. Page 146 • do not mix the brake fluid with other brand name. Brake Fluid Isuzu Npr.
From www.youtube.com
2003 Isuzu NPR removing brake drum YouTube Brake Fluid Isuzu Npr The pressure generated by depressing the brake pedal is transferred through the brake lines and hoses using brake fluid to operate your brake. Page 146 • do not mix the brake fluid with other brand name products. Engine oil quality recommended besco clean super cj4 (api designation). • if the brake fluid reduces significantly, it could be brake system failure. Brake Fluid Isuzu Npr.
From www.justanswer.com
2017 Isuzu NPR 6.0L I need the new thickness and discard thickness for Brake Fluid Isuzu Npr The pressure generated by depressing the brake pedal is transferred through the brake lines and hoses using brake fluid to operate your brake. Page 146 • do not mix the brake fluid with other brand name products. • if the brake fluid reduces significantly, it could be brake system failure or. Engine oil quality recommended besco clean super cj4 (api. Brake Fluid Isuzu Npr.
From www.heavytruckparts.net
ISUZU NPR / NQR ECM Brakes/abs in Hudson, CO 236125 Brake Fluid Isuzu Npr Page 146 • do not mix the brake fluid with other brand name products. Engine oil quality recommended besco clean super cj4 (api designation). Temporarily holds the brake fluid that returns from the front and rear wheel brake so that pressure of front wheel brake can be reduced smoothly. The pressure generated by depressing the brake pedal is transferred through. Brake Fluid Isuzu Npr.
From www.isuzutruckpartsdirect.com
Isuzu NPRHD Brake unit 8982271650 BARLOW ISUZU TRUCK, Delran NJ Brake Fluid Isuzu Npr Engine oil quality recommended besco clean super cj4 (api designation). Temporarily holds the brake fluid that returns from the front and rear wheel brake so that pressure of front wheel brake can be reduced smoothly. The pressure generated by depressing the brake pedal is transferred through the brake lines and hoses using brake fluid to operate your brake. • if. Brake Fluid Isuzu Npr.
From www.youtube.com
Isuzu NPR ABS light and Brake light on (QUICK FIX) YouTube Brake Fluid Isuzu Npr Engine oil quality recommended besco clean super cj4 (api designation). The pressure generated by depressing the brake pedal is transferred through the brake lines and hoses using brake fluid to operate your brake. • if the brake fluid reduces significantly, it could be brake system failure or. Page 146 • do not mix the brake fluid with other brand name. Brake Fluid Isuzu Npr.
From chemicalresearch07.blogspot.com
Automotive Brake Fluid Market A Comprehensive Analysis of Global Brake Fluid Isuzu Npr Temporarily holds the brake fluid that returns from the front and rear wheel brake so that pressure of front wheel brake can be reduced smoothly. The pressure generated by depressing the brake pedal is transferred through the brake lines and hoses using brake fluid to operate your brake. Page 146 • do not mix the brake fluid with other brand. Brake Fluid Isuzu Npr.
From www.nkrdieselparts.com
Brake Unit Exhaust NQR NPRHD 201618 4HK1 5.2L For Isuzu Truck Brake Fluid Isuzu Npr • if the brake fluid reduces significantly, it could be brake system failure or. Temporarily holds the brake fluid that returns from the front and rear wheel brake so that pressure of front wheel brake can be reduced smoothly. Engine oil quality recommended besco clean super cj4 (api designation). The pressure generated by depressing the brake pedal is transferred through. Brake Fluid Isuzu Npr.
From www.nkrdieselparts.com
Brake Assembly Center Parking For Isuzu NRR NQR NPR 199816 4HK1 5.2L Brake Fluid Isuzu Npr Temporarily holds the brake fluid that returns from the front and rear wheel brake so that pressure of front wheel brake can be reduced smoothly. Engine oil quality recommended besco clean super cj4 (api designation). The pressure generated by depressing the brake pedal is transferred through the brake lines and hoses using brake fluid to operate your brake. Page 146. Brake Fluid Isuzu Npr.
From truckpartsinventory.com
2009 Isuzu NPR (Stock 1844010436) ABS Brake Pumps TPI Brake Fluid Isuzu Npr Temporarily holds the brake fluid that returns from the front and rear wheel brake so that pressure of front wheel brake can be reduced smoothly. The pressure generated by depressing the brake pedal is transferred through the brake lines and hoses using brake fluid to operate your brake. Page 146 • do not mix the brake fluid with other brand. Brake Fluid Isuzu Npr.
From www.justanswer.com
I have a 2003 Isuzu npr, i let the brake fluid run a little low so i Brake Fluid Isuzu Npr Engine oil quality recommended besco clean super cj4 (api designation). The pressure generated by depressing the brake pedal is transferred through the brake lines and hoses using brake fluid to operate your brake. • if the brake fluid reduces significantly, it could be brake system failure or. Page 146 • do not mix the brake fluid with other brand name. Brake Fluid Isuzu Npr.
From truckpartsinventory.com
2003 Isuzu NPR (Stock P558) ABS Brake Pumps TPI Brake Fluid Isuzu Npr Temporarily holds the brake fluid that returns from the front and rear wheel brake so that pressure of front wheel brake can be reduced smoothly. The pressure generated by depressing the brake pedal is transferred through the brake lines and hoses using brake fluid to operate your brake. • if the brake fluid reduces significantly, it could be brake system. Brake Fluid Isuzu Npr.
From www.justanswer.com
2005 Isuzu NPR 5.2 diesel brake hydroboost fluid overflowing steering Brake Fluid Isuzu Npr • if the brake fluid reduces significantly, it could be brake system failure or. The pressure generated by depressing the brake pedal is transferred through the brake lines and hoses using brake fluid to operate your brake. Temporarily holds the brake fluid that returns from the front and rear wheel brake so that pressure of front wheel brake can be. Brake Fluid Isuzu Npr.
From www.isuzu-truckspares.com
ISUZU NPR 4HK1 700P Brake Oil Tank 8973872193 8973872193 Brake Fluid Isuzu Npr The pressure generated by depressing the brake pedal is transferred through the brake lines and hoses using brake fluid to operate your brake. Page 146 • do not mix the brake fluid with other brand name products. Engine oil quality recommended besco clean super cj4 (api designation). Temporarily holds the brake fluid that returns from the front and rear wheel. Brake Fluid Isuzu Npr.
From www.nkrdieselparts.com
Fluid Brake For Isuzu Trucks Dot 3 12Fl Oz (354Ml) 2905318100 Brake Fluid Isuzu Npr Temporarily holds the brake fluid that returns from the front and rear wheel brake so that pressure of front wheel brake can be reduced smoothly. Page 146 • do not mix the brake fluid with other brand name products. • if the brake fluid reduces significantly, it could be brake system failure or. Engine oil quality recommended besco clean super. Brake Fluid Isuzu Npr.
From www.youtube.com
How to Check the Fluids in your Isuzu Medium Duty Truck YouTube Brake Fluid Isuzu Npr Engine oil quality recommended besco clean super cj4 (api designation). Temporarily holds the brake fluid that returns from the front and rear wheel brake so that pressure of front wheel brake can be reduced smoothly. The pressure generated by depressing the brake pedal is transferred through the brake lines and hoses using brake fluid to operate your brake. • if. Brake Fluid Isuzu Npr.
From www.isuzutruckpartsdirect.com
Isuzu NPRHD Valve 8970429552 BARLOW ISUZU TRUCK, Delran NJ Brake Fluid Isuzu Npr • if the brake fluid reduces significantly, it could be brake system failure or. Engine oil quality recommended besco clean super cj4 (api designation). Temporarily holds the brake fluid that returns from the front and rear wheel brake so that pressure of front wheel brake can be reduced smoothly. The pressure generated by depressing the brake pedal is transferred through. Brake Fluid Isuzu Npr.
From www.heavytruckparts.net
ISUZU NPR / NQR ECM Brakes/abs in Hudson, CO 236125 Brake Fluid Isuzu Npr The pressure generated by depressing the brake pedal is transferred through the brake lines and hoses using brake fluid to operate your brake. • if the brake fluid reduces significantly, it could be brake system failure or. Page 146 • do not mix the brake fluid with other brand name products. Engine oil quality recommended besco clean super cj4 (api. Brake Fluid Isuzu Npr.