How Does A Low Coolant Level Sensor Work . Proper functioning of the coolant level sensor is crucial in maintaining the engine’s ideal operating temperature and ensuring smooth performance. An engine coolant temperature sensor or ect measures the temperature of the liquid coolant. The leaks can come from leaking hoses, sensors, or gaskets. The coolant level is normally. The sensor is typically located in the coolant reservoir, radiator, or engine block. Keep an eye out for any signs of a bad coolant. It sends a signal to the dashboard gauge. The most common reason for a low coolant level is a leaking cooling system. The sensor itself uses electronic components to determine what the level of coolant is within the radiator or coolant reservoir, letting you know the moment that the fluid has dropped below safe operating. A coolant level sensor is a device that measures the level of coolant in a vehicle’s cooling system. A typical engine cooling temperature sensor is a negative temperature coefficient. The low coolant level warning light uses a sensor in the cooling system to monitor the coolant level. In generator protections, a low coolant level alarm is used to alert the operator to the engine suffering from coolant level.
        
         
         
        from sutphenparts.ecwid.com 
     
        
        A typical engine cooling temperature sensor is a negative temperature coefficient. The coolant level is normally. The sensor itself uses electronic components to determine what the level of coolant is within the radiator or coolant reservoir, letting you know the moment that the fluid has dropped below safe operating. The sensor is typically located in the coolant reservoir, radiator, or engine block. The leaks can come from leaking hoses, sensors, or gaskets. The most common reason for a low coolant level is a leaking cooling system. An engine coolant temperature sensor or ect measures the temperature of the liquid coolant. Keep an eye out for any signs of a bad coolant. It sends a signal to the dashboard gauge. A coolant level sensor is a device that measures the level of coolant in a vehicle’s cooling system.
    
    	
            
	
		 
	 
         
    Sensor, Low Coolant Level 
    How Does A Low Coolant Level Sensor Work  The sensor is typically located in the coolant reservoir, radiator, or engine block. A coolant level sensor is a device that measures the level of coolant in a vehicle’s cooling system. The leaks can come from leaking hoses, sensors, or gaskets. It sends a signal to the dashboard gauge. The sensor is typically located in the coolant reservoir, radiator, or engine block. Proper functioning of the coolant level sensor is crucial in maintaining the engine’s ideal operating temperature and ensuring smooth performance. The sensor itself uses electronic components to determine what the level of coolant is within the radiator or coolant reservoir, letting you know the moment that the fluid has dropped below safe operating. In generator protections, a low coolant level alarm is used to alert the operator to the engine suffering from coolant level. An engine coolant temperature sensor or ect measures the temperature of the liquid coolant. The low coolant level warning light uses a sensor in the cooling system to monitor the coolant level. The coolant level is normally. The most common reason for a low coolant level is a leaking cooling system. Keep an eye out for any signs of a bad coolant. A typical engine cooling temperature sensor is a negative temperature coefficient.
            
	
		 
	 
         
 
    
         
        From www.homedepot.com 
                    HD Solutions Low Coolant Level Sensor9047252 The Home Depot How Does A Low Coolant Level Sensor Work  The low coolant level warning light uses a sensor in the cooling system to monitor the coolant level. The most common reason for a low coolant level is a leaking cooling system. The coolant level is normally. The leaks can come from leaking hoses, sensors, or gaskets. Proper functioning of the coolant level sensor is crucial in maintaining the engine’s. How Does A Low Coolant Level Sensor Work.
     
    
         
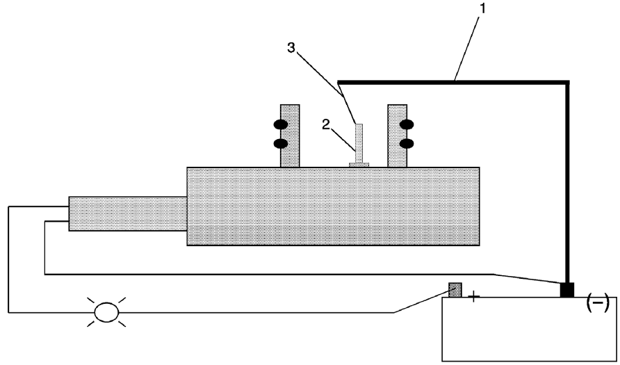
        From www.azosensors.com 
                    Inside a Car Coolant Temperature Sensors How Does A Low Coolant Level Sensor Work  The sensor itself uses electronic components to determine what the level of coolant is within the radiator or coolant reservoir, letting you know the moment that the fluid has dropped below safe operating. Keep an eye out for any signs of a bad coolant. It sends a signal to the dashboard gauge. The leaks can come from leaking hoses, sensors,. How Does A Low Coolant Level Sensor Work.
     
    
         
        From www.youtube.com 
                    Low Coolant Level! Coolant Expansion Tank Install on 2006 Range Rover How Does A Low Coolant Level Sensor Work  A coolant level sensor is a device that measures the level of coolant in a vehicle’s cooling system. The leaks can come from leaking hoses, sensors, or gaskets. The sensor itself uses electronic components to determine what the level of coolant is within the radiator or coolant reservoir, letting you know the moment that the fluid has dropped below safe. How Does A Low Coolant Level Sensor Work.
     
    
         
        From www.rochestersensors.co.uk 
                    Coolant Level Sensors Monitor LowConductivity Coolant How Does A Low Coolant Level Sensor Work  An engine coolant temperature sensor or ect measures the temperature of the liquid coolant. The most common reason for a low coolant level is a leaking cooling system. The sensor itself uses electronic components to determine what the level of coolant is within the radiator or coolant reservoir, letting you know the moment that the fluid has dropped below safe. How Does A Low Coolant Level Sensor Work.
     
    
         
        From www.youtube.com 
                    How the coolant level sensor works on a Chevy Volt for “Service High How Does A Low Coolant Level Sensor Work  It sends a signal to the dashboard gauge. The low coolant level warning light uses a sensor in the cooling system to monitor the coolant level. In generator protections, a low coolant level alarm is used to alert the operator to the engine suffering from coolant level. The most common reason for a low coolant level is a leaking cooling. How Does A Low Coolant Level Sensor Work.
     
    
         
        From a1performanceautorepair.com 
                    Maintenance Tips The Engine Coolant Level A1 Performance Auto Repair How Does A Low Coolant Level Sensor Work  The most common reason for a low coolant level is a leaking cooling system. Keep an eye out for any signs of a bad coolant. An engine coolant temperature sensor or ect measures the temperature of the liquid coolant. A typical engine cooling temperature sensor is a negative temperature coefficient. Proper functioning of the coolant level sensor is crucial in. How Does A Low Coolant Level Sensor Work.
     
    
         
        From gowesty.com 
                    Coolant level sensor conversion kit GoWesty How Does A Low Coolant Level Sensor Work  The most common reason for a low coolant level is a leaking cooling system. The leaks can come from leaking hoses, sensors, or gaskets. The sensor is typically located in the coolant reservoir, radiator, or engine block. The low coolant level warning light uses a sensor in the cooling system to monitor the coolant level. It sends a signal to. How Does A Low Coolant Level Sensor Work.
     
    
         
        From www.youtube.com 
                    Coolant Level Sensor How CLS Sensor works FIX and Problems YouTube How Does A Low Coolant Level Sensor Work  An engine coolant temperature sensor or ect measures the temperature of the liquid coolant. A coolant level sensor is a device that measures the level of coolant in a vehicle’s cooling system. The low coolant level warning light uses a sensor in the cooling system to monitor the coolant level. The most common reason for a low coolant level is. How Does A Low Coolant Level Sensor Work.
     
    
         
        From www.youtube.com 
                    Low Coolant Warning Light using Water Level Sensor DIY Project on How Does A Low Coolant Level Sensor Work  The most common reason for a low coolant level is a leaking cooling system. An engine coolant temperature sensor or ect measures the temperature of the liquid coolant. Proper functioning of the coolant level sensor is crucial in maintaining the engine’s ideal operating temperature and ensuring smooth performance. A typical engine cooling temperature sensor is a negative temperature coefficient. The. How Does A Low Coolant Level Sensor Work.
     
    
         
        From www.nationwidegenerators.com 
                    Kohler GM66270 Low Coolant Level Sensor Nationwide Generators How Does A Low Coolant Level Sensor Work  An engine coolant temperature sensor or ect measures the temperature of the liquid coolant. It sends a signal to the dashboard gauge. The sensor is typically located in the coolant reservoir, radiator, or engine block. A coolant level sensor is a device that measures the level of coolant in a vehicle’s cooling system. The leaks can come from leaking hoses,. How Does A Low Coolant Level Sensor Work.
     
    
         
        From www.youtube.com 
                    How to Fit a LOW COOLANT WATER LEVEL Warning Alarm YouTube How Does A Low Coolant Level Sensor Work  It sends a signal to the dashboard gauge. The sensor itself uses electronic components to determine what the level of coolant is within the radiator or coolant reservoir, letting you know the moment that the fluid has dropped below safe operating. The leaks can come from leaking hoses, sensors, or gaskets. Proper functioning of the coolant level sensor is crucial. How Does A Low Coolant Level Sensor Work.
     
    
         
        From www.easycarelectrics.com 
                    1, 2 & 3 Wire Coolant Temperature Sensor Wiring Diagram How Does A Low Coolant Level Sensor Work  A coolant level sensor is a device that measures the level of coolant in a vehicle’s cooling system. An engine coolant temperature sensor or ect measures the temperature of the liquid coolant. The sensor itself uses electronic components to determine what the level of coolant is within the radiator or coolant reservoir, letting you know the moment that the fluid. How Does A Low Coolant Level Sensor Work.
     
    
         
        From sutphenparts.ecwid.com 
                    Sensor, Low Coolant Level How Does A Low Coolant Level Sensor Work  An engine coolant temperature sensor or ect measures the temperature of the liquid coolant. In generator protections, a low coolant level alarm is used to alert the operator to the engine suffering from coolant level. The sensor itself uses electronic components to determine what the level of coolant is within the radiator or coolant reservoir, letting you know the moment. How Does A Low Coolant Level Sensor Work.
     
    
         
        From www.youtube.com 
                    Save your Engine! Install a Coolant Level Sensor Modern Type Here How Does A Low Coolant Level Sensor Work  In generator protections, a low coolant level alarm is used to alert the operator to the engine suffering from coolant level. A typical engine cooling temperature sensor is a negative temperature coefficient. An engine coolant temperature sensor or ect measures the temperature of the liquid coolant. The most common reason for a low coolant level is a leaking cooling system.. How Does A Low Coolant Level Sensor Work.
     
    
         
        From sadlerpowertrain.com 
                    0555 MACK LOW COOLANT LEVEL SENSOR Sadler Power Train Inc How Does A Low Coolant Level Sensor Work  The low coolant level warning light uses a sensor in the cooling system to monitor the coolant level. It sends a signal to the dashboard gauge. The most common reason for a low coolant level is a leaking cooling system. The sensor itself uses electronic components to determine what the level of coolant is within the radiator or coolant reservoir,. How Does A Low Coolant Level Sensor Work.
     
    
         
        From www.youtube.com 
                    Cummins ISB Diesel Engine Low Coolant Level Engine Code YouTube How Does A Low Coolant Level Sensor Work  The most common reason for a low coolant level is a leaking cooling system. Keep an eye out for any signs of a bad coolant. A typical engine cooling temperature sensor is a negative temperature coefficient. The sensor is typically located in the coolant reservoir, radiator, or engine block. The leaks can come from leaking hoses, sensors, or gaskets. The. How Does A Low Coolant Level Sensor Work.
     
    
         
        From www.youtube.com 
                    Checking the coolant levels VW YouTube How Does A Low Coolant Level Sensor Work  Proper functioning of the coolant level sensor is crucial in maintaining the engine’s ideal operating temperature and ensuring smooth performance. Keep an eye out for any signs of a bad coolant. The sensor is typically located in the coolant reservoir, radiator, or engine block. A coolant level sensor is a device that measures the level of coolant in a vehicle’s. How Does A Low Coolant Level Sensor Work.
     
    
         
        From blinkx.tv 
                    10 Best Low Coolant Level Sensors Review And Buying Guide blinkx.tv How Does A Low Coolant Level Sensor Work  In generator protections, a low coolant level alarm is used to alert the operator to the engine suffering from coolant level. Keep an eye out for any signs of a bad coolant. The low coolant level warning light uses a sensor in the cooling system to monitor the coolant level. Proper functioning of the coolant level sensor is crucial in. How Does A Low Coolant Level Sensor Work.
     
    
         
        From www.youtube.com 
                    How to change your Low coolant sensor on a ram 2500 YouTube How Does A Low Coolant Level Sensor Work  The low coolant level warning light uses a sensor in the cooling system to monitor the coolant level. In generator protections, a low coolant level alarm is used to alert the operator to the engine suffering from coolant level. The coolant level is normally. A coolant level sensor is a device that measures the level of coolant in a vehicle’s. How Does A Low Coolant Level Sensor Work.
     
    
         
        From www.carparts.com 
                    Bad Coolant Level Sensor Symptoms In The Garage with How Does A Low Coolant Level Sensor Work  The sensor is typically located in the coolant reservoir, radiator, or engine block. The sensor itself uses electronic components to determine what the level of coolant is within the radiator or coolant reservoir, letting you know the moment that the fluid has dropped below safe operating. The most common reason for a low coolant level is a leaking cooling system.. How Does A Low Coolant Level Sensor Work.
     
    
         
        From www.gemssensors.com 
                    Coolant Level Sensors Gems Sensors How Does A Low Coolant Level Sensor Work  An engine coolant temperature sensor or ect measures the temperature of the liquid coolant. The sensor itself uses electronic components to determine what the level of coolant is within the radiator or coolant reservoir, letting you know the moment that the fluid has dropped below safe operating. A coolant level sensor is a device that measures the level of coolant. How Does A Low Coolant Level Sensor Work.
     
    
         
        From www.fortpro.com 
                    Fortpro Probe Coolant Low Level Sensor Compatible with Detroit Diesel How Does A Low Coolant Level Sensor Work  The leaks can come from leaking hoses, sensors, or gaskets. Proper functioning of the coolant level sensor is crucial in maintaining the engine’s ideal operating temperature and ensuring smooth performance. The sensor itself uses electronic components to determine what the level of coolant is within the radiator or coolant reservoir, letting you know the moment that the fluid has dropped. How Does A Low Coolant Level Sensor Work.
     
    
         
        From gpmsurplus.com 
                    Kohler 254832 Low Coolant Sensor Low Water Sender GPM Surplus How Does A Low Coolant Level Sensor Work  A coolant level sensor is a device that measures the level of coolant in a vehicle’s cooling system. An engine coolant temperature sensor or ect measures the temperature of the liquid coolant. The coolant level is normally. A typical engine cooling temperature sensor is a negative temperature coefficient. The sensor is typically located in the coolant reservoir, radiator, or engine. How Does A Low Coolant Level Sensor Work.
     
    
         
        From www.samarins.com 
                    Engine coolant temperature sensor how it works, symptoms, problems How Does A Low Coolant Level Sensor Work  Keep an eye out for any signs of a bad coolant. The sensor is typically located in the coolant reservoir, radiator, or engine block. A typical engine cooling temperature sensor is a negative temperature coefficient. The sensor itself uses electronic components to determine what the level of coolant is within the radiator or coolant reservoir, letting you know the moment. How Does A Low Coolant Level Sensor Work.
     
    
         
        From www.wcfab.com 
                    20012010 & 20172024 Duramax Low Coolant Level Sensor How Does A Low Coolant Level Sensor Work  The most common reason for a low coolant level is a leaking cooling system. The sensor is typically located in the coolant reservoir, radiator, or engine block. The low coolant level warning light uses a sensor in the cooling system to monitor the coolant level. A coolant level sensor is a device that measures the level of coolant in a. How Does A Low Coolant Level Sensor Work.
     
    
         
        From www.youtube.com 
                    How To Install Replace Low Coolant Level Sensor 199908 Volvo V70 YouTube How Does A Low Coolant Level Sensor Work  The sensor is typically located in the coolant reservoir, radiator, or engine block. The most common reason for a low coolant level is a leaking cooling system. A typical engine cooling temperature sensor is a negative temperature coefficient. Keep an eye out for any signs of a bad coolant. It sends a signal to the dashboard gauge. The sensor itself. How Does A Low Coolant Level Sensor Work.
     
    
         
        From wirelistzapotilla.z13.web.core.windows.net 
                    Low Coolant Level Sensor How Does A Low Coolant Level Sensor Work  The low coolant level warning light uses a sensor in the cooling system to monitor the coolant level. The sensor is typically located in the coolant reservoir, radiator, or engine block. Proper functioning of the coolant level sensor is crucial in maintaining the engine’s ideal operating temperature and ensuring smooth performance. The sensor itself uses electronic components to determine what. How Does A Low Coolant Level Sensor Work.
     
    
         
        From receivinghelpdesk.com 
                    How Does A Peterbilt Coolant Level Sensor Work How Does A Low Coolant Level Sensor Work  The low coolant level warning light uses a sensor in the cooling system to monitor the coolant level. In generator protections, a low coolant level alarm is used to alert the operator to the engine suffering from coolant level. The coolant level is normally. A coolant level sensor is a device that measures the level of coolant in a vehicle’s. How Does A Low Coolant Level Sensor Work.
     
    
         
        From gm-techlink.com 
                    Proper Coolant Level on the 6.6L Duramax Diesel Engine TechLink How Does A Low Coolant Level Sensor Work  A coolant level sensor is a device that measures the level of coolant in a vehicle’s cooling system. The sensor is typically located in the coolant reservoir, radiator, or engine block. A typical engine cooling temperature sensor is a negative temperature coefficient. Proper functioning of the coolant level sensor is crucial in maintaining the engine’s ideal operating temperature and ensuring. How Does A Low Coolant Level Sensor Work.
     
    
         
        From diagramlibrarycattabu.z13.web.core.windows.net 
                    Coolant Level Sensor Working Principle How Does A Low Coolant Level Sensor Work  A coolant level sensor is a device that measures the level of coolant in a vehicle’s cooling system. The low coolant level warning light uses a sensor in the cooling system to monitor the coolant level. The leaks can come from leaking hoses, sensors, or gaskets. Keep an eye out for any signs of a bad coolant. In generator protections,. How Does A Low Coolant Level Sensor Work.
     
    
         
        From www.youtube.com 
                    How the coolant temperature sensor works by How Does A Low Coolant Level Sensor Work  The sensor is typically located in the coolant reservoir, radiator, or engine block. In generator protections, a low coolant level alarm is used to alert the operator to the engine suffering from coolant level. Proper functioning of the coolant level sensor is crucial in maintaining the engine’s ideal operating temperature and ensuring smooth performance. It sends a signal to the. How Does A Low Coolant Level Sensor Work.
     
    
         
        From www.cartekmotorsport.com 
                    Coolant Level Sensors CARTEK Motorsport Electronics How Does A Low Coolant Level Sensor Work  Keep an eye out for any signs of a bad coolant. A coolant level sensor is a device that measures the level of coolant in a vehicle’s cooling system. The sensor itself uses electronic components to determine what the level of coolant is within the radiator or coolant reservoir, letting you know the moment that the fluid has dropped below. How Does A Low Coolant Level Sensor Work.
     
    
         
        From www.howtoserviceandrepair.com 
                    Low Engine Coolant Level Indicator Always On (Diagnose Low Coolant How Does A Low Coolant Level Sensor Work  It sends a signal to the dashboard gauge. The sensor is typically located in the coolant reservoir, radiator, or engine block. A typical engine cooling temperature sensor is a negative temperature coefficient. Proper functioning of the coolant level sensor is crucial in maintaining the engine’s ideal operating temperature and ensuring smooth performance. A coolant level sensor is a device that. How Does A Low Coolant Level Sensor Work.