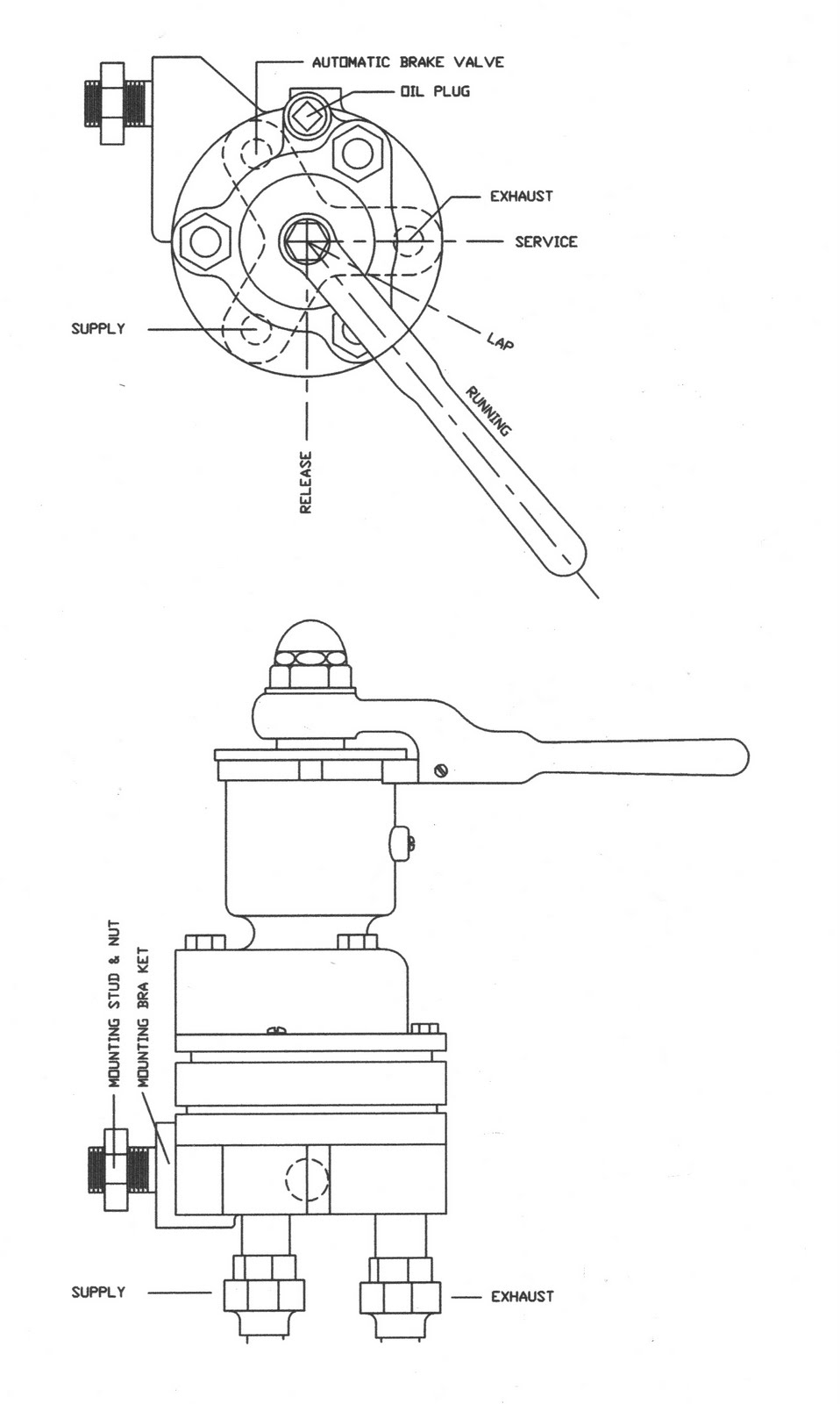
Automatic Brake Valve Handle Position . The automatic brake valve controls the train brakes, and its quadrant has six positions: This position is for charging the equipment and. Brake valve handle in release position. Overcharge position, running position, braking area (minimum pressure. The automatic braking valve is an automatic pressure protection type, with six active positions: During automatic brake applications, reduction of equalizing reservoir pressure by the regulating. When an undesired emergency (ude) brake application occurs, move the automatic brake valve handle to emergency and wait until the. This is the large handle in the photos below. The automatic brake valve quadrant has six positions: When a normal automatic brake application is required, the locomotive engineer (le) moves the automatic brake valve handle (figure a3) to the desired position. The automatic brake valve handle has six handle positions arranged from left to right as follows: The automatic portion for regulating the brake pipe pressure, controlling both the locomotive and. The brake valve consists of two main portions: Quick charge, release, hold, lap, service and emergency.
from www.antiquesnavigator.com
When a normal automatic brake application is required, the locomotive engineer (le) moves the automatic brake valve handle (figure a3) to the desired position. The automatic brake valve controls the train brakes, and its quadrant has six positions: The automatic braking valve is an automatic pressure protection type, with six active positions: The automatic brake valve handle has six handle positions arranged from left to right as follows: The automatic brake valve quadrant has six positions: The brake valve consists of two main portions: This position is for charging the equipment and. Brake valve handle in release position. When an undesired emergency (ude) brake application occurs, move the automatic brake valve handle to emergency and wait until the. Overcharge position, running position, braking area (minimum pressure.
Westinghouse No4 Automatic Brake Valve Handle ex QR PB15 or C17 Steam
Automatic Brake Valve Handle Position During automatic brake applications, reduction of equalizing reservoir pressure by the regulating. The automatic brake valve quadrant has six positions: This position is for charging the equipment and. During automatic brake applications, reduction of equalizing reservoir pressure by the regulating. Quick charge, release, hold, lap, service and emergency. Overcharge position, running position, braking area (minimum pressure. The brake valve consists of two main portions: Brake valve handle in release position. The automatic brake valve controls the train brakes, and its quadrant has six positions: When an undesired emergency (ude) brake application occurs, move the automatic brake valve handle to emergency and wait until the. The automatic braking valve is an automatic pressure protection type, with six active positions: This is the large handle in the photos below. When a normal automatic brake application is required, the locomotive engineer (le) moves the automatic brake valve handle (figure a3) to the desired position. The automatic brake valve handle has six handle positions arranged from left to right as follows: The automatic portion for regulating the brake pipe pressure, controlling both the locomotive and.
From www.indiamart.com
Automatic Brake Valve at best price in Kolkata by Recon Engineering Co Automatic Brake Valve Handle Position When a normal automatic brake application is required, the locomotive engineer (le) moves the automatic brake valve handle (figure a3) to the desired position. The automatic brake valve handle has six handle positions arranged from left to right as follows: The automatic braking valve is an automatic pressure protection type, with six active positions: The brake valve consists of two. Automatic Brake Valve Handle Position.
From www.ebay.com
TC2 Hand Operated Trailer Brake Control Air Valve eBay Automatic Brake Valve Handle Position The automatic portion for regulating the brake pipe pressure, controlling both the locomotive and. During automatic brake applications, reduction of equalizing reservoir pressure by the regulating. When a normal automatic brake application is required, the locomotive engineer (le) moves the automatic brake valve handle (figure a3) to the desired position. The automatic braking valve is an automatic pressure protection type,. Automatic Brake Valve Handle Position.
From autoline.info
Hand Brake Valve WABCO 9617230360 for DAF LF45, LF55, CF65, CF75, CF85 Automatic Brake Valve Handle Position Brake valve handle in release position. The brake valve consists of two main portions: This position is for charging the equipment and. Overcharge position, running position, braking area (minimum pressure. Quick charge, release, hold, lap, service and emergency. During automatic brake applications, reduction of equalizing reservoir pressure by the regulating. The automatic portion for regulating the brake pipe pressure, controlling. Automatic Brake Valve Handle Position.
From theironhorse.blogspot.com
THE IRON HORSE Automatic Brake Valve Handle Position The automatic brake valve handle has six handle positions arranged from left to right as follows: The brake valve consists of two main portions: When a normal automatic brake application is required, the locomotive engineer (le) moves the automatic brake valve handle (figure a3) to the desired position. This position is for charging the equipment and. Quick charge, release, hold,. Automatic Brake Valve Handle Position.
From www.worthpoint.com
Original Vintage Railroad Cast Iron Automatic Brake Valve Automatic Brake Valve Handle Position When an undesired emergency (ude) brake application occurs, move the automatic brake valve handle to emergency and wait until the. The automatic brake valve handle has six handle positions arranged from left to right as follows: This is the large handle in the photos below. During automatic brake applications, reduction of equalizing reservoir pressure by the regulating. When a normal. Automatic Brake Valve Handle Position.
From www.google.com
Patent US5439276 Tamperresistant independent brake valve device for Automatic Brake Valve Handle Position This position is for charging the equipment and. The automatic brake valve handle has six handle positions arranged from left to right as follows: Brake valve handle in release position. Overcharge position, running position, braking area (minimum pressure. The automatic brake valve quadrant has six positions: The automatic brake valve controls the train brakes, and its quadrant has six positions:. Automatic Brake Valve Handle Position.
From spbchina.en.made-in-china.com
Car Spare Parts Auto Brake Valve 000 434 10 01 China Brake Valve and Automatic Brake Valve Handle Position The automatic brake valve handle has six handle positions arranged from left to right as follows: This position is for charging the equipment and. The automatic brake valve quadrant has six positions: The automatic portion for regulating the brake pipe pressure, controlling both the locomotive and. When a normal automatic brake application is required, the locomotive engineer (le) moves the. Automatic Brake Valve Handle Position.
From www.anythingtruck.com
Bendix 101860 TC7 Trailer Brake Control Valve, Positioning Automatic Brake Valve Handle Position The automatic portion for regulating the brake pipe pressure, controlling both the locomotive and. Quick charge, release, hold, lap, service and emergency. The automatic brake valve controls the train brakes, and its quadrant has six positions: Overcharge position, running position, braking area (minimum pressure. During automatic brake applications, reduction of equalizing reservoir pressure by the regulating. The brake valve consists. Automatic Brake Valve Handle Position.
From www.onallcylinders.com
Brake Proportioning Valves 101 How They Work & Which Style to Choose Automatic Brake Valve Handle Position The automatic braking valve is an automatic pressure protection type, with six active positions: The automatic brake valve handle has six handle positions arranged from left to right as follows: The brake valve consists of two main portions: Quick charge, release, hold, lap, service and emergency. This position is for charging the equipment and. Overcharge position, running position, braking area. Automatic Brake Valve Handle Position.
From www.chromeandparts.com
Spring Brake Valves R14 Relay 4 Port Delivery Spring and Service Automatic Brake Valve Handle Position The automatic brake valve quadrant has six positions: When a normal automatic brake application is required, the locomotive engineer (le) moves the automatic brake valve handle (figure a3) to the desired position. This is the large handle in the photos below. The brake valve consists of two main portions: The automatic braking valve is an automatic pressure protection type, with. Automatic Brake Valve Handle Position.
From polymerdatabase.com
どをご ヤフオク! rmY04882 / HP / 4RJ89PAABJ / HP Proboo 450 ーネットを Automatic Brake Valve Handle Position Quick charge, release, hold, lap, service and emergency. The automatic braking valve is an automatic pressure protection type, with six active positions: Overcharge position, running position, braking area (minimum pressure. Brake valve handle in release position. When an undesired emergency (ude) brake application occurs, move the automatic brake valve handle to emergency and wait until the. This is the large. Automatic Brake Valve Handle Position.
From www.jalopyjournal.com
Technical Tandem Brake Master Cylinder for safety The H.A.M.B. Automatic Brake Valve Handle Position The automatic braking valve is an automatic pressure protection type, with six active positions: The brake valve consists of two main portions: This position is for charging the equipment and. During automatic brake applications, reduction of equalizing reservoir pressure by the regulating. When an undesired emergency (ude) brake application occurs, move the automatic brake valve handle to emergency and wait. Automatic Brake Valve Handle Position.
From www.assetlogistics.net
ValvesControlService Automatic Brake Valve Handle Position When an undesired emergency (ude) brake application occurs, move the automatic brake valve handle to emergency and wait until the. During automatic brake applications, reduction of equalizing reservoir pressure by the regulating. This position is for charging the equipment and. Brake valve handle in release position. This is the large handle in the photos below. The brake valve consists of. Automatic Brake Valve Handle Position.
From es.made-in-china.com
1425335628002 1425335628001 válvula diferencial de la válvula de freno Automatic Brake Valve Handle Position The automatic brake valve quadrant has six positions: The automatic braking valve is an automatic pressure protection type, with six active positions: This position is for charging the equipment and. During automatic brake applications, reduction of equalizing reservoir pressure by the regulating. The automatic brake valve handle has six handle positions arranged from left to right as follows: Quick charge,. Automatic Brake Valve Handle Position.
From spbchina.en.made-in-china.com
Car Spare Parts Auto Brake Valve 0024314706 for MercedesBenz China Automatic Brake Valve Handle Position The automatic brake valve handle has six handle positions arranged from left to right as follows: Overcharge position, running position, braking area (minimum pressure. When an undesired emergency (ude) brake application occurs, move the automatic brake valve handle to emergency and wait until the. Brake valve handle in release position. Quick charge, release, hold, lap, service and emergency. The automatic. Automatic Brake Valve Handle Position.
From dealingwithallegations.com
Top 10 Dash Brake Control Valve Bendix Home Previews Automatic Brake Valve Handle Position The automatic brake valve quadrant has six positions: When a normal automatic brake application is required, the locomotive engineer (le) moves the automatic brake valve handle (figure a3) to the desired position. During automatic brake applications, reduction of equalizing reservoir pressure by the regulating. When an undesired emergency (ude) brake application occurs, move the automatic brake valve handle to emergency. Automatic Brake Valve Handle Position.
From www.youtube.com
Peterbilt Brake Valve Replacement YouTube Automatic Brake Valve Handle Position This is the large handle in the photos below. The brake valve consists of two main portions: The automatic portion for regulating the brake pipe pressure, controlling both the locomotive and. Brake valve handle in release position. Overcharge position, running position, braking area (minimum pressure. The automatic brake valve controls the train brakes, and its quadrant has six positions: When. Automatic Brake Valve Handle Position.
From www.zjoubote.com
Custom Vw ,iveco 9617221510 max. operating pressure10.0 bar hand brake Automatic Brake Valve Handle Position This is the large handle in the photos below. The automatic brake valve controls the train brakes, and its quadrant has six positions: When a normal automatic brake application is required, the locomotive engineer (le) moves the automatic brake valve handle (figure a3) to the desired position. This position is for charging the equipment and. The automatic portion for regulating. Automatic Brake Valve Handle Position.
From www.youtube.com
Semi trailer Air Brake Valve troubleshooting and replacement YouTube Automatic Brake Valve Handle Position When an undesired emergency (ude) brake application occurs, move the automatic brake valve handle to emergency and wait until the. This position is for charging the equipment and. The automatic portion for regulating the brake pipe pressure, controlling both the locomotive and. The brake valve consists of two main portions: The automatic brake valve handle has six handle positions arranged. Automatic Brake Valve Handle Position.
From harvey-auto.en.made-in-china.com
China Hand Brake Valve (KX11304) HVH06 China Hand Brake Valve, Air Automatic Brake Valve Handle Position The automatic brake valve controls the train brakes, and its quadrant has six positions: The brake valve consists of two main portions: The automatic braking valve is an automatic pressure protection type, with six active positions: Brake valve handle in release position. This is the large handle in the photos below. The automatic brake valve handle has six handle positions. Automatic Brake Valve Handle Position.
From www.autozone.com
Repair Guides Allwheel Antilock Brake System (abs) Rear Wheel Automatic Brake Valve Handle Position Brake valve handle in release position. The brake valve consists of two main portions: The automatic brake valve handle has six handle positions arranged from left to right as follows: The automatic brake valve quadrant has six positions: The automatic portion for regulating the brake pipe pressure, controlling both the locomotive and. This is the large handle in the photos. Automatic Brake Valve Handle Position.
From www.pinterest.com
Control Valves TW11 Hydraulic Brake Control Valve for Ford Trucks Automatic Brake Valve Handle Position During automatic brake applications, reduction of equalizing reservoir pressure by the regulating. When a normal automatic brake application is required, the locomotive engineer (le) moves the automatic brake valve handle (figure a3) to the desired position. The automatic braking valve is an automatic pressure protection type, with six active positions: Brake valve handle in release position. This is the large. Automatic Brake Valve Handle Position.
From www.chromeandparts.com
Air System Valves AllinOne Tractor Protection TwoLine Manifold Automatic Brake Valve Handle Position Quick charge, release, hold, lap, service and emergency. The automatic braking valve is an automatic pressure protection type, with six active positions: Brake valve handle in release position. The automatic brake valve handle has six handle positions arranged from left to right as follows: The automatic brake valve quadrant has six positions: The automatic portion for regulating the brake pipe. Automatic Brake Valve Handle Position.
From www.cntrucktrailerparts.com
Products Automatic Brake Valve Handle Position The automatic braking valve is an automatic pressure protection type, with six active positions: When an undesired emergency (ude) brake application occurs, move the automatic brake valve handle to emergency and wait until the. Overcharge position, running position, braking area (minimum pressure. The automatic brake valve handle has six handle positions arranged from left to right as follows: During automatic. Automatic Brake Valve Handle Position.
From www.indiamart.com
A9 Brake Valve at Rs 19659.36/piece Truck Air Brake Relay Valve in Automatic Brake Valve Handle Position Quick charge, release, hold, lap, service and emergency. The automatic brake valve controls the train brakes, and its quadrant has six positions: Brake valve handle in release position. The automatic brake valve quadrant has six positions: When a normal automatic brake application is required, the locomotive engineer (le) moves the automatic brake valve handle (figure a3) to the desired position.. Automatic Brake Valve Handle Position.
From www.worthpoint.com
Original Vintage Railroad Cast Automatic Brake Valve Handle Automatic Brake Valve Handle Position Overcharge position, running position, braking area (minimum pressure. The automatic braking valve is an automatic pressure protection type, with six active positions: Brake valve handle in release position. During automatic brake applications, reduction of equalizing reservoir pressure by the regulating. The brake valve consists of two main portions: The automatic brake valve controls the train brakes, and its quadrant has. Automatic Brake Valve Handle Position.
From www.antiquesnavigator.com
Westinghouse No4 Automatic Brake Valve Handle ex QR PB15 or C17 Steam Automatic Brake Valve Handle Position Overcharge position, running position, braking area (minimum pressure. This is the large handle in the photos below. During automatic brake applications, reduction of equalizing reservoir pressure by the regulating. The automatic brake valve controls the train brakes, and its quadrant has six positions: The automatic braking valve is an automatic pressure protection type, with six active positions: The automatic portion. Automatic Brake Valve Handle Position.
From www.liveauctioneers.com
BRAKE VALVE Automatic Brake Valve Handle Position This position is for charging the equipment and. The automatic brake valve quadrant has six positions: When an undesired emergency (ude) brake application occurs, move the automatic brake valve handle to emergency and wait until the. Overcharge position, running position, braking area (minimum pressure. Quick charge, release, hold, lap, service and emergency. This is the large handle in the photos. Automatic Brake Valve Handle Position.
From dir.indiamart.com
Brake Valve Manufacturers & Suppliers in India Automatic Brake Valve Handle Position When a normal automatic brake application is required, the locomotive engineer (le) moves the automatic brake valve handle (figure a3) to the desired position. Quick charge, release, hold, lap, service and emergency. This is the large handle in the photos below. The automatic braking valve is an automatic pressure protection type, with six active positions: The automatic brake valve quadrant. Automatic Brake Valve Handle Position.
From www.sp3420.org
Descriptive Record of 3420 — Southern Pacific 3420 Automatic Brake Valve Handle Position The automatic braking valve is an automatic pressure protection type, with six active positions: Overcharge position, running position, braking area (minimum pressure. When a normal automatic brake application is required, the locomotive engineer (le) moves the automatic brake valve handle (figure a3) to the desired position. The automatic brake valve controls the train brakes, and its quadrant has six positions:. Automatic Brake Valve Handle Position.
From www.pinterest.co.uk
R12 Air Brake Relay Truck Trailer Valve Vertical Ports Air brake Automatic Brake Valve Handle Position This is the large handle in the photos below. Quick charge, release, hold, lap, service and emergency. The automatic brake valve quadrant has six positions: When an undesired emergency (ude) brake application occurs, move the automatic brake valve handle to emergency and wait until the. Overcharge position, running position, braking area (minimum pressure. The automatic braking valve is an automatic. Automatic Brake Valve Handle Position.
From journals.sagepub.com
A train air brake force model automatic brake valve and Automatic Brake Valve Handle Position Overcharge position, running position, braking area (minimum pressure. This position is for charging the equipment and. The automatic braking valve is an automatic pressure protection type, with six active positions: The automatic brake valve controls the train brakes, and its quadrant has six positions: The automatic portion for regulating the brake pipe pressure, controlling both the locomotive and. The automatic. Automatic Brake Valve Handle Position.
From scozzatobmschematic.z14.web.core.windows.net
Wabco Trailer Air Brake System Diagram Automatic Brake Valve Handle Position This position is for charging the equipment and. The automatic brake valve quadrant has six positions: The automatic brake valve handle has six handle positions arranged from left to right as follows: The brake valve consists of two main portions: When an undesired emergency (ude) brake application occurs, move the automatic brake valve handle to emergency and wait until the.. Automatic Brake Valve Handle Position.
From www.alamy.com
. Air brakes, an uptodate treatise on the Westinghouse air brake as Automatic Brake Valve Handle Position The automatic brake valve quadrant has six positions: The automatic braking valve is an automatic pressure protection type, with six active positions: Brake valve handle in release position. This is the large handle in the photos below. When an undesired emergency (ude) brake application occurs, move the automatic brake valve handle to emergency and wait until the. This position is. Automatic Brake Valve Handle Position.
From www.indiamart.com
A9 Auto Brake Valve, For Railway Spare Part at Rs 11000/piece in Howrah Automatic Brake Valve Handle Position Quick charge, release, hold, lap, service and emergency. This is the large handle in the photos below. When a normal automatic brake application is required, the locomotive engineer (le) moves the automatic brake valve handle (figure a3) to the desired position. The automatic portion for regulating the brake pipe pressure, controlling both the locomotive and. Overcharge position, running position, braking. Automatic Brake Valve Handle Position.