How Do Honeycomb Seals Work . Honeycomb seals for steam turbines. Engine seal honeycomb turbines are part of the manufacturer’s design strategy to achieve and control proper levels of compression throughout the engines or turbines. The surface structure of the. Offered by us, honeycomb seals allow for a significant reduction of radial clearance of the turbine, and thus ensure reduction of steam. The sealing of a rub system depends on more than just the size and geometry of the clearance gap. Honeycomb seals are machined with individual chambers that create the pressure drop needed to slow leakage. Honeycomb seals have excellent sealing performance, stable dynamic characteristics and a long service life. The production technology for honeycomb shroud seals involves a series of successive thermal.
from preci-spark.co.uk
Honeycomb seals are machined with individual chambers that create the pressure drop needed to slow leakage. Honeycomb seals for steam turbines. Honeycomb seals have excellent sealing performance, stable dynamic characteristics and a long service life. The production technology for honeycomb shroud seals involves a series of successive thermal. Offered by us, honeycomb seals allow for a significant reduction of radial clearance of the turbine, and thus ensure reduction of steam. Engine seal honeycomb turbines are part of the manufacturer’s design strategy to achieve and control proper levels of compression throughout the engines or turbines. The sealing of a rub system depends on more than just the size and geometry of the clearance gap. The surface structure of the.
Assemblies PreciSpark
How Do Honeycomb Seals Work Honeycomb seals have excellent sealing performance, stable dynamic characteristics and a long service life. Engine seal honeycomb turbines are part of the manufacturer’s design strategy to achieve and control proper levels of compression throughout the engines or turbines. The surface structure of the. The production technology for honeycomb shroud seals involves a series of successive thermal. The sealing of a rub system depends on more than just the size and geometry of the clearance gap. Honeycomb seals have excellent sealing performance, stable dynamic characteristics and a long service life. Honeycomb seals for steam turbines. Honeycomb seals are machined with individual chambers that create the pressure drop needed to slow leakage. Offered by us, honeycomb seals allow for a significant reduction of radial clearance of the turbine, and thus ensure reduction of steam.
From hexar.com.pl
SEAL Hexar How Do Honeycomb Seals Work The production technology for honeycomb shroud seals involves a series of successive thermal. Honeycomb seals for steam turbines. Honeycomb seals are machined with individual chambers that create the pressure drop needed to slow leakage. Offered by us, honeycomb seals allow for a significant reduction of radial clearance of the turbine, and thus ensure reduction of steam. Honeycomb seals have excellent. How Do Honeycomb Seals Work.
From www.haxcore.com
HAXCORE Seal Knowledge Suzhou Haxcore Material Technology How Do Honeycomb Seals Work Honeycomb seals are machined with individual chambers that create the pressure drop needed to slow leakage. Engine seal honeycomb turbines are part of the manufacturer’s design strategy to achieve and control proper levels of compression throughout the engines or turbines. The sealing of a rub system depends on more than just the size and geometry of the clearance gap. The. How Do Honeycomb Seals Work.
From en.mat-cm.com
air seal How Do Honeycomb Seals Work Honeycomb seals have excellent sealing performance, stable dynamic characteristics and a long service life. The surface structure of the. The sealing of a rub system depends on more than just the size and geometry of the clearance gap. Offered by us, honeycomb seals allow for a significant reduction of radial clearance of the turbine, and thus ensure reduction of steam.. How Do Honeycomb Seals Work.
From www.semanticscholar.org
Figure 1 from Annular seals test results for leakage and How Do Honeycomb Seals Work Honeycomb seals are machined with individual chambers that create the pressure drop needed to slow leakage. The sealing of a rub system depends on more than just the size and geometry of the clearance gap. Honeycomb seals have excellent sealing performance, stable dynamic characteristics and a long service life. Offered by us, honeycomb seals allow for a significant reduction of. How Do Honeycomb Seals Work.
From www.google.com
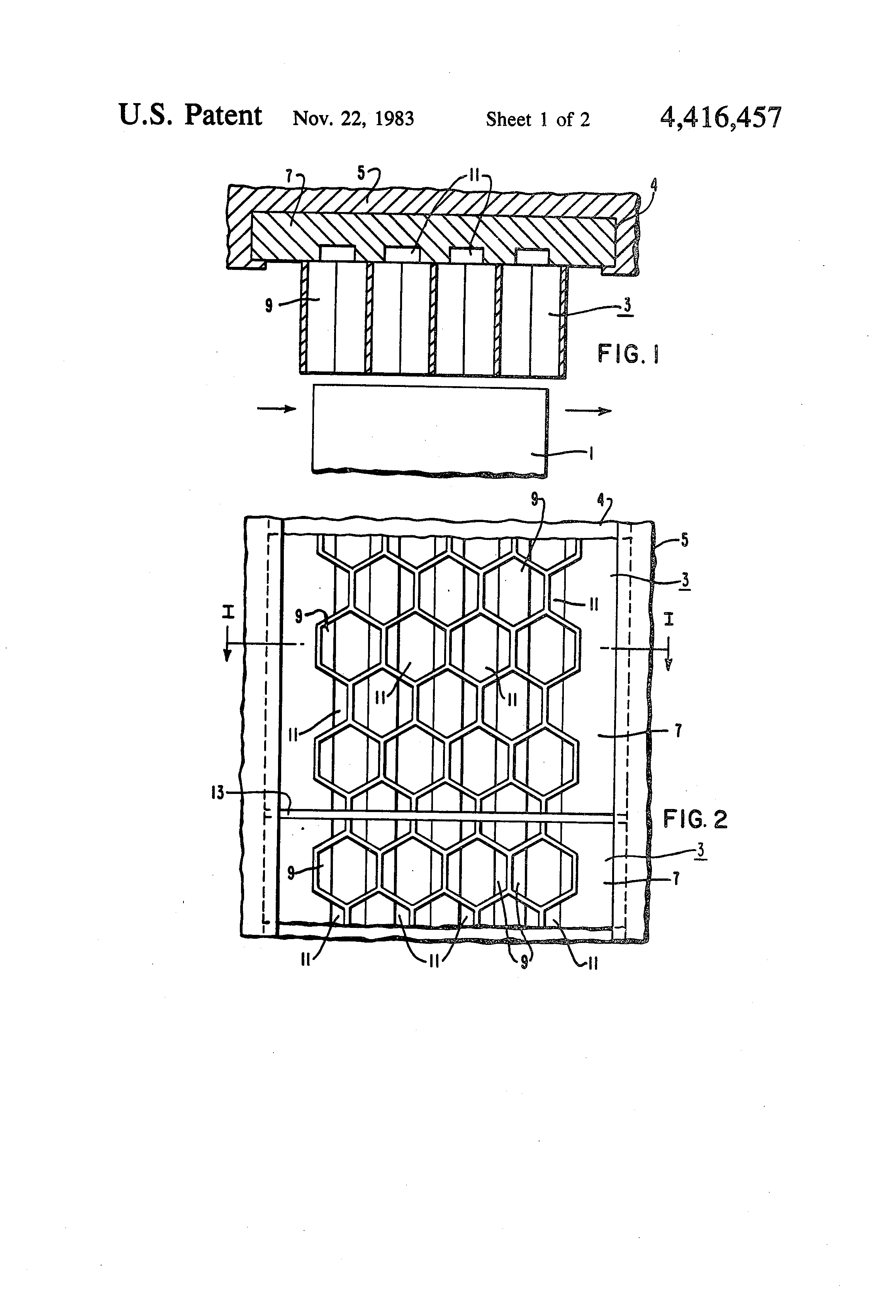
Patent US4416457 Grooved labyrinth seal for steam turbines How Do Honeycomb Seals Work The sealing of a rub system depends on more than just the size and geometry of the clearance gap. Engine seal honeycomb turbines are part of the manufacturer’s design strategy to achieve and control proper levels of compression throughout the engines or turbines. Honeycomb seals have excellent sealing performance, stable dynamic characteristics and a long service life. Honeycomb seals for. How Do Honeycomb Seals Work.
From www.google.com
Patent US8318251 Method for coating seal using a slurry How Do Honeycomb Seals Work Engine seal honeycomb turbines are part of the manufacturer’s design strategy to achieve and control proper levels of compression throughout the engines or turbines. The production technology for honeycomb shroud seals involves a series of successive thermal. The surface structure of the. Honeycomb seals are machined with individual chambers that create the pressure drop needed to slow leakage. Offered by. How Do Honeycomb Seals Work.
From hexar.com.pl
SEAL Hexar How Do Honeycomb Seals Work The sealing of a rub system depends on more than just the size and geometry of the clearance gap. The production technology for honeycomb shroud seals involves a series of successive thermal. Offered by us, honeycomb seals allow for a significant reduction of radial clearance of the turbine, and thus ensure reduction of steam. Engine seal honeycomb turbines are part. How Do Honeycomb Seals Work.
From preci-spark.co.uk
Assemblies PreciSpark How Do Honeycomb Seals Work The surface structure of the. Honeycomb seals have excellent sealing performance, stable dynamic characteristics and a long service life. Offered by us, honeycomb seals allow for a significant reduction of radial clearance of the turbine, and thus ensure reduction of steam. The production technology for honeycomb shroud seals involves a series of successive thermal. Honeycomb seals for steam turbines. Honeycomb. How Do Honeycomb Seals Work.
From www.honeycombcompositepanels.com
Welded Turbine Seal , Aero Engine Structure How Do Honeycomb Seals Work The production technology for honeycomb shroud seals involves a series of successive thermal. Engine seal honeycomb turbines are part of the manufacturer’s design strategy to achieve and control proper levels of compression throughout the engines or turbines. Honeycomb seals have excellent sealing performance, stable dynamic characteristics and a long service life. The surface structure of the. Honeycomb seals for steam. How Do Honeycomb Seals Work.
From www.researchgate.net
Seal for Turbopump. Download Scientific Diagram How Do Honeycomb Seals Work Honeycomb seals are machined with individual chambers that create the pressure drop needed to slow leakage. Offered by us, honeycomb seals allow for a significant reduction of radial clearance of the turbine, and thus ensure reduction of steam. Honeycomb seals have excellent sealing performance, stable dynamic characteristics and a long service life. Engine seal honeycomb turbines are part of the. How Do Honeycomb Seals Work.
From preci-spark.co.uk
Assemblies PreciSpark How Do Honeycomb Seals Work Engine seal honeycomb turbines are part of the manufacturer’s design strategy to achieve and control proper levels of compression throughout the engines or turbines. Honeycomb seals are machined with individual chambers that create the pressure drop needed to slow leakage. Honeycomb seals have excellent sealing performance, stable dynamic characteristics and a long service life. Honeycomb seals for steam turbines. Offered. How Do Honeycomb Seals Work.
From beebuzzhive.com
Seals Enhancing Efficiency and Reliability in Industrial How Do Honeycomb Seals Work Honeycomb seals have excellent sealing performance, stable dynamic characteristics and a long service life. The sealing of a rub system depends on more than just the size and geometry of the clearance gap. The surface structure of the. The production technology for honeycomb shroud seals involves a series of successive thermal. Offered by us, honeycomb seals allow for a significant. How Do Honeycomb Seals Work.
From www.mdpi.com
Aerospace Free FullText Effect of Installation Error on Rotary How Do Honeycomb Seals Work Honeycomb seals for steam turbines. The surface structure of the. The sealing of a rub system depends on more than just the size and geometry of the clearance gap. The production technology for honeycomb shroud seals involves a series of successive thermal. Engine seal honeycomb turbines are part of the manufacturer’s design strategy to achieve and control proper levels of. How Do Honeycomb Seals Work.
From preci-spark.co.uk
Assemblies PreciSpark How Do Honeycomb Seals Work The surface structure of the. The sealing of a rub system depends on more than just the size and geometry of the clearance gap. The production technology for honeycomb shroud seals involves a series of successive thermal. Honeycomb seals for steam turbines. Engine seal honeycomb turbines are part of the manufacturer’s design strategy to achieve and control proper levels of. How Do Honeycomb Seals Work.
From hexar.com.pl
SEAL HEXAR How Do Honeycomb Seals Work Honeycomb seals are machined with individual chambers that create the pressure drop needed to slow leakage. Honeycomb seals have excellent sealing performance, stable dynamic characteristics and a long service life. Honeycomb seals for steam turbines. The production technology for honeycomb shroud seals involves a series of successive thermal. Engine seal honeycomb turbines are part of the manufacturer’s design strategy to. How Do Honeycomb Seals Work.
From hh03.mars-cdn.com
Seals Manufacturer, Haynes 214 Exporter, India How Do Honeycomb Seals Work Honeycomb seals for steam turbines. The surface structure of the. Offered by us, honeycomb seals allow for a significant reduction of radial clearance of the turbine, and thus ensure reduction of steam. Honeycomb seals are machined with individual chambers that create the pressure drop needed to slow leakage. Honeycomb seals have excellent sealing performance, stable dynamic characteristics and a long. How Do Honeycomb Seals Work.
From preci-spark.co.uk
Assemblies PreciSpark How Do Honeycomb Seals Work Honeycomb seals for steam turbines. Offered by us, honeycomb seals allow for a significant reduction of radial clearance of the turbine, and thus ensure reduction of steam. Honeycomb seals have excellent sealing performance, stable dynamic characteristics and a long service life. The sealing of a rub system depends on more than just the size and geometry of the clearance gap.. How Do Honeycomb Seals Work.
From www.youtube.com
tapes for gas seals of turbines YouTube How Do Honeycomb Seals Work The production technology for honeycomb shroud seals involves a series of successive thermal. Engine seal honeycomb turbines are part of the manufacturer’s design strategy to achieve and control proper levels of compression throughout the engines or turbines. The sealing of a rub system depends on more than just the size and geometry of the clearance gap. Offered by us, honeycomb. How Do Honeycomb Seals Work.
From www.researchgate.net
Structural diagram of three types of seals. (a) Labyrinth seal; (b How Do Honeycomb Seals Work Honeycomb seals for steam turbines. Honeycomb seals have excellent sealing performance, stable dynamic characteristics and a long service life. Honeycomb seals are machined with individual chambers that create the pressure drop needed to slow leakage. The production technology for honeycomb shroud seals involves a series of successive thermal. The sealing of a rub system depends on more than just the. How Do Honeycomb Seals Work.
From www.miheatingcables.com
Spot Welded Seal , Steam Stainless Steel Core How Do Honeycomb Seals Work The surface structure of the. Honeycomb seals are machined with individual chambers that create the pressure drop needed to slow leakage. Engine seal honeycomb turbines are part of the manufacturer’s design strategy to achieve and control proper levels of compression throughout the engines or turbines. Offered by us, honeycomb seals allow for a significant reduction of radial clearance of the. How Do Honeycomb Seals Work.
From hexar.com.pl
SEAL Hexar How Do Honeycomb Seals Work The sealing of a rub system depends on more than just the size and geometry of the clearance gap. Honeycomb seals have excellent sealing performance, stable dynamic characteristics and a long service life. The surface structure of the. The production technology for honeycomb shroud seals involves a series of successive thermal. Honeycomb seals are machined with individual chambers that create. How Do Honeycomb Seals Work.
From www.youtube.com
How to seal the Aluminum panel Automatic Aluminum How Do Honeycomb Seals Work The sealing of a rub system depends on more than just the size and geometry of the clearance gap. Honeycomb seals for steam turbines. Honeycomb seals are machined with individual chambers that create the pressure drop needed to slow leakage. Engine seal honeycomb turbines are part of the manufacturer’s design strategy to achieve and control proper levels of compression throughout. How Do Honeycomb Seals Work.
From www.metcojoiningcladding.com
Discover Efficient Braze Solutions for Seals Metco Joining How Do Honeycomb Seals Work Honeycomb seals have excellent sealing performance, stable dynamic characteristics and a long service life. Engine seal honeycomb turbines are part of the manufacturer’s design strategy to achieve and control proper levels of compression throughout the engines or turbines. The surface structure of the. Honeycomb seals are machined with individual chambers that create the pressure drop needed to slow leakage. The. How Do Honeycomb Seals Work.
From www.researchgate.net
Physical picture of three types of seals. (a) Labyrinth seal; (b How Do Honeycomb Seals Work Honeycomb seals have excellent sealing performance, stable dynamic characteristics and a long service life. The surface structure of the. The sealing of a rub system depends on more than just the size and geometry of the clearance gap. Honeycomb seals for steam turbines. Honeycomb seals are machined with individual chambers that create the pressure drop needed to slow leakage. The. How Do Honeycomb Seals Work.
From www.youtube.com
Setco SEG Grinding System YouTube How Do Honeycomb Seals Work Engine seal honeycomb turbines are part of the manufacturer’s design strategy to achieve and control proper levels of compression throughout the engines or turbines. Offered by us, honeycomb seals allow for a significant reduction of radial clearance of the turbine, and thus ensure reduction of steam. The surface structure of the. Honeycomb seals are machined with individual chambers that create. How Do Honeycomb Seals Work.
From kanesdictionary.com
Seal Kanes Dictionary How Do Honeycomb Seals Work Honeycomb seals are machined with individual chambers that create the pressure drop needed to slow leakage. Engine seal honeycomb turbines are part of the manufacturer’s design strategy to achieve and control proper levels of compression throughout the engines or turbines. The sealing of a rub system depends on more than just the size and geometry of the clearance gap. Honeycomb. How Do Honeycomb Seals Work.
From hexar.com.pl
SEAL Hexar How Do Honeycomb Seals Work The surface structure of the. Honeycomb seals are machined with individual chambers that create the pressure drop needed to slow leakage. Engine seal honeycomb turbines are part of the manufacturer’s design strategy to achieve and control proper levels of compression throughout the engines or turbines. Honeycomb seals for steam turbines. Honeycomb seals have excellent sealing performance, stable dynamic characteristics and. How Do Honeycomb Seals Work.
From hexar.com.pl
SEAL Hexar How Do Honeycomb Seals Work Honeycomb seals have excellent sealing performance, stable dynamic characteristics and a long service life. Offered by us, honeycomb seals allow for a significant reduction of radial clearance of the turbine, and thus ensure reduction of steam. The sealing of a rub system depends on more than just the size and geometry of the clearance gap. Honeycomb seals are machined with. How Do Honeycomb Seals Work.
From www.researchgate.net
Seal domain concepts a) twocell strip over the blade pitch How Do Honeycomb Seals Work The production technology for honeycomb shroud seals involves a series of successive thermal. The sealing of a rub system depends on more than just the size and geometry of the clearance gap. The surface structure of the. Engine seal honeycomb turbines are part of the manufacturer’s design strategy to achieve and control proper levels of compression throughout the engines or. How Do Honeycomb Seals Work.
From 4a8f9fb8b29671a7.en.made-in-china.com
Gas Turbine Seal Turbine Seal Steel Seals and How Do Honeycomb Seals Work Honeycomb seals have excellent sealing performance, stable dynamic characteristics and a long service life. The sealing of a rub system depends on more than just the size and geometry of the clearance gap. The production technology for honeycomb shroud seals involves a series of successive thermal. Honeycomb seals for steam turbines. Honeycomb seals are machined with individual chambers that create. How Do Honeycomb Seals Work.
From newscreds.com
Uses of Seals Centrifugal Compressors NewsCreds How Do Honeycomb Seals Work Offered by us, honeycomb seals allow for a significant reduction of radial clearance of the turbine, and thus ensure reduction of steam. Honeycomb seals are machined with individual chambers that create the pressure drop needed to slow leakage. The sealing of a rub system depends on more than just the size and geometry of the clearance gap. Engine seal honeycomb. How Do Honeycomb Seals Work.
From honeycombprod.com
Services Products How Do Honeycomb Seals Work Honeycomb seals have excellent sealing performance, stable dynamic characteristics and a long service life. Honeycomb seals are machined with individual chambers that create the pressure drop needed to slow leakage. Offered by us, honeycomb seals allow for a significant reduction of radial clearance of the turbine, and thus ensure reduction of steam. The sealing of a rub system depends on. How Do Honeycomb Seals Work.
From hexar.com.pl
SEAL Hexar How Do Honeycomb Seals Work The surface structure of the. Engine seal honeycomb turbines are part of the manufacturer’s design strategy to achieve and control proper levels of compression throughout the engines or turbines. Honeycomb seals for steam turbines. The sealing of a rub system depends on more than just the size and geometry of the clearance gap. Honeycomb seals have excellent sealing performance, stable. How Do Honeycomb Seals Work.
From hexar.com.pl
SEAL Hexar How Do Honeycomb Seals Work Honeycomb seals have excellent sealing performance, stable dynamic characteristics and a long service life. Offered by us, honeycomb seals allow for a significant reduction of radial clearance of the turbine, and thus ensure reduction of steam. The surface structure of the. Honeycomb seals are machined with individual chambers that create the pressure drop needed to slow leakage. Engine seal honeycomb. How Do Honeycomb Seals Work.
From www.fluidscdynamics.com
Successful Story — Fluid Science Dynamics How Do Honeycomb Seals Work Honeycomb seals are machined with individual chambers that create the pressure drop needed to slow leakage. The sealing of a rub system depends on more than just the size and geometry of the clearance gap. Offered by us, honeycomb seals allow for a significant reduction of radial clearance of the turbine, and thus ensure reduction of steam. The production technology. How Do Honeycomb Seals Work.