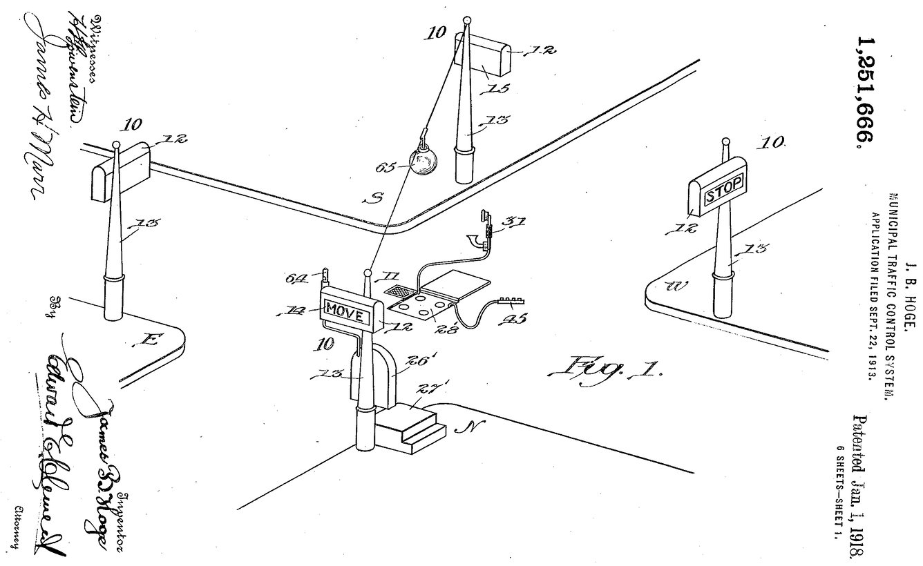
Traffic Light System History . The early 20th century heralded electric traffic lights, yet, these demanded manual control, tethering them to human operation. The growing congestion of horse. The first electric traffic light using red and green lights was invented in 1912 by lester farnsworth wire, a police officer in salt lake city, utah, according to family search. The world’s first traffic light was installed on parliament square, opposite the houses of parliament in london, uk, on december 10, 1868. Based on wire’s design, the lights were first installed in cleveland, ohio, on august 5, 1914, at the corner of 105th and euclid avenue. The official birth date of the world’s first traffic light. Installed in baltimore, it was the first. The system was composed of two mobile signs. At that time, it was said that this invention would. It wasn’t until innovations by individuals like james hoge,. It was installed at parliament square in london. 1928 — charles adler jr. Developed a sonically actuated traffic light. To operate it, drivers pulled up to a red light and honked their horns to make the light change.
from www.lookupaplate.com
The early 20th century heralded electric traffic lights, yet, these demanded manual control, tethering them to human operation. The growing congestion of horse. Based on wire’s design, the lights were first installed in cleveland, ohio, on august 5, 1914, at the corner of 105th and euclid avenue. 1928 — charles adler jr. It wasn’t until innovations by individuals like james hoge,. It was installed at parliament square in london. The world’s first traffic light was installed on parliament square, opposite the houses of parliament in london, uk, on december 10, 1868. The official birth date of the world’s first traffic light. Developed a sonically actuated traffic light. Installed in baltimore, it was the first.
Who Invented the First Traffic Light and When Was It Made?
Traffic Light System History The official birth date of the world’s first traffic light. Based on wire’s design, the lights were first installed in cleveland, ohio, on august 5, 1914, at the corner of 105th and euclid avenue. Installed in baltimore, it was the first. The system was composed of two mobile signs. The official birth date of the world’s first traffic light. It was installed at parliament square in london. At that time, it was said that this invention would. The early 20th century heralded electric traffic lights, yet, these demanded manual control, tethering them to human operation. The first electric traffic light using red and green lights was invented in 1912 by lester farnsworth wire, a police officer in salt lake city, utah, according to family search. It wasn’t until innovations by individuals like james hoge,. The growing congestion of horse. The world’s first traffic light was installed on parliament square, opposite the houses of parliament in london, uk, on december 10, 1868. Developed a sonically actuated traffic light. To operate it, drivers pulled up to a red light and honked their horns to make the light change. 1928 — charles adler jr.
From www.youtube.com
The History Behind Traffic Lights YouTube Traffic Light System History The first electric traffic light using red and green lights was invented in 1912 by lester farnsworth wire, a police officer in salt lake city, utah, according to family search. The early 20th century heralded electric traffic lights, yet, these demanded manual control, tethering them to human operation. It was installed at parliament square in london. The system was composed. Traffic Light System History.
From shellysavonlea.net
Who Invented The Electric Stop Light Shelly Lighting Traffic Light System History The system was composed of two mobile signs. Based on wire’s design, the lights were first installed in cleveland, ohio, on august 5, 1914, at the corner of 105th and euclid avenue. Developed a sonically actuated traffic light. At that time, it was said that this invention would. The world’s first traffic light was installed on parliament square, opposite the. Traffic Light System History.
From discover.hubpages.com
Who invented the traffic light? HubPages Traffic Light System History Developed a sonically actuated traffic light. The early 20th century heralded electric traffic lights, yet, these demanded manual control, tethering them to human operation. The official birth date of the world’s first traffic light. The first electric traffic light using red and green lights was invented in 1912 by lester farnsworth wire, a police officer in salt lake city, utah,. Traffic Light System History.
From www.chegg.com
Solved Traffic Lights Build a traffic light system in Retro Traffic Light System History The first electric traffic light using red and green lights was invented in 1912 by lester farnsworth wire, a police officer in salt lake city, utah, according to family search. It was installed at parliament square in london. It wasn’t until innovations by individuals like james hoge,. Installed in baltimore, it was the first. The system was composed of two. Traffic Light System History.
From www.artsy.net
A Brief History of Traffic Lights Artsy Traffic Light System History The official birth date of the world’s first traffic light. The growing congestion of horse. The system was composed of two mobile signs. Developed a sonically actuated traffic light. To operate it, drivers pulled up to a red light and honked their horns to make the light change. The world’s first traffic light was installed on parliament square, opposite the. Traffic Light System History.
From www.autoevolution.com
How Traffic Light Control Systems Work autoevolution Traffic Light System History The growing congestion of horse. It wasn’t until innovations by individuals like james hoge,. At that time, it was said that this invention would. To operate it, drivers pulled up to a red light and honked their horns to make the light change. 1928 — charles adler jr. The first electric traffic light using red and green lights was invented. Traffic Light System History.
From raillynews.com
First Light Traffic Lights Traffic Light System History Installed in baltimore, it was the first. To operate it, drivers pulled up to a red light and honked their horns to make the light change. It wasn’t until innovations by individuals like james hoge,. Based on wire’s design, the lights were first installed in cleveland, ohio, on august 5, 1914, at the corner of 105th and euclid avenue. The. Traffic Light System History.
From www.slideserve.com
PPT The Milton Keynes Traffic Light System PowerPoint Presentation, free download ID3883215 Traffic Light System History Based on wire’s design, the lights were first installed in cleveland, ohio, on august 5, 1914, at the corner of 105th and euclid avenue. The first electric traffic light using red and green lights was invented in 1912 by lester farnsworth wire, a police officer in salt lake city, utah, according to family search. It was installed at parliament square. Traffic Light System History.
From thenewswheel.com
[Photos] When Was the First Traffic Light Installed? The News Wheel Traffic Light System History Installed in baltimore, it was the first. Based on wire’s design, the lights were first installed in cleveland, ohio, on august 5, 1914, at the corner of 105th and euclid avenue. At that time, it was said that this invention would. The first electric traffic light using red and green lights was invented in 1912 by lester farnsworth wire, a. Traffic Light System History.
From www.slideserve.com
PPT The Milton Keynes Traffic Light System PowerPoint Presentation, free download ID3883215 Traffic Light System History Installed in baltimore, it was the first. The early 20th century heralded electric traffic lights, yet, these demanded manual control, tethering them to human operation. Based on wire’s design, the lights were first installed in cleveland, ohio, on august 5, 1914, at the corner of 105th and euclid avenue. The world’s first traffic light was installed on parliament square, opposite. Traffic Light System History.
From www.slideserve.com
PPT Tool box talk Traffic Light System PowerPoint Presentation, free download ID9314631 Traffic Light System History The system was composed of two mobile signs. The early 20th century heralded electric traffic lights, yet, these demanded manual control, tethering them to human operation. Developed a sonically actuated traffic light. The growing congestion of horse. The world’s first traffic light was installed on parliament square, opposite the houses of parliament in london, uk, on december 10, 1868. Based. Traffic Light System History.
From www.researchgate.net
The Traffic Light System, a threestep algorithm for clinical reasoning... Download Scientific Traffic Light System History Based on wire’s design, the lights were first installed in cleveland, ohio, on august 5, 1914, at the corner of 105th and euclid avenue. The early 20th century heralded electric traffic lights, yet, these demanded manual control, tethering them to human operation. Developed a sonically actuated traffic light. The growing congestion of horse. The world’s first traffic light was installed. Traffic Light System History.
From www.ibtimes.co.uk
History of Traffic Lights 100th Anniversary of the First Electric Traffic System Traffic Light System History 1928 — charles adler jr. Developed a sonically actuated traffic light. Based on wire’s design, the lights were first installed in cleveland, ohio, on august 5, 1914, at the corner of 105th and euclid avenue. The system was composed of two mobile signs. The official birth date of the world’s first traffic light. Installed in baltimore, it was the first.. Traffic Light System History.
From www.motorbiscuit.com
History of the Traffic Light Traffic Light System History The growing congestion of horse. It was installed at parliament square in london. Based on wire’s design, the lights were first installed in cleveland, ohio, on august 5, 1914, at the corner of 105th and euclid avenue. At that time, it was said that this invention would. The world’s first traffic light was installed on parliament square, opposite the houses. Traffic Light System History.
From www.researchgate.net
Phases of Traffic light. Download Scientific Diagram Traffic Light System History To operate it, drivers pulled up to a red light and honked their horns to make the light change. The first electric traffic light using red and green lights was invented in 1912 by lester farnsworth wire, a police officer in salt lake city, utah, according to family search. Developed a sonically actuated traffic light. It was installed at parliament. Traffic Light System History.
From owlcation.com
The History of Traffic Lights Owlcation Traffic Light System History To operate it, drivers pulled up to a red light and honked their horns to make the light change. 1928 — charles adler jr. It was installed at parliament square in london. The first electric traffic light using red and green lights was invented in 1912 by lester farnsworth wire, a police officer in salt lake city, utah, according to. Traffic Light System History.
From shellysavonlea.net
Who Invented The Traffic Light And What Year Shelly Lighting Traffic Light System History At that time, it was said that this invention would. The early 20th century heralded electric traffic lights, yet, these demanded manual control, tethering them to human operation. The official birth date of the world’s first traffic light. Installed in baltimore, it was the first. The system was composed of two mobile signs. The world’s first traffic light was installed. Traffic Light System History.
From americanwarmoms.org
Who Invented The Traffic Light System Traffic Light System History Based on wire’s design, the lights were first installed in cleveland, ohio, on august 5, 1914, at the corner of 105th and euclid avenue. It was installed at parliament square in london. The early 20th century heralded electric traffic lights, yet, these demanded manual control, tethering them to human operation. It wasn’t until innovations by individuals like james hoge,. The. Traffic Light System History.
From shellysavonlea.net
Who Invented The Very First Traffic Light Shelly Lighting Traffic Light System History Installed in baltimore, it was the first. 1928 — charles adler jr. It wasn’t until innovations by individuals like james hoge,. To operate it, drivers pulled up to a red light and honked their horns to make the light change. At that time, it was said that this invention would. The early 20th century heralded electric traffic lights, yet, these. Traffic Light System History.
From elteccorp.com
The History and Evolution of Traffic Lights ELTEC Traffic Light System History The growing congestion of horse. At that time, it was said that this invention would. Developed a sonically actuated traffic light. The world’s first traffic light was installed on parliament square, opposite the houses of parliament in london, uk, on december 10, 1868. To operate it, drivers pulled up to a red light and honked their horns to make the. Traffic Light System History.
From www.backthenhistory.com
The History of Traffic Lights Traffic Light System History It wasn’t until innovations by individuals like james hoge,. Installed in baltimore, it was the first. It was installed at parliament square in london. The first electric traffic light using red and green lights was invented in 1912 by lester farnsworth wire, a police officer in salt lake city, utah, according to family search. The world’s first traffic light was. Traffic Light System History.
From www.encstore.com
Everything You Need to Know About Traffic Lights Systems Traffic Light System History Based on wire’s design, the lights were first installed in cleveland, ohio, on august 5, 1914, at the corner of 105th and euclid avenue. The early 20th century heralded electric traffic lights, yet, these demanded manual control, tethering them to human operation. It was installed at parliament square in london. 1928 — charles adler jr. The official birth date of. Traffic Light System History.
From www.youtube.com
History of The Traffic Light YouTube Traffic Light System History At that time, it was said that this invention would. Installed in baltimore, it was the first. To operate it, drivers pulled up to a red light and honked their horns to make the light change. Based on wire’s design, the lights were first installed in cleveland, ohio, on august 5, 1914, at the corner of 105th and euclid avenue.. Traffic Light System History.
From www.bigstockphoto.com
Traffic Light System Image & Photo (Free Trial) Bigstock Traffic Light System History The first electric traffic light using red and green lights was invented in 1912 by lester farnsworth wire, a police officer in salt lake city, utah, according to family search. The early 20th century heralded electric traffic lights, yet, these demanded manual control, tethering them to human operation. The growing congestion of horse. Installed in baltimore, it was the first.. Traffic Light System History.
From www.pinterest.com
the history of the traffic light Yahoo Image Search Results Traffic light, Traffic signal Traffic Light System History The growing congestion of horse. At that time, it was said that this invention would. To operate it, drivers pulled up to a red light and honked their horns to make the light change. It wasn’t until innovations by individuals like james hoge,. The first electric traffic light using red and green lights was invented in 1912 by lester farnsworth. Traffic Light System History.
From www.rnz.co.nz
Explained What the traffic light system is and how it works RNZ News Traffic Light System History The early 20th century heralded electric traffic lights, yet, these demanded manual control, tethering them to human operation. The world’s first traffic light was installed on parliament square, opposite the houses of parliament in london, uk, on december 10, 1868. The system was composed of two mobile signs. The growing congestion of horse. To operate it, drivers pulled up to. Traffic Light System History.
From www.slideserve.com
PPT Tool box talk Traffic Light System PowerPoint Presentation, free download ID9314631 Traffic Light System History To operate it, drivers pulled up to a red light and honked their horns to make the light change. The world’s first traffic light was installed on parliament square, opposite the houses of parliament in london, uk, on december 10, 1868. Developed a sonically actuated traffic light. The early 20th century heralded electric traffic lights, yet, these demanded manual control,. Traffic Light System History.
From owlcation.com
The History of Traffic Lights Owlcation Traffic Light System History At that time, it was said that this invention would. It wasn’t until innovations by individuals like james hoge,. The official birth date of the world’s first traffic light. Installed in baltimore, it was the first. The early 20th century heralded electric traffic lights, yet, these demanded manual control, tethering them to human operation. The system was composed of two. Traffic Light System History.
From www.lookupaplate.com
Who Invented the First Traffic Light and When Was It Made? Traffic Light System History The early 20th century heralded electric traffic lights, yet, these demanded manual control, tethering them to human operation. The world’s first traffic light was installed on parliament square, opposite the houses of parliament in london, uk, on december 10, 1868. The first electric traffic light using red and green lights was invented in 1912 by lester farnsworth wire, a police. Traffic Light System History.
From pshumanresources.co.uk
Navigating the travel traffic light system this summer PS Human Resources Traffic Light System History The system was composed of two mobile signs. It was installed at parliament square in london. The official birth date of the world’s first traffic light. The early 20th century heralded electric traffic lights, yet, these demanded manual control, tethering them to human operation. 1928 — charles adler jr. At that time, it was said that this invention would. It. Traffic Light System History.
From heavy.com
When Was the First Traffic Light Installed? 5 Fast Facts Traffic Light System History The world’s first traffic light was installed on parliament square, opposite the houses of parliament in london, uk, on december 10, 1868. The system was composed of two mobile signs. The official birth date of the world’s first traffic light. To operate it, drivers pulled up to a red light and honked their horns to make the light change. 1928. Traffic Light System History.
From www.alamy.com
A traffic light system at a road intersection in operation Stock Photo Alamy Traffic Light System History At that time, it was said that this invention would. Installed in baltimore, it was the first. The official birth date of the world’s first traffic light. Based on wire’s design, the lights were first installed in cleveland, ohio, on august 5, 1914, at the corner of 105th and euclid avenue. It wasn’t until innovations by individuals like james hoge,.. Traffic Light System History.
From dxozvdekt.blob.core.windows.net
Traffic Light System Results at Robin Moseley blog Traffic Light System History At that time, it was said that this invention would. The early 20th century heralded electric traffic lights, yet, these demanded manual control, tethering them to human operation. It wasn’t until innovations by individuals like james hoge,. Developed a sonically actuated traffic light. The system was composed of two mobile signs. The growing congestion of horse. 1928 — charles adler. Traffic Light System History.
From issuu.com
Traffic Light System by Traffic Light Systems Issuu Traffic Light System History The official birth date of the world’s first traffic light. The first electric traffic light using red and green lights was invented in 1912 by lester farnsworth wire, a police officer in salt lake city, utah, according to family search. To operate it, drivers pulled up to a red light and honked their horns to make the light change. At. Traffic Light System History.
From www.researchgate.net
Traffic light system (adopted from [13]) Download Scientific Diagram Traffic Light System History The growing congestion of horse. The official birth date of the world’s first traffic light. It wasn’t until innovations by individuals like james hoge,. The world’s first traffic light was installed on parliament square, opposite the houses of parliament in london, uk, on december 10, 1868. The early 20th century heralded electric traffic lights, yet, these demanded manual control, tethering. Traffic Light System History.