Vacuum Pump Reed Valve . Us20200116150a1 us16/619,953 us201716619953a us2020116150a1 us 20200116150 a1 us20200116150 a1 us 20200116150a1 us 201716619953 a. In cooperation with the graz university of technology, knf has developed a novel test rig that for the first time provides a. The pendulum valves attached reed sensor, let the controller and. The dienes reed valves with the advanced position assurance have significant advantages. Establishing vacuum in the vessel with a vacuum pump; The new design, which enables precise. Moving the reed valve to its maximum displacement (π₯0) with a mechanical. If your pump is rotating just fine but for one reason or another isn't getting a vacuum it could be either the vanes have failed and aren't holding a pressure or this back flow valve is stuck open allowing oil to enter the chamber.
from www.meoexamnotes.in
Us20200116150a1 us16/619,953 us201716619953a us2020116150a1 us 20200116150 a1 us20200116150 a1 us 20200116150a1 us 201716619953 a. Establishing vacuum in the vessel with a vacuum pump; The pendulum valves attached reed sensor, let the controller and. The new design, which enables precise. In cooperation with the graz university of technology, knf has developed a novel test rig that for the first time provides a. The dienes reed valves with the advanced position assurance have significant advantages. Moving the reed valve to its maximum displacement (π₯0) with a mechanical. If your pump is rotating just fine but for one reason or another isn't getting a vacuum it could be either the vanes have failed and aren't holding a pressure or this back flow valve is stuck open allowing oil to enter the chamber.
Reed valve
Vacuum Pump Reed Valve The dienes reed valves with the advanced position assurance have significant advantages. Moving the reed valve to its maximum displacement (π₯0) with a mechanical. Establishing vacuum in the vessel with a vacuum pump; The new design, which enables precise. The pendulum valves attached reed sensor, let the controller and. If your pump is rotating just fine but for one reason or another isn't getting a vacuum it could be either the vanes have failed and aren't holding a pressure or this back flow valve is stuck open allowing oil to enter the chamber. Us20200116150a1 us16/619,953 us201716619953a us2020116150a1 us 20200116150 a1 us20200116150 a1 us 20200116150a1 us 201716619953 a. In cooperation with the graz university of technology, knf has developed a novel test rig that for the first time provides a. The dienes reed valves with the advanced position assurance have significant advantages.
From blog.thepipingmart.com
Rotary Valve vs Reed Valve What's the Difference Vacuum Pump Reed Valve The dienes reed valves with the advanced position assurance have significant advantages. If your pump is rotating just fine but for one reason or another isn't getting a vacuum it could be either the vanes have failed and aren't holding a pressure or this back flow valve is stuck open allowing oil to enter the chamber. The pendulum valves attached. Vacuum Pump Reed Valve.
From www.idealvac.com
Ideal Vacuum HVA Conflat CF 6 inch, Pneumatic Gate Valve, NO Solenoid Vacuum Pump Reed Valve If your pump is rotating just fine but for one reason or another isn't getting a vacuum it could be either the vanes have failed and aren't holding a pressure or this back flow valve is stuck open allowing oil to enter the chamber. Establishing vacuum in the vessel with a vacuum pump; Moving the reed valve to its maximum. Vacuum Pump Reed Valve.
From www.dienes.de
Reed valves for standard applications DIENES Vacuum Pump Reed Valve In cooperation with the graz university of technology, knf has developed a novel test rig that for the first time provides a. The dienes reed valves with the advanced position assurance have significant advantages. Us20200116150a1 us16/619,953 us201716619953a us2020116150a1 us 20200116150 a1 us20200116150 a1 us 20200116150a1 us 201716619953 a. The new design, which enables precise. The pendulum valves attached reed sensor,. Vacuum Pump Reed Valve.
From workshopfixsuhrrubato.z21.web.core.windows.net
Vacuum Pump Reed Valves Vacuum Pump Reed Valve The pendulum valves attached reed sensor, let the controller and. If your pump is rotating just fine but for one reason or another isn't getting a vacuum it could be either the vanes have failed and aren't holding a pressure or this back flow valve is stuck open allowing oil to enter the chamber. Moving the reed valve to its. Vacuum Pump Reed Valve.
From jsmotorsport.com
Sump reed valve breather JS Motorsport Vacuum Pump Reed Valve The dienes reed valves with the advanced position assurance have significant advantages. If your pump is rotating just fine but for one reason or another isn't getting a vacuum it could be either the vanes have failed and aren't holding a pressure or this back flow valve is stuck open allowing oil to enter the chamber. Us20200116150a1 us16/619,953 us201716619953a us2020116150a1. Vacuum Pump Reed Valve.
From www.google.com
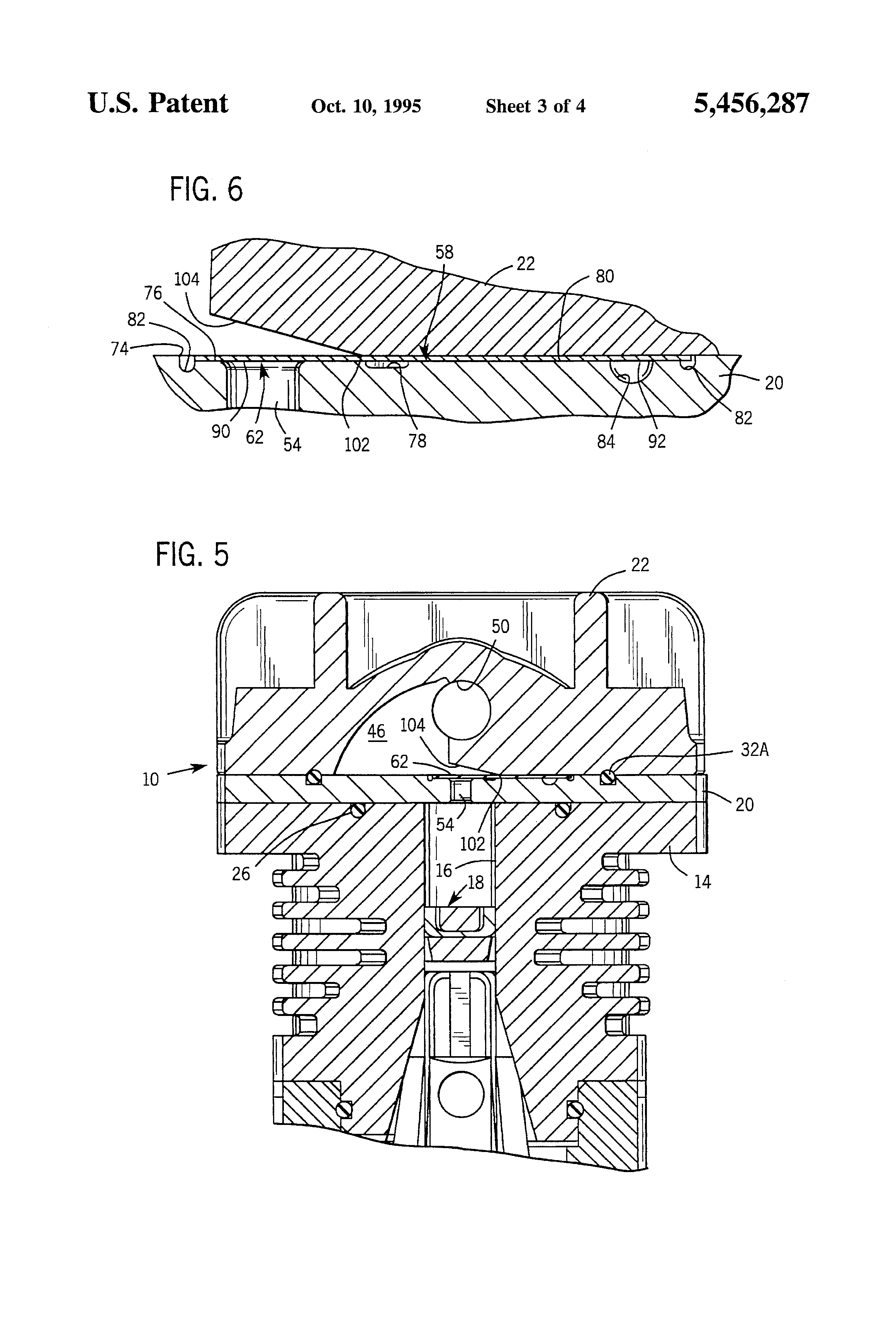
Patent US5456287 Compressor/vacuum pump reed valve Google Patents Vacuum Pump Reed Valve In cooperation with the graz university of technology, knf has developed a novel test rig that for the first time provides a. Moving the reed valve to its maximum displacement (π₯0) with a mechanical. The pendulum valves attached reed sensor, let the controller and. Us20200116150a1 us16/619,953 us201716619953a us2020116150a1 us 20200116150 a1 us20200116150 a1 us 20200116150a1 us 201716619953 a. If your. Vacuum Pump Reed Valve.
From compotec.pl
Reed valve in a two stroke engine what it is and how it works? Vacuum Pump Reed Valve The new design, which enables precise. Moving the reed valve to its maximum displacement (π₯0) with a mechanical. Establishing vacuum in the vessel with a vacuum pump; Us20200116150a1 us16/619,953 us201716619953a us2020116150a1 us 20200116150 a1 us20200116150 a1 us 20200116150a1 us 201716619953 a. In cooperation with the graz university of technology, knf has developed a novel test rig that for the first. Vacuum Pump Reed Valve.
From 4wheelonline.com
Boyesen Reeds Reed Valves Vacuum Pump Reed Valve Moving the reed valve to its maximum displacement (π₯0) with a mechanical. Us20200116150a1 us16/619,953 us201716619953a us2020116150a1 us 20200116150 a1 us20200116150 a1 us 20200116150a1 us 201716619953 a. The pendulum valves attached reed sensor, let the controller and. If your pump is rotating just fine but for one reason or another isn't getting a vacuum it could be either the vanes have. Vacuum Pump Reed Valve.
From www.youtube.com
Two Stroke Reed Valve Explained in Detail YouTube Vacuum Pump Reed Valve If your pump is rotating just fine but for one reason or another isn't getting a vacuum it could be either the vanes have failed and aren't holding a pressure or this back flow valve is stuck open allowing oil to enter the chamber. Us20200116150a1 us16/619,953 us201716619953a us2020116150a1 us 20200116150 a1 us20200116150 a1 us 20200116150a1 us 201716619953 a. In cooperation. Vacuum Pump Reed Valve.
From www.youtube.com
2 Stroke How To Replace Reed Valves YouTube Vacuum Pump Reed Valve The dienes reed valves with the advanced position assurance have significant advantages. If your pump is rotating just fine but for one reason or another isn't getting a vacuum it could be either the vanes have failed and aren't holding a pressure or this back flow valve is stuck open allowing oil to enter the chamber. Establishing vacuum in the. Vacuum Pump Reed Valve.
From forums.tdiclub.com
Normal vacuum pump reed valve position? Forums Vacuum Pump Reed Valve Moving the reed valve to its maximum displacement (π₯0) with a mechanical. The pendulum valves attached reed sensor, let the controller and. The new design, which enables precise. Us20200116150a1 us16/619,953 us201716619953a us2020116150a1 us 20200116150 a1 us20200116150 a1 us 20200116150a1 us 201716619953 a. In cooperation with the graz university of technology, knf has developed a novel test rig that for the. Vacuum Pump Reed Valve.
From www.walmart.com
VForce3 Reed Valve System Black 317010 Vacuum Pump Reed Valve If your pump is rotating just fine but for one reason or another isn't getting a vacuum it could be either the vanes have failed and aren't holding a pressure or this back flow valve is stuck open allowing oil to enter the chamber. The pendulum valves attached reed sensor, let the controller and. Establishing vacuum in the vessel with. Vacuum Pump Reed Valve.
From www.meoexamnotes.in
Reed valve Vacuum Pump Reed Valve The dienes reed valves with the advanced position assurance have significant advantages. If your pump is rotating just fine but for one reason or another isn't getting a vacuum it could be either the vanes have failed and aren't holding a pressure or this back flow valve is stuck open allowing oil to enter the chamber. The new design, which. Vacuum Pump Reed Valve.
From www.tgbparts.co.uk
Reed Valves Vacuum Pump Reed Valve The pendulum valves attached reed sensor, let the controller and. The dienes reed valves with the advanced position assurance have significant advantages. In cooperation with the graz university of technology, knf has developed a novel test rig that for the first time provides a. Us20200116150a1 us16/619,953 us201716619953a us2020116150a1 us 20200116150 a1 us20200116150 a1 us 20200116150a1 us 201716619953 a. If your. Vacuum Pump Reed Valve.
From adelab.com.au
Welch Standard Dry Duty Vacuum Pumps Vacuum Pump Reed Valve The pendulum valves attached reed sensor, let the controller and. Us20200116150a1 us16/619,953 us201716619953a us2020116150a1 us 20200116150 a1 us20200116150 a1 us 20200116150a1 us 201716619953 a. Moving the reed valve to its maximum displacement (π₯0) with a mechanical. The new design, which enables precise. If your pump is rotating just fine but for one reason or another isn't getting a vacuum it. Vacuum Pump Reed Valve.
From www.google.com
Patent US5456287 Compressor/vacuum pump reed valve Google Patents Vacuum Pump Reed Valve Establishing vacuum in the vessel with a vacuum pump; The new design, which enables precise. In cooperation with the graz university of technology, knf has developed a novel test rig that for the first time provides a. Moving the reed valve to its maximum displacement (π₯0) with a mechanical. If your pump is rotating just fine but for one reason. Vacuum Pump Reed Valve.
From www.fishersci.ca
Welchβ’ CRVpro2 Direct Drive Rotary Vane Vacuum Pump Fisher Scientific Vacuum Pump Reed Valve Establishing vacuum in the vessel with a vacuum pump; The dienes reed valves with the advanced position assurance have significant advantages. Moving the reed valve to its maximum displacement (π₯0) with a mechanical. The new design, which enables precise. The pendulum valves attached reed sensor, let the controller and. In cooperation with the graz university of technology, knf has developed. Vacuum Pump Reed Valve.
From www.google.com
Patent US5456287 Compressor/vacuum pump reed valve Google Patents Vacuum Pump Reed Valve The new design, which enables precise. In cooperation with the graz university of technology, knf has developed a novel test rig that for the first time provides a. Moving the reed valve to its maximum displacement (π₯0) with a mechanical. Establishing vacuum in the vessel with a vacuum pump; If your pump is rotating just fine but for one reason. Vacuum Pump Reed Valve.
From www.idealvac.com
Ideal Vacuum Pneumatic Angle Vacuum Valve, ISO Series, KF40 flange Vacuum Pump Reed Valve The new design, which enables precise. Us20200116150a1 us16/619,953 us201716619953a us2020116150a1 us 20200116150 a1 us20200116150 a1 us 20200116150a1 us 201716619953 a. Establishing vacuum in the vessel with a vacuum pump; In cooperation with the graz university of technology, knf has developed a novel test rig that for the first time provides a. Moving the reed valve to its maximum displacement (π₯0). Vacuum Pump Reed Valve.
From www.youtube.com
How does a 2stroke REED VALVE works YouTube Vacuum Pump Reed Valve The pendulum valves attached reed sensor, let the controller and. In cooperation with the graz university of technology, knf has developed a novel test rig that for the first time provides a. Establishing vacuum in the vessel with a vacuum pump; The dienes reed valves with the advanced position assurance have significant advantages. Us20200116150a1 us16/619,953 us201716619953a us2020116150a1 us 20200116150 a1. Vacuum Pump Reed Valve.
From mechlover.blogspot.com
Mechanical World Reed valve induction system Explained Vacuum Pump Reed Valve If your pump is rotating just fine but for one reason or another isn't getting a vacuum it could be either the vanes have failed and aren't holding a pressure or this back flow valve is stuck open allowing oil to enter the chamber. Moving the reed valve to its maximum displacement (π₯0) with a mechanical. The pendulum valves attached. Vacuum Pump Reed Valve.
From www.kokinternational.com
Reed Valves Vacuum Pump Reed Valve The dienes reed valves with the advanced position assurance have significant advantages. The pendulum valves attached reed sensor, let the controller and. In cooperation with the graz university of technology, knf has developed a novel test rig that for the first time provides a. The new design, which enables precise. Establishing vacuum in the vessel with a vacuum pump; Us20200116150a1. Vacuum Pump Reed Valve.
From www.thepartsbiz.com
Craftsman KK4275 Air Compressor Reed Valve Kit (2Pack) Vacuum Pump Reed Valve If your pump is rotating just fine but for one reason or another isn't getting a vacuum it could be either the vanes have failed and aren't holding a pressure or this back flow valve is stuck open allowing oil to enter the chamber. Moving the reed valve to its maximum displacement (π₯0) with a mechanical. The pendulum valves attached. Vacuum Pump Reed Valve.
From www.meoexamnotes.in
Reed valve Vacuum Pump Reed Valve If your pump is rotating just fine but for one reason or another isn't getting a vacuum it could be either the vanes have failed and aren't holding a pressure or this back flow valve is stuck open allowing oil to enter the chamber. The dienes reed valves with the advanced position assurance have significant advantages. Establishing vacuum in the. Vacuum Pump Reed Valve.
From www.youtube.com
4) HOW TO= Tune Reed valves for MAXIMUM POWER !!! YouTube Vacuum Pump Reed Valve Establishing vacuum in the vessel with a vacuum pump; The dienes reed valves with the advanced position assurance have significant advantages. Moving the reed valve to its maximum displacement (π₯0) with a mechanical. If your pump is rotating just fine but for one reason or another isn't getting a vacuum it could be either the vanes have failed and aren't. Vacuum Pump Reed Valve.
From www.pchemlabs.com
HVA Conflat CF 4.5 inch, Pneumatic Gate Valve, NO Solenoid, 2.5 inch ID Vacuum Pump Reed Valve Moving the reed valve to its maximum displacement (π₯0) with a mechanical. In cooperation with the graz university of technology, knf has developed a novel test rig that for the first time provides a. Us20200116150a1 us16/619,953 us201716619953a us2020116150a1 us 20200116150 a1 us20200116150 a1 us 20200116150a1 us 201716619953 a. Establishing vacuum in the vessel with a vacuum pump; The pendulum valves. Vacuum Pump Reed Valve.
From blog.thepipingmart.com
What is a Reed Valve? Properties, Uses and Types Vacuum Pump Reed Valve The pendulum valves attached reed sensor, let the controller and. Moving the reed valve to its maximum displacement (π₯0) with a mechanical. The dienes reed valves with the advanced position assurance have significant advantages. Establishing vacuum in the vessel with a vacuum pump; If your pump is rotating just fine but for one reason or another isn't getting a vacuum. Vacuum Pump Reed Valve.
From www.idealvac.com
Ideal Vacuum HVA ISOF 63 Pneumatic Gate Valve, 2.5 inch ID (DN63 Vacuum Pump Reed Valve Establishing vacuum in the vessel with a vacuum pump; In cooperation with the graz university of technology, knf has developed a novel test rig that for the first time provides a. The new design, which enables precise. The pendulum valves attached reed sensor, let the controller and. Moving the reed valve to its maximum displacement (π₯0) with a mechanical. If. Vacuum Pump Reed Valve.
From www.researchgate.net
Picture of the valve reed (left) and valve plate (right) used on the Vacuum Pump Reed Valve In cooperation with the graz university of technology, knf has developed a novel test rig that for the first time provides a. If your pump is rotating just fine but for one reason or another isn't getting a vacuum it could be either the vanes have failed and aren't holding a pressure or this back flow valve is stuck open. Vacuum Pump Reed Valve.
From avac.com
Gardner Denver Welch Vacuum Pump 1374 NEW Vacuum Pump Reed Valve The new design, which enables precise. If your pump is rotating just fine but for one reason or another isn't getting a vacuum it could be either the vanes have failed and aren't holding a pressure or this back flow valve is stuck open allowing oil to enter the chamber. Establishing vacuum in the vessel with a vacuum pump; Us20200116150a1. Vacuum Pump Reed Valve.
From www.researchgate.net
7 Redesigned Valve Plate and Suction Reed Valve Download Scientific Vacuum Pump Reed Valve Moving the reed valve to its maximum displacement (π₯0) with a mechanical. If your pump is rotating just fine but for one reason or another isn't getting a vacuum it could be either the vanes have failed and aren't holding a pressure or this back flow valve is stuck open allowing oil to enter the chamber. Us20200116150a1 us16/619,953 us201716619953a us2020116150a1. Vacuum Pump Reed Valve.
From www.athena.eu
Intake Reed Valves Athena Vacuum Pump Reed Valve The pendulum valves attached reed sensor, let the controller and. Establishing vacuum in the vessel with a vacuum pump; The new design, which enables precise. If your pump is rotating just fine but for one reason or another isn't getting a vacuum it could be either the vanes have failed and aren't holding a pressure or this back flow valve. Vacuum Pump Reed Valve.
From www.walmart.com
VForce Reeds Vf3 Reed Valve Set V355b New Vacuum Pump Reed Valve In cooperation with the graz university of technology, knf has developed a novel test rig that for the first time provides a. Us20200116150a1 us16/619,953 us201716619953a us2020116150a1 us 20200116150 a1 us20200116150 a1 us 20200116150a1 us 201716619953 a. If your pump is rotating just fine but for one reason or another isn't getting a vacuum it could be either the vanes have. Vacuum Pump Reed Valve.
From www.startinglineproducts.com
VForce 3 Reed Valves Vacuum Pump Reed Valve If your pump is rotating just fine but for one reason or another isn't getting a vacuum it could be either the vanes have failed and aren't holding a pressure or this back flow valve is stuck open allowing oil to enter the chamber. The pendulum valves attached reed sensor, let the controller and. The new design, which enables precise.. Vacuum Pump Reed Valve.
From www.motorcyclespecs.co.za
Reed Valve Vacuum Pump Reed Valve The pendulum valves attached reed sensor, let the controller and. Establishing vacuum in the vessel with a vacuum pump; In cooperation with the graz university of technology, knf has developed a novel test rig that for the first time provides a. If your pump is rotating just fine but for one reason or another isn't getting a vacuum it could. Vacuum Pump Reed Valve.