Roll Off Trailer Parts Diagram . compare trailers before you buy, see spec sheets for base models or download an owners manual for the trailer you already. benlee roll off trailer operations manual. roll off truck, roll off trailer, dump, lugger parts. 30383 ecorse rd, romulus, mi 48174. simply use the build sheet that you received in your final sales packet to identify the detailed trailer components installed on your trailer. We have every roller, tarp, arm,. From wheels and tailgates to casters and lids and.
from www.galbreathproducts.com
simply use the build sheet that you received in your final sales packet to identify the detailed trailer components installed on your trailer. We have every roller, tarp, arm,. roll off truck, roll off trailer, dump, lugger parts. compare trailers before you buy, see spec sheets for base models or download an owners manual for the trailer you already. From wheels and tailgates to casters and lids and. 30383 ecorse rd, romulus, mi 48174. benlee roll off trailer operations manual.
Heavy Duty Specialty RollOff Trailers Galbreath®
Roll Off Trailer Parts Diagram From wheels and tailgates to casters and lids and. From wheels and tailgates to casters and lids and. simply use the build sheet that you received in your final sales packet to identify the detailed trailer components installed on your trailer. compare trailers before you buy, see spec sheets for base models or download an owners manual for the trailer you already. We have every roller, tarp, arm,. 30383 ecorse rd, romulus, mi 48174. roll off truck, roll off trailer, dump, lugger parts. benlee roll off trailer operations manual.
From www.municipalequipmentinc.com
RollOff Equipment Municipal Equipment, Inc. Roll Off Trailer Parts Diagram benlee roll off trailer operations manual. We have every roller, tarp, arm,. roll off truck, roll off trailer, dump, lugger parts. compare trailers before you buy, see spec sheets for base models or download an owners manual for the trailer you already. 30383 ecorse rd, romulus, mi 48174. simply use the build sheet that you received. Roll Off Trailer Parts Diagram.
From www.wastelinecontainers.com
ROLL OFF ENDLESS CHAIN DIAGRAM 11 Wasteline Containers Roll Off Trailer Parts Diagram roll off truck, roll off trailer, dump, lugger parts. 30383 ecorse rd, romulus, mi 48174. simply use the build sheet that you received in your final sales packet to identify the detailed trailer components installed on your trailer. From wheels and tailgates to casters and lids and. compare trailers before you buy, see spec sheets for base. Roll Off Trailer Parts Diagram.
From alastairjae.blogspot.com
jerrdan rollback parts diagram AlastairJae Roll Off Trailer Parts Diagram We have every roller, tarp, arm,. roll off truck, roll off trailer, dump, lugger parts. compare trailers before you buy, see spec sheets for base models or download an owners manual for the trailer you already. 30383 ecorse rd, romulus, mi 48174. benlee roll off trailer operations manual. From wheels and tailgates to casters and lids and.. Roll Off Trailer Parts Diagram.
From elmcitytrailer.com
Rolloff Trailers for Sale in Connecticut at Elm City Trailer. Roll Off Trailer Parts Diagram From wheels and tailgates to casters and lids and. 30383 ecorse rd, romulus, mi 48174. benlee roll off trailer operations manual. simply use the build sheet that you received in your final sales packet to identify the detailed trailer components installed on your trailer. We have every roller, tarp, arm,. compare trailers before you buy, see spec. Roll Off Trailer Parts Diagram.
From www.google.com
Patent US20100303595 Roll off hoist with hinged tail and hydraulic Roll Off Trailer Parts Diagram compare trailers before you buy, see spec sheets for base models or download an owners manual for the trailer you already. benlee roll off trailer operations manual. roll off truck, roll off trailer, dump, lugger parts. 30383 ecorse rd, romulus, mi 48174. From wheels and tailgates to casters and lids and. simply use the build sheet. Roll Off Trailer Parts Diagram.
From trailersdirect.com
Big Tex 14RD RollOff Gooseneck Dump Trailer Trailers Direct in Mount Roll Off Trailer Parts Diagram From wheels and tailgates to casters and lids and. benlee roll off trailer operations manual. 30383 ecorse rd, romulus, mi 48174. compare trailers before you buy, see spec sheets for base models or download an owners manual for the trailer you already. simply use the build sheet that you received in your final sales packet to identify. Roll Off Trailer Parts Diagram.
From www.google.com.au
Patent US8708635 Compact rolloff trailer configurations for Roll Off Trailer Parts Diagram We have every roller, tarp, arm,. simply use the build sheet that you received in your final sales packet to identify the detailed trailer components installed on your trailer. benlee roll off trailer operations manual. compare trailers before you buy, see spec sheets for base models or download an owners manual for the trailer you already. 30383. Roll Off Trailer Parts Diagram.
From krptrailers.com
RPX 17.5K 21K ROLLOFF DUMP TRAILER KRP Trailers For Sale, rent to Roll Off Trailer Parts Diagram We have every roller, tarp, arm,. compare trailers before you buy, see spec sheets for base models or download an owners manual for the trailer you already. From wheels and tailgates to casters and lids and. roll off truck, roll off trailer, dump, lugger parts. 30383 ecorse rd, romulus, mi 48174. simply use the build sheet that. Roll Off Trailer Parts Diagram.
From www.carolinatarps.com
Rack n' Pinion Roll Off Tarp System Pioneer RP4500SARG Adjustable Roll Off Trailer Parts Diagram roll off truck, roll off trailer, dump, lugger parts. simply use the build sheet that you received in your final sales packet to identify the detailed trailer components installed on your trailer. 30383 ecorse rd, romulus, mi 48174. We have every roller, tarp, arm,. benlee roll off trailer operations manual. From wheels and tailgates to casters and. Roll Off Trailer Parts Diagram.
From ahequipment.com
Hook Lift & Roll Off Systems A&H Equipment Roll Off Trailer Parts Diagram We have every roller, tarp, arm,. simply use the build sheet that you received in your final sales packet to identify the detailed trailer components installed on your trailer. compare trailers before you buy, see spec sheets for base models or download an owners manual for the trailer you already. 30383 ecorse rd, romulus, mi 48174. roll. Roll Off Trailer Parts Diagram.
From www.happytrailers.com
PJ 83"x14' GN Roll Off Dump Trailer w/3Bin Package DR Happy Roll Off Trailer Parts Diagram benlee roll off trailer operations manual. simply use the build sheet that you received in your final sales packet to identify the detailed trailer components installed on your trailer. We have every roller, tarp, arm,. From wheels and tailgates to casters and lids and. roll off truck, roll off trailer, dump, lugger parts. compare trailers before. Roll Off Trailer Parts Diagram.
From www.municipalequipmentinc.com
Galbreath Heavy Duty RollOff Pup Trailer (TT) Municipal Equipment, Inc. Roll Off Trailer Parts Diagram simply use the build sheet that you received in your final sales packet to identify the detailed trailer components installed on your trailer. roll off truck, roll off trailer, dump, lugger parts. From wheels and tailgates to casters and lids and. We have every roller, tarp, arm,. compare trailers before you buy, see spec sheets for base. Roll Off Trailer Parts Diagram.
From www.galbreathproducts.com
Heavy Duty Specialty RollOff Trailers Galbreath® Roll Off Trailer Parts Diagram roll off truck, roll off trailer, dump, lugger parts. simply use the build sheet that you received in your final sales packet to identify the detailed trailer components installed on your trailer. compare trailers before you buy, see spec sheets for base models or download an owners manual for the trailer you already. benlee roll off. Roll Off Trailer Parts Diagram.
From www.galbreathproducts.com
Heavy Duty Specialty RollOff Trailers Galbreath® Roll Off Trailer Parts Diagram roll off truck, roll off trailer, dump, lugger parts. From wheels and tailgates to casters and lids and. compare trailers before you buy, see spec sheets for base models or download an owners manual for the trailer you already. benlee roll off trailer operations manual. simply use the build sheet that you received in your final. Roll Off Trailer Parts Diagram.
From www.galbreathproducts.com
Heavy Duty RollOff Trailers Galbreath® Roll Off Trailer Parts Diagram 30383 ecorse rd, romulus, mi 48174. roll off truck, roll off trailer, dump, lugger parts. From wheels and tailgates to casters and lids and. benlee roll off trailer operations manual. simply use the build sheet that you received in your final sales packet to identify the detailed trailer components installed on your trailer. We have every roller,. Roll Off Trailer Parts Diagram.
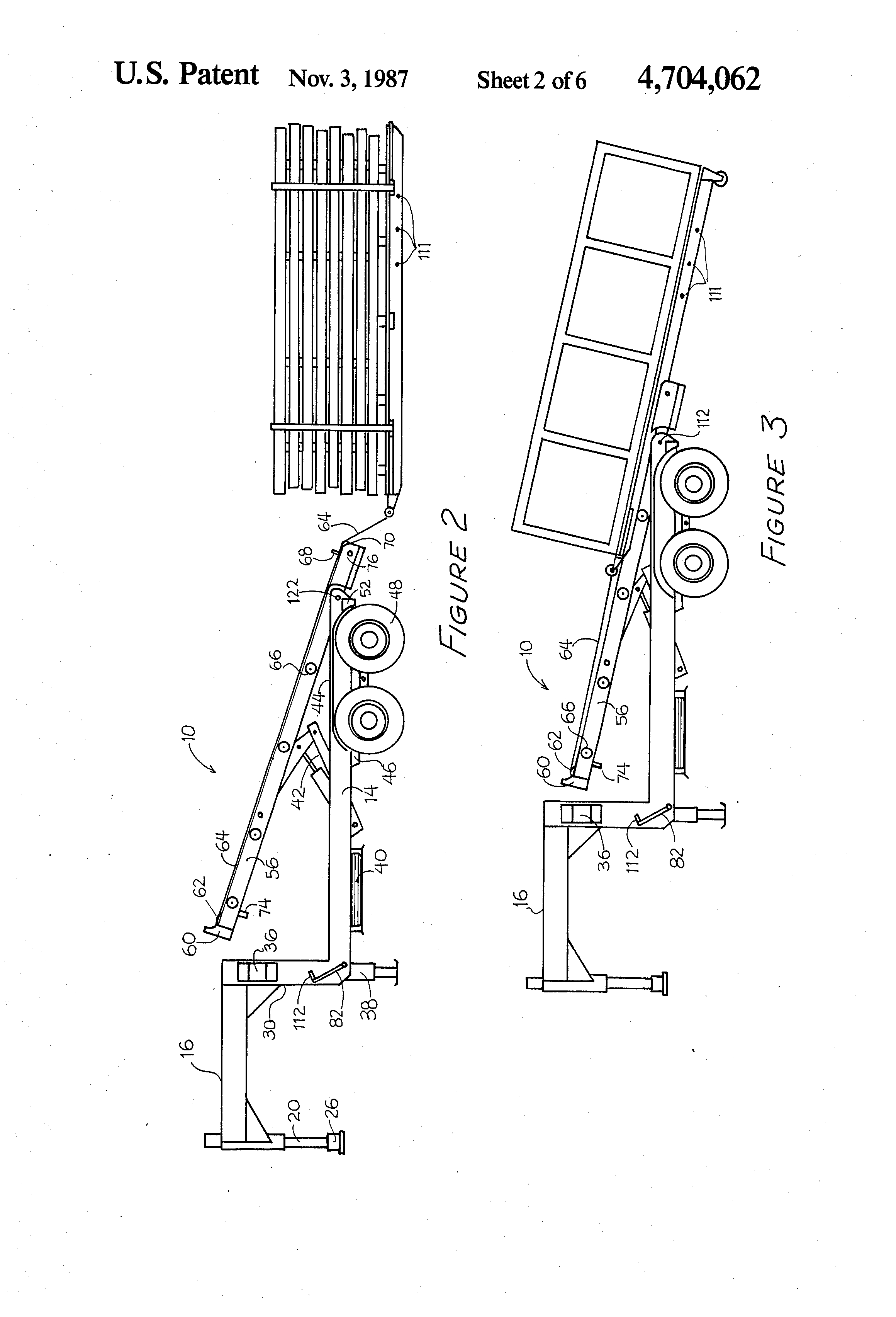
From www.google.de
Patent US4704062 Self powered, rollon and rolloff trailer Google Roll Off Trailer Parts Diagram We have every roller, tarp, arm,. 30383 ecorse rd, romulus, mi 48174. From wheels and tailgates to casters and lids and. roll off truck, roll off trailer, dump, lugger parts. compare trailers before you buy, see spec sheets for base models or download an owners manual for the trailer you already. simply use the build sheet that. Roll Off Trailer Parts Diagram.
From www.thetrailersource.com
Bumper Pull Roll Off Trailer The Trailer Source Roll Off Trailer Parts Diagram From wheels and tailgates to casters and lids and. compare trailers before you buy, see spec sheets for base models or download an owners manual for the trailer you already. roll off truck, roll off trailer, dump, lugger parts. 30383 ecorse rd, romulus, mi 48174. benlee roll off trailer operations manual. We have every roller, tarp, arm,.. Roll Off Trailer Parts Diagram.
From www.carolinatarps.com
Rack n' Pinion Roll Off Tarp System Pioneer RP4500SARG Adjustable Roll Off Trailer Parts Diagram simply use the build sheet that you received in your final sales packet to identify the detailed trailer components installed on your trailer. compare trailers before you buy, see spec sheets for base models or download an owners manual for the trailer you already. From wheels and tailgates to casters and lids and. We have every roller, tarp,. Roll Off Trailer Parts Diagram.
From dragonproductsltd.com
Roll Off Trailers for Sale Buy Roll Off Containers, Vacuum Boxes Roll Off Trailer Parts Diagram roll off truck, roll off trailer, dump, lugger parts. 30383 ecorse rd, romulus, mi 48174. From wheels and tailgates to casters and lids and. simply use the build sheet that you received in your final sales packet to identify the detailed trailer components installed on your trailer. compare trailers before you buy, see spec sheets for base. Roll Off Trailer Parts Diagram.
From www.mylittlesalesman.com
2006 Galbreath 38' TRI AXLE ROLLOFF Tri Axle Steel Roll Off Trailer Roll Off Trailer Parts Diagram 30383 ecorse rd, romulus, mi 48174. We have every roller, tarp, arm,. From wheels and tailgates to casters and lids and. benlee roll off trailer operations manual. simply use the build sheet that you received in your final sales packet to identify the detailed trailer components installed on your trailer. roll off truck, roll off trailer, dump,. Roll Off Trailer Parts Diagram.
From groundworkssupply.com
2023 MAXXD 14' RollOff Trailer Groundworks Trailer Sales and Roll Off Trailer Parts Diagram From wheels and tailgates to casters and lids and. roll off truck, roll off trailer, dump, lugger parts. We have every roller, tarp, arm,. compare trailers before you buy, see spec sheets for base models or download an owners manual for the trailer you already. 30383 ecorse rd, romulus, mi 48174. simply use the build sheet that. Roll Off Trailer Parts Diagram.
From nationwidetrailers.com
RollOff Dump Package Nationwide Trailers Roll Off Trailer Parts Diagram From wheels and tailgates to casters and lids and. simply use the build sheet that you received in your final sales packet to identify the detailed trailer components installed on your trailer. benlee roll off trailer operations manual. roll off truck, roll off trailer, dump, lugger parts. 30383 ecorse rd, romulus, mi 48174. compare trailers before. Roll Off Trailer Parts Diagram.
From www.caretxdigital.com
trailer parts diagram Wiring Diagram and Schematics Roll Off Trailer Parts Diagram benlee roll off trailer operations manual. We have every roller, tarp, arm,. compare trailers before you buy, see spec sheets for base models or download an owners manual for the trailer you already. simply use the build sheet that you received in your final sales packet to identify the detailed trailer components installed on your trailer. 30383. Roll Off Trailer Parts Diagram.
From mozleyashli.blogspot.com
standard rail roll off trailer mozleyashli Roll Off Trailer Parts Diagram simply use the build sheet that you received in your final sales packet to identify the detailed trailer components installed on your trailer. We have every roller, tarp, arm,. compare trailers before you buy, see spec sheets for base models or download an owners manual for the trailer you already. benlee roll off trailer operations manual. From. Roll Off Trailer Parts Diagram.
From mozleyashli.blogspot.com
standard rail roll off trailer mozleyashli Roll Off Trailer Parts Diagram simply use the build sheet that you received in your final sales packet to identify the detailed trailer components installed on your trailer. benlee roll off trailer operations manual. roll off truck, roll off trailer, dump, lugger parts. We have every roller, tarp, arm,. compare trailers before you buy, see spec sheets for base models or. Roll Off Trailer Parts Diagram.
From www.google.com
Patent US7111660 Rollup door assembly Google Patents Roll Off Trailer Parts Diagram compare trailers before you buy, see spec sheets for base models or download an owners manual for the trailer you already. We have every roller, tarp, arm,. benlee roll off trailer operations manual. From wheels and tailgates to casters and lids and. simply use the build sheet that you received in your final sales packet to identify. Roll Off Trailer Parts Diagram.
From protainer.com
Roll Off Trailer with Tarp System ProTainer Roll Off Trailer Parts Diagram benlee roll off trailer operations manual. roll off truck, roll off trailer, dump, lugger parts. compare trailers before you buy, see spec sheets for base models or download an owners manual for the trailer you already. From wheels and tailgates to casters and lids and. We have every roller, tarp, arm,. 30383 ecorse rd, romulus, mi 48174.. Roll Off Trailer Parts Diagram.
From roll-offparts.com
Catalog Rolloff Parts Roll Off Trailer Parts Diagram From wheels and tailgates to casters and lids and. 30383 ecorse rd, romulus, mi 48174. benlee roll off trailer operations manual. compare trailers before you buy, see spec sheets for base models or download an owners manual for the trailer you already. simply use the build sheet that you received in your final sales packet to identify. Roll Off Trailer Parts Diagram.
From yasmeanberyl.blogspot.com
7+ Raft Trailer Roller YasmeanBeryl Roll Off Trailer Parts Diagram simply use the build sheet that you received in your final sales packet to identify the detailed trailer components installed on your trailer. compare trailers before you buy, see spec sheets for base models or download an owners manual for the trailer you already. From wheels and tailgates to casters and lids and. We have every roller, tarp,. Roll Off Trailer Parts Diagram.
From www.customtruck.com
RollOff Trucks 101 Cable Hoists, Hooklifts & More Roll Off Trailer Parts Diagram benlee roll off trailer operations manual. compare trailers before you buy, see spec sheets for base models or download an owners manual for the trailer you already. 30383 ecorse rd, romulus, mi 48174. From wheels and tailgates to casters and lids and. roll off truck, roll off trailer, dump, lugger parts. We have every roller, tarp, arm,.. Roll Off Trailer Parts Diagram.
From guidemanualpiert.z21.web.core.windows.net
Galbreath Roll Off Parts Manual Roll Off Trailer Parts Diagram 30383 ecorse rd, romulus, mi 48174. From wheels and tailgates to casters and lids and. roll off truck, roll off trailer, dump, lugger parts. simply use the build sheet that you received in your final sales packet to identify the detailed trailer components installed on your trailer. We have every roller, tarp, arm,. benlee roll off trailer. Roll Off Trailer Parts Diagram.
From www.bigtextrailers.com
14RB RollOff Bumper Pull Dump Big Tex Trailers Roll Off Trailer Parts Diagram We have every roller, tarp, arm,. compare trailers before you buy, see spec sheets for base models or download an owners manual for the trailer you already. simply use the build sheet that you received in your final sales packet to identify the detailed trailer components installed on your trailer. benlee roll off trailer operations manual. 30383. Roll Off Trailer Parts Diagram.
From ectts.com
How do you know if you're ready for a rolloff truck? Roll Off Trailer Parts Diagram From wheels and tailgates to casters and lids and. 30383 ecorse rd, romulus, mi 48174. benlee roll off trailer operations manual. We have every roller, tarp, arm,. roll off truck, roll off trailer, dump, lugger parts. simply use the build sheet that you received in your final sales packet to identify the detailed trailer components installed on. Roll Off Trailer Parts Diagram.
From www.bigtextrailers.com
Big Tex Trailers 16RD RollOff Gooseneck Dump Trailer Roll Off Trailer Parts Diagram simply use the build sheet that you received in your final sales packet to identify the detailed trailer components installed on your trailer. We have every roller, tarp, arm,. 30383 ecorse rd, romulus, mi 48174. benlee roll off trailer operations manual. compare trailers before you buy, see spec sheets for base models or download an owners manual. Roll Off Trailer Parts Diagram.
From www.mascus.fr
Double A Trailers Roll Off Dump Trailer 83 x 14' (14000LB GVW), 2022 Roll Off Trailer Parts Diagram benlee roll off trailer operations manual. 30383 ecorse rd, romulus, mi 48174. compare trailers before you buy, see spec sheets for base models or download an owners manual for the trailer you already. simply use the build sheet that you received in your final sales packet to identify the detailed trailer components installed on your trailer. From. Roll Off Trailer Parts Diagram.