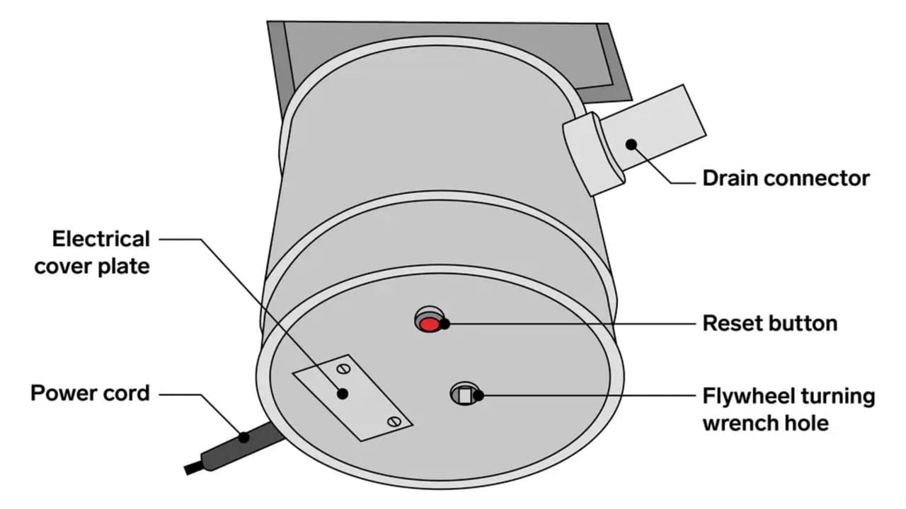
American Standard Garbage Disposal Reset Button . The reset button, usually colored red, is typically located at the bottom or side of the garbage disposal, near the base. When the reset button doesn’t work, the most common problems include electrical system issues, disposal jams, drain pipe clogs, or faulty seals in the mounting, hoses, or pipe connections. Using it can help your garbage disposal work properly again. Often, the easiest way to fix a garbage disposal is to push the reset button on the bottom of the disposal and try it again. Fortunately, the reset button on garbage disposals — also known as the overload protector — can kick in to prevent overheating,. Once the circuit is tripped, it must be reset for the disposal to work again. Did you know your garbage disposal has a reset button? For this purpose, the circuit comes with an external button called the reset button of a garbage.
        
        from www.petes-tools.com 
     
        
        For this purpose, the circuit comes with an external button called the reset button of a garbage. The reset button, usually colored red, is typically located at the bottom or side of the garbage disposal, near the base. Once the circuit is tripped, it must be reset for the disposal to work again. Fortunately, the reset button on garbage disposals — also known as the overload protector — can kick in to prevent overheating,. Did you know your garbage disposal has a reset button? Often, the easiest way to fix a garbage disposal is to push the reset button on the bottom of the disposal and try it again. Using it can help your garbage disposal work properly again. When the reset button doesn’t work, the most common problems include electrical system issues, disposal jams, drain pipe clogs, or faulty seals in the mounting, hoses, or pipe connections.
    
    	
            
	
		 
         
    Garbage Disposal Reset Button How To Bring Your Unit Back To Life 
    American Standard Garbage Disposal Reset Button  Once the circuit is tripped, it must be reset for the disposal to work again. The reset button, usually colored red, is typically located at the bottom or side of the garbage disposal, near the base. When the reset button doesn’t work, the most common problems include electrical system issues, disposal jams, drain pipe clogs, or faulty seals in the mounting, hoses, or pipe connections. Once the circuit is tripped, it must be reset for the disposal to work again. Fortunately, the reset button on garbage disposals — also known as the overload protector — can kick in to prevent overheating,. For this purpose, the circuit comes with an external button called the reset button of a garbage. Using it can help your garbage disposal work properly again. Did you know your garbage disposal has a reset button? Often, the easiest way to fix a garbage disposal is to push the reset button on the bottom of the disposal and try it again.
            
	
		 
         
 
    
        From www.familyhandyman.com 
                    How to Use a Garbage Disposal Reset Button Family Handyman American Standard Garbage Disposal Reset Button  Often, the easiest way to fix a garbage disposal is to push the reset button on the bottom of the disposal and try it again. Did you know your garbage disposal has a reset button? For this purpose, the circuit comes with an external button called the reset button of a garbage. When the reset button doesn’t work, the most. American Standard Garbage Disposal Reset Button.
     
    
        From www.myqualitycomfort.com 
                    Your Garbage Disposal Reset Button How to Fix Your Garbage Disposal American Standard Garbage Disposal Reset Button  The reset button, usually colored red, is typically located at the bottom or side of the garbage disposal, near the base. Once the circuit is tripped, it must be reset for the disposal to work again. Did you know your garbage disposal has a reset button? When the reset button doesn’t work, the most common problems include electrical system issues,. American Standard Garbage Disposal Reset Button.
     
    
        From www.petes-tools.com 
                    Garbage Disposal Reset Button How To Bring Your Unit Back To Life American Standard Garbage Disposal Reset Button  For this purpose, the circuit comes with an external button called the reset button of a garbage. Once the circuit is tripped, it must be reset for the disposal to work again. The reset button, usually colored red, is typically located at the bottom or side of the garbage disposal, near the base. Did you know your garbage disposal has. American Standard Garbage Disposal Reset Button.
     
    
        From www.petes-tools.com 
                    Garbage Disposal Reset Button How To Bring Your Unit Back To Life American Standard Garbage Disposal Reset Button  Once the circuit is tripped, it must be reset for the disposal to work again. Often, the easiest way to fix a garbage disposal is to push the reset button on the bottom of the disposal and try it again. Did you know your garbage disposal has a reset button? The reset button, usually colored red, is typically located at. American Standard Garbage Disposal Reset Button.
     
    
        From www.petes-tools.com 
                    Garbage Disposal Reset Button How To Bring Your Unit Back To Life American Standard Garbage Disposal Reset Button  The reset button, usually colored red, is typically located at the bottom or side of the garbage disposal, near the base. For this purpose, the circuit comes with an external button called the reset button of a garbage. Once the circuit is tripped, it must be reset for the disposal to work again. Often, the easiest way to fix a. American Standard Garbage Disposal Reset Button.
     
    
        From bestproproduct.com 
                    Garbage Disposal Reset Button All You Need to Know American Standard Garbage Disposal Reset Button  Fortunately, the reset button on garbage disposals — also known as the overload protector — can kick in to prevent overheating,. Often, the easiest way to fix a garbage disposal is to push the reset button on the bottom of the disposal and try it again. When the reset button doesn’t work, the most common problems include electrical system issues,. American Standard Garbage Disposal Reset Button.
     
    
        From www.thespruce.com 
                    How to Use a Garbage Disposal Reset Button American Standard Garbage Disposal Reset Button  Often, the easiest way to fix a garbage disposal is to push the reset button on the bottom of the disposal and try it again. The reset button, usually colored red, is typically located at the bottom or side of the garbage disposal, near the base. Fortunately, the reset button on garbage disposals — also known as the overload protector. American Standard Garbage Disposal Reset Button.
     
    
        From www.thespruce.com 
                    How to Use a Garbage Disposal Reset Button American Standard Garbage Disposal Reset Button  Often, the easiest way to fix a garbage disposal is to push the reset button on the bottom of the disposal and try it again. Once the circuit is tripped, it must be reset for the disposal to work again. Using it can help your garbage disposal work properly again. When the reset button doesn’t work, the most common problems. American Standard Garbage Disposal Reset Button.
     
    
        From www.petes-tools.com 
                    Garbage Disposal Reset Button How To Bring Your Unit Back To Life American Standard Garbage Disposal Reset Button  Fortunately, the reset button on garbage disposals — also known as the overload protector — can kick in to prevent overheating,. Did you know your garbage disposal has a reset button? Often, the easiest way to fix a garbage disposal is to push the reset button on the bottom of the disposal and try it again. Once the circuit is. American Standard Garbage Disposal Reset Button.
     
    
        From www.mrgarbagedisposal.com 
                    How to Reset a Garbage Disposal 2024 American Standard Garbage Disposal Reset Button  Often, the easiest way to fix a garbage disposal is to push the reset button on the bottom of the disposal and try it again. Did you know your garbage disposal has a reset button? Fortunately, the reset button on garbage disposals — also known as the overload protector — can kick in to prevent overheating,. For this purpose, the. American Standard Garbage Disposal Reset Button.
     
    
        From www.homebuyerweekly.com 
                    How to Reset a Garbage Disposal Homebuyer Weekly American Standard Garbage Disposal Reset Button  Did you know your garbage disposal has a reset button? Once the circuit is tripped, it must be reset for the disposal to work again. Often, the easiest way to fix a garbage disposal is to push the reset button on the bottom of the disposal and try it again. For this purpose, the circuit comes with an external button. American Standard Garbage Disposal Reset Button.
     
    
        From www.petes-tools.com 
                    Garbage Disposal Reset Button How To Bring Your Unit Back To Life American Standard Garbage Disposal Reset Button  Did you know your garbage disposal has a reset button? For this purpose, the circuit comes with an external button called the reset button of a garbage. The reset button, usually colored red, is typically located at the bottom or side of the garbage disposal, near the base. Once the circuit is tripped, it must be reset for the disposal. American Standard Garbage Disposal Reset Button.
     
    
        From removeandreplace.com 
                    Where Is The Garbage Disposal Reset Button? American Standard Garbage Disposal Reset Button  Fortunately, the reset button on garbage disposals — also known as the overload protector — can kick in to prevent overheating,. The reset button, usually colored red, is typically located at the bottom or side of the garbage disposal, near the base. For this purpose, the circuit comes with an external button called the reset button of a garbage. Using. American Standard Garbage Disposal Reset Button.
     
    
        From pandlplumbing.com 
                    Where Is the Reset Button on a Garbage Disposal? American Standard Garbage Disposal Reset Button  Using it can help your garbage disposal work properly again. Often, the easiest way to fix a garbage disposal is to push the reset button on the bottom of the disposal and try it again. Fortunately, the reset button on garbage disposals — also known as the overload protector — can kick in to prevent overheating,. For this purpose, the. American Standard Garbage Disposal Reset Button.
     
    
        From www.petes-tools.com 
                    Garbage Disposal Reset Button How To Bring Your Unit Back To Life American Standard Garbage Disposal Reset Button  Often, the easiest way to fix a garbage disposal is to push the reset button on the bottom of the disposal and try it again. For this purpose, the circuit comes with an external button called the reset button of a garbage. Did you know your garbage disposal has a reset button? The reset button, usually colored red, is typically. American Standard Garbage Disposal Reset Button.
     
    
        From www.greenbagpickup.com 
                    Garbage Disposal Reset Button American Standard Garbage Disposal Reset Button  Did you know your garbage disposal has a reset button? For this purpose, the circuit comes with an external button called the reset button of a garbage. Often, the easiest way to fix a garbage disposal is to push the reset button on the bottom of the disposal and try it again. The reset button, usually colored red, is typically. American Standard Garbage Disposal Reset Button.
     
    
        From www.greenbagpickup.com 
                    Garbage Disposal Reset Button American Standard Garbage Disposal Reset Button  Did you know your garbage disposal has a reset button? Often, the easiest way to fix a garbage disposal is to push the reset button on the bottom of the disposal and try it again. Once the circuit is tripped, it must be reset for the disposal to work again. Fortunately, the reset button on garbage disposals — also known. American Standard Garbage Disposal Reset Button.
     
    
        From www.petes-tools.com 
                    Garbage Disposal Reset Button How To Bring Your Unit Back To Life American Standard Garbage Disposal Reset Button  Did you know your garbage disposal has a reset button? Once the circuit is tripped, it must be reset for the disposal to work again. Often, the easiest way to fix a garbage disposal is to push the reset button on the bottom of the disposal and try it again. Using it can help your garbage disposal work properly again.. American Standard Garbage Disposal Reset Button.
     
    
        From www.thespruce.com 
                    How to Use a Garbage Disposal Reset Button American Standard Garbage Disposal Reset Button  For this purpose, the circuit comes with an external button called the reset button of a garbage. When the reset button doesn’t work, the most common problems include electrical system issues, disposal jams, drain pipe clogs, or faulty seals in the mounting, hoses, or pipe connections. Using it can help your garbage disposal work properly again. Fortunately, the reset button. American Standard Garbage Disposal Reset Button.
     
    
        From www.petes-tools.com 
                    Garbage Disposal Reset Button How To Bring Your Unit Back To Life American Standard Garbage Disposal Reset Button  For this purpose, the circuit comes with an external button called the reset button of a garbage. The reset button, usually colored red, is typically located at the bottom or side of the garbage disposal, near the base. When the reset button doesn’t work, the most common problems include electrical system issues, disposal jams, drain pipe clogs, or faulty seals. American Standard Garbage Disposal Reset Button.
     
    
        From plumbingsniper.com 
                    How to Reset a Garbage Disposal in a Minute Plumbing Sniper American Standard Garbage Disposal Reset Button  When the reset button doesn’t work, the most common problems include electrical system issues, disposal jams, drain pipe clogs, or faulty seals in the mounting, hoses, or pipe connections. Using it can help your garbage disposal work properly again. The reset button, usually colored red, is typically located at the bottom or side of the garbage disposal, near the base.. American Standard Garbage Disposal Reset Button.
     
    
        From licketysplitfl.com 
                    How to Use a Garbage Disposal Reset Button LicketySplit American Standard Garbage Disposal Reset Button  Using it can help your garbage disposal work properly again. Often, the easiest way to fix a garbage disposal is to push the reset button on the bottom of the disposal and try it again. Did you know your garbage disposal has a reset button? For this purpose, the circuit comes with an external button called the reset button of. American Standard Garbage Disposal Reset Button.
     
    
        From informacionpublica.svet.gob.gt 
                    American Standard Garbage Disposal Reset Button informacionpublica American Standard Garbage Disposal Reset Button  Often, the easiest way to fix a garbage disposal is to push the reset button on the bottom of the disposal and try it again. Fortunately, the reset button on garbage disposals — also known as the overload protector — can kick in to prevent overheating,. Using it can help your garbage disposal work properly again. Did you know your. American Standard Garbage Disposal Reset Button.
     
    
        From www.petes-tools.com 
                    Garbage Disposal Reset Button How To Bring Your Unit Back To Life American Standard Garbage Disposal Reset Button  Did you know your garbage disposal has a reset button? Often, the easiest way to fix a garbage disposal is to push the reset button on the bottom of the disposal and try it again. Fortunately, the reset button on garbage disposals — also known as the overload protector — can kick in to prevent overheating,. The reset button, usually. American Standard Garbage Disposal Reset Button.
     
    
        From www.petes-tools.com 
                    Garbage Disposal Reset Button How To Bring Your Unit Back To Life American Standard Garbage Disposal Reset Button  For this purpose, the circuit comes with an external button called the reset button of a garbage. When the reset button doesn’t work, the most common problems include electrical system issues, disposal jams, drain pipe clogs, or faulty seals in the mounting, hoses, or pipe connections. Using it can help your garbage disposal work properly again. Often, the easiest way. American Standard Garbage Disposal Reset Button.
     
    
        From www.petes-tools.com 
                    Garbage Disposal Reset Button How To Bring Your Unit Back To Life American Standard Garbage Disposal Reset Button  Fortunately, the reset button on garbage disposals — also known as the overload protector — can kick in to prevent overheating,. Once the circuit is tripped, it must be reset for the disposal to work again. Did you know your garbage disposal has a reset button? When the reset button doesn’t work, the most common problems include electrical system issues,. American Standard Garbage Disposal Reset Button.
     
    
        From letsteady.blogspot.com 
                    How To Reset Garbage Disposal Button American Standard Garbage Disposal Reset Button  Using it can help your garbage disposal work properly again. When the reset button doesn’t work, the most common problems include electrical system issues, disposal jams, drain pipe clogs, or faulty seals in the mounting, hoses, or pipe connections. Fortunately, the reset button on garbage disposals — also known as the overload protector — can kick in to prevent overheating,.. American Standard Garbage Disposal Reset Button.
     
    
        From howtogarbage.com 
                    How To Reset Garbage Disposal In 5 Easy Steps American Standard Garbage Disposal Reset Button  Did you know your garbage disposal has a reset button? Fortunately, the reset button on garbage disposals — also known as the overload protector — can kick in to prevent overheating,. Using it can help your garbage disposal work properly again. Once the circuit is tripped, it must be reset for the disposal to work again. The reset button, usually. American Standard Garbage Disposal Reset Button.
     
    
        From informacionpublica.svet.gob.gt 
                    How To Find The Red Button And Reset The Garbage Disposal American Standard Garbage Disposal Reset Button  When the reset button doesn’t work, the most common problems include electrical system issues, disposal jams, drain pipe clogs, or faulty seals in the mounting, hoses, or pipe connections. Often, the easiest way to fix a garbage disposal is to push the reset button on the bottom of the disposal and try it again. Once the circuit is tripped, it. American Standard Garbage Disposal Reset Button.
     
    
        From gulfcoastappliances.com 
                    What Does the Garbage Disposal Reset Button Do? American Standard Garbage Disposal Reset Button  Fortunately, the reset button on garbage disposals — also known as the overload protector — can kick in to prevent overheating,. Did you know your garbage disposal has a reset button? Often, the easiest way to fix a garbage disposal is to push the reset button on the bottom of the disposal and try it again. For this purpose, the. American Standard Garbage Disposal Reset Button.
     
    
        From www.petes-tools.com 
                    Why Is My Garbage Disposal Not Draining Fix It Yourself For Free American Standard Garbage Disposal Reset Button  Once the circuit is tripped, it must be reset for the disposal to work again. Did you know your garbage disposal has a reset button? When the reset button doesn’t work, the most common problems include electrical system issues, disposal jams, drain pipe clogs, or faulty seals in the mounting, hoses, or pipe connections. Often, the easiest way to fix. American Standard Garbage Disposal Reset Button.
     
    
        From www.buildfanatic.com 
                    Garbage Disposal Reset Button Not Working? Here's How To Fix It American Standard Garbage Disposal Reset Button  When the reset button doesn’t work, the most common problems include electrical system issues, disposal jams, drain pipe clogs, or faulty seals in the mounting, hoses, or pipe connections. For this purpose, the circuit comes with an external button called the reset button of a garbage. Using it can help your garbage disposal work properly again. Often, the easiest way. American Standard Garbage Disposal Reset Button.
     
    
        From www.coopergreenteam.com 
                    How To Find Your Garbage Disposal Reset Button American Standard Garbage Disposal Reset Button  Did you know your garbage disposal has a reset button? Fortunately, the reset button on garbage disposals — also known as the overload protector — can kick in to prevent overheating,. When the reset button doesn’t work, the most common problems include electrical system issues, disposal jams, drain pipe clogs, or faulty seals in the mounting, hoses, or pipe connections.. American Standard Garbage Disposal Reset Button.
     
    
        From www.thespruce.com 
                    How to Use a Garbage Disposal Reset Button American Standard Garbage Disposal Reset Button  For this purpose, the circuit comes with an external button called the reset button of a garbage. Once the circuit is tripped, it must be reset for the disposal to work again. Often, the easiest way to fix a garbage disposal is to push the reset button on the bottom of the disposal and try it again. Did you know. American Standard Garbage Disposal Reset Button.
     
    
        From www.thespruce.com 
                    How to Use a Garbage Disposal Reset Button American Standard Garbage Disposal Reset Button  Fortunately, the reset button on garbage disposals — also known as the overload protector — can kick in to prevent overheating,. Often, the easiest way to fix a garbage disposal is to push the reset button on the bottom of the disposal and try it again. When the reset button doesn’t work, the most common problems include electrical system issues,. American Standard Garbage Disposal Reset Button.