Solar Protection For Windows . All of phifer’s exterior sun control products help to block the heat and harmful uv rays from entering your home as well as provide protection from insects. Sun control film is a type of window film used for the specific purpose of minimizing the heat and uv effects of the sun through glass windows. It’s an affordable way to upgrade your windows and. It has immense benefits for both commercial. Solar window shades (also called sun shades) are roller shades crafted with a specially designed fabric that’s woven just tight enough to protect against uv rays while still. Our products are designed to. Welcome the sun into your home, while taming the harmful effects of uv rays, with 3m™ window films. Block uv rays to protect against fading. Solar screens from screenmobile are an. Solar window film, also known as solar control window film, can save money, improve indoor comfort and protect your furniture from sun. Applied to the insides of windows, it keeps ultraviolet light away from the house interior and improves energy efficiency—all of which help control the temperature.
from www.youtube.com
Solar screens from screenmobile are an. Our products are designed to. Solar window shades (also called sun shades) are roller shades crafted with a specially designed fabric that’s woven just tight enough to protect against uv rays while still. Welcome the sun into your home, while taming the harmful effects of uv rays, with 3m™ window films. All of phifer’s exterior sun control products help to block the heat and harmful uv rays from entering your home as well as provide protection from insects. Solar window film, also known as solar control window film, can save money, improve indoor comfort and protect your furniture from sun. Applied to the insides of windows, it keeps ultraviolet light away from the house interior and improves energy efficiency—all of which help control the temperature. It has immense benefits for both commercial. Sun control film is a type of window film used for the specific purpose of minimizing the heat and uv effects of the sun through glass windows. Block uv rays to protect against fading.
silver solar protection window film for glass YouTube
Solar Protection For Windows Solar window film, also known as solar control window film, can save money, improve indoor comfort and protect your furniture from sun. Solar window film, also known as solar control window film, can save money, improve indoor comfort and protect your furniture from sun. Solar window shades (also called sun shades) are roller shades crafted with a specially designed fabric that’s woven just tight enough to protect against uv rays while still. Block uv rays to protect against fading. Welcome the sun into your home, while taming the harmful effects of uv rays, with 3m™ window films. It’s an affordable way to upgrade your windows and. Our products are designed to. Applied to the insides of windows, it keeps ultraviolet light away from the house interior and improves energy efficiency—all of which help control the temperature. It has immense benefits for both commercial. All of phifer’s exterior sun control products help to block the heat and harmful uv rays from entering your home as well as provide protection from insects. Solar screens from screenmobile are an. Sun control film is a type of window film used for the specific purpose of minimizing the heat and uv effects of the sun through glass windows.
From www.leiab.co.uk
Dynamic solar protection Glass Accessories Products LEIAB Window Solar Protection For Windows Our products are designed to. Solar screens from screenmobile are an. Sun control film is a type of window film used for the specific purpose of minimizing the heat and uv effects of the sun through glass windows. It has immense benefits for both commercial. Applied to the insides of windows, it keeps ultraviolet light away from the house interior. Solar Protection For Windows.
From acecurtains.com.sg
Solar Window Film Ace Curtains & Furnishing Solar Protection For Windows Applied to the insides of windows, it keeps ultraviolet light away from the house interior and improves energy efficiency—all of which help control the temperature. It has immense benefits for both commercial. Welcome the sun into your home, while taming the harmful effects of uv rays, with 3m™ window films. Solar screens from screenmobile are an. All of phifer’s exterior. Solar Protection For Windows.
From www.popularmechanics.com
The Windows That Are Also Solar Panels Solar Protection For Windows Welcome the sun into your home, while taming the harmful effects of uv rays, with 3m™ window films. Our products are designed to. All of phifer’s exterior sun control products help to block the heat and harmful uv rays from entering your home as well as provide protection from insects. Solar window shades (also called sun shades) are roller shades. Solar Protection For Windows.
From www.suntrol.com
Suntrol Window Film — Sun Protection & Solar Control Film Solar Protection For Windows Applied to the insides of windows, it keeps ultraviolet light away from the house interior and improves energy efficiency—all of which help control the temperature. All of phifer’s exterior sun control products help to block the heat and harmful uv rays from entering your home as well as provide protection from insects. Sun control film is a type of window. Solar Protection For Windows.
From www.independent.co.uk
Solar panel windows achieve recordbreaking energy efficiency The Solar Protection For Windows Solar window film, also known as solar control window film, can save money, improve indoor comfort and protect your furniture from sun. Sun control film is a type of window film used for the specific purpose of minimizing the heat and uv effects of the sun through glass windows. All of phifer’s exterior sun control products help to block the. Solar Protection For Windows.
From www.diversifiedsource.com
Architectural solar protection Diversified Source Solar Protection For Windows Solar screens from screenmobile are an. All of phifer’s exterior sun control products help to block the heat and harmful uv rays from entering your home as well as provide protection from insects. Solar window shades (also called sun shades) are roller shades crafted with a specially designed fabric that’s woven just tight enough to protect against uv rays while. Solar Protection For Windows.
From www.solarprotectionscreens.com
Gallery Solar Protection Screens Solar Protection For Windows Solar screens from screenmobile are an. Solar window shades (also called sun shades) are roller shades crafted with a specially designed fabric that’s woven just tight enough to protect against uv rays while still. Sun control film is a type of window film used for the specific purpose of minimizing the heat and uv effects of the sun through glass. Solar Protection For Windows.
From www.reflectiv.com
SOL 150 Solar protection 54 film REFLECTIV Windows Films Laize 152cm Solar Protection For Windows Solar window film, also known as solar control window film, can save money, improve indoor comfort and protect your furniture from sun. Solar screens from screenmobile are an. It has immense benefits for both commercial. Our products are designed to. Block uv rays to protect against fading. Sun control film is a type of window film used for the specific. Solar Protection For Windows.
From www.nwshadeco.com
Solar Window Screens Northwest Shade Co Solar Protection For Windows It has immense benefits for both commercial. Solar screens from screenmobile are an. Applied to the insides of windows, it keeps ultraviolet light away from the house interior and improves energy efficiency—all of which help control the temperature. All of phifer’s exterior sun control products help to block the heat and harmful uv rays from entering your home as well. Solar Protection For Windows.
From www.reflectiv.com
Solar protection window films Rejects up heat Solar Protection For Windows Block uv rays to protect against fading. Sun control film is a type of window film used for the specific purpose of minimizing the heat and uv effects of the sun through glass windows. Applied to the insides of windows, it keeps ultraviolet light away from the house interior and improves energy efficiency—all of which help control the temperature. All. Solar Protection For Windows.
From www.windowstory.asia
Protect Solar Window Film Window Story Solar Protection For Windows Solar screens from screenmobile are an. It has immense benefits for both commercial. Block uv rays to protect against fading. All of phifer’s exterior sun control products help to block the heat and harmful uv rays from entering your home as well as provide protection from insects. It’s an affordable way to upgrade your windows and. Sun control film is. Solar Protection For Windows.
From suncontrolproducts.com
SOLAR SUN SCREENS AND SHADES SAN DIEGO Awnings and Sun Shades San Solar Protection For Windows Block uv rays to protect against fading. It’s an affordable way to upgrade your windows and. Solar window shades (also called sun shades) are roller shades crafted with a specially designed fabric that’s woven just tight enough to protect against uv rays while still. It has immense benefits for both commercial. Solar window film, also known as solar control window. Solar Protection For Windows.
From sunscreenfactory.com
Sunscreens for windows Solar Protection For Windows It’s an affordable way to upgrade your windows and. Welcome the sun into your home, while taming the harmful effects of uv rays, with 3m™ window films. Our products are designed to. All of phifer’s exterior sun control products help to block the heat and harmful uv rays from entering your home as well as provide protection from insects. Applied. Solar Protection For Windows.
From www.bonanza.com
Gila Heat Control Platinum Adhesive Residential DIY Window Film Sun Solar Protection For Windows Welcome the sun into your home, while taming the harmful effects of uv rays, with 3m™ window films. Applied to the insides of windows, it keeps ultraviolet light away from the house interior and improves energy efficiency—all of which help control the temperature. It’s an affordable way to upgrade your windows and. It has immense benefits for both commercial. Solar. Solar Protection For Windows.
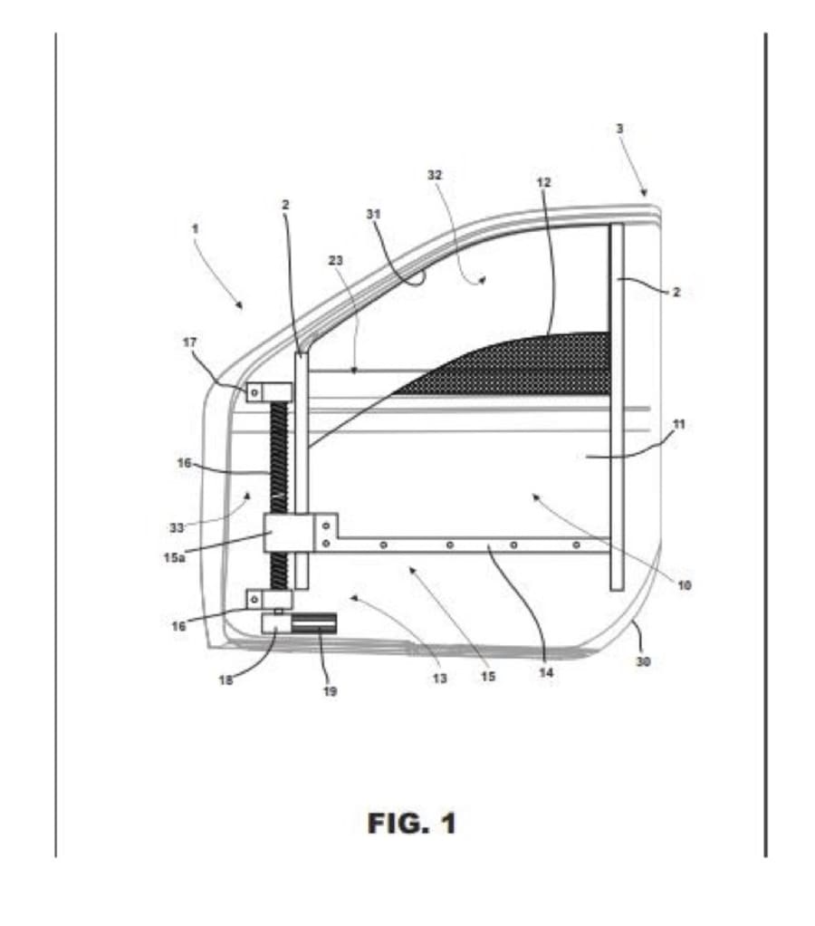
From contest.techbriefs.com
Sun Solar Protection Device for Vehicle Windows Solar Protection For Windows It has immense benefits for both commercial. Solar window shades (also called sun shades) are roller shades crafted with a specially designed fabric that’s woven just tight enough to protect against uv rays while still. Solar window film, also known as solar control window film, can save money, improve indoor comfort and protect your furniture from sun. It’s an affordable. Solar Protection For Windows.
From www.marlinwindows.co.uk
Heritage Aluminium Windows North Yorkshire Marlin Windows Solar Protection For Windows Solar window film, also known as solar control window film, can save money, improve indoor comfort and protect your furniture from sun. Solar window shades (also called sun shades) are roller shades crafted with a specially designed fabric that’s woven just tight enough to protect against uv rays while still. Solar screens from screenmobile are an. Applied to the insides. Solar Protection For Windows.
From shadesbydesign.com
UV Protection Best Window Treatments UV Protection &Energy Savings Solar Protection For Windows All of phifer’s exterior sun control products help to block the heat and harmful uv rays from entering your home as well as provide protection from insects. Our products are designed to. It has immense benefits for both commercial. Solar window film, also known as solar control window film, can save money, improve indoor comfort and protect your furniture from. Solar Protection For Windows.
From www.solarprotectionscreens.com
Gallery Solar Protection Screens Solar Protection For Windows Welcome the sun into your home, while taming the harmful effects of uv rays, with 3m™ window films. It’s an affordable way to upgrade your windows and. Solar screens from screenmobile are an. Sun control film is a type of window film used for the specific purpose of minimizing the heat and uv effects of the sun through glass windows.. Solar Protection For Windows.
From customdraperyandblinds.com
Solar Screen Archives Solar Protection For Windows Our products are designed to. Solar window film, also known as solar control window film, can save money, improve indoor comfort and protect your furniture from sun. All of phifer’s exterior sun control products help to block the heat and harmful uv rays from entering your home as well as provide protection from insects. Solar window shades (also called sun. Solar Protection For Windows.
From sunscreenfactory.com
Sunscreens for windows Solar Protection For Windows Applied to the insides of windows, it keeps ultraviolet light away from the house interior and improves energy efficiency—all of which help control the temperature. All of phifer’s exterior sun control products help to block the heat and harmful uv rays from entering your home as well as provide protection from insects. Block uv rays to protect against fading. Sun. Solar Protection For Windows.
From www.pinterest.com
Solar Shades Solar shades, Energy efficient window treatments Solar Protection For Windows Our products are designed to. Sun control film is a type of window film used for the specific purpose of minimizing the heat and uv effects of the sun through glass windows. Solar screens from screenmobile are an. All of phifer’s exterior sun control products help to block the heat and harmful uv rays from entering your home as well. Solar Protection For Windows.
From www.nwshadeco.com
Solar Window Screens Northwest Shade Co Solar Protection For Windows Applied to the insides of windows, it keeps ultraviolet light away from the house interior and improves energy efficiency—all of which help control the temperature. All of phifer’s exterior sun control products help to block the heat and harmful uv rays from entering your home as well as provide protection from insects. It’s an affordable way to upgrade your windows. Solar Protection For Windows.
From www.smartlouvre.com
Solar Shading Systems Smartlourve Solar Protection For Windows Sun control film is a type of window film used for the specific purpose of minimizing the heat and uv effects of the sun through glass windows. Solar window shades (also called sun shades) are roller shades crafted with a specially designed fabric that’s woven just tight enough to protect against uv rays while still. It’s an affordable way to. Solar Protection For Windows.
From scorpionwindowfilm.com
EnergySaving Benefits of Solar Protection at Home and Beyond Solar Protection For Windows It’s an affordable way to upgrade your windows and. Sun control film is a type of window film used for the specific purpose of minimizing the heat and uv effects of the sun through glass windows. It has immense benefits for both commercial. Our products are designed to. Welcome the sun into your home, while taming the harmful effects of. Solar Protection For Windows.
From www.libertyhomeproducts.com
Reduce Sun Exposure with Solar Window Shades Liberty Home Products Solar Protection For Windows Solar window film, also known as solar control window film, can save money, improve indoor comfort and protect your furniture from sun. It’s an affordable way to upgrade your windows and. Solar window shades (also called sun shades) are roller shades crafted with a specially designed fabric that’s woven just tight enough to protect against uv rays while still. It. Solar Protection For Windows.
From www.solarprotectionscreens.com
Gallery Solar Protection Screens Solar Protection For Windows Welcome the sun into your home, while taming the harmful effects of uv rays, with 3m™ window films. Our products are designed to. All of phifer’s exterior sun control products help to block the heat and harmful uv rays from entering your home as well as provide protection from insects. Applied to the insides of windows, it keeps ultraviolet light. Solar Protection For Windows.
From www.devonwindowtinting.co.uk
Solar Control Window Film Devon Window Tinting Solar Protection For Windows Solar screens from screenmobile are an. All of phifer’s exterior sun control products help to block the heat and harmful uv rays from entering your home as well as provide protection from insects. It has immense benefits for both commercial. Solar window film, also known as solar control window film, can save money, improve indoor comfort and protect your furniture. Solar Protection For Windows.
From www.arbowindows.lv
SOLAR PROTECTION Arbo Windows Solar Protection For Windows Sun control film is a type of window film used for the specific purpose of minimizing the heat and uv effects of the sun through glass windows. Block uv rays to protect against fading. Welcome the sun into your home, while taming the harmful effects of uv rays, with 3m™ window films. Solar window film, also known as solar control. Solar Protection For Windows.
From www.youtube.com
silver solar protection window film for glass YouTube Solar Protection For Windows Solar window shades (also called sun shades) are roller shades crafted with a specially designed fabric that’s woven just tight enough to protect against uv rays while still. Solar screens from screenmobile are an. All of phifer’s exterior sun control products help to block the heat and harmful uv rays from entering your home as well as provide protection from. Solar Protection For Windows.
From www.aliexpress.com
2pcs 42x38cm DIY Car Sun Shades Film Sun Protection Window Cover Black Solar Protection For Windows Solar window film, also known as solar control window film, can save money, improve indoor comfort and protect your furniture from sun. Solar window shades (also called sun shades) are roller shades crafted with a specially designed fabric that’s woven just tight enough to protect against uv rays while still. Sun control film is a type of window film used. Solar Protection For Windows.
From www.diversifiedsource.com
Architectural solar protection Diversified Source Solar Protection For Windows Applied to the insides of windows, it keeps ultraviolet light away from the house interior and improves energy efficiency—all of which help control the temperature. Welcome the sun into your home, while taming the harmful effects of uv rays, with 3m™ window films. It has immense benefits for both commercial. Solar screens from screenmobile are an. Sun control film is. Solar Protection For Windows.
From www.solarprotectionscreens.com
Frequently Asked Questions Solar Protection Screens Solar Protection For Windows Applied to the insides of windows, it keeps ultraviolet light away from the house interior and improves energy efficiency—all of which help control the temperature. Sun control film is a type of window film used for the specific purpose of minimizing the heat and uv effects of the sun through glass windows. Solar window film, also known as solar control. Solar Protection For Windows.
From www.mgsarchitecture.in
Window Protection From Solar Radiations MGS Architecture Solar Protection For Windows Sun control film is a type of window film used for the specific purpose of minimizing the heat and uv effects of the sun through glass windows. Solar window shades (also called sun shades) are roller shades crafted with a specially designed fabric that’s woven just tight enough to protect against uv rays while still. All of phifer’s exterior sun. Solar Protection For Windows.
From motorizedawnings.com
Motorized Solar Shades Buy Online & Save from Solar Protection For Windows Solar window film, also known as solar control window film, can save money, improve indoor comfort and protect your furniture from sun. Block uv rays to protect against fading. All of phifer’s exterior sun control products help to block the heat and harmful uv rays from entering your home as well as provide protection from insects. It has immense benefits. Solar Protection For Windows.
From www.ersshading.com
Retractable Solar Screens ERS Shading San Jose, CA Solar Protection For Windows It has immense benefits for both commercial. Solar screens from screenmobile are an. Sun control film is a type of window film used for the specific purpose of minimizing the heat and uv effects of the sun through glass windows. Solar window shades (also called sun shades) are roller shades crafted with a specially designed fabric that’s woven just tight. Solar Protection For Windows.