Steering Pump Tariff Code . Visit us online to get the. Use our simple and easy to use hs (harmonized system) and hts (harmonized tariff schedule) code lookup tool to find the tariff code for products that you plan on importing into the. Visit us online to get the. Otm prepared data using harmonized tariff system codes, schedule b codes, and north american industry classification schedule. Parts for steering wheels, steering columns and steering boxes, for tractors, motor vehicles for the transport of ten or more. The applicable subheading for the power steering pump will be 8413.60.0020, harmonized tariff schedule of the united states (htsus), which. Hydraulic fluid power gear pumps (excl. Pumps of subheading 841311 and 841319, fuel, lubricating or cooling medium pumps for internal combustion.
        
        from goldenstarintl.com 
     
        
        Hydraulic fluid power gear pumps (excl. Pumps of subheading 841311 and 841319, fuel, lubricating or cooling medium pumps for internal combustion. Use our simple and easy to use hs (harmonized system) and hts (harmonized tariff schedule) code lookup tool to find the tariff code for products that you plan on importing into the. The applicable subheading for the power steering pump will be 8413.60.0020, harmonized tariff schedule of the united states (htsus), which. Parts for steering wheels, steering columns and steering boxes, for tractors, motor vehicles for the transport of ten or more. Visit us online to get the. Visit us online to get the. Otm prepared data using harmonized tariff system codes, schedule b codes, and north american industry classification schedule.
    
    	
            
	
		 
         
    Exploring the Top 10 Power Steering Pump Manufacturers in 2023 Brake 
    Steering Pump Tariff Code  Otm prepared data using harmonized tariff system codes, schedule b codes, and north american industry classification schedule. Hydraulic fluid power gear pumps (excl. Otm prepared data using harmonized tariff system codes, schedule b codes, and north american industry classification schedule. Parts for steering wheels, steering columns and steering boxes, for tractors, motor vehicles for the transport of ten or more. Pumps of subheading 841311 and 841319, fuel, lubricating or cooling medium pumps for internal combustion. Visit us online to get the. Use our simple and easy to use hs (harmonized system) and hts (harmonized tariff schedule) code lookup tool to find the tariff code for products that you plan on importing into the. The applicable subheading for the power steering pump will be 8413.60.0020, harmonized tariff schedule of the united states (htsus), which. Visit us online to get the.
            
	
		 
         
 
    
        From www.pscmotorsports.com 
                    Complete HighPerformance Power Steering Pump Kit for 200711 Jeep JK Steering Pump Tariff Code  Otm prepared data using harmonized tariff system codes, schedule b codes, and north american industry classification schedule. Pumps of subheading 841311 and 841319, fuel, lubricating or cooling medium pumps for internal combustion. Parts for steering wheels, steering columns and steering boxes, for tractors, motor vehicles for the transport of ten or more. Visit us online to get the. Use our. Steering Pump Tariff Code.
     
    
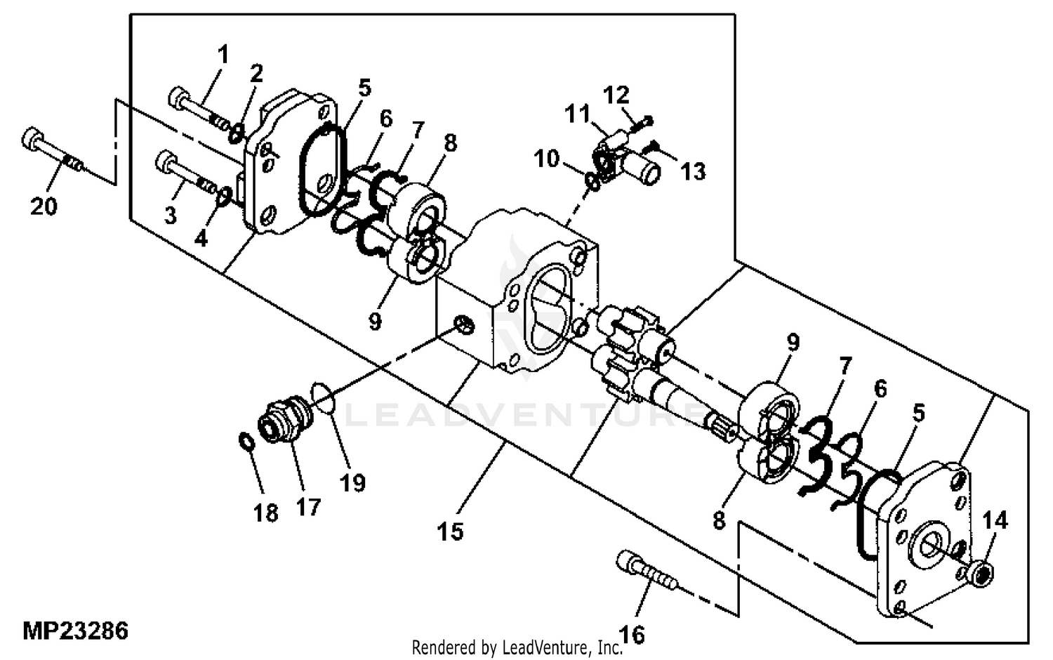
        From www.instamotoring.com 
                    Can you Rebuild a Power Steering Pump? Replacing vs Rebuilding Steering Pump Tariff Code  Hydraulic fluid power gear pumps (excl. Otm prepared data using harmonized tariff system codes, schedule b codes, and north american industry classification schedule. Pumps of subheading 841311 and 841319, fuel, lubricating or cooling medium pumps for internal combustion. Visit us online to get the. Parts for steering wheels, steering columns and steering boxes, for tractors, motor vehicles for the transport. Steering Pump Tariff Code.
     
    
        From www.evamo.com 
                    Varioserv® power steering pump Evamo Steering Pump Tariff Code  Pumps of subheading 841311 and 841319, fuel, lubricating or cooling medium pumps for internal combustion. Otm prepared data using harmonized tariff system codes, schedule b codes, and north american industry classification schedule. The applicable subheading for the power steering pump will be 8413.60.0020, harmonized tariff schedule of the united states (htsus), which. Use our simple and easy to use hs. Steering Pump Tariff Code.
     
    
        From www.lrworkshop.com 
                    Power Steering Pump 2.5 TD Find Land Rover parts at LR Steering Pump Tariff Code  Visit us online to get the. Pumps of subheading 841311 and 841319, fuel, lubricating or cooling medium pumps for internal combustion. Visit us online to get the. Parts for steering wheels, steering columns and steering boxes, for tractors, motor vehicles for the transport of ten or more. Hydraulic fluid power gear pumps (excl. The applicable subheading for the power steering. Steering Pump Tariff Code.
     
    
        From www.shaftec.com 
                    Steering Pumps from Shaftec Steering Pump Tariff Code  Pumps of subheading 841311 and 841319, fuel, lubricating or cooling medium pumps for internal combustion. Hydraulic fluid power gear pumps (excl. Visit us online to get the. Otm prepared data using harmonized tariff system codes, schedule b codes, and north american industry classification schedule. Visit us online to get the. The applicable subheading for the power steering pump will be. Steering Pump Tariff Code.
     
    
        From hxeedmmmo.blob.core.windows.net 
                    Electric Water Pump Tariff Code at Eric Drexler blog Steering Pump Tariff Code  Hydraulic fluid power gear pumps (excl. Otm prepared data using harmonized tariff system codes, schedule b codes, and north american industry classification schedule. Use our simple and easy to use hs (harmonized system) and hts (harmonized tariff schedule) code lookup tool to find the tariff code for products that you plan on importing into the. Visit us online to get. Steering Pump Tariff Code.
     
    
        From www.autozone.com 
                     Repair Guides Steering Power Steering Pumps Steering Pump Tariff Code  Hydraulic fluid power gear pumps (excl. Pumps of subheading 841311 and 841319, fuel, lubricating or cooling medium pumps for internal combustion. Use our simple and easy to use hs (harmonized system) and hts (harmonized tariff schedule) code lookup tool to find the tariff code for products that you plan on importing into the. Otm prepared data using harmonized tariff system. Steering Pump Tariff Code.
     
    
        From rcdperf.com 
                    6.4L Ford Power Steering Pump RCD Performance Steering Pump Tariff Code  Use our simple and easy to use hs (harmonized system) and hts (harmonized tariff schedule) code lookup tool to find the tariff code for products that you plan on importing into the. Parts for steering wheels, steering columns and steering boxes, for tractors, motor vehicles for the transport of ten or more. Visit us online to get the. Visit us. Steering Pump Tariff Code.
     
    
        From www.buyautoparts.com 
                    1999 Pontiac Grand Am Power Steering Pump 3.4L Engine Supplied Steering Pump Tariff Code  Otm prepared data using harmonized tariff system codes, schedule b codes, and north american industry classification schedule. The applicable subheading for the power steering pump will be 8413.60.0020, harmonized tariff schedule of the united states (htsus), which. Visit us online to get the. Hydraulic fluid power gear pumps (excl. Parts for steering wheels, steering columns and steering boxes, for tractors,. Steering Pump Tariff Code.
     
    
        From www.alibaba.com 
                    Steering Pump 4432036250 4431037070 4431036190 4431037050 44320 Steering Pump Tariff Code  Visit us online to get the. The applicable subheading for the power steering pump will be 8413.60.0020, harmonized tariff schedule of the united states (htsus), which. Hydraulic fluid power gear pumps (excl. Otm prepared data using harmonized tariff system codes, schedule b codes, and north american industry classification schedule. Pumps of subheading 841311 and 841319, fuel, lubricating or cooling medium. Steering Pump Tariff Code.
     
    
        From www.recruitmentblogs.com.au 
                    Effortless Control Holden Commodore Power Steering Pump Steering Pump Tariff Code  The applicable subheading for the power steering pump will be 8413.60.0020, harmonized tariff schedule of the united states (htsus), which. Visit us online to get the. Otm prepared data using harmonized tariff system codes, schedule b codes, and north american industry classification schedule. Hydraulic fluid power gear pumps (excl. Pumps of subheading 841311 and 841319, fuel, lubricating or cooling medium. Steering Pump Tariff Code.
     
    
        From www.hy-capacity.com 
                    HM523090 Steering Pumps & Motors Tractor Hydraulic HyCapacity Steering Pump Tariff Code  Visit us online to get the. The applicable subheading for the power steering pump will be 8413.60.0020, harmonized tariff schedule of the united states (htsus), which. Parts for steering wheels, steering columns and steering boxes, for tractors, motor vehicles for the transport of ten or more. Use our simple and easy to use hs (harmonized system) and hts (harmonized tariff. Steering Pump Tariff Code.
     
    
        From www.proxyparts.com 
                    Power steering pumps with engine code 2ADFHV stock Steering Pump Tariff Code  Visit us online to get the. Pumps of subheading 841311 and 841319, fuel, lubricating or cooling medium pumps for internal combustion. Hydraulic fluid power gear pumps (excl. Parts for steering wheels, steering columns and steering boxes, for tractors, motor vehicles for the transport of ten or more. Otm prepared data using harmonized tariff system codes, schedule b codes, and north. Steering Pump Tariff Code.
     
    
        From shop.groupefreno.ca 
                    Steering Pump Groupe Freno Steering Pump Tariff Code  Visit us online to get the. Use our simple and easy to use hs (harmonized system) and hts (harmonized tariff schedule) code lookup tool to find the tariff code for products that you plan on importing into the. Hydraulic fluid power gear pumps (excl. The applicable subheading for the power steering pump will be 8413.60.0020, harmonized tariff schedule of the. Steering Pump Tariff Code.
     
    
        From autovehicleparts.com 
                    Power Steering Pump Most common ways of replacing Damaged Steering Pump Tariff Code  Otm prepared data using harmonized tariff system codes, schedule b codes, and north american industry classification schedule. Pumps of subheading 841311 and 841319, fuel, lubricating or cooling medium pumps for internal combustion. Visit us online to get the. Parts for steering wheels, steering columns and steering boxes, for tractors, motor vehicles for the transport of ten or more. Use our. Steering Pump Tariff Code.
     
    
        From www.buyautoparts.com 
                    Power Steering Pump Types Steering Pump Tariff Code  Visit us online to get the. Hydraulic fluid power gear pumps (excl. Visit us online to get the. Pumps of subheading 841311 and 841319, fuel, lubricating or cooling medium pumps for internal combustion. Parts for steering wheels, steering columns and steering boxes, for tractors, motor vehicles for the transport of ten or more. Otm prepared data using harmonized tariff system. Steering Pump Tariff Code.
     
    
        From weingartz.com 
                    ARIMain WEINGARTZ Steering Pump Tariff Code  The applicable subheading for the power steering pump will be 8413.60.0020, harmonized tariff schedule of the united states (htsus), which. Pumps of subheading 841311 and 841319, fuel, lubricating or cooling medium pumps for internal combustion. Parts for steering wheels, steering columns and steering boxes, for tractors, motor vehicles for the transport of ten or more. Otm prepared data using harmonized. Steering Pump Tariff Code.
     
    
        From device.report 
                    vetus MTC30 Series Hydraulic Steering System Instruction Manual Steering Pump Tariff Code  Parts for steering wheels, steering columns and steering boxes, for tractors, motor vehicles for the transport of ten or more. Otm prepared data using harmonized tariff system codes, schedule b codes, and north american industry classification schedule. Use our simple and easy to use hs (harmonized system) and hts (harmonized tariff schedule) code lookup tool to find the tariff code. Steering Pump Tariff Code.
     
    
        From parts.nissanusa.com 
                    Nissan Axxess Oil Seal Kit. Seal Kit Power Steering Pump. MT, CAL, LAM Steering Pump Tariff Code  The applicable subheading for the power steering pump will be 8413.60.0020, harmonized tariff schedule of the united states (htsus), which. Pumps of subheading 841311 and 841319, fuel, lubricating or cooling medium pumps for internal combustion. Parts for steering wheels, steering columns and steering boxes, for tractors, motor vehicles for the transport of ten or more. Use our simple and easy. Steering Pump Tariff Code.
     
    
        From goldenstarintl.com 
                    Exploring the Top 10 Power Steering Pump Manufacturers in 2023 Brake Steering Pump Tariff Code  Hydraulic fluid power gear pumps (excl. Otm prepared data using harmonized tariff system codes, schedule b codes, and north american industry classification schedule. The applicable subheading for the power steering pump will be 8413.60.0020, harmonized tariff schedule of the united states (htsus), which. Visit us online to get the. Pumps of subheading 841311 and 841319, fuel, lubricating or cooling medium. Steering Pump Tariff Code.
     
    
        From www.lrworkshop.com 
                    Power Steering Pump 2.8 BMW M52 Find Land Rover parts at LR Steering Pump Tariff Code  Pumps of subheading 841311 and 841319, fuel, lubricating or cooling medium pumps for internal combustion. The applicable subheading for the power steering pump will be 8413.60.0020, harmonized tariff schedule of the united states (htsus), which. Hydraulic fluid power gear pumps (excl. Visit us online to get the. Use our simple and easy to use hs (harmonized system) and hts (harmonized. Steering Pump Tariff Code.
     
    
        From www.bookairfreight.com 
                    Ultimate Guide Import Taxes, Duties & Fees from China to the US Steering Pump Tariff Code  Visit us online to get the. Otm prepared data using harmonized tariff system codes, schedule b codes, and north american industry classification schedule. Pumps of subheading 841311 and 841319, fuel, lubricating or cooling medium pumps for internal combustion. The applicable subheading for the power steering pump will be 8413.60.0020, harmonized tariff schedule of the united states (htsus), which. Hydraulic fluid. Steering Pump Tariff Code.
     
    
        From www.proxyparts.com 
                    Power steering pumps with engine code X20X stock Steering Pump Tariff Code  Parts for steering wheels, steering columns and steering boxes, for tractors, motor vehicles for the transport of ten or more. Use our simple and easy to use hs (harmonized system) and hts (harmonized tariff schedule) code lookup tool to find the tariff code for products that you plan on importing into the. Pumps of subheading 841311 and 841319, fuel, lubricating. Steering Pump Tariff Code.
     
    
        From www.autozone.com 
                     Repair Guides Steering Power Steering Pumps Steering Pump Tariff Code  Pumps of subheading 841311 and 841319, fuel, lubricating or cooling medium pumps for internal combustion. Hydraulic fluid power gear pumps (excl. Visit us online to get the. The applicable subheading for the power steering pump will be 8413.60.0020, harmonized tariff schedule of the united states (htsus), which. Visit us online to get the. Use our simple and easy to use. Steering Pump Tariff Code.
     
    
        From www.youtube.com 
                    Power Steering Pump Problem Solve 🔥How To Dismantle Power Steering Pump Steering Pump Tariff Code  Pumps of subheading 841311 and 841319, fuel, lubricating or cooling medium pumps for internal combustion. Hydraulic fluid power gear pumps (excl. Visit us online to get the. Use our simple and easy to use hs (harmonized system) and hts (harmonized tariff schedule) code lookup tool to find the tariff code for products that you plan on importing into the. Parts. Steering Pump Tariff Code.
     
    
        From pocketturbo.com 
                    Steering Assist Fault Service Required Causes and Fixes Steering Pump Tariff Code  Parts for steering wheels, steering columns and steering boxes, for tractors, motor vehicles for the transport of ten or more. Use our simple and easy to use hs (harmonized system) and hts (harmonized tariff schedule) code lookup tool to find the tariff code for products that you plan on importing into the. Pumps of subheading 841311 and 841319, fuel, lubricating. Steering Pump Tariff Code.
     
    
        From www.hy-capacity.com 
                    HR17622 Steering Pumps & Motors Tractor Hydraulic HyCapacity Steering Pump Tariff Code  Visit us online to get the. Hydraulic fluid power gear pumps (excl. Visit us online to get the. The applicable subheading for the power steering pump will be 8413.60.0020, harmonized tariff schedule of the united states (htsus), which. Otm prepared data using harmonized tariff system codes, schedule b codes, and north american industry classification schedule. Parts for steering wheels, steering. Steering Pump Tariff Code.
     
    
        From chryslerretail.cml.oeconnection.com 
                    5154663AC FCA Power Steering Pump OEC Chrysler Retail Demo Site Steering Pump Tariff Code  Otm prepared data using harmonized tariff system codes, schedule b codes, and north american industry classification schedule. Pumps of subheading 841311 and 841319, fuel, lubricating or cooling medium pumps for internal combustion. The applicable subheading for the power steering pump will be 8413.60.0020, harmonized tariff schedule of the united states (htsus), which. Use our simple and easy to use hs. Steering Pump Tariff Code.
     
    
        From www.jeepzine.com 
                    Replacing Your Power Steering Pump in 6 Steps Steering Pump Tariff Code  Otm prepared data using harmonized tariff system codes, schedule b codes, and north american industry classification schedule. Visit us online to get the. Parts for steering wheels, steering columns and steering boxes, for tractors, motor vehicles for the transport of ten or more. Hydraulic fluid power gear pumps (excl. The applicable subheading for the power steering pump will be 8413.60.0020,. Steering Pump Tariff Code.
     
    
        From exoxtudtj.blob.core.windows.net 
                    Piston Pump Tariff Code at Thomas Bryant blog Steering Pump Tariff Code  Parts for steering wheels, steering columns and steering boxes, for tractors, motor vehicles for the transport of ten or more. The applicable subheading for the power steering pump will be 8413.60.0020, harmonized tariff schedule of the united states (htsus), which. Use our simple and easy to use hs (harmonized system) and hts (harmonized tariff schedule) code lookup tool to find. Steering Pump Tariff Code.
     
    
        From www.vanderhaags.com 
                    Automann 465.LUK.16 Steering Pump for Sale Steering Pump Tariff Code  Visit us online to get the. Hydraulic fluid power gear pumps (excl. Use our simple and easy to use hs (harmonized system) and hts (harmonized tariff schedule) code lookup tool to find the tariff code for products that you plan on importing into the. Visit us online to get the. Parts for steering wheels, steering columns and steering boxes, for. Steering Pump Tariff Code.
     
    
        From www.streetmusclemag.com 
                    Video Adjusting Power Steering Pump Flow Rates With Turn One Steering Pump Tariff Code  Otm prepared data using harmonized tariff system codes, schedule b codes, and north american industry classification schedule. Pumps of subheading 841311 and 841319, fuel, lubricating or cooling medium pumps for internal combustion. Use our simple and easy to use hs (harmonized system) and hts (harmonized tariff schedule) code lookup tool to find the tariff code for products that you plan. Steering Pump Tariff Code.
     
    
        From www.autovivo.it 
                    Hydraulic steering pumps and pipings Autovivo SRL Steering Pump Tariff Code  Parts for steering wheels, steering columns and steering boxes, for tractors, motor vehicles for the transport of ten or more. Pumps of subheading 841311 and 841319, fuel, lubricating or cooling medium pumps for internal combustion. Visit us online to get the. Visit us online to get the. Hydraulic fluid power gear pumps (excl. The applicable subheading for the power steering. Steering Pump Tariff Code.
     
    
        From brakesteeringrebuilders.com 
                    STEERING COMPONENTS Brake & Steering Rebuilders Steering Pump Tariff Code  The applicable subheading for the power steering pump will be 8413.60.0020, harmonized tariff schedule of the united states (htsus), which. Pumps of subheading 841311 and 841319, fuel, lubricating or cooling medium pumps for internal combustion. Visit us online to get the. Hydraulic fluid power gear pumps (excl. Use our simple and easy to use hs (harmonized system) and hts (harmonized. Steering Pump Tariff Code.
     
    
        From www.adsitco.com 
                    Mercedes Power Steering Pump Adsit Steering Pump Tariff Code  The applicable subheading for the power steering pump will be 8413.60.0020, harmonized tariff schedule of the united states (htsus), which. Hydraulic fluid power gear pumps (excl. Otm prepared data using harmonized tariff system codes, schedule b codes, and north american industry classification schedule. Parts for steering wheels, steering columns and steering boxes, for tractors, motor vehicles for the transport of. Steering Pump Tariff Code.