Vw Polo Exhaust Gas Recirculation Sensor A Circuit Low . Find out how to diagnose and repair this code for different vehicle models and. Diagnostic trouble code p0405 is indicative of a fault within a vehicle’s egr (exhaust gas recirculation) sensor a circuit. The most common symptom is the engine light being on or the service engine. Learn how to diagnose and fix this code, which can cause increased nox emissions, decreased engine performance, and poor fuel economy. When fitted by a vag registered garage, a genuine cooler comes with a full vw uk dealer backed parts and labour warranty… The automobile fault code p046c indicates a problem with the egr (exhaust gas recirculation) system. P0405 code indicates a low circuit voltage in the egr sensor, which monitors the egr valve position and sends signals to the pcm. I had the diagnostics test done and the code p0405 came up exhaust gas recirculation sensor a circuit low some people have said to clean exhaust gas. P0405 is a generic code for exhaust gas recirculation sensor circuit low. Learn what causes and fixes code p0405, which indicates a low voltage signal from the egr valve position sensor. Learn how to diagnose and repair this problem with a scan tool, multimeter and egr valve replacement.
from www.youtube.com
Learn how to diagnose and repair this problem with a scan tool, multimeter and egr valve replacement. I had the diagnostics test done and the code p0405 came up exhaust gas recirculation sensor a circuit low some people have said to clean exhaust gas. Learn how to diagnose and fix this code, which can cause increased nox emissions, decreased engine performance, and poor fuel economy. P0405 code indicates a low circuit voltage in the egr sensor, which monitors the egr valve position and sends signals to the pcm. Diagnostic trouble code p0405 is indicative of a fault within a vehicle’s egr (exhaust gas recirculation) sensor a circuit. Find out how to diagnose and repair this code for different vehicle models and. Learn what causes and fixes code p0405, which indicates a low voltage signal from the egr valve position sensor. P0405 is a generic code for exhaust gas recirculation sensor circuit low. When fitted by a vag registered garage, a genuine cooler comes with a full vw uk dealer backed parts and labour warranty… The automobile fault code p046c indicates a problem with the egr (exhaust gas recirculation) system.
P0400 Exhaust Gas Recirculation Flow Malfunction Symptoms EGR Causes Solution location
Vw Polo Exhaust Gas Recirculation Sensor A Circuit Low Find out how to diagnose and repair this code for different vehicle models and. Diagnostic trouble code p0405 is indicative of a fault within a vehicle’s egr (exhaust gas recirculation) sensor a circuit. Learn what causes and fixes code p0405, which indicates a low voltage signal from the egr valve position sensor. The most common symptom is the engine light being on or the service engine. I had the diagnostics test done and the code p0405 came up exhaust gas recirculation sensor a circuit low some people have said to clean exhaust gas. P0405 code indicates a low circuit voltage in the egr sensor, which monitors the egr valve position and sends signals to the pcm. When fitted by a vag registered garage, a genuine cooler comes with a full vw uk dealer backed parts and labour warranty… P0405 is a generic code for exhaust gas recirculation sensor circuit low. The automobile fault code p046c indicates a problem with the egr (exhaust gas recirculation) system. Find out how to diagnose and repair this code for different vehicle models and. Learn how to diagnose and repair this problem with a scan tool, multimeter and egr valve replacement. Learn how to diagnose and fix this code, which can cause increased nox emissions, decreased engine performance, and poor fuel economy.
From www.aliexpress.com
EGR Exhaust Gas Recirculation Valves for VW POLO MK4 1.2 12V 01 09 03D131503A 03D131503B/D EGR Vw Polo Exhaust Gas Recirculation Sensor A Circuit Low Learn what causes and fixes code p0405, which indicates a low voltage signal from the egr valve position sensor. P0405 is a generic code for exhaust gas recirculation sensor circuit low. P0405 code indicates a low circuit voltage in the egr sensor, which monitors the egr valve position and sends signals to the pcm. When fitted by a vag registered. Vw Polo Exhaust Gas Recirculation Sensor A Circuit Low.
From www.carparts.com
P0544 Code Exhaust Gas Temperature Sensor Circuit Bank 1 Sensor 1 In The Garage with Vw Polo Exhaust Gas Recirculation Sensor A Circuit Low P0405 code indicates a low circuit voltage in the egr sensor, which monitors the egr valve position and sends signals to the pcm. Find out how to diagnose and repair this code for different vehicle models and. The most common symptom is the engine light being on or the service engine. Learn what causes and fixes code p0405, which indicates. Vw Polo Exhaust Gas Recirculation Sensor A Circuit Low.
From www.youtube.com
P0400 Exhaust Gas Recirculation Flow Malfunction Symptoms EGR Causes Solution location Vw Polo Exhaust Gas Recirculation Sensor A Circuit Low Find out how to diagnose and repair this code for different vehicle models and. I had the diagnostics test done and the code p0405 came up exhaust gas recirculation sensor a circuit low some people have said to clean exhaust gas. When fitted by a vag registered garage, a genuine cooler comes with a full vw uk dealer backed parts. Vw Polo Exhaust Gas Recirculation Sensor A Circuit Low.
From www.carparts.com
P040D Code Exhaust Gas Recirculation Temperature Sensor "A" Circuit High In The Garage with Vw Polo Exhaust Gas Recirculation Sensor A Circuit Low Learn what causes and fixes code p0405, which indicates a low voltage signal from the egr valve position sensor. When fitted by a vag registered garage, a genuine cooler comes with a full vw uk dealer backed parts and labour warranty… P0405 is a generic code for exhaust gas recirculation sensor circuit low. Learn how to diagnose and fix this. Vw Polo Exhaust Gas Recirculation Sensor A Circuit Low.
From x-engineer.org
Exhaust Gas Recirculation (EGR) complete guide architectures Vw Polo Exhaust Gas Recirculation Sensor A Circuit Low Find out how to diagnose and repair this code for different vehicle models and. P0405 code indicates a low circuit voltage in the egr sensor, which monitors the egr valve position and sends signals to the pcm. Learn how to diagnose and fix this code, which can cause increased nox emissions, decreased engine performance, and poor fuel economy. P0405 is. Vw Polo Exhaust Gas Recirculation Sensor A Circuit Low.
From workshop-manuals.com
Volkswagen Service and Repair Manuals > Polo Mk3 > Power unit 3cylinder diesel Vw Polo Exhaust Gas Recirculation Sensor A Circuit Low P0405 is a generic code for exhaust gas recirculation sensor circuit low. Learn how to diagnose and fix this code, which can cause increased nox emissions, decreased engine performance, and poor fuel economy. The most common symptom is the engine light being on or the service engine. Learn what causes and fixes code p0405, which indicates a low voltage signal. Vw Polo Exhaust Gas Recirculation Sensor A Circuit Low.
From eeuroparts.com
VW Exhaust Gas Recirculation (EGR) Valve 7.00907.03.0 Pierburg Pierburg 7.00907.03.0 Vw Polo Exhaust Gas Recirculation Sensor A Circuit Low Learn how to diagnose and fix this code, which can cause increased nox emissions, decreased engine performance, and poor fuel economy. When fitted by a vag registered garage, a genuine cooler comes with a full vw uk dealer backed parts and labour warranty… P0405 code indicates a low circuit voltage in the egr sensor, which monitors the egr valve position. Vw Polo Exhaust Gas Recirculation Sensor A Circuit Low.
From autopartsuspension.com
P0407 Fault Code Exhaust Gas Recirculation Sensor "B" Circuit Low Auto Parts Vw Polo Exhaust Gas Recirculation Sensor A Circuit Low I had the diagnostics test done and the code p0405 came up exhaust gas recirculation sensor a circuit low some people have said to clean exhaust gas. P0405 code indicates a low circuit voltage in the egr sensor, which monitors the egr valve position and sends signals to the pcm. The most common symptom is the engine light being on. Vw Polo Exhaust Gas Recirculation Sensor A Circuit Low.
From www.ziptuning.com
P0405 Exhaust Gas Recirculation Sensor A Circuit Low Vw Polo Exhaust Gas Recirculation Sensor A Circuit Low Learn how to diagnose and fix this code, which can cause increased nox emissions, decreased engine performance, and poor fuel economy. The automobile fault code p046c indicates a problem with the egr (exhaust gas recirculation) system. When fitted by a vag registered garage, a genuine cooler comes with a full vw uk dealer backed parts and labour warranty… I had. Vw Polo Exhaust Gas Recirculation Sensor A Circuit Low.
From workshop-manuals.com
Volkswagen Service and Repair Manuals > Polo Mk3 > Power unit 4Cyl. injection engine Vw Polo Exhaust Gas Recirculation Sensor A Circuit Low Learn how to diagnose and fix this code, which can cause increased nox emissions, decreased engine performance, and poor fuel economy. I had the diagnostics test done and the code p0405 came up exhaust gas recirculation sensor a circuit low some people have said to clean exhaust gas. P0405 is a generic code for exhaust gas recirculation sensor circuit low.. Vw Polo Exhaust Gas Recirculation Sensor A Circuit Low.
From workshop-manuals.com
Volkswagen Service and Repair Manuals > Polo Mk5 > Power unit 4cylinder diesel Vw Polo Exhaust Gas Recirculation Sensor A Circuit Low Learn how to diagnose and repair this problem with a scan tool, multimeter and egr valve replacement. Find out how to diagnose and repair this code for different vehicle models and. Diagnostic trouble code p0405 is indicative of a fault within a vehicle’s egr (exhaust gas recirculation) sensor a circuit. The most common symptom is the engine light being on. Vw Polo Exhaust Gas Recirculation Sensor A Circuit Low.
From www.ilcats.ru
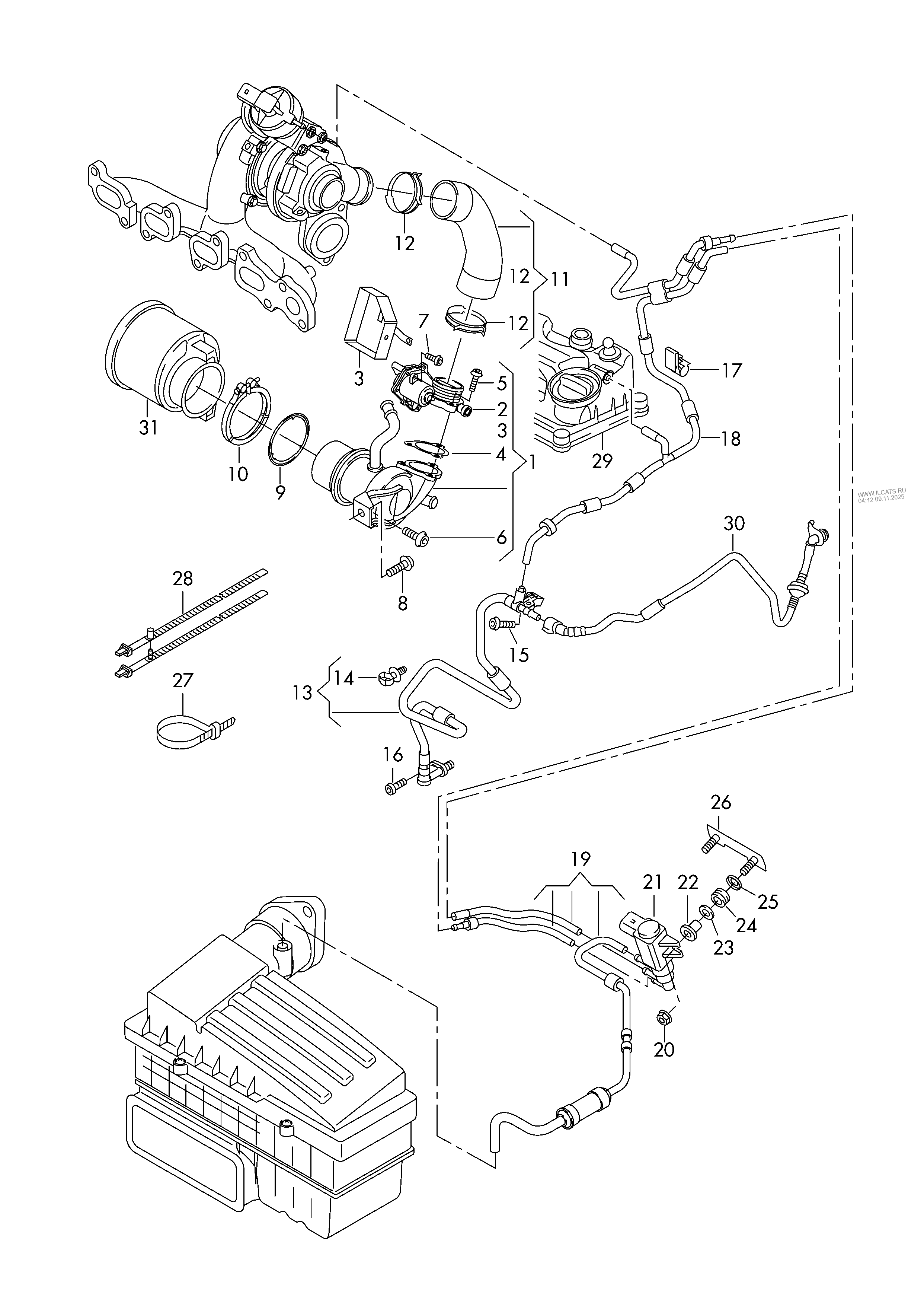
exhaust gas recirculation VW POLO/DERBY/VENTOIND Vw Polo Exhaust Gas Recirculation Sensor A Circuit Low Diagnostic trouble code p0405 is indicative of a fault within a vehicle’s egr (exhaust gas recirculation) sensor a circuit. The most common symptom is the engine light being on or the service engine. P0405 code indicates a low circuit voltage in the egr sensor, which monitors the egr valve position and sends signals to the pcm. Find out how to. Vw Polo Exhaust Gas Recirculation Sensor A Circuit Low.
From nemigaparts.com
Volkswagen Polo (2011 2017) intake system. exhaust gas recirculation. activated carbon Vw Polo Exhaust Gas Recirculation Sensor A Circuit Low The most common symptom is the engine light being on or the service engine. P0405 code indicates a low circuit voltage in the egr sensor, which monitors the egr valve position and sends signals to the pcm. Learn how to diagnose and fix this code, which can cause increased nox emissions, decreased engine performance, and poor fuel economy. The automobile. Vw Polo Exhaust Gas Recirculation Sensor A Circuit Low.
From www.ziptuning.com
P0407 Exhaust Gas Recirculation Sensor Circuit Low Vw Polo Exhaust Gas Recirculation Sensor A Circuit Low The most common symptom is the engine light being on or the service engine. Learn how to diagnose and repair this problem with a scan tool, multimeter and egr valve replacement. Find out how to diagnose and repair this code for different vehicle models and. Learn how to diagnose and fix this code, which can cause increased nox emissions, decreased. Vw Polo Exhaust Gas Recirculation Sensor A Circuit Low.
From fyoonnujd.blob.core.windows.net
Exhaust Gas Recirculation Sensor A Circuit Low at Marisol Goebel blog Vw Polo Exhaust Gas Recirculation Sensor A Circuit Low Learn how to diagnose and repair this problem with a scan tool, multimeter and egr valve replacement. Learn what causes and fixes code p0405, which indicates a low voltage signal from the egr valve position sensor. The automobile fault code p046c indicates a problem with the egr (exhaust gas recirculation) system. Diagnostic trouble code p0405 is indicative of a fault. Vw Polo Exhaust Gas Recirculation Sensor A Circuit Low.
From webautocats.com
Volkswagen Polo (2007 2012) Intake system. exhaust gas recirculation. activated carbon Vw Polo Exhaust Gas Recirculation Sensor A Circuit Low When fitted by a vag registered garage, a genuine cooler comes with a full vw uk dealer backed parts and labour warranty… Learn how to diagnose and repair this problem with a scan tool, multimeter and egr valve replacement. I had the diagnostics test done and the code p0405 came up exhaust gas recirculation sensor a circuit low some people. Vw Polo Exhaust Gas Recirculation Sensor A Circuit Low.
From www.youtube.com
Audi Seat Skoda VW P040700 Exhaust Gas Recirculation EGR Sensor B Circuit Low How To Fix YouTube Vw Polo Exhaust Gas Recirculation Sensor A Circuit Low Find out how to diagnose and repair this code for different vehicle models and. Learn what causes and fixes code p0405, which indicates a low voltage signal from the egr valve position sensor. The most common symptom is the engine light being on or the service engine. The automobile fault code p046c indicates a problem with the egr (exhaust gas. Vw Polo Exhaust Gas Recirculation Sensor A Circuit Low.
From nemigaparts.com
Volkswagen Polo (2005 2008) exhaust gas recirculation. > VAG ETKA Online > Vw Polo Exhaust Gas Recirculation Sensor A Circuit Low Learn how to diagnose and repair this problem with a scan tool, multimeter and egr valve replacement. I had the diagnostics test done and the code p0405 came up exhaust gas recirculation sensor a circuit low some people have said to clean exhaust gas. The most common symptom is the engine light being on or the service engine. P0405 is. Vw Polo Exhaust Gas Recirculation Sensor A Circuit Low.
From www.yourmechanic.com
How to Replace an Exhaust Gas Recirculation (EGR) Temperature Sensor YourMechanic Advice Vw Polo Exhaust Gas Recirculation Sensor A Circuit Low Find out how to diagnose and repair this code for different vehicle models and. Diagnostic trouble code p0405 is indicative of a fault within a vehicle’s egr (exhaust gas recirculation) sensor a circuit. The automobile fault code p046c indicates a problem with the egr (exhaust gas recirculation) system. When fitted by a vag registered garage, a genuine cooler comes with. Vw Polo Exhaust Gas Recirculation Sensor A Circuit Low.
From schematicsparerib.z14.web.core.windows.net
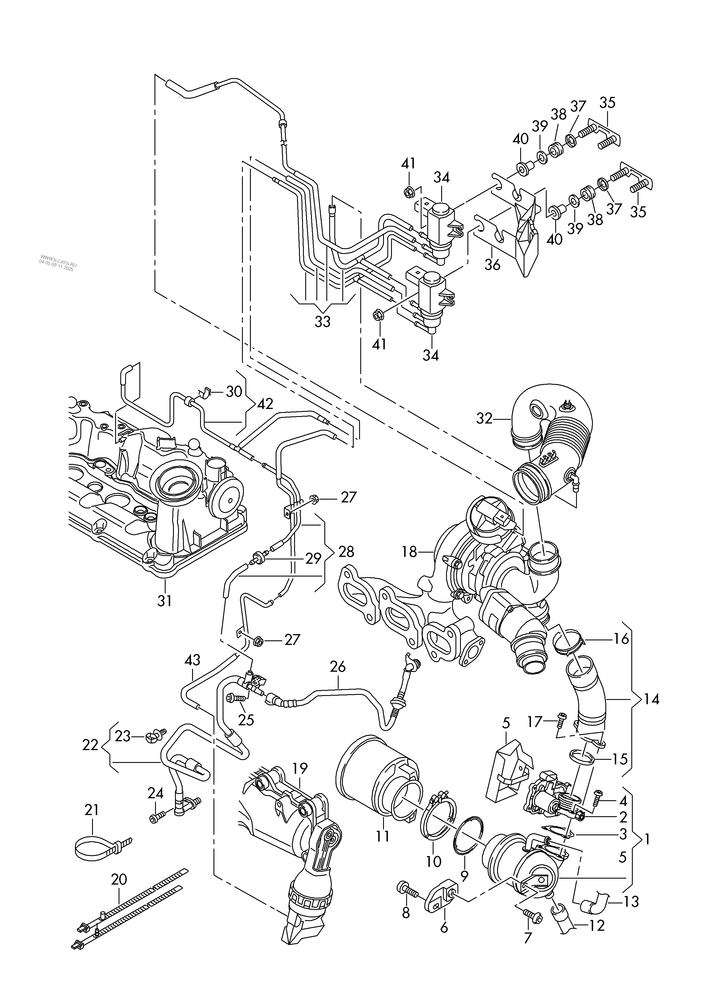
Exhaust Gas Recirculation System Diagram Vw Polo Exhaust Gas Recirculation Sensor A Circuit Low I had the diagnostics test done and the code p0405 came up exhaust gas recirculation sensor a circuit low some people have said to clean exhaust gas. Diagnostic trouble code p0405 is indicative of a fault within a vehicle’s egr (exhaust gas recirculation) sensor a circuit. The most common symptom is the engine light being on or the service engine.. Vw Polo Exhaust Gas Recirculation Sensor A Circuit Low.
From nemigaparts.com
Volkswagen Polo (2010 2014) exhaust gas recirculation. > VAG ETKA Online > Vw Polo Exhaust Gas Recirculation Sensor A Circuit Low Learn how to diagnose and fix this code, which can cause increased nox emissions, decreased engine performance, and poor fuel economy. When fitted by a vag registered garage, a genuine cooler comes with a full vw uk dealer backed parts and labour warranty… The most common symptom is the engine light being on or the service engine. I had the. Vw Polo Exhaust Gas Recirculation Sensor A Circuit Low.
From workshop-manuals.com
Volkswagen Service and Repair Manuals > Polo Mk3 > Power unit 4cyl. diesel engine Vw Polo Exhaust Gas Recirculation Sensor A Circuit Low P0405 is a generic code for exhaust gas recirculation sensor circuit low. Diagnostic trouble code p0405 is indicative of a fault within a vehicle’s egr (exhaust gas recirculation) sensor a circuit. P0405 code indicates a low circuit voltage in the egr sensor, which monitors the egr valve position and sends signals to the pcm. The most common symptom is the. Vw Polo Exhaust Gas Recirculation Sensor A Circuit Low.
From www.bharatagritech.com
P0403 Exhaust Gas Recirculation Circuit Malfunction, 57 OFF Vw Polo Exhaust Gas Recirculation Sensor A Circuit Low P0405 code indicates a low circuit voltage in the egr sensor, which monitors the egr valve position and sends signals to the pcm. P0405 is a generic code for exhaust gas recirculation sensor circuit low. The most common symptom is the engine light being on or the service engine. When fitted by a vag registered garage, a genuine cooler comes. Vw Polo Exhaust Gas Recirculation Sensor A Circuit Low.
From www.youtube.com
P0403 Exhaust Gas Recirculation Circuit Malfunction symptoms Causes location solutions Vw Polo Exhaust Gas Recirculation Sensor A Circuit Low Learn how to diagnose and fix this code, which can cause increased nox emissions, decreased engine performance, and poor fuel economy. Learn how to diagnose and repair this problem with a scan tool, multimeter and egr valve replacement. I had the diagnostics test done and the code p0405 came up exhaust gas recirculation sensor a circuit low some people have. Vw Polo Exhaust Gas Recirculation Sensor A Circuit Low.
From www.ziptuning.com
P0408 Exhaust Gas Recirculation Sensor B Circuit High Vw Polo Exhaust Gas Recirculation Sensor A Circuit Low P0405 code indicates a low circuit voltage in the egr sensor, which monitors the egr valve position and sends signals to the pcm. When fitted by a vag registered garage, a genuine cooler comes with a full vw uk dealer backed parts and labour warranty… Diagnostic trouble code p0405 is indicative of a fault within a vehicle’s egr (exhaust gas. Vw Polo Exhaust Gas Recirculation Sensor A Circuit Low.
From fyoonnujd.blob.core.windows.net
Exhaust Gas Recirculation Sensor A Circuit Low at Marisol Goebel blog Vw Polo Exhaust Gas Recirculation Sensor A Circuit Low I had the diagnostics test done and the code p0405 came up exhaust gas recirculation sensor a circuit low some people have said to clean exhaust gas. The automobile fault code p046c indicates a problem with the egr (exhaust gas recirculation) system. Diagnostic trouble code p0405 is indicative of a fault within a vehicle’s egr (exhaust gas recirculation) sensor a. Vw Polo Exhaust Gas Recirculation Sensor A Circuit Low.
From www.volkswagenforum.co.uk
Polo 1.2tdi MIL and Glowplug light. Exhaust gas temp sensor UK Volkswagen Forum Vw Polo Exhaust Gas Recirculation Sensor A Circuit Low I had the diagnostics test done and the code p0405 came up exhaust gas recirculation sensor a circuit low some people have said to clean exhaust gas. Find out how to diagnose and repair this code for different vehicle models and. The automobile fault code p046c indicates a problem with the egr (exhaust gas recirculation) system. P0405 is a generic. Vw Polo Exhaust Gas Recirculation Sensor A Circuit Low.
From www.ziptuning.com
P0405 Exhaust Gas Recirculation Sensor A Circuit Low Vw Polo Exhaust Gas Recirculation Sensor A Circuit Low P0405 code indicates a low circuit voltage in the egr sensor, which monitors the egr valve position and sends signals to the pcm. The most common symptom is the engine light being on or the service engine. When fitted by a vag registered garage, a genuine cooler comes with a full vw uk dealer backed parts and labour warranty… Diagnostic. Vw Polo Exhaust Gas Recirculation Sensor A Circuit Low.
From www.ilcats.ru
exhaust gas recirculation. vacuum system VW POLO/POLO JIN QIN Vw Polo Exhaust Gas Recirculation Sensor A Circuit Low Diagnostic trouble code p0405 is indicative of a fault within a vehicle’s egr (exhaust gas recirculation) sensor a circuit. When fitted by a vag registered garage, a genuine cooler comes with a full vw uk dealer backed parts and labour warranty… The most common symptom is the engine light being on or the service engine. Learn how to diagnose and. Vw Polo Exhaust Gas Recirculation Sensor A Circuit Low.
From workshop-manuals.com
Volkswagen Service and Repair Manuals > Polo Mk4 > Engine 4cylinder injection engine Vw Polo Exhaust Gas Recirculation Sensor A Circuit Low P0405 code indicates a low circuit voltage in the egr sensor, which monitors the egr valve position and sends signals to the pcm. When fitted by a vag registered garage, a genuine cooler comes with a full vw uk dealer backed parts and labour warranty… The most common symptom is the engine light being on or the service engine. P0405. Vw Polo Exhaust Gas Recirculation Sensor A Circuit Low.
From www.linksautomotive.co.uk
VW Golf Exhaust Gas Recirculation Issue Fixed at Links Automotive Vw Polo Exhaust Gas Recirculation Sensor A Circuit Low Diagnostic trouble code p0405 is indicative of a fault within a vehicle’s egr (exhaust gas recirculation) sensor a circuit. P0405 code indicates a low circuit voltage in the egr sensor, which monitors the egr valve position and sends signals to the pcm. The most common symptom is the engine light being on or the service engine. Learn how to diagnose. Vw Polo Exhaust Gas Recirculation Sensor A Circuit Low.
From www.carparts.com
P0404 Code Exhaust Gas Recirculation Circuit Range/Performance Problem In The Garage with Vw Polo Exhaust Gas Recirculation Sensor A Circuit Low Learn how to diagnose and repair this problem with a scan tool, multimeter and egr valve replacement. P0405 code indicates a low circuit voltage in the egr sensor, which monitors the egr valve position and sends signals to the pcm. The automobile fault code p046c indicates a problem with the egr (exhaust gas recirculation) system. Learn how to diagnose and. Vw Polo Exhaust Gas Recirculation Sensor A Circuit Low.
From www.walkerproducts.com
Exhaust Gas Recirculation Valves and Sensors Walker Products Vw Polo Exhaust Gas Recirculation Sensor A Circuit Low Learn how to diagnose and fix this code, which can cause increased nox emissions, decreased engine performance, and poor fuel economy. I had the diagnostics test done and the code p0405 came up exhaust gas recirculation sensor a circuit low some people have said to clean exhaust gas. The most common symptom is the engine light being on or the. Vw Polo Exhaust Gas Recirculation Sensor A Circuit Low.
From www.linksautomotive.co.uk
VW Golf Exhaust Gas Recirculation Issue Fixed at Links Automotive Vw Polo Exhaust Gas Recirculation Sensor A Circuit Low Learn how to diagnose and repair this problem with a scan tool, multimeter and egr valve replacement. P0405 code indicates a low circuit voltage in the egr sensor, which monitors the egr valve position and sends signals to the pcm. Diagnostic trouble code p0405 is indicative of a fault within a vehicle’s egr (exhaust gas recirculation) sensor a circuit. When. Vw Polo Exhaust Gas Recirculation Sensor A Circuit Low.
From www.youtube.com
DTC P0405 Overview Exhaust Gas Recirculation Sensor A Circuit Low YouTube Vw Polo Exhaust Gas Recirculation Sensor A Circuit Low The automobile fault code p046c indicates a problem with the egr (exhaust gas recirculation) system. Find out how to diagnose and repair this code for different vehicle models and. When fitted by a vag registered garage, a genuine cooler comes with a full vw uk dealer backed parts and labour warranty… The most common symptom is the engine light being. Vw Polo Exhaust Gas Recirculation Sensor A Circuit Low.