Blueprints Lines . Learning to read blueprints can be hard. beginner’s guide to blueprint reading. They provide details about the height of different parts of the structure and give a perspective on how the building will look from the outside. These show the exterior views of the building. Long break lines are thin solid lines that have zigzags to indicate a break. a visible line, or object line is a thick continuous line, used to outline the visible edges or contours of an object. May 5, 2022 by brandon fowler. elevation, section, and site plans. These include outlines of walls, windows, roof ridges, stairs, and any other visible or exposed edges. The two variations of break lines common to blueprints are the long break line and the short break line (figure \(\pageindex{11}\)). What are the three tips for. All of the basic components of an engineering drawing are detailed below with links throughout to give you more info on each subject. here are the key line types and what they signify: That’s why we’ve broken down the process into bite size chunks. Any components and edges that would be directly visible in the final constructed building are shown with solid, thick visible lines.
from www.zameen.com
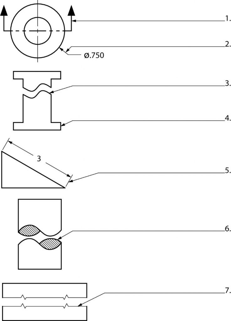
These include outlines of walls, windows, roof ridges, stairs, and any other visible or exposed edges. break lines are drawn to show that a part has been shortened to reduce its size on the drawing. a visible line, or object line is a thick continuous line, used to outline the visible edges or contours of an object. That’s why we’ve broken down the process into bite size chunks. Long break lines are thin solid lines that have zigzags to indicate a break. They provide details about the height of different parts of the structure and give a perspective on how the building will look from the outside. elevation, section, and site plans. The two variations of break lines common to blueprints are the long break line and the short break line (figure \(\pageindex{11}\)). beginner’s guide to blueprint reading. These show the exterior views of the building.
Complete Guide to Reading Construction Blueprints Zameen Blog
Blueprints Lines Any components and edges that would be directly visible in the final constructed building are shown with solid, thick visible lines. These include outlines of walls, windows, roof ridges, stairs, and any other visible or exposed edges. here are the key line types and what they signify: All of the basic components of an engineering drawing are detailed below with links throughout to give you more info on each subject. The two variations of break lines common to blueprints are the long break line and the short break line (figure \(\pageindex{11}\)). elevation, section, and site plans. What are the three tips for. They provide details about the height of different parts of the structure and give a perspective on how the building will look from the outside. That’s why we’ve broken down the process into bite size chunks. break lines are drawn to show that a part has been shortened to reduce its size on the drawing. May 5, 2022 by brandon fowler. beginner’s guide to blueprint reading. Any components and edges that would be directly visible in the final constructed building are shown with solid, thick visible lines. These show the exterior views of the building. Learning to read blueprints can be hard. Long break lines are thin solid lines that have zigzags to indicate a break.
From openoregon.pressbooks.pub
Dimensioning Basic Blueprint Reading Blueprints Lines Any components and edges that would be directly visible in the final constructed building are shown with solid, thick visible lines. These include outlines of walls, windows, roof ridges, stairs, and any other visible or exposed edges. They provide details about the height of different parts of the structure and give a perspective on how the building will look from. Blueprints Lines.
From www.theengineerspost.com
10 Different Types of Lines Used In Engineering Drawing Blueprints Lines All of the basic components of an engineering drawing are detailed below with links throughout to give you more info on each subject. Any components and edges that would be directly visible in the final constructed building are shown with solid, thick visible lines. That’s why we’ve broken down the process into bite size chunks. elevation, section, and site. Blueprints Lines.
From www.alamy.com
Blueprint line icons collection. Plan, Design, Construction Blueprints Lines They provide details about the height of different parts of the structure and give a perspective on how the building will look from the outside. What are the three tips for. elevation, section, and site plans. here are the key line types and what they signify: These include outlines of walls, windows, roof ridges, stairs, and any other. Blueprints Lines.
From studylib.net
Blueprint Line Types Walsh Manufacturing Blueprints Lines Long break lines are thin solid lines that have zigzags to indicate a break. beginner’s guide to blueprint reading. These show the exterior views of the building. a visible line, or object line is a thick continuous line, used to outline the visible edges or contours of an object. All of the basic components of an engineering drawing. Blueprints Lines.
From darnelltechnical.com
Technical Drawing vs Blueprint What Is the Difference? Darnell Blueprints Lines a visible line, or object line is a thick continuous line, used to outline the visible edges or contours of an object. These include outlines of walls, windows, roof ridges, stairs, and any other visible or exposed edges. Long break lines are thin solid lines that have zigzags to indicate a break. May 5, 2022 by brandon fowler. What. Blueprints Lines.
From www.vectorstock.com
Blue square grid blueprint Royalty Free Vector Image Blueprints Lines That’s why we’ve broken down the process into bite size chunks. a visible line, or object line is a thick continuous line, used to outline the visible edges or contours of an object. Long break lines are thin solid lines that have zigzags to indicate a break. They provide details about the height of different parts of the structure. Blueprints Lines.
From www.pinterest.at
Basic Guide to Blueprints How to Read a Blueprint 2022 MasterClass Blueprints Lines Learning to read blueprints can be hard. beginner’s guide to blueprint reading. That’s why we’ve broken down the process into bite size chunks. elevation, section, and site plans. What are the three tips for. May 5, 2022 by brandon fowler. All of the basic components of an engineering drawing are detailed below with links throughout to give you. Blueprints Lines.
From schematicmatika0ezei.z13.web.core.windows.net
Blueprint Symbols Electricians Need To Know Blueprints Lines These show the exterior views of the building. They provide details about the height of different parts of the structure and give a perspective on how the building will look from the outside. All of the basic components of an engineering drawing are detailed below with links throughout to give you more info on each subject. Learning to read blueprints. Blueprints Lines.
From circuitdiagramknubs.z22.web.core.windows.net
How To Read Blueprints And Schematics Blueprints Lines These show the exterior views of the building. a visible line, or object line is a thick continuous line, used to outline the visible edges or contours of an object. All of the basic components of an engineering drawing are detailed below with links throughout to give you more info on each subject. These include outlines of walls, windows,. Blueprints Lines.
From www.istockphoto.com
Architectural Blueprint Line Outline Icon Stock Illustration Download Blueprints Lines beginner’s guide to blueprint reading. The two variations of break lines common to blueprints are the long break line and the short break line (figure \(\pageindex{11}\)). These include outlines of walls, windows, roof ridges, stairs, and any other visible or exposed edges. here are the key line types and what they signify: May 5, 2022 by brandon fowler.. Blueprints Lines.
From www.vectorstock.com
Blueprint line icons collection plan design Vector Image Blueprints Lines The two variations of break lines common to blueprints are the long break line and the short break line (figure \(\pageindex{11}\)). They provide details about the height of different parts of the structure and give a perspective on how the building will look from the outside. Long break lines are thin solid lines that have zigzags to indicate a break.. Blueprints Lines.
From openoregon.pressbooks.pub
The Language of Lines Basic Blueprint Reading Blueprints Lines These include outlines of walls, windows, roof ridges, stairs, and any other visible or exposed edges. That’s why we’ve broken down the process into bite size chunks. What are the three tips for. They provide details about the height of different parts of the structure and give a perspective on how the building will look from the outside. The two. Blueprints Lines.
From www.dreamstime.com
Architectural Blueprint Line Icons Collection. Plan, Blueprint, Design Blueprints Lines elevation, section, and site plans. break lines are drawn to show that a part has been shortened to reduce its size on the drawing. All of the basic components of an engineering drawing are detailed below with links throughout to give you more info on each subject. These show the exterior views of the building. They provide details. Blueprints Lines.
From www.mcgill.ca
Principles of Dimensioning Engineering Design McGill University Blueprints Lines These show the exterior views of the building. a visible line, or object line is a thick continuous line, used to outline the visible edges or contours of an object. The two variations of break lines common to blueprints are the long break line and the short break line (figure \(\pageindex{11}\)). What are the three tips for. elevation,. Blueprints Lines.
From www.dreamstime.com
Creating Blueprints Line Icons Collection. Design, Planning Blueprints Lines The two variations of break lines common to blueprints are the long break line and the short break line (figure \(\pageindex{11}\)). They provide details about the height of different parts of the structure and give a perspective on how the building will look from the outside. May 5, 2022 by brandon fowler. That’s why we’ve broken down the process into. Blueprints Lines.
From knowwelding.weebly.com
Drawing and Welding Symbol Interpretation Welding Class Blueprints Lines All of the basic components of an engineering drawing are detailed below with links throughout to give you more info on each subject. These include outlines of walls, windows, roof ridges, stairs, and any other visible or exposed edges. elevation, section, and site plans. break lines are drawn to show that a part has been shortened to reduce. Blueprints Lines.
From www.mtcopeland.com
Complete Guide to Blueprint Symbols Floor Plan Symbols & More 2020 Blueprints Lines What are the three tips for. These include outlines of walls, windows, roof ridges, stairs, and any other visible or exposed edges. The two variations of break lines common to blueprints are the long break line and the short break line (figure \(\pageindex{11}\)). Learning to read blueprints can be hard. That’s why we’ve broken down the process into bite size. Blueprints Lines.
From www.bigrentz.com
How to Read Construction Blueprints BigRentz Blueprints Lines They provide details about the height of different parts of the structure and give a perspective on how the building will look from the outside. Any components and edges that would be directly visible in the final constructed building are shown with solid, thick visible lines. That’s why we’ve broken down the process into bite size chunks. a visible. Blueprints Lines.
From kr.pinterest.com
Blueprint Symbols Free Glossary Floor Plan Symbols// For Engineer Blueprints Lines Learning to read blueprints can be hard. What are the three tips for. These include outlines of walls, windows, roof ridges, stairs, and any other visible or exposed edges. All of the basic components of an engineering drawing are detailed below with links throughout to give you more info on each subject. elevation, section, and site plans. break. Blueprints Lines.
From stock.adobe.com
Creating blueprints line icons collection. Design, Planning Blueprints Lines Long break lines are thin solid lines that have zigzags to indicate a break. These show the exterior views of the building. here are the key line types and what they signify: May 5, 2022 by brandon fowler. Any components and edges that would be directly visible in the final constructed building are shown with solid, thick visible lines.. Blueprints Lines.
From eziil.com
CNC Blueprint Symbols 101 Beginner's Guide Blueprints Lines What are the three tips for. All of the basic components of an engineering drawing are detailed below with links throughout to give you more info on each subject. These include outlines of walls, windows, roof ridges, stairs, and any other visible or exposed edges. break lines are drawn to show that a part has been shortened to reduce. Blueprints Lines.
From navyaviation.tpub.com
Figure 15A.Standard lines Blueprints Lines These show the exterior views of the building. beginner’s guide to blueprint reading. Long break lines are thin solid lines that have zigzags to indicate a break. These include outlines of walls, windows, roof ridges, stairs, and any other visible or exposed edges. Learning to read blueprints can be hard. All of the basic components of an engineering drawing. Blueprints Lines.
From oupo44qbfixmachine.z13.web.core.windows.net
How To Read Blueprints And Schematics Blueprints Lines These show the exterior views of the building. That’s why we’ve broken down the process into bite size chunks. All of the basic components of an engineering drawing are detailed below with links throughout to give you more info on each subject. They provide details about the height of different parts of the structure and give a perspective on how. Blueprints Lines.
From www.construction53.com
Blueprint The Meaning of Symbols Construction 53 Blueprints Lines They provide details about the height of different parts of the structure and give a perspective on how the building will look from the outside. Any components and edges that would be directly visible in the final constructed building are shown with solid, thick visible lines. here are the key line types and what they signify: break lines. Blueprints Lines.
From mavink.com
Cnc Blueprint Symbols Blueprints Lines elevation, section, and site plans. May 5, 2022 by brandon fowler. These show the exterior views of the building. These include outlines of walls, windows, roof ridges, stairs, and any other visible or exposed edges. The two variations of break lines common to blueprints are the long break line and the short break line (figure \(\pageindex{11}\)). That’s why we’ve. Blueprints Lines.
From www.alamy.com
Blueprinting linear icons set. Drafting, Planning, Scaling Blueprints Lines They provide details about the height of different parts of the structure and give a perspective on how the building will look from the outside. Any components and edges that would be directly visible in the final constructed building are shown with solid, thick visible lines. The two variations of break lines common to blueprints are the long break line. Blueprints Lines.
From www.catrentalstore.com
How to Read Construction Blueprints The Cat Rental Store Blueprints Lines What are the three tips for. a visible line, or object line is a thick continuous line, used to outline the visible edges or contours of an object. break lines are drawn to show that a part has been shortened to reduce its size on the drawing. Any components and edges that would be directly visible in the. Blueprints Lines.
From www.zameen.com
Complete Guide to Reading Construction Blueprints Zameen Blog Blueprints Lines beginner’s guide to blueprint reading. That’s why we’ve broken down the process into bite size chunks. Learning to read blueprints can be hard. These show the exterior views of the building. Long break lines are thin solid lines that have zigzags to indicate a break. elevation, section, and site plans. break lines are drawn to show that. Blueprints Lines.
From openoregon.pressbooks.pub
The Language of Lines Basic Blueprint Reading Blueprints Lines beginner’s guide to blueprint reading. The two variations of break lines common to blueprints are the long break line and the short break line (figure \(\pageindex{11}\)). Learning to read blueprints can be hard. They provide details about the height of different parts of the structure and give a perspective on how the building will look from the outside. All. Blueprints Lines.
From openoregon.pressbooks.pub
The Language of Lines Basic Blueprint Reading Blueprints Lines break lines are drawn to show that a part has been shortened to reduce its size on the drawing. These include outlines of walls, windows, roof ridges, stairs, and any other visible or exposed edges. Any components and edges that would be directly visible in the final constructed building are shown with solid, thick visible lines. May 5, 2022. Blueprints Lines.
From eziil.com
CNC Blueprint Symbols 101 Beginner's Guide Blueprints Lines All of the basic components of an engineering drawing are detailed below with links throughout to give you more info on each subject. These show the exterior views of the building. elevation, section, and site plans. here are the key line types and what they signify: May 5, 2022 by brandon fowler. These include outlines of walls, windows,. Blueprints Lines.
From www.educationalstuffs.in
ENGINEERING DRAWING Lines Blueprints Lines Long break lines are thin solid lines that have zigzags to indicate a break. What are the three tips for. They provide details about the height of different parts of the structure and give a perspective on how the building will look from the outside. Learning to read blueprints can be hard. a visible line, or object line is. Blueprints Lines.
From www.machinistguides.com
Beginner's Guide to Blueprint Reading Machinist Guides Blueprints Lines These include outlines of walls, windows, roof ridges, stairs, and any other visible or exposed edges. break lines are drawn to show that a part has been shortened to reduce its size on the drawing. The two variations of break lines common to blueprints are the long break line and the short break line (figure \(\pageindex{11}\)). What are the. Blueprints Lines.