Wheelchair Frame Size . Learn about electric & manual wheelchair dimensions, key factors to consider for optimal. By providing a wheelchair with the proper dimensions in these four areas, you will avoid some of the most common and dangerous positioning concerns. Ada accessibility standards provide guidelines for doorway widths. While you’re sitting down, measure. Standard electric wheelchairs typically have a 25 to 27 inch average width. Learn how to find the perfect wheelchair dimensions for comfort and accessibility. The seat width of a wheelchair is vital for user comfort and proper weight distribution. When choosing a wheelchair, you’ll want to measure your body to make sure it comfortably fits you. Key dimensions to consider include width, height, seat size, and overall measurements. Transitioning into an exploration of the wheelchair size chart, we uncover its significance as a valuable resource for users, caregivers, and healthcare professionals alike. Unsure what size wheelchair to choose? This scale strikes the ideal mix between. Here are typical seat widths based. How to choose a wheelchair size.
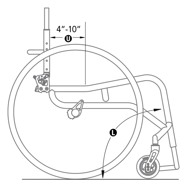
from www.sunrisemedical.eu
By providing a wheelchair with the proper dimensions in these four areas, you will avoid some of the most common and dangerous positioning concerns. Here are typical seat widths based. Learn how to find the perfect wheelchair dimensions for comfort and accessibility. Learn about electric & manual wheelchair dimensions, key factors to consider for optimal. Ada accessibility standards provide guidelines for doorway widths. Unsure what size wheelchair to choose? Transitioning into an exploration of the wheelchair size chart, we uncover its significance as a valuable resource for users, caregivers, and healthcare professionals alike. This scale strikes the ideal mix between. When choosing a wheelchair, you’ll want to measure your body to make sure it comfortably fits you. Key dimensions to consider include width, height, seat size, and overall measurements.
Comparing Ultra Lightweight Wheelchair Frames Sunrise Medical
Wheelchair Frame Size When choosing a wheelchair, you’ll want to measure your body to make sure it comfortably fits you. Unsure what size wheelchair to choose? When choosing a wheelchair, you’ll want to measure your body to make sure it comfortably fits you. This scale strikes the ideal mix between. How to choose a wheelchair size. While you’re sitting down, measure. Learn how to find the perfect wheelchair dimensions for comfort and accessibility. Here are typical seat widths based. Ada accessibility standards provide guidelines for doorway widths. By providing a wheelchair with the proper dimensions in these four areas, you will avoid some of the most common and dangerous positioning concerns. Key dimensions to consider include width, height, seat size, and overall measurements. The seat width of a wheelchair is vital for user comfort and proper weight distribution. Standard electric wheelchairs typically have a 25 to 27 inch average width. Learn about electric & manual wheelchair dimensions, key factors to consider for optimal. Transitioning into an exploration of the wheelchair size chart, we uncover its significance as a valuable resource for users, caregivers, and healthcare professionals alike.
From hub.permobil.com
The Best Wheelchair Options in Long Term Care Wheelchair Frame Size This scale strikes the ideal mix between. Ada accessibility standards provide guidelines for doorway widths. Learn about electric & manual wheelchair dimensions, key factors to consider for optimal. Unsure what size wheelchair to choose? How to choose a wheelchair size. Learn how to find the perfect wheelchair dimensions for comfort and accessibility. Transitioning into an exploration of the wheelchair size. Wheelchair Frame Size.
From www.selfhealthcare.net
Wheelchairs Types And Sizes Self Health Care Wheelchair Frame Size Ada accessibility standards provide guidelines for doorway widths. Key dimensions to consider include width, height, seat size, and overall measurements. How to choose a wheelchair size. While you’re sitting down, measure. When choosing a wheelchair, you’ll want to measure your body to make sure it comfortably fits you. Standard electric wheelchairs typically have a 25 to 27 inch average width.. Wheelchair Frame Size.
From www.goldstarmedicals.com
Durable Wheelchair Frame Sale or Rent Near Me Goldstar Medical Equipment Store Supply Wheelchair Frame Size Here are typical seat widths based. How to choose a wheelchair size. While you’re sitting down, measure. By providing a wheelchair with the proper dimensions in these four areas, you will avoid some of the most common and dangerous positioning concerns. When choosing a wheelchair, you’ll want to measure your body to make sure it comfortably fits you. Transitioning into. Wheelchair Frame Size.
From www.pinterest.cl
Wheelchairs Wheelchair dimensions, Accessibility design, Wheelchairs design Wheelchair Frame Size By providing a wheelchair with the proper dimensions in these four areas, you will avoid some of the most common and dangerous positioning concerns. The seat width of a wheelchair is vital for user comfort and proper weight distribution. When choosing a wheelchair, you’ll want to measure your body to make sure it comfortably fits you. While you’re sitting down,. Wheelchair Frame Size.
From www.pittsburghparent.com
The ultimate guide to create a wheelchairaccessible home Pittsburgh Parent Wheelchair Frame Size While you’re sitting down, measure. Learn about electric & manual wheelchair dimensions, key factors to consider for optimal. Learn how to find the perfect wheelchair dimensions for comfort and accessibility. The seat width of a wheelchair is vital for user comfort and proper weight distribution. Unsure what size wheelchair to choose? Key dimensions to consider include width, height, seat size,. Wheelchair Frame Size.
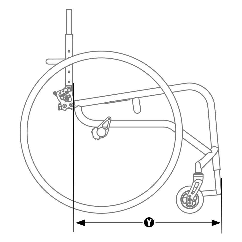
From hub.permobil.com
Manual Wheelchair Guide Wheelchair Frame Size How to choose a wheelchair size. Learn about electric & manual wheelchair dimensions, key factors to consider for optimal. Key dimensions to consider include width, height, seat size, and overall measurements. Learn how to find the perfect wheelchair dimensions for comfort and accessibility. This scale strikes the ideal mix between. Standard electric wheelchairs typically have a 25 to 27 inch. Wheelchair Frame Size.
From informacionpublica.svet.gob.gt
Wheelchairs Dimensions Drawings Wheelchair Frame Size Here are typical seat widths based. Unsure what size wheelchair to choose? Learn about electric & manual wheelchair dimensions, key factors to consider for optimal. Standard electric wheelchairs typically have a 25 to 27 inch average width. How to choose a wheelchair size. Learn how to find the perfect wheelchair dimensions for comfort and accessibility. While you’re sitting down, measure.. Wheelchair Frame Size.
From loaids.com
Standard Wheelchair Width (Measurements You Need To Know) Wheelchair Frame Size By providing a wheelchair with the proper dimensions in these four areas, you will avoid some of the most common and dangerous positioning concerns. When choosing a wheelchair, you’ll want to measure your body to make sure it comfortably fits you. Learn about electric & manual wheelchair dimensions, key factors to consider for optimal. While you’re sitting down, measure. Standard. Wheelchair Frame Size.
From tousdamedical.en.made-in-china.com
Aluminum Frame Standard Size Folding Rehabilitation Disabled Power Wheelchair China Wheelchair Wheelchair Frame Size Learn how to find the perfect wheelchair dimensions for comfort and accessibility. This scale strikes the ideal mix between. Ada accessibility standards provide guidelines for doorway widths. Transitioning into an exploration of the wheelchair size chart, we uncover its significance as a valuable resource for users, caregivers, and healthcare professionals alike. Learn about electric & manual wheelchair dimensions, key factors. Wheelchair Frame Size.
From topmedi-wheelchair.en.made-in-china.com
Aluminum Chair Frame Children Wheelchair with Adjustable Seat Size and Safety Belt China Wheelchair Frame Size Standard electric wheelchairs typically have a 25 to 27 inch average width. Key dimensions to consider include width, height, seat size, and overall measurements. How to choose a wheelchair size. Learn about electric & manual wheelchair dimensions, key factors to consider for optimal. Unsure what size wheelchair to choose? Ada accessibility standards provide guidelines for doorway widths. By providing a. Wheelchair Frame Size.
From howirollsports.com
Colours Zephyr Wheelchair Frame ColorUpgrade How iRoll Sports Wheelchair Frame Size Learn about electric & manual wheelchair dimensions, key factors to consider for optimal. Ada accessibility standards provide guidelines for doorway widths. The seat width of a wheelchair is vital for user comfort and proper weight distribution. Transitioning into an exploration of the wheelchair size chart, we uncover its significance as a valuable resource for users, caregivers, and healthcare professionals alike.. Wheelchair Frame Size.
From www.selfhealthcare.net
Wheelchairs Types And Sizes Self Health Care Wheelchair Frame Size Learn how to find the perfect wheelchair dimensions for comfort and accessibility. While you’re sitting down, measure. Key dimensions to consider include width, height, seat size, and overall measurements. Ada accessibility standards provide guidelines for doorway widths. The seat width of a wheelchair is vital for user comfort and proper weight distribution. How to choose a wheelchair size. This scale. Wheelchair Frame Size.
From mybios.me
Standard Wheelchair Size Uk Bios Pics Wheelchair Frame Size Unsure what size wheelchair to choose? Learn about electric & manual wheelchair dimensions, key factors to consider for optimal. By providing a wheelchair with the proper dimensions in these four areas, you will avoid some of the most common and dangerous positioning concerns. The seat width of a wheelchair is vital for user comfort and proper weight distribution. When choosing. Wheelchair Frame Size.
From www.pinterest.com
Figure 2. Wheelchair dimensions Wheelchair dimensions, Hospital design, Resort plan Wheelchair Frame Size While you’re sitting down, measure. Ada accessibility standards provide guidelines for doorway widths. Here are typical seat widths based. Standard electric wheelchairs typically have a 25 to 27 inch average width. When choosing a wheelchair, you’ll want to measure your body to make sure it comfortably fits you. Unsure what size wheelchair to choose? How to choose a wheelchair size.. Wheelchair Frame Size.
From mavink.com
Wheelchair Size Chart For Women Wheelchair Frame Size Unsure what size wheelchair to choose? While you’re sitting down, measure. Ada accessibility standards provide guidelines for doorway widths. Learn about electric & manual wheelchair dimensions, key factors to consider for optimal. The seat width of a wheelchair is vital for user comfort and proper weight distribution. How to choose a wheelchair size. Key dimensions to consider include width, height,. Wheelchair Frame Size.
From www.bekmedical.com
Kanga TS Folding TiltinSpace Wheelchair Frame BEK Medical Wheelchair Frame Size When choosing a wheelchair, you’ll want to measure your body to make sure it comfortably fits you. Learn about electric & manual wheelchair dimensions, key factors to consider for optimal. Transitioning into an exploration of the wheelchair size chart, we uncover its significance as a valuable resource for users, caregivers, and healthcare professionals alike. The seat width of a wheelchair. Wheelchair Frame Size.
From mungfali.com
Wheelchair Sizing Chart Wheelchair Frame Size Transitioning into an exploration of the wheelchair size chart, we uncover its significance as a valuable resource for users, caregivers, and healthcare professionals alike. This scale strikes the ideal mix between. Key dimensions to consider include width, height, seat size, and overall measurements. How to choose a wheelchair size. Here are typical seat widths based. Standard electric wheelchairs typically have. Wheelchair Frame Size.
From www.ana.co.jp
Information on Wheelchair Use and Mobility Assistance Service & Info ANA Wheelchair Frame Size Learn how to find the perfect wheelchair dimensions for comfort and accessibility. This scale strikes the ideal mix between. Learn about electric & manual wheelchair dimensions, key factors to consider for optimal. Standard electric wheelchairs typically have a 25 to 27 inch average width. The seat width of a wheelchair is vital for user comfort and proper weight distribution. Ada. Wheelchair Frame Size.
From hub.permobil.com
Manual wheelchair frame materials 6000 & 7000 series aluminum Wheelchair Frame Size How to choose a wheelchair size. Learn how to find the perfect wheelchair dimensions for comfort and accessibility. While you’re sitting down, measure. When choosing a wheelchair, you’ll want to measure your body to make sure it comfortably fits you. Transitioning into an exploration of the wheelchair size chart, we uncover its significance as a valuable resource for users, caregivers,. Wheelchair Frame Size.
From www.sunrisemedical.de
Ultralight manual wheelchair frame styles Sunrise Medical Wheelchair Frame Size Learn about electric & manual wheelchair dimensions, key factors to consider for optimal. Transitioning into an exploration of the wheelchair size chart, we uncover its significance as a valuable resource for users, caregivers, and healthcare professionals alike. Unsure what size wheelchair to choose? How to choose a wheelchair size. Here are typical seat widths based. Standard electric wheelchairs typically have. Wheelchair Frame Size.
From hub.permobil.com
Manual wheelchair frame materials 6000 & 7000 series aluminum Wheelchair Frame Size When choosing a wheelchair, you’ll want to measure your body to make sure it comfortably fits you. Learn how to find the perfect wheelchair dimensions for comfort and accessibility. This scale strikes the ideal mix between. Here are typical seat widths based. Key dimensions to consider include width, height, seat size, and overall measurements. Learn about electric & manual wheelchair. Wheelchair Frame Size.
From aci.health.nsw.gov.au
Wheelchair configuration for the client’s physical attributes and functionality Agency for Wheelchair Frame Size Learn how to find the perfect wheelchair dimensions for comfort and accessibility. Unsure what size wheelchair to choose? Ada accessibility standards provide guidelines for doorway widths. Standard electric wheelchairs typically have a 25 to 27 inch average width. This scale strikes the ideal mix between. When choosing a wheelchair, you’ll want to measure your body to make sure it comfortably. Wheelchair Frame Size.
From carex.com
Buyer's Guide Selecting the Right Wheelchair Carex Wheelchair Frame Size Unsure what size wheelchair to choose? Here are typical seat widths based. Standard electric wheelchairs typically have a 25 to 27 inch average width. Ada accessibility standards provide guidelines for doorway widths. Learn about electric & manual wheelchair dimensions, key factors to consider for optimal. When choosing a wheelchair, you’ll want to measure your body to make sure it comfortably. Wheelchair Frame Size.
From www.motioncomposites.com
Folding vs Rigid Wheelchair Frames How to choose? Wheelchair Frame Size By providing a wheelchair with the proper dimensions in these four areas, you will avoid some of the most common and dangerous positioning concerns. The seat width of a wheelchair is vital for user comfort and proper weight distribution. Unsure what size wheelchair to choose? How to choose a wheelchair size. When choosing a wheelchair, you’ll want to measure your. Wheelchair Frame Size.
From hub.permobil.com
Manual wheelchairs rigid and folding frames. How do you choose? Wheelchair Frame Size When choosing a wheelchair, you’ll want to measure your body to make sure it comfortably fits you. The seat width of a wheelchair is vital for user comfort and proper weight distribution. Key dimensions to consider include width, height, seat size, and overall measurements. While you’re sitting down, measure. How to choose a wheelchair size. Learn how to find the. Wheelchair Frame Size.
From www.pngitem.com
Wheelchair Size Chart, HD Png Download , Transparent Png Image PNGitem Wheelchair Frame Size When choosing a wheelchair, you’ll want to measure your body to make sure it comfortably fits you. How to choose a wheelchair size. While you’re sitting down, measure. Key dimensions to consider include width, height, seat size, and overall measurements. Unsure what size wheelchair to choose? Learn how to find the perfect wheelchair dimensions for comfort and accessibility. Standard electric. Wheelchair Frame Size.
From www.pittsburghparent.com
The ultimate guide to create a wheelchairaccessible home Pittsburgh Parent Wheelchair Frame Size Ada accessibility standards provide guidelines for doorway widths. Standard electric wheelchairs typically have a 25 to 27 inch average width. Unsure what size wheelchair to choose? The seat width of a wheelchair is vital for user comfort and proper weight distribution. While you’re sitting down, measure. Learn how to find the perfect wheelchair dimensions for comfort and accessibility. Here are. Wheelchair Frame Size.
From www.medicalexpo.com
Pediatric wheelchair frame R82 Multi x Etac Wheelchair Frame Size Learn how to find the perfect wheelchair dimensions for comfort and accessibility. The seat width of a wheelchair is vital for user comfort and proper weight distribution. Standard electric wheelchairs typically have a 25 to 27 inch average width. When choosing a wheelchair, you’ll want to measure your body to make sure it comfortably fits you. By providing a wheelchair. Wheelchair Frame Size.
From carex.com
Buyer's Guide Selecting the Right Wheelchair Carex Wheelchair Frame Size While you’re sitting down, measure. When choosing a wheelchair, you’ll want to measure your body to make sure it comfortably fits you. Learn about electric & manual wheelchair dimensions, key factors to consider for optimal. Transitioning into an exploration of the wheelchair size chart, we uncover its significance as a valuable resource for users, caregivers, and healthcare professionals alike. This. Wheelchair Frame Size.
From www.sunrisemedical.com.au
Ultralight manual wheelchair frame styles Sunrise Medical Wheelchair Frame Size This scale strikes the ideal mix between. When choosing a wheelchair, you’ll want to measure your body to make sure it comfortably fits you. Learn how to find the perfect wheelchair dimensions for comfort and accessibility. By providing a wheelchair with the proper dimensions in these four areas, you will avoid some of the most common and dangerous positioning concerns.. Wheelchair Frame Size.
From www.sunrisemedical.eu
Comparing Ultra Lightweight Wheelchair Frames Sunrise Medical Wheelchair Frame Size Unsure what size wheelchair to choose? Ada accessibility standards provide guidelines for doorway widths. When choosing a wheelchair, you’ll want to measure your body to make sure it comfortably fits you. Standard electric wheelchairs typically have a 25 to 27 inch average width. Learn how to find the perfect wheelchair dimensions for comfort and accessibility. How to choose a wheelchair. Wheelchair Frame Size.
From mybios.me
Standard Size Wheelchair Width Bios Pics Wheelchair Frame Size Learn how to find the perfect wheelchair dimensions for comfort and accessibility. By providing a wheelchair with the proper dimensions in these four areas, you will avoid some of the most common and dangerous positioning concerns. Standard electric wheelchairs typically have a 25 to 27 inch average width. Key dimensions to consider include width, height, seat size, and overall measurements.. Wheelchair Frame Size.
From www.1800wheelchair.com
How Wide Does a Doorway Need to be for a Wheelchair? Wheelchair Frame Size How to choose a wheelchair size. While you’re sitting down, measure. Unsure what size wheelchair to choose? Here are typical seat widths based. This scale strikes the ideal mix between. The seat width of a wheelchair is vital for user comfort and proper weight distribution. Transitioning into an exploration of the wheelchair size chart, we uncover its significance as a. Wheelchair Frame Size.
From www.goldstarmedicals.com
Durable Wheelchair Frame Sale or Rent Near Me Goldstar Medical Equipment Store Supply Wheelchair Frame Size Learn how to find the perfect wheelchair dimensions for comfort and accessibility. How to choose a wheelchair size. While you’re sitting down, measure. Key dimensions to consider include width, height, seat size, and overall measurements. Learn about electric & manual wheelchair dimensions, key factors to consider for optimal. This scale strikes the ideal mix between. When choosing a wheelchair, you’ll. Wheelchair Frame Size.
From www.alpropharmacy.com
BMATE Lightweight Wheelchair 12'' Aluminium Frame Alpro Pharmacy Wheelchair Frame Size The seat width of a wheelchair is vital for user comfort and proper weight distribution. By providing a wheelchair with the proper dimensions in these four areas, you will avoid some of the most common and dangerous positioning concerns. Transitioning into an exploration of the wheelchair size chart, we uncover its significance as a valuable resource for users, caregivers, and. Wheelchair Frame Size.