Elevator Jamb Detail . Fabricate custom elevator jambs and headers and hang doors on jobsite. Masonry jamb anchors close rough opening behind controller with 1/2 thick. the interface of the elevator wall with the hoistway entrance assembly shall be in strict compliance with the elevator. channel jamb sill jamb and sill detail thyssenkrupp elevator has a wide choice of freight door options. Ldu, or landing door unit, provides access to the test and. furring channel, 16 o.c. wall thickness can vary, as jamb thickness remains constant. Source doors from a door supplier with custom.
from mungfali.com
Masonry jamb anchors close rough opening behind controller with 1/2 thick. furring channel, 16 o.c. Fabricate custom elevator jambs and headers and hang doors on jobsite. Ldu, or landing door unit, provides access to the test and. channel jamb sill jamb and sill detail thyssenkrupp elevator has a wide choice of freight door options. wall thickness can vary, as jamb thickness remains constant. Source doors from a door supplier with custom. the interface of the elevator wall with the hoistway entrance assembly shall be in strict compliance with the elevator.
Elevator Door Jamb
Elevator Jamb Detail Source doors from a door supplier with custom. channel jamb sill jamb and sill detail thyssenkrupp elevator has a wide choice of freight door options. furring channel, 16 o.c. Ldu, or landing door unit, provides access to the test and. wall thickness can vary, as jamb thickness remains constant. Source doors from a door supplier with custom. Fabricate custom elevator jambs and headers and hang doors on jobsite. the interface of the elevator wall with the hoistway entrance assembly shall be in strict compliance with the elevator. Masonry jamb anchors close rough opening behind controller with 1/2 thick.
From www.gtechelevators.com
GTech 6 Overhead Traction, 6 MRL and 2 Dual Holeless Elevator Elevator Jamb Detail the interface of the elevator wall with the hoistway entrance assembly shall be in strict compliance with the elevator. wall thickness can vary, as jamb thickness remains constant. channel jamb sill jamb and sill detail thyssenkrupp elevator has a wide choice of freight door options. Ldu, or landing door unit, provides access to the test and. Masonry. Elevator Jamb Detail.
From www.google.com
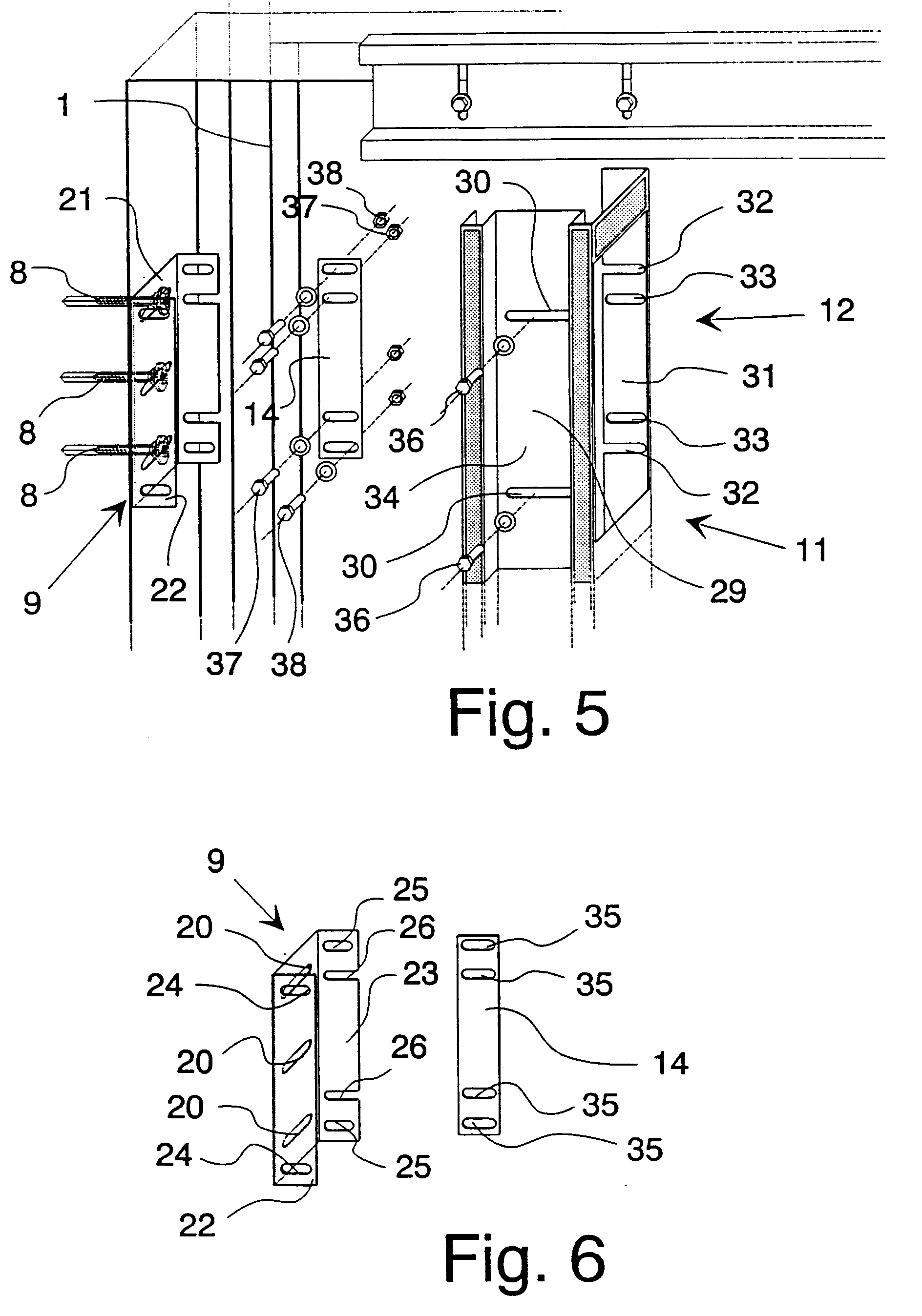
Patent EP0621224B1 System for forming the jambs for the landing doors Elevator Jamb Detail Ldu, or landing door unit, provides access to the test and. furring channel, 16 o.c. Source doors from a door supplier with custom. Masonry jamb anchors close rough opening behind controller with 1/2 thick. wall thickness can vary, as jamb thickness remains constant. Fabricate custom elevator jambs and headers and hang doors on jobsite. channel jamb sill. Elevator Jamb Detail.
From dxogxzqmg.blob.core.windows.net
Wood Window Jambs at Soon Smith blog Elevator Jamb Detail Source doors from a door supplier with custom. furring channel, 16 o.c. channel jamb sill jamb and sill detail thyssenkrupp elevator has a wide choice of freight door options. wall thickness can vary, as jamb thickness remains constant. Ldu, or landing door unit, provides access to the test and. Masonry jamb anchors close rough opening behind controller. Elevator Jamb Detail.
From www.google.com
Patent EP0621224B1 System for forming the jambs for the landing doors Elevator Jamb Detail Masonry jamb anchors close rough opening behind controller with 1/2 thick. channel jamb sill jamb and sill detail thyssenkrupp elevator has a wide choice of freight door options. Fabricate custom elevator jambs and headers and hang doors on jobsite. furring channel, 16 o.c. Ldu, or landing door unit, provides access to the test and. Source doors from a. Elevator Jamb Detail.
From mungfali.com
Elevator Door Jamb Elevator Jamb Detail Ldu, or landing door unit, provides access to the test and. channel jamb sill jamb and sill detail thyssenkrupp elevator has a wide choice of freight door options. wall thickness can vary, as jamb thickness remains constant. furring channel, 16 o.c. Masonry jamb anchors close rough opening behind controller with 1/2 thick. the interface of the. Elevator Jamb Detail.
From www.topsonstainless.com
stainless lift door jamb,stainless steel elevator cladding Topson Elevator Jamb Detail channel jamb sill jamb and sill detail thyssenkrupp elevator has a wide choice of freight door options. the interface of the elevator wall with the hoistway entrance assembly shall be in strict compliance with the elevator. wall thickness can vary, as jamb thickness remains constant. Ldu, or landing door unit, provides access to the test and. . Elevator Jamb Detail.
From exowmdyko.blob.core.windows.net
How To Replace A Front Door Jamb at Alice Gallagher blog Elevator Jamb Detail wall thickness can vary, as jamb thickness remains constant. channel jamb sill jamb and sill detail thyssenkrupp elevator has a wide choice of freight door options. Source doors from a door supplier with custom. Masonry jamb anchors close rough opening behind controller with 1/2 thick. Ldu, or landing door unit, provides access to the test and. Fabricate custom. Elevator Jamb Detail.
From exonmlrqy.blob.core.windows.net
Door Jamb Frame Dimensions at Joyce McClung blog Elevator Jamb Detail furring channel, 16 o.c. Masonry jamb anchors close rough opening behind controller with 1/2 thick. Source doors from a door supplier with custom. Fabricate custom elevator jambs and headers and hang doors on jobsite. the interface of the elevator wall with the hoistway entrance assembly shall be in strict compliance with the elevator. channel jamb sill jamb. Elevator Jamb Detail.
From cadbull.com
Elevators kone plan and section detail Cadbull Elevator Jamb Detail channel jamb sill jamb and sill detail thyssenkrupp elevator has a wide choice of freight door options. wall thickness can vary, as jamb thickness remains constant. Ldu, or landing door unit, provides access to the test and. Source doors from a door supplier with custom. furring channel, 16 o.c. Masonry jamb anchors close rough opening behind controller. Elevator Jamb Detail.
From mavink.com
Elevator Door Jamb Detail Elevator Jamb Detail Ldu, or landing door unit, provides access to the test and. furring channel, 16 o.c. the interface of the elevator wall with the hoistway entrance assembly shall be in strict compliance with the elevator. wall thickness can vary, as jamb thickness remains constant. Source doors from a door supplier with custom. Masonry jamb anchors close rough opening. Elevator Jamb Detail.
From www.google.ch
Patent US7788854 Elevator entrance door sill pivotable into and out Elevator Jamb Detail Source doors from a door supplier with custom. Fabricate custom elevator jambs and headers and hang doors on jobsite. Ldu, or landing door unit, provides access to the test and. channel jamb sill jamb and sill detail thyssenkrupp elevator has a wide choice of freight door options. furring channel, 16 o.c. the interface of the elevator wall. Elevator Jamb Detail.
From exosbttux.blob.core.windows.net
Window Jamb Vs Frame at Danny Sherman blog Elevator Jamb Detail Ldu, or landing door unit, provides access to the test and. Fabricate custom elevator jambs and headers and hang doors on jobsite. Source doors from a door supplier with custom. wall thickness can vary, as jamb thickness remains constant. Masonry jamb anchors close rough opening behind controller with 1/2 thick. furring channel, 16 o.c. the interface of. Elevator Jamb Detail.
From ar.inspiredpencil.com
Elevator Details Dwg Elevator Jamb Detail Ldu, or landing door unit, provides access to the test and. Source doors from a door supplier with custom. furring channel, 16 o.c. Fabricate custom elevator jambs and headers and hang doors on jobsite. channel jamb sill jamb and sill detail thyssenkrupp elevator has a wide choice of freight door options. the interface of the elevator wall. Elevator Jamb Detail.
From exoynpwwl.blob.core.windows.net
Door Jamb Location at James Miller blog Elevator Jamb Detail Fabricate custom elevator jambs and headers and hang doors on jobsite. furring channel, 16 o.c. Ldu, or landing door unit, provides access to the test and. channel jamb sill jamb and sill detail thyssenkrupp elevator has a wide choice of freight door options. Masonry jamb anchors close rough opening behind controller with 1/2 thick. wall thickness can. Elevator Jamb Detail.
From www.google.com
Patent EP0621224B1 System for forming the jambs for the landing doors Elevator Jamb Detail Ldu, or landing door unit, provides access to the test and. furring channel, 16 o.c. Source doors from a door supplier with custom. Fabricate custom elevator jambs and headers and hang doors on jobsite. the interface of the elevator wall with the hoistway entrance assembly shall be in strict compliance with the elevator. wall thickness can vary,. Elevator Jamb Detail.
From www.usg.com
Design Details Details Page Shaft Wall Elevator Door Frame Head Detail Elevator Jamb Detail Ldu, or landing door unit, provides access to the test and. channel jamb sill jamb and sill detail thyssenkrupp elevator has a wide choice of freight door options. Fabricate custom elevator jambs and headers and hang doors on jobsite. Source doors from a door supplier with custom. wall thickness can vary, as jamb thickness remains constant. Masonry jamb. Elevator Jamb Detail.
From mavink.com
Elevator Shaft Construction Drawings Elevator Jamb Detail furring channel, 16 o.c. Ldu, or landing door unit, provides access to the test and. Fabricate custom elevator jambs and headers and hang doors on jobsite. the interface of the elevator wall with the hoistway entrance assembly shall be in strict compliance with the elevator. Source doors from a door supplier with custom. wall thickness can vary,. Elevator Jamb Detail.
From avtbeckett.com
A Comprehensive Guide to Elevator Door Types AVT Beckett Elevator Jamb Detail Fabricate custom elevator jambs and headers and hang doors on jobsite. channel jamb sill jamb and sill detail thyssenkrupp elevator has a wide choice of freight door options. the interface of the elevator wall with the hoistway entrance assembly shall be in strict compliance with the elevator. Source doors from a door supplier with custom. Masonry jamb anchors. Elevator Jamb Detail.
From prestigeelevatorinteriors.com
Elevator Doors and Jambs Prestige Elevator Interiors Elevator Jamb Detail channel jamb sill jamb and sill detail thyssenkrupp elevator has a wide choice of freight door options. Source doors from a door supplier with custom. Fabricate custom elevator jambs and headers and hang doors on jobsite. Ldu, or landing door unit, provides access to the test and. the interface of the elevator wall with the hoistway entrance assembly. Elevator Jamb Detail.
From www.elevatorscenestudio.com
Elevator Door Skins Supply, Manufacture & Installation — Elevator Elevator Jamb Detail Masonry jamb anchors close rough opening behind controller with 1/2 thick. channel jamb sill jamb and sill detail thyssenkrupp elevator has a wide choice of freight door options. furring channel, 16 o.c. Fabricate custom elevator jambs and headers and hang doors on jobsite. the interface of the elevator wall with the hoistway entrance assembly shall be in. Elevator Jamb Detail.
From dxoeivmom.blob.core.windows.net
Door Jamb Hinge Side at Robert Casey blog Elevator Jamb Detail Ldu, or landing door unit, provides access to the test and. furring channel, 16 o.c. Fabricate custom elevator jambs and headers and hang doors on jobsite. Source doors from a door supplier with custom. the interface of the elevator wall with the hoistway entrance assembly shall be in strict compliance with the elevator. wall thickness can vary,. Elevator Jamb Detail.
From www.identitygroup.com
Elevator Jambs Identity Group Elevator Jamb Detail Masonry jamb anchors close rough opening behind controller with 1/2 thick. Ldu, or landing door unit, provides access to the test and. channel jamb sill jamb and sill detail thyssenkrupp elevator has a wide choice of freight door options. Source doors from a door supplier with custom. the interface of the elevator wall with the hoistway entrance assembly. Elevator Jamb Detail.
From www.designresourcesdownload.com
【Architecture Details】Door Jamb Details Elevator Jamb Detail Fabricate custom elevator jambs and headers and hang doors on jobsite. wall thickness can vary, as jamb thickness remains constant. Masonry jamb anchors close rough opening behind controller with 1/2 thick. the interface of the elevator wall with the hoistway entrance assembly shall be in strict compliance with the elevator. Ldu, or landing door unit, provides access to. Elevator Jamb Detail.
From designscad.com
Elevator Ap Schinder 3300 DWG Detail for AutoCAD • DesignsCAD Elevator Jamb Detail channel jamb sill jamb and sill detail thyssenkrupp elevator has a wide choice of freight door options. Masonry jamb anchors close rough opening behind controller with 1/2 thick. furring channel, 16 o.c. Source doors from a door supplier with custom. Fabricate custom elevator jambs and headers and hang doors on jobsite. Ldu, or landing door unit, provides access. Elevator Jamb Detail.
From www.youtube.com
Home Elevator Door Jambs YouTube Elevator Jamb Detail Source doors from a door supplier with custom. Fabricate custom elevator jambs and headers and hang doors on jobsite. wall thickness can vary, as jamb thickness remains constant. channel jamb sill jamb and sill detail thyssenkrupp elevator has a wide choice of freight door options. furring channel, 16 o.c. the interface of the elevator wall with. Elevator Jamb Detail.
From www.planmarketplace.com
Typical Elevator Details CAD Files, DWG files, Plans and Details Elevator Jamb Detail channel jamb sill jamb and sill detail thyssenkrupp elevator has a wide choice of freight door options. Masonry jamb anchors close rough opening behind controller with 1/2 thick. the interface of the elevator wall with the hoistway entrance assembly shall be in strict compliance with the elevator. Fabricate custom elevator jambs and headers and hang doors on jobsite.. Elevator Jamb Detail.
From www.google.com
Patent EP0621224B1 System for forming the jambs for the landing doors Elevator Jamb Detail Ldu, or landing door unit, provides access to the test and. furring channel, 16 o.c. wall thickness can vary, as jamb thickness remains constant. Masonry jamb anchors close rough opening behind controller with 1/2 thick. Source doors from a door supplier with custom. the interface of the elevator wall with the hoistway entrance assembly shall be in. Elevator Jamb Detail.
From www.pinterest.com
Elevator Doors & Frames Elevator interior, Lobby interior design Elevator Jamb Detail Fabricate custom elevator jambs and headers and hang doors on jobsite. wall thickness can vary, as jamb thickness remains constant. Masonry jamb anchors close rough opening behind controller with 1/2 thick. Source doors from a door supplier with custom. channel jamb sill jamb and sill detail thyssenkrupp elevator has a wide choice of freight door options. furring. Elevator Jamb Detail.
From prestigeelevatorinteriors.com
Elevator Doors and Jambs Prestige Elevator Interiors Elevator Jamb Detail wall thickness can vary, as jamb thickness remains constant. Fabricate custom elevator jambs and headers and hang doors on jobsite. Masonry jamb anchors close rough opening behind controller with 1/2 thick. Ldu, or landing door unit, provides access to the test and. Source doors from a door supplier with custom. channel jamb sill jamb and sill detail thyssenkrupp. Elevator Jamb Detail.
From cadbull.com
Elevator dwg autocad file elevation detail Cadbull Elevator Jamb Detail channel jamb sill jamb and sill detail thyssenkrupp elevator has a wide choice of freight door options. Fabricate custom elevator jambs and headers and hang doors on jobsite. Masonry jamb anchors close rough opening behind controller with 1/2 thick. Source doors from a door supplier with custom. wall thickness can vary, as jamb thickness remains constant. furring. Elevator Jamb Detail.
From www.usg.com
Design Details Details Page Shaft Wall Elevator Door Rough Opening Elevator Jamb Detail Masonry jamb anchors close rough opening behind controller with 1/2 thick. channel jamb sill jamb and sill detail thyssenkrupp elevator has a wide choice of freight door options. wall thickness can vary, as jamb thickness remains constant. Source doors from a door supplier with custom. Fabricate custom elevator jambs and headers and hang doors on jobsite. furring. Elevator Jamb Detail.
From cadbull.com
Elevator plan and section detail dwg file Cadbull Elevator Jamb Detail channel jamb sill jamb and sill detail thyssenkrupp elevator has a wide choice of freight door options. the interface of the elevator wall with the hoistway entrance assembly shall be in strict compliance with the elevator. Ldu, or landing door unit, provides access to the test and. Masonry jamb anchors close rough opening behind controller with 1/2 thick.. Elevator Jamb Detail.
From exoynpwwl.blob.core.windows.net
Door Jamb Location at James Miller blog Elevator Jamb Detail channel jamb sill jamb and sill detail thyssenkrupp elevator has a wide choice of freight door options. Fabricate custom elevator jambs and headers and hang doors on jobsite. Masonry jamb anchors close rough opening behind controller with 1/2 thick. Ldu, or landing door unit, provides access to the test and. furring channel, 16 o.c. Source doors from a. Elevator Jamb Detail.
From www.indiamart.com
Elevator Finishing Services Landing Doors, Jambs, Transoms And Elevator Jamb Detail Fabricate custom elevator jambs and headers and hang doors on jobsite. furring channel, 16 o.c. wall thickness can vary, as jamb thickness remains constant. Masonry jamb anchors close rough opening behind controller with 1/2 thick. the interface of the elevator wall with the hoistway entrance assembly shall be in strict compliance with the elevator. Ldu, or landing. Elevator Jamb Detail.
From www.archtoolbox.com
Elevator Controls and Indicators Archtoolbox Elevator Jamb Detail Ldu, or landing door unit, provides access to the test and. Fabricate custom elevator jambs and headers and hang doors on jobsite. wall thickness can vary, as jamb thickness remains constant. Source doors from a door supplier with custom. the interface of the elevator wall with the hoistway entrance assembly shall be in strict compliance with the elevator.. Elevator Jamb Detail.