Dump Body Parts Diagram . Shortly after its inception, uo equipment became a part of the tos family along with tnt equipment six months later. That means that we have to stock replacement parts for your. Ordering dump body parts and accessories for any model dump body has never been easier. Dmp00511 bottom latch assy 2 dmp ì ñ î ó, rear olster over. Collectively offers sales, rentals, parts and after market services, remanufacturing, customized equipment and transportation. Simply browse through the part categories to find what you need or search by part number or description. Pick the brand you want and browse through the part. Review the dump body dimensions and any auxiliary equipment to be installed considering space and potential interference. Ordering dump body parts and accessories for any model dump body has never been easier.
from trucks5ton.tpub.com
Ordering dump body parts and accessories for any model dump body has never been easier. Ordering dump body parts and accessories for any model dump body has never been easier. That means that we have to stock replacement parts for your. Collectively offers sales, rentals, parts and after market services, remanufacturing, customized equipment and transportation. Dmp00511 bottom latch assy 2 dmp ì ñ î ó, rear olster over. Simply browse through the part categories to find what you need or search by part number or description. Shortly after its inception, uo equipment became a part of the tos family along with tnt equipment six months later. Review the dump body dimensions and any auxiliary equipment to be installed considering space and potential interference. Pick the brand you want and browse through the part.
Figure 390. Dump Body, Basic, Tailgate, and Related Parts
Dump Body Parts Diagram Dmp00511 bottom latch assy 2 dmp ì ñ î ó, rear olster over. Simply browse through the part categories to find what you need or search by part number or description. Collectively offers sales, rentals, parts and after market services, remanufacturing, customized equipment and transportation. Review the dump body dimensions and any auxiliary equipment to be installed considering space and potential interference. Pick the brand you want and browse through the part. Dmp00511 bottom latch assy 2 dmp ì ñ î ó, rear olster over. Ordering dump body parts and accessories for any model dump body has never been easier. That means that we have to stock replacement parts for your. Shortly after its inception, uo equipment became a part of the tos family along with tnt equipment six months later. Ordering dump body parts and accessories for any model dump body has never been easier.
From eildonmeila.blogspot.com
25+ Dump Body Parts Diagram EildonMeila Dump Body Parts Diagram Dmp00511 bottom latch assy 2 dmp ì ñ î ó, rear olster over. Review the dump body dimensions and any auxiliary equipment to be installed considering space and potential interference. Collectively offers sales, rentals, parts and after market services, remanufacturing, customized equipment and transportation. Shortly after its inception, uo equipment became a part of the tos family along with tnt. Dump Body Parts Diagram.
From www.jackssmallengines.com
Husqvarna HDC10 Dump Cart (200307) Parts Diagram for Heavy Duty Dump Cart Dump Body Parts Diagram Shortly after its inception, uo equipment became a part of the tos family along with tnt equipment six months later. Ordering dump body parts and accessories for any model dump body has never been easier. Collectively offers sales, rentals, parts and after market services, remanufacturing, customized equipment and transportation. Pick the brand you want and browse through the part. Ordering. Dump Body Parts Diagram.
From melissaelectrical.blogspot.com
dump truck steering parts diagram Dump Body Parts Diagram Ordering dump body parts and accessories for any model dump body has never been easier. That means that we have to stock replacement parts for your. Collectively offers sales, rentals, parts and after market services, remanufacturing, customized equipment and transportation. Review the dump body dimensions and any auxiliary equipment to be installed considering space and potential interference. Pick the brand. Dump Body Parts Diagram.
From www.slideserve.com
PPT Dump truck Bodies Parts PowerPoint Presentation, free download Dump Body Parts Diagram Simply browse through the part categories to find what you need or search by part number or description. Ordering dump body parts and accessories for any model dump body has never been easier. Collectively offers sales, rentals, parts and after market services, remanufacturing, customized equipment and transportation. Shortly after its inception, uo equipment became a part of the tos family. Dump Body Parts Diagram.
From autoepcservice.com
BELL DUMP TRUCK PART AND REPAIR MANUAL Dump Body Parts Diagram Review the dump body dimensions and any auxiliary equipment to be installed considering space and potential interference. Ordering dump body parts and accessories for any model dump body has never been easier. Ordering dump body parts and accessories for any model dump body has never been easier. Simply browse through the part categories to find what you need or search. Dump Body Parts Diagram.
From fixenginenumbers.z6.web.core.windows.net
Dump Truck Body Diagram Dump Body Parts Diagram Dmp00511 bottom latch assy 2 dmp ì ñ î ó, rear olster over. Shortly after its inception, uo equipment became a part of the tos family along with tnt equipment six months later. Pick the brand you want and browse through the part. Simply browse through the part categories to find what you need or search by part number or. Dump Body Parts Diagram.
From www.jackssmallengines.com
Ariens 831007 (000101 ) Two Wheel Dump Trailer Parts Diagram for Dump Dump Body Parts Diagram Pick the brand you want and browse through the part. Shortly after its inception, uo equipment became a part of the tos family along with tnt equipment six months later. Ordering dump body parts and accessories for any model dump body has never been easier. Collectively offers sales, rentals, parts and after market services, remanufacturing, customized equipment and transportation. Simply. Dump Body Parts Diagram.
From mungfali.com
Parts Of Dump Truck Dump Body Parts Diagram That means that we have to stock replacement parts for your. Collectively offers sales, rentals, parts and after market services, remanufacturing, customized equipment and transportation. Ordering dump body parts and accessories for any model dump body has never been easier. Review the dump body dimensions and any auxiliary equipment to be installed considering space and potential interference. Ordering dump body. Dump Body Parts Diagram.
From fixenginepapst.z19.web.core.windows.net
Diagram Of Dump Truck Parts Dump Body Parts Diagram Ordering dump body parts and accessories for any model dump body has never been easier. Shortly after its inception, uo equipment became a part of the tos family along with tnt equipment six months later. Ordering dump body parts and accessories for any model dump body has never been easier. Collectively offers sales, rentals, parts and after market services, remanufacturing,. Dump Body Parts Diagram.
From automotiveenginemechanics.tpub.com
Figure 3613. Dump Body Raised. Dump Body Parts Diagram Dmp00511 bottom latch assy 2 dmp ì ñ î ó, rear olster over. Simply browse through the part categories to find what you need or search by part number or description. Pick the brand you want and browse through the part. Ordering dump body parts and accessories for any model dump body has never been easier. Shortly after its inception,. Dump Body Parts Diagram.
From trucks5ton.tpub.com
FIGURE 290. M1094 DUMP BODY (SHEET 2 OF 3) Dump Body Parts Diagram Ordering dump body parts and accessories for any model dump body has never been easier. Review the dump body dimensions and any auxiliary equipment to be installed considering space and potential interference. Pick the brand you want and browse through the part. Collectively offers sales, rentals, parts and after market services, remanufacturing, customized equipment and transportation. Shortly after its inception,. Dump Body Parts Diagram.
From www.pepinstruckparts.com
DUMP BODY Dump Body Parts Diagram That means that we have to stock replacement parts for your. Collectively offers sales, rentals, parts and after market services, remanufacturing, customized equipment and transportation. Ordering dump body parts and accessories for any model dump body has never been easier. Pick the brand you want and browse through the part. Dmp00511 bottom latch assy 2 dmp ì ñ î ó,. Dump Body Parts Diagram.
From thalassaianna.blogspot.com
5+ bibeau dump body parts diagram ThalassaIanna Dump Body Parts Diagram Shortly after its inception, uo equipment became a part of the tos family along with tnt equipment six months later. Pick the brand you want and browse through the part. Dmp00511 bottom latch assy 2 dmp ì ñ î ó, rear olster over. That means that we have to stock replacement parts for your. Review the dump body dimensions and. Dump Body Parts Diagram.
From thalassaianna.blogspot.com
5+ bibeau dump body parts diagram ThalassaIanna Dump Body Parts Diagram Shortly after its inception, uo equipment became a part of the tos family along with tnt equipment six months later. Ordering dump body parts and accessories for any model dump body has never been easier. That means that we have to stock replacement parts for your. Pick the brand you want and browse through the part. Ordering dump body parts. Dump Body Parts Diagram.
From trucks5ton.tpub.com
Figure 390. Dump Body, Basic, Tailgate, and Related Parts Dump Body Parts Diagram Shortly after its inception, uo equipment became a part of the tos family along with tnt equipment six months later. Pick the brand you want and browse through the part. Collectively offers sales, rentals, parts and after market services, remanufacturing, customized equipment and transportation. Review the dump body dimensions and any auxiliary equipment to be installed considering space and potential. Dump Body Parts Diagram.
From downeastermfg.com
XD Dump Body Class 68 Downeaster Manufacturing Dump Body Parts Diagram That means that we have to stock replacement parts for your. Review the dump body dimensions and any auxiliary equipment to be installed considering space and potential interference. Simply browse through the part categories to find what you need or search by part number or description. Collectively offers sales, rentals, parts and after market services, remanufacturing, customized equipment and transportation.. Dump Body Parts Diagram.
From 777parts.net
DUMP BODY Dump Truck Komatsu HD9853 BODY 777parts Dump Body Parts Diagram Collectively offers sales, rentals, parts and after market services, remanufacturing, customized equipment and transportation. Dmp00511 bottom latch assy 2 dmp ì ñ î ó, rear olster over. Pick the brand you want and browse through the part. Ordering dump body parts and accessories for any model dump body has never been easier. Shortly after its inception, uo equipment became a. Dump Body Parts Diagram.
From diagramlibraryschemer.z19.web.core.windows.net
Dump Truck Parts Diagram Dump Body Parts Diagram That means that we have to stock replacement parts for your. Shortly after its inception, uo equipment became a part of the tos family along with tnt equipment six months later. Pick the brand you want and browse through the part. Ordering dump body parts and accessories for any model dump body has never been easier. Collectively offers sales, rentals,. Dump Body Parts Diagram.
From www.jackssmallengines.com
Snapper 7061910 Dump Cart, Yard Cruiser Parts Diagram for Dump Cart Dump Body Parts Diagram Simply browse through the part categories to find what you need or search by part number or description. Ordering dump body parts and accessories for any model dump body has never been easier. Dmp00511 bottom latch assy 2 dmp ì ñ î ó, rear olster over. Shortly after its inception, uo equipment became a part of the tos family along. Dump Body Parts Diagram.
From www.google.com
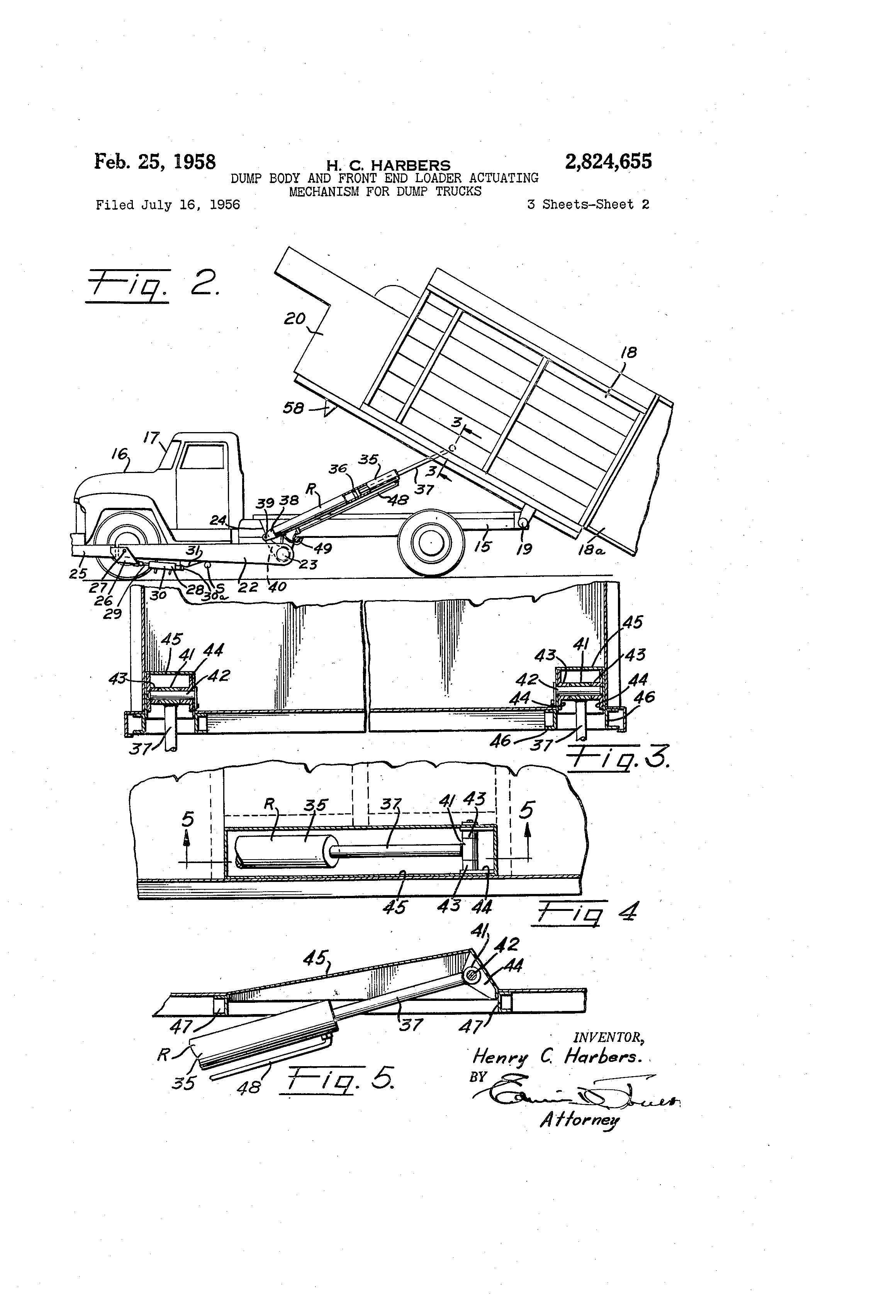
Patent US2824655 Dump body and front end loader actuating mechanism Dump Body Parts Diagram That means that we have to stock replacement parts for your. Dmp00511 bottom latch assy 2 dmp ì ñ î ó, rear olster over. Review the dump body dimensions and any auxiliary equipment to be installed considering space and potential interference. Simply browse through the part categories to find what you need or search by part number or description. Pick. Dump Body Parts Diagram.
From diagramlibrarycard.z5.web.core.windows.net
Kenworth Dump Truck Wiring Diagram 20005 Dump Body Parts Diagram Ordering dump body parts and accessories for any model dump body has never been easier. Pick the brand you want and browse through the part. Dmp00511 bottom latch assy 2 dmp ì ñ î ó, rear olster over. That means that we have to stock replacement parts for your. Ordering dump body parts and accessories for any model dump body. Dump Body Parts Diagram.
From userdiagramforsyth.z21.web.core.windows.net
Dump Truck Body Parts Dump Body Parts Diagram Ordering dump body parts and accessories for any model dump body has never been easier. Simply browse through the part categories to find what you need or search by part number or description. Dmp00511 bottom latch assy 2 dmp ì ñ î ó, rear olster over. Pick the brand you want and browse through the part. Review the dump body. Dump Body Parts Diagram.
From schematicmaxeyhalfway.z21.web.core.windows.net
Dump Truck Parts Diagram Dump Body Parts Diagram Collectively offers sales, rentals, parts and after market services, remanufacturing, customized equipment and transportation. Pick the brand you want and browse through the part. That means that we have to stock replacement parts for your. Ordering dump body parts and accessories for any model dump body has never been easier. Shortly after its inception, uo equipment became a part of. Dump Body Parts Diagram.
From trucks5ton.tpub.com
FIGURE 289. M1090 DUMP BODY (SHEET 1 OF 4) Dump Body Parts Diagram Review the dump body dimensions and any auxiliary equipment to be installed considering space and potential interference. Pick the brand you want and browse through the part. Ordering dump body parts and accessories for any model dump body has never been easier. Shortly after its inception, uo equipment became a part of the tos family along with tnt equipment six. Dump Body Parts Diagram.
From www.conequip.com
Articulated Truck Part Diagram Dump Body Parts Diagram Shortly after its inception, uo equipment became a part of the tos family along with tnt equipment six months later. Dmp00511 bottom latch assy 2 dmp ì ñ î ó, rear olster over. Simply browse through the part categories to find what you need or search by part number or description. Collectively offers sales, rentals, parts and after market services,. Dump Body Parts Diagram.
From schematicenginetraugott.z19.web.core.windows.net
Parts Of Dump Truck Body Dump Body Parts Diagram Ordering dump body parts and accessories for any model dump body has never been easier. That means that we have to stock replacement parts for your. Simply browse through the part categories to find what you need or search by part number or description. Pick the brand you want and browse through the part. Collectively offers sales, rentals, parts and. Dump Body Parts Diagram.
From mavink.com
Dump Truck Diagram Dump Body Parts Diagram Review the dump body dimensions and any auxiliary equipment to be installed considering space and potential interference. Pick the brand you want and browse through the part. Ordering dump body parts and accessories for any model dump body has never been easier. Simply browse through the part categories to find what you need or search by part number or description.. Dump Body Parts Diagram.
From www.pepinstruckparts.com
DUMP BODY Dump Body Parts Diagram That means that we have to stock replacement parts for your. Pick the brand you want and browse through the part. Dmp00511 bottom latch assy 2 dmp ì ñ î ó, rear olster over. Ordering dump body parts and accessories for any model dump body has never been easier. Simply browse through the part categories to find what you need. Dump Body Parts Diagram.
From aspenequipment.com
Dump Bodies Bibeau, Henderson, Scott/Tafco Dump Body Parts Diagram Shortly after its inception, uo equipment became a part of the tos family along with tnt equipment six months later. Ordering dump body parts and accessories for any model dump body has never been easier. Pick the brand you want and browse through the part. Collectively offers sales, rentals, parts and after market services, remanufacturing, customized equipment and transportation. Ordering. Dump Body Parts Diagram.
From www.jackssmallengines.com
DR Power LT1 1/2 Ton Single Axle Trailer Ser LT1000000 Current Dump Body Parts Diagram Ordering dump body parts and accessories for any model dump body has never been easier. Shortly after its inception, uo equipment became a part of the tos family along with tnt equipment six months later. Pick the brand you want and browse through the part. Dmp00511 bottom latch assy 2 dmp ì ñ î ó, rear olster over. Collectively offers. Dump Body Parts Diagram.
From circuitdatahanneman.z4.web.core.windows.net
Dump Truck Parts List Dump Body Parts Diagram Dmp00511 bottom latch assy 2 dmp ì ñ î ó, rear olster over. Simply browse through the part categories to find what you need or search by part number or description. Shortly after its inception, uo equipment became a part of the tos family along with tnt equipment six months later. Review the dump body dimensions and any auxiliary equipment. Dump Body Parts Diagram.
From constructiondumptrucks.tpub.com
Figure 11. Dump Body Assembly. Dump Body Parts Diagram Collectively offers sales, rentals, parts and after market services, remanufacturing, customized equipment and transportation. Review the dump body dimensions and any auxiliary equipment to be installed considering space and potential interference. Pick the brand you want and browse through the part. Ordering dump body parts and accessories for any model dump body has never been easier. Dmp00511 bottom latch assy. Dump Body Parts Diagram.
From circuitwiringgena.z13.web.core.windows.net
Bibeau Dump Body Parts Diagram Dump Body Parts Diagram Shortly after its inception, uo equipment became a part of the tos family along with tnt equipment six months later. That means that we have to stock replacement parts for your. Collectively offers sales, rentals, parts and after market services, remanufacturing, customized equipment and transportation. Ordering dump body parts and accessories for any model dump body has never been easier.. Dump Body Parts Diagram.
From margoturaki.blogspot.com
32+ Bibeau Dump Body Parts Diagram MargoTuraki Dump Body Parts Diagram Pick the brand you want and browse through the part. Ordering dump body parts and accessories for any model dump body has never been easier. That means that we have to stock replacement parts for your. Simply browse through the part categories to find what you need or search by part number or description. Collectively offers sales, rentals, parts and. Dump Body Parts Diagram.
From www.mheby.com
FULLBACK General Purpose Dump Bodies MH EBY Dump Body Parts Diagram Dmp00511 bottom latch assy 2 dmp ì ñ î ó, rear olster over. Simply browse through the part categories to find what you need or search by part number or description. Ordering dump body parts and accessories for any model dump body has never been easier. Review the dump body dimensions and any auxiliary equipment to be installed considering space. Dump Body Parts Diagram.