Pillow Block Bearing Tariff Code . Seair is proficient in interpreting hs code 5201 for. The specific hsn code for pillow block bearing depends on the product type. The pillow block is an assembly comprising a ball bearing and a bearing housing and is used for mounting bearings in various locations. Bearing housings not incorporating ball or roller bearings, for machinery and plain shaft. The applicable subheading for the pillow block will be 8483.20.8040, htsus, which provides for other housed bearings incorporating ball. You can also use the service to: Use this service to find a commodity code for goods you’re importing to or exporting from the uk. Pillow block worth $3,204,518 under hs code 84833000 have been imported. Average import price for pillow block under hs code 84833000. Average export price for pillow block under sub chapter 8483 was $3.89. Pillow block worth $107,276 under sub chapter 8483 have been exported.
from mavink.com
The pillow block is an assembly comprising a ball bearing and a bearing housing and is used for mounting bearings in various locations. The applicable subheading for the pillow block will be 8483.20.8040, htsus, which provides for other housed bearings incorporating ball. Bearing housings not incorporating ball or roller bearings, for machinery and plain shaft. The specific hsn code for pillow block bearing depends on the product type. Pillow block worth $107,276 under sub chapter 8483 have been exported. Average export price for pillow block under sub chapter 8483 was $3.89. You can also use the service to: Use this service to find a commodity code for goods you’re importing to or exporting from the uk. Pillow block worth $3,204,518 under hs code 84833000 have been imported. Seair is proficient in interpreting hs code 5201 for.
Pillow Block Bearing Size Chart
Pillow Block Bearing Tariff Code Seair is proficient in interpreting hs code 5201 for. Bearing housings not incorporating ball or roller bearings, for machinery and plain shaft. The applicable subheading for the pillow block will be 8483.20.8040, htsus, which provides for other housed bearings incorporating ball. Pillow block worth $3,204,518 under hs code 84833000 have been imported. Seair is proficient in interpreting hs code 5201 for. Pillow block worth $107,276 under sub chapter 8483 have been exported. Average import price for pillow block under hs code 84833000. You can also use the service to: Average export price for pillow block under sub chapter 8483 was $3.89. Use this service to find a commodity code for goods you’re importing to or exporting from the uk. The specific hsn code for pillow block bearing depends on the product type. The pillow block is an assembly comprising a ball bearing and a bearing housing and is used for mounting bearings in various locations.
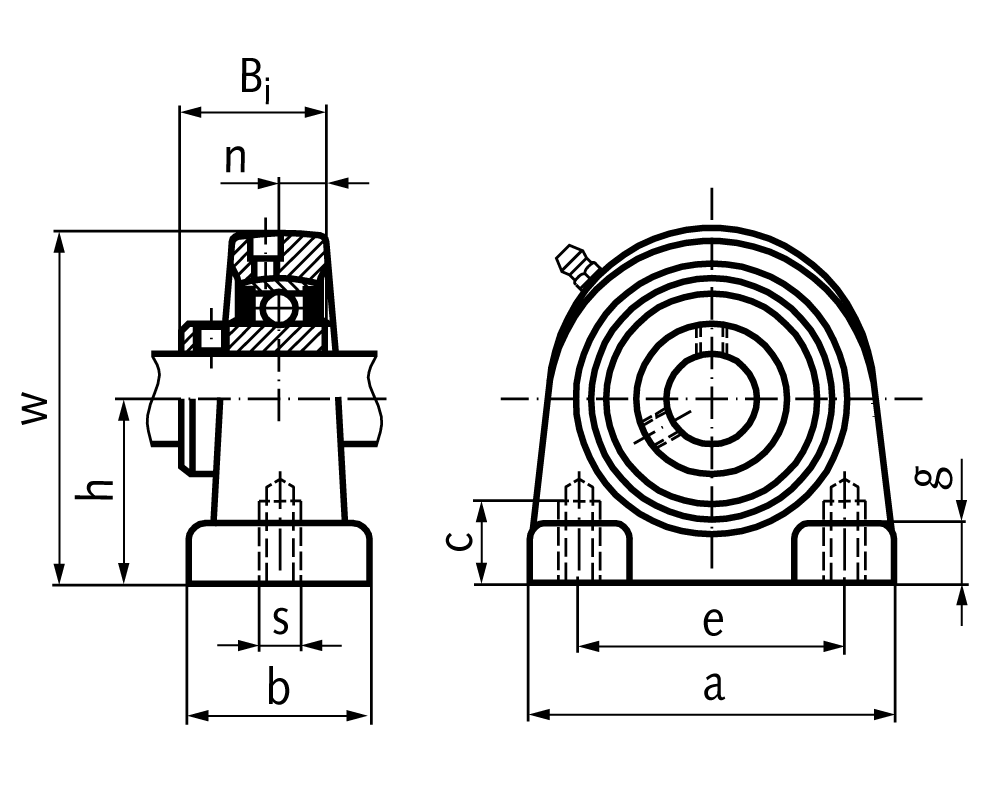
From www.cbkbearings.com
CBK BEARINGS Pillow blocks Ball bearings Units Rolling Bearings Pillow Block Bearing Tariff Code The pillow block is an assembly comprising a ball bearing and a bearing housing and is used for mounting bearings in various locations. The specific hsn code for pillow block bearing depends on the product type. You can also use the service to: Pillow block worth $107,276 under sub chapter 8483 have been exported. Average import price for pillow block. Pillow Block Bearing Tariff Code.
From nwb.co.in
PillowBlocks New World Bearings Private Limited Pillow Block Bearing Tariff Code The specific hsn code for pillow block bearing depends on the product type. Average import price for pillow block under hs code 84833000. You can also use the service to: Pillow block worth $107,276 under sub chapter 8483 have been exported. The pillow block is an assembly comprising a ball bearing and a bearing housing and is used for mounting. Pillow Block Bearing Tariff Code.
From impactbearing.com
Impact Bearing Your Bearing Solutions Pillow Block Bearing Tariff Code The pillow block is an assembly comprising a ball bearing and a bearing housing and is used for mounting bearings in various locations. Seair is proficient in interpreting hs code 5201 for. Use this service to find a commodity code for goods you’re importing to or exporting from the uk. The applicable subheading for the pillow block will be 8483.20.8040,. Pillow Block Bearing Tariff Code.
From www.bearingtips.com
What is a pillow block bearing unit? Bearing Tips Pillow Block Bearing Tariff Code Use this service to find a commodity code for goods you’re importing to or exporting from the uk. Seair is proficient in interpreting hs code 5201 for. Average export price for pillow block under sub chapter 8483 was $3.89. Pillow block worth $3,204,518 under hs code 84833000 have been imported. You can also use the service to: Bearing housings not. Pillow Block Bearing Tariff Code.
From www.tr.com.cn
UCPX Setscrew typePillow blocksDongguan TR Bearings Co.,Ltd Pillow Block Bearing Tariff Code The pillow block is an assembly comprising a ball bearing and a bearing housing and is used for mounting bearings in various locations. The applicable subheading for the pillow block will be 8483.20.8040, htsus, which provides for other housed bearings incorporating ball. Average export price for pillow block under sub chapter 8483 was $3.89. Average import price for pillow block. Pillow Block Bearing Tariff Code.
From www.weeyh-bearing.com
Pillow Block Bearing Bearing Unit with Square. Housing, F, FX, FU, FN Pillow Block Bearing Tariff Code Seair is proficient in interpreting hs code 5201 for. Pillow block worth $107,276 under sub chapter 8483 have been exported. The pillow block is an assembly comprising a ball bearing and a bearing housing and is used for mounting bearings in various locations. The specific hsn code for pillow block bearing depends on the product type. You can also use. Pillow Block Bearing Tariff Code.
From www.lily-bearing.com
KHPP20723 Pillow Block Bearing Eccentric Collar Locking AMI Lily Pillow Block Bearing Tariff Code Bearing housings not incorporating ball or roller bearings, for machinery and plain shaft. Average export price for pillow block under sub chapter 8483 was $3.89. The applicable subheading for the pillow block will be 8483.20.8040, htsus, which provides for other housed bearings incorporating ball. You can also use the service to: Pillow block worth $107,276 under sub chapter 8483 have. Pillow Block Bearing Tariff Code.
From www.aubearing.com
The Ultimate Guide To Pillow Block Bearing AUBEARING Pillow Block Bearing Tariff Code Seair is proficient in interpreting hs code 5201 for. You can also use the service to: Pillow block worth $107,276 under sub chapter 8483 have been exported. Average import price for pillow block under hs code 84833000. The pillow block is an assembly comprising a ball bearing and a bearing housing and is used for mounting bearings in various locations.. Pillow Block Bearing Tariff Code.
From fqnbearing.en.made-in-china.com
UCP Pillow Block Bearing Size Chart with Competitive Price China UCP Pillow Block Bearing Tariff Code You can also use the service to: The pillow block is an assembly comprising a ball bearing and a bearing housing and is used for mounting bearings in various locations. The specific hsn code for pillow block bearing depends on the product type. Use this service to find a commodity code for goods you’re importing to or exporting from the. Pillow Block Bearing Tariff Code.
From www.alibaba.com
Pillow Block Bearing Ucfl Bearing Full Form Ucfl Bearing Size Chart Pillow Block Bearing Tariff Code Pillow block worth $3,204,518 under hs code 84833000 have been imported. Pillow block worth $107,276 under sub chapter 8483 have been exported. Use this service to find a commodity code for goods you’re importing to or exporting from the uk. The specific hsn code for pillow block bearing depends on the product type. The applicable subheading for the pillow block. Pillow Block Bearing Tariff Code.
From fqnbearing.en.made-in-china.com
UCP 209 Insert Ball Bearing Pillow Block Bearing for Construction Pillow Block Bearing Tariff Code Average import price for pillow block under hs code 84833000. You can also use the service to: Pillow block worth $3,204,518 under hs code 84833000 have been imported. Average export price for pillow block under sub chapter 8483 was $3.89. The pillow block is an assembly comprising a ball bearing and a bearing housing and is used for mounting bearings. Pillow Block Bearing Tariff Code.
From www.lily-bearing.com
KP000 Pillow Block Bearing Set Screw Locking AMI LILY Bearing Pillow Block Bearing Tariff Code Bearing housings not incorporating ball or roller bearings, for machinery and plain shaft. Average import price for pillow block under hs code 84833000. Pillow block worth $3,204,518 under hs code 84833000 have been imported. Use this service to find a commodity code for goods you’re importing to or exporting from the uk. The specific hsn code for pillow block bearing. Pillow Block Bearing Tariff Code.
From impactbearing.com
Impact Bearing Your Bearing Solutions Pillow Block Bearing Tariff Code Pillow block worth $3,204,518 under hs code 84833000 have been imported. The pillow block is an assembly comprising a ball bearing and a bearing housing and is used for mounting bearings in various locations. Average import price for pillow block under hs code 84833000. Average export price for pillow block under sub chapter 8483 was $3.89. The specific hsn code. Pillow Block Bearing Tariff Code.
From engistudies.blogspot.com
What is a pillow block bearing? Engistudies Pillow Block Bearing Tariff Code Use this service to find a commodity code for goods you’re importing to or exporting from the uk. The applicable subheading for the pillow block will be 8483.20.8040, htsus, which provides for other housed bearings incorporating ball. Pillow block worth $3,204,518 under hs code 84833000 have been imported. The pillow block is an assembly comprising a ball bearing and a. Pillow Block Bearing Tariff Code.
From www.lintechmotion.com
SLBC series Closed Linear Bearing Pillow Blocks Lintech Pillow Block Bearing Tariff Code Average import price for pillow block under hs code 84833000. The pillow block is an assembly comprising a ball bearing and a bearing housing and is used for mounting bearings in various locations. Bearing housings not incorporating ball or roller bearings, for machinery and plain shaft. You can also use the service to: The specific hsn code for pillow block. Pillow Block Bearing Tariff Code.
From www.wghb-bearing.com
Pillow block Bearing with housing ShengBang Bearing Pillow Block Bearing Tariff Code Bearing housings not incorporating ball or roller bearings, for machinery and plain shaft. The applicable subheading for the pillow block will be 8483.20.8040, htsus, which provides for other housed bearings incorporating ball. Seair is proficient in interpreting hs code 5201 for. You can also use the service to: Average export price for pillow block under sub chapter 8483 was $3.89.. Pillow Block Bearing Tariff Code.
From cnccat.com
Pillow Block Ball Bearing CNC CAT Pillow Block Bearing Tariff Code Average export price for pillow block under sub chapter 8483 was $3.89. The specific hsn code for pillow block bearing depends on the product type. You can also use the service to: Pillow block worth $3,204,518 under hs code 84833000 have been imported. Use this service to find a commodity code for goods you’re importing to or exporting from the. Pillow Block Bearing Tariff Code.
From anugerahjayabearing.com
Tabel Ukuran Pillow Block Bearing Secara Lengkap Pillow Block Bearing Tariff Code Pillow block worth $107,276 under sub chapter 8483 have been exported. Seair is proficient in interpreting hs code 5201 for. You can also use the service to: Use this service to find a commodity code for goods you’re importing to or exporting from the uk. Average import price for pillow block under hs code 84833000. Bearing housings not incorporating ball. Pillow Block Bearing Tariff Code.
From www.lily-bearing.com
UCP21340 Pillow Block Bearing Set Screw Locking AMI LILY Bearing Pillow Block Bearing Tariff Code Use this service to find a commodity code for goods you’re importing to or exporting from the uk. The pillow block is an assembly comprising a ball bearing and a bearing housing and is used for mounting bearings in various locations. The specific hsn code for pillow block bearing depends on the product type. You can also use the service. Pillow Block Bearing Tariff Code.
From nwb.co.in
PillowBlocks New World Bearings Private Limited Pillow Block Bearing Tariff Code Average export price for pillow block under sub chapter 8483 was $3.89. You can also use the service to: The applicable subheading for the pillow block will be 8483.20.8040, htsus, which provides for other housed bearings incorporating ball. The pillow block is an assembly comprising a ball bearing and a bearing housing and is used for mounting bearings in various. Pillow Block Bearing Tariff Code.
From maedlernorthamerica.com
Ball pillow block bearing UCPA 207 bore 35mm housing cast iron SKU Pillow Block Bearing Tariff Code Average import price for pillow block under hs code 84833000. Pillow block worth $3,204,518 under hs code 84833000 have been imported. The pillow block is an assembly comprising a ball bearing and a bearing housing and is used for mounting bearings in various locations. The specific hsn code for pillow block bearing depends on the product type. Bearing housings not. Pillow Block Bearing Tariff Code.
From www.nskbearingcatalogue.com
The installation of high speed pillow block bearings Pillow Block Bearing Tariff Code Average import price for pillow block under hs code 84833000. The specific hsn code for pillow block bearing depends on the product type. Pillow block worth $3,204,518 under hs code 84833000 have been imported. Seair is proficient in interpreting hs code 5201 for. Use this service to find a commodity code for goods you’re importing to or exporting from the. Pillow Block Bearing Tariff Code.
From lintechmotion.com
SLBO series Open Linear Bearing Pillow Block Lintech Pillow Block Bearing Tariff Code Use this service to find a commodity code for goods you’re importing to or exporting from the uk. The applicable subheading for the pillow block will be 8483.20.8040, htsus, which provides for other housed bearings incorporating ball. You can also use the service to: The pillow block is an assembly comprising a ball bearing and a bearing housing and is. Pillow Block Bearing Tariff Code.
From e-learningperspectives.blogspot.com
Design 25 of Pillow Block Bearing Dimensions Chart elearningperspectives Pillow Block Bearing Tariff Code You can also use the service to: The specific hsn code for pillow block bearing depends on the product type. Average export price for pillow block under sub chapter 8483 was $3.89. Pillow block worth $107,276 under sub chapter 8483 have been exported. The applicable subheading for the pillow block will be 8483.20.8040, htsus, which provides for other housed bearings. Pillow Block Bearing Tariff Code.
From www.usarollerchain.com
P2BS2300RE Bearing SPB23TE Pillow Block Bearing Expansion Pillow Block Bearing Tariff Code The specific hsn code for pillow block bearing depends on the product type. Pillow block worth $3,204,518 under hs code 84833000 have been imported. Average export price for pillow block under sub chapter 8483 was $3.89. The pillow block is an assembly comprising a ball bearing and a bearing housing and is used for mounting bearings in various locations. Pillow. Pillow Block Bearing Tariff Code.
From www.lily-bearing.com
UGP206 Pillow Block Bearing Eccentric Collar Locking AMI LILY Bearing Pillow Block Bearing Tariff Code The specific hsn code for pillow block bearing depends on the product type. Average import price for pillow block under hs code 84833000. Bearing housings not incorporating ball or roller bearings, for machinery and plain shaft. Pillow block worth $3,204,518 under hs code 84833000 have been imported. The pillow block is an assembly comprising a ball bearing and a bearing. Pillow Block Bearing Tariff Code.
From rehmaanthea.blogspot.com
34+ pillow block bearings cad drawings RehmaanThea Pillow Block Bearing Tariff Code Seair is proficient in interpreting hs code 5201 for. The applicable subheading for the pillow block will be 8483.20.8040, htsus, which provides for other housed bearings incorporating ball. Average export price for pillow block under sub chapter 8483 was $3.89. Bearing housings not incorporating ball or roller bearings, for machinery and plain shaft. Average import price for pillow block under. Pillow Block Bearing Tariff Code.
From www.ronical.com
KP Pillow Block Bearing Ronical Technologies LLP Wide range of Pillow Block Bearing Tariff Code Bearing housings not incorporating ball or roller bearings, for machinery and plain shaft. The applicable subheading for the pillow block will be 8483.20.8040, htsus, which provides for other housed bearings incorporating ball. You can also use the service to: Average import price for pillow block under hs code 84833000. Seair is proficient in interpreting hs code 5201 for. The specific. Pillow Block Bearing Tariff Code.
From mavink.com
Pillow Block Bearing Size Chart Pillow Block Bearing Tariff Code Bearing housings not incorporating ball or roller bearings, for machinery and plain shaft. You can also use the service to: The specific hsn code for pillow block bearing depends on the product type. Average export price for pillow block under sub chapter 8483 was $3.89. Pillow block worth $3,204,518 under hs code 84833000 have been imported. Average import price for. Pillow Block Bearing Tariff Code.
From nwb.co.in
PillowBlocks New World Bearings Private Limited Pillow Block Bearing Tariff Code Seair is proficient in interpreting hs code 5201 for. Average export price for pillow block under sub chapter 8483 was $3.89. You can also use the service to: Pillow block worth $3,204,518 under hs code 84833000 have been imported. The specific hsn code for pillow block bearing depends on the product type. The applicable subheading for the pillow block will. Pillow Block Bearing Tariff Code.
From www.lily-bearing.com
BPP617 Pillow Block Bearing Set Screw Locking AMI LILY Bearing Pillow Block Bearing Tariff Code Average import price for pillow block under hs code 84833000. Pillow block worth $3,204,518 under hs code 84833000 have been imported. You can also use the service to: The applicable subheading for the pillow block will be 8483.20.8040, htsus, which provides for other housed bearings incorporating ball. Seair is proficient in interpreting hs code 5201 for. Pillow block worth $107,276. Pillow Block Bearing Tariff Code.
From www.cbkbearings.com
CBK BEARINGS Tapped Base pillow blocks Ball bearings Units Pillow Block Bearing Tariff Code Pillow block worth $3,204,518 under hs code 84833000 have been imported. Seair is proficient in interpreting hs code 5201 for. Pillow block worth $107,276 under sub chapter 8483 have been exported. Use this service to find a commodity code for goods you’re importing to or exporting from the uk. Average import price for pillow block under hs code 84833000. The. Pillow Block Bearing Tariff Code.
From nwb.co.in
PillowBlocks New World Bearings Private Limited Pillow Block Bearing Tariff Code Seair is proficient in interpreting hs code 5201 for. The applicable subheading for the pillow block will be 8483.20.8040, htsus, which provides for other housed bearings incorporating ball. Average import price for pillow block under hs code 84833000. The pillow block is an assembly comprising a ball bearing and a bearing housing and is used for mounting bearings in various. Pillow Block Bearing Tariff Code.
From www.lily-bearing.com
BPP3 Pillow Block Bearing Set Screw Locking AMI LILY Bearing Pillow Block Bearing Tariff Code The pillow block is an assembly comprising a ball bearing and a bearing housing and is used for mounting bearings in various locations. The applicable subheading for the pillow block will be 8483.20.8040, htsus, which provides for other housed bearings incorporating ball. Pillow block worth $107,276 under sub chapter 8483 have been exported. Use this service to find a commodity. Pillow Block Bearing Tariff Code.
From fkdbearing.en.made-in-china.com
Pillow Block Bearing with 45/90 Degree Angle Grease Fitting (UCFL20412 Pillow Block Bearing Tariff Code The applicable subheading for the pillow block will be 8483.20.8040, htsus, which provides for other housed bearings incorporating ball. Average import price for pillow block under hs code 84833000. The specific hsn code for pillow block bearing depends on the product type. You can also use the service to: Pillow block worth $3,204,518 under hs code 84833000 have been imported.. Pillow Block Bearing Tariff Code.