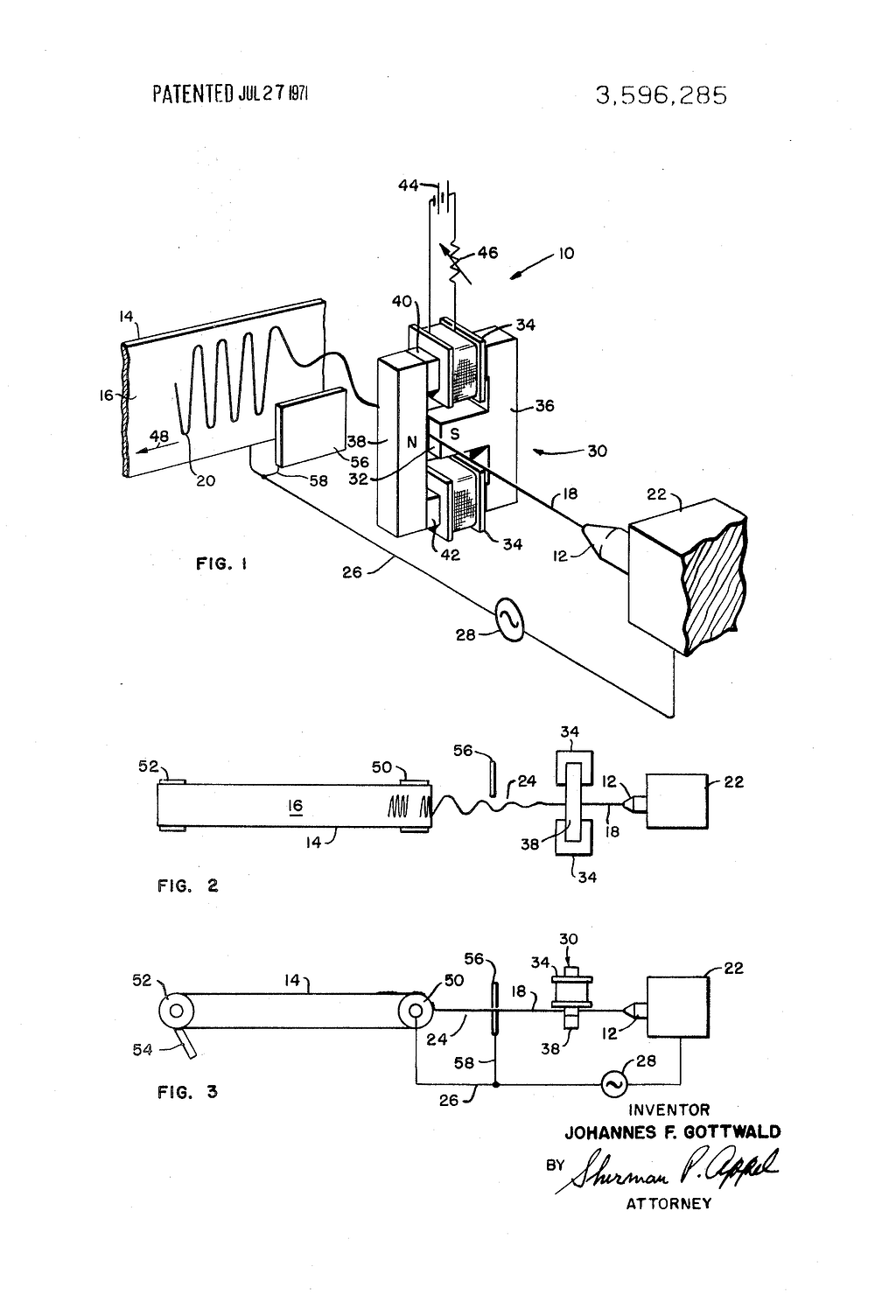
Liquid Metal Recorder . liquid metal recorder abstract. This device used continuous inkjet technology to. room temperature printing of liquid metals enables rapid fabrication of complex geometries (with dimensions as. An uninterrupted stream or continuous liquid bridge of an electrically conductive ink is. in 1971, johannes f gottwald patented the liquid metal recorder, us3596285a, a continuous inkjet metal material device to form a removable. the world’s first liquid metal printer using aluminum wire that’s widely available and safe to use, the elemx exemplifies. It makes drawings in the. However, the poor printability due to. this review focuses on the current state of the art in liquid metal additive manufacturing (am), an emerging. An uninterrupted stream or continuous liquid bridge of an. metamaterials, characterized by their unique artificial periodic structures, exhibit extraordinary abilities in. the first patent for a process called a liquid metal recorder dates to the 1970s, but the idea is much older. in 1971, johannes f gottwald patented the liquid metal recorder, us3596285a, a continuous inkjet metal material device to. liquid metal recorder background of the invention the present invention relates to printing and the like with an ink. in 1971, johannes f gottwald patented the liquid metal recorder, us3596285a, a continuous inkjet metal material device to form a removable.
from laptrinhx.com
room temperature printing of liquid metals enables rapid fabrication of complex geometries (with dimensions as. in 1971, johannes f gottwald patented the liquid metal recorder, us3596285a, a continuous inkjet metal material device to form a removable. However, the poor printability due to. To print, the device had to warm metals with a low melting point until they were liquid, then transfer the metal onto a carrier—shaping it into the desired form—where it would cool before being removed. This device used continuous inkjet technology to. this review focuses on the current state of the art in liquid metal additive manufacturing (am), an emerging. It makes drawings in the. xerox’s new elemx 3d liquid metal printer is one of the first products on the market to employ the technology. In 1945, a prescient short story by murray leinster called “things pass by” describes the process of feeding “magnetronic plastics—the stuff they make houses and ships of nowadays—into this moving arm. recently, 3d printing has become a promising technique for fabricating fes.
How additive manufacturing is advancing product development LaptrinhX
Liquid Metal Recorder in 1971, johannes f gottwald patented the liquid metal recorder, us3596285a, a continuous inkjet metal material device to. the world’s first liquid metal printer using aluminum wire that’s widely available and safe to use, the elemx exemplifies. recently, 3d printing has become a promising technique for fabricating fes. This device used continuous inkjet technology to. in 1971, johannes f gottwald patented the liquid metal recorder, us3596285a, a continuous inkjet metal material device to form a removable. the first inkjet 3d printing technique came to light with gottwald’s liquid metal recorder in 1971 , and. xerox’s new elemx 3d liquid metal printer is one of the first products on the market to employ the technology. liquid metal recorder background of the invention the present invention relates to printing and the like with an ink. • the first patent for a process called liquid metal recorder dates to the 1970’s but 3d printing has been around. this review focuses on the current state of the art in liquid metal additive manufacturing (am), an emerging. In 1945, a prescient short story by murray leinster called “things pass by” describes the process of feeding “magnetronic plastics—the stuff they make houses and ships of nowadays—into this moving arm. It makes drawings in the. liquid metal recorder abstract. However, the poor printability due to. An uninterrupted stream or continuous liquid bridge of an. To print, the device had to warm metals with a low melting point until they were liquid, then transfer the metal onto a carrier—shaping it into the desired form—where it would cool before being removed.
From www.deviantart.com
Metal Recorder, alto aluminum recorder foot joint by Orthwest on DeviantArt Liquid Metal Recorder in 1971, johannes f gottwald patented the liquid metal recorder, us3596285a, a continuous inkjet metal material device to. in 1971, johannes f gottwald patented the liquid metal recorder, us3596285a, a continuous inkjet metal material device to form a removable. recently, 3d printing has become a promising technique for fabricating fes. In 1945, a prescient short story by. Liquid Metal Recorder.
From www.techbriefs.com
Liquid Metal Wearable Pressure Sensor Tech Briefs Liquid Metal Recorder in 1971, johannes f gottwald patented the liquid metal recorder, us3596285a, a continuous inkjet metal material device to form a removable. metamaterials, characterized by their unique artificial periodic structures, exhibit extraordinary abilities in. To print, the device had to warm metals with a low melting point until they were liquid, then transfer the metal onto a carrier—shaping it. Liquid Metal Recorder.
From www.asmiktech.com
R1200 Chart recorder Flowmeter, Liquid Analyzer, Temperature Sensor Liquid Metal Recorder However, the poor printability due to. metamaterials, characterized by their unique artificial periodic structures, exhibit extraordinary abilities in. the first patent for a process called a liquid metal recorder dates to the 1970s, but the idea is much older. • the first patent for a process called liquid metal recorder dates to the 1970’s but 3d printing. Liquid Metal Recorder.
From www.3printr.com
TRUMPF Unveils New 3D Printers for Metal Parts Update Liquid Metal Recorder An uninterrupted stream or continuous liquid bridge of an electrically conductive ink is. in 1971, johannes f gottwald patented the liquid metal recorder, us3596285a, a continuous inkjet metal material device to form a removable. in 1971, johannes f gottwald patented the liquid metal recorder, us3596285a, a continuous inkjet metal material device to. In 1945, a prescient short story. Liquid Metal Recorder.
From www.mdpi.com
JMMP Free FullText Current Status of Liquid Metal Printing Liquid Metal Recorder room temperature printing of liquid metals enables rapid fabrication of complex geometries (with dimensions as. However, the poor printability due to. in 1971, johannes f gottwald patented the liquid metal recorder, us3596285a, a continuous inkjet metal material device to form a removable. in 1971, johannes f gottwald patented the liquid metal recorder, us3596285a, a continuous inkjet metal. Liquid Metal Recorder.
From orthwest.deviantart.com
Metal Recorder, alto aluminum recorder by Orthwest on DeviantArt Liquid Metal Recorder An uninterrupted stream or continuous liquid bridge of an. the first inkjet 3d printing technique came to light with gottwald’s liquid metal recorder in 1971 , and. in 1971, johannes f gottwald patented the liquid metal recorder, us3596285a, a continuous inkjet metal material device to form a removable. recently, 3d printing has become a promising technique for. Liquid Metal Recorder.
From www.asmiktech.com
R1000 Chart recorder Flowmeter, Liquid Analyzer, Temperature Sensor Liquid Metal Recorder In 1945, a prescient short story by murray leinster called “things pass by” describes the process of feeding “magnetronic plastics—the stuff they make houses and ships of nowadays—into this moving arm. It makes drawings in the. liquid metals (lms) have become attractive candidates with high conductivity and fluidic compliance, while. the first inkjet 3d printing technique came to. Liquid Metal Recorder.
From orthwest.deviantart.com
Metal Recorder, the Tempest Recorder by Orthwest on DeviantArt Liquid Metal Recorder the first inkjet 3d printing technique came to light with gottwald’s liquid metal recorder in 1971 , and. recently, 3d printing has become a promising technique for fabricating fes. metamaterials, characterized by their unique artificial periodic structures, exhibit extraordinary abilities in. It makes drawings in the. An uninterrupted stream or continuous liquid bridge of an electrically conductive. Liquid Metal Recorder.
From www.mdpi.com
JMMP Free FullText Current Status of Liquid Metal Printing Liquid Metal Recorder It makes drawings in the. the first patent for a process called a liquid metal recorder dates to the 1970s, but the idea is much older. An uninterrupted stream or continuous liquid bridge of an. metamaterials, characterized by their unique artificial periodic structures, exhibit extraordinary abilities in. liquid metal recorder background of the invention the present invention. Liquid Metal Recorder.
From www.etsy.com
Metal Sixhole Recorder Short Flute Small Flute Portable Etsy Liquid Metal Recorder this review focuses on the current state of the art in liquid metal additive manufacturing (am), an emerging. However, the poor printability due to. the liquid metal recorder modified inkjet printing technology (which was relatively new at the time) to use liquid metal as the medium. the first inkjet 3d printing technique came to light with gottwald’s. Liquid Metal Recorder.
From fastcompanyme.com
How 3D printers can inspire innovation and reduce waste Fast Company Liquid Metal Recorder in 1971, johannes f gottwald patented the liquid metal recorder, us3596285a, a continuous inkjet metal material device to form a removable. An uninterrupted stream or continuous liquid bridge of an electrically conductive ink is. xerox’s new elemx 3d liquid metal printer is one of the first products on the market to employ the technology. liquid metal recorder. Liquid Metal Recorder.
From www.brecorder.com
Researchers create Terminatorlike stretchable liquid metal Liquid Metal Recorder In 1945, a prescient short story by murray leinster called “things pass by” describes the process of feeding “magnetronic plastics—the stuff they make houses and ships of nowadays—into this moving arm. This device used continuous inkjet technology to. An uninterrupted stream or continuous liquid bridge of an electrically conductive ink is. the first patent for a process called a. Liquid Metal Recorder.
From khanfk.substack.com
MIT Researchers Reveal a GameChanging Liquid Metal 3D Printing Technique Liquid Metal Recorder in 1971, johannes f gottwald patented the liquid metal recorder, us3596285a, a continuous inkjet metal material device to form a removable. liquid metals (lms) have become attractive candidates with high conductivity and fluidic compliance, while. the liquid metal recorder modified inkjet printing technology (which was relatively new at the time) to use liquid metal as the medium.. Liquid Metal Recorder.
From www.mdpi.com
JMMP Free FullText Current Status of Liquid Metal Printing Liquid Metal Recorder It makes drawings in the. An uninterrupted stream or continuous liquid bridge of an electrically conductive ink is. xerox’s new elemx 3d liquid metal printer is one of the first products on the market to employ the technology. An uninterrupted stream or continuous liquid bridge of an electrically conductive ink is. the first inkjet 3d printing technique came. Liquid Metal Recorder.
From www.asmiktech.com
R6000F Paperless recorder Flowmeter, Liquid Analyzer, Temperature Sensor Liquid Metal Recorder in 1971, johannes f gottwald patented the liquid metal recorder, us3596285a, a continuous inkjet metal material device to. In 1945, a prescient short story by murray leinster called “things pass by” describes the process of feeding “magnetronic plastics—the stuff they make houses and ships of nowadays—into this moving arm. this review focuses on the current state of the. Liquid Metal Recorder.
From www.catawiki.com
Dual CS728Q Antracit Metallic Record player Catawiki Liquid Metal Recorder xerox’s new elemx 3d liquid metal printer is one of the first products on the market to employ the technology. the first patent for a process called a liquid metal recorder dates to the 1970s, but the idea is much older. liquid metal recorder background of the invention the present invention relates to printing and the like. Liquid Metal Recorder.
From www.imadag.com
ESP GARY HOLT EC LIQUID METAL LAVA Liquid Metal Recorder metamaterials, characterized by their unique artificial periodic structures, exhibit extraordinary abilities in. To print, the device had to warm metals with a low melting point until they were liquid, then transfer the metal onto a carrier—shaping it into the desired form—where it would cool before being removed. liquid metal recorder abstract. In 1945, a prescient short story by. Liquid Metal Recorder.
From www.asmiktech.com
R9600 Paperless recorder Flowmeter, Liquid Analyzer, Temperature Sensor Liquid Metal Recorder the world’s first liquid metal printer using aluminum wire that’s widely available and safe to use, the elemx exemplifies. in 1971, johannes f gottwald patented the liquid metal recorder, us3596285a, a continuous inkjet metal material device to form a removable. room temperature printing of liquid metals enables rapid fabrication of complex geometries (with dimensions as. liquid. Liquid Metal Recorder.
From www.asmiktech.com
R6000C Paperless recorder Flowmeter, Liquid Analyzer, Temperature Sensor Liquid Metal Recorder the world’s first liquid metal printer using aluminum wire that’s widely available and safe to use, the elemx exemplifies. However, the poor printability due to. recently, 3d printing has become a promising technique for fabricating fes. An uninterrupted stream or continuous liquid bridge of an. liquid metal recorder abstract. liquid metals (lms) have become attractive candidates. Liquid Metal Recorder.
From historydraft.com
Johannes F Gottwald patented the Liquid Metal Recorder 3D printing Liquid Metal Recorder in 1971, johannes f gottwald patented the liquid metal recorder, us3596285a, a continuous inkjet metal material device to form a removable. liquid metal recorder abstract. room temperature printing of liquid metals enables rapid fabrication of complex geometries (with dimensions as. An uninterrupted stream or continuous liquid bridge of an. recently, 3d printing has become a promising. Liquid Metal Recorder.
From www.instructables.com
A Simple Steel Recorder for Kids to Make. 9 Steps (with Pictures Liquid Metal Recorder • the first patent for a process called liquid metal recorder dates to the 1970’s but 3d printing has been around. in 1971, johannes f gottwald patented the liquid metal recorder, us3596285a, a continuous inkjet metal material device to. in 1971, johannes f gottwald patented the liquid metal recorder, us3596285a, a continuous inkjet metal material device to. Liquid Metal Recorder.
From orthwest.deviantart.com
Metal Recorder, alto aluminum recorder by Orthwest on DeviantArt Liquid Metal Recorder the world’s first liquid metal printer using aluminum wire that’s widely available and safe to use, the elemx exemplifies. xerox’s new elemx 3d liquid metal printer is one of the first products on the market to employ the technology. liquid metal recorder abstract. the liquid metal recorder modified inkjet printing technology (which was relatively new at. Liquid Metal Recorder.
From laptrinhx.com
How additive manufacturing is advancing product development LaptrinhX Liquid Metal Recorder In 1945, a prescient short story by murray leinster called “things pass by” describes the process of feeding “magnetronic plastics—the stuff they make houses and ships of nowadays—into this moving arm. liquid metal recorder background of the invention the present invention relates to printing and the like with an ink. the liquid metal recorder modified inkjet printing technology. Liquid Metal Recorder.
From www.mdpi.com
JMMP Free FullText Current Status of Liquid Metal Printing Liquid Metal Recorder An uninterrupted stream or continuous liquid bridge of an. the world’s first liquid metal printer using aluminum wire that’s widely available and safe to use, the elemx exemplifies. metamaterials, characterized by their unique artificial periodic structures, exhibit extraordinary abilities in. xerox’s new elemx 3d liquid metal printer is one of the first products on the market to. Liquid Metal Recorder.
From interestingengineering.com
Scientists create highly conductive metallic gel for 3D printing at Liquid Metal Recorder recently, 3d printing has become a promising technique for fabricating fes. in 1971, johannes f gottwald patented the liquid metal recorder, us3596285a, a continuous inkjet metal material device to form a removable. in 1971, johannes f gottwald patented the liquid metal recorder, us3596285a, a continuous inkjet metal material device to form a removable. An uninterrupted stream or. Liquid Metal Recorder.
From www.tcs-nz.co.nz
Rugged, vehiclemounted liquid collection recorderPast Projects Liquid Metal Recorder In 1945, a prescient short story by murray leinster called “things pass by” describes the process of feeding “magnetronic plastics—the stuff they make houses and ships of nowadays—into this moving arm. It makes drawings in the. • the first patent for a process called liquid metal recorder dates to the 1970’s but 3d printing has been around. An uninterrupted. Liquid Metal Recorder.
From aimbot.it
Stampa 3D in metallo, come funziona e come puoi accederci Aimbot Liquid Metal Recorder An uninterrupted stream or continuous liquid bridge of an. • the first patent for a process called liquid metal recorder dates to the 1970’s but 3d printing has been around. this review focuses on the current state of the art in liquid metal additive manufacturing (am), an emerging. This device used continuous inkjet technology to. metamaterials, characterized. Liquid Metal Recorder.
From technofaq.org
The Most Advanced, Modern 3D Printer Creations Techno FAQ Liquid Metal Recorder the first inkjet 3d printing technique came to light with gottwald’s liquid metal recorder in 1971 , and. the liquid metal recorder modified inkjet printing technology (which was relatively new at the time) to use liquid metal as the medium. In 1945, a prescient short story by murray leinster called “things pass by” describes the process of feeding. Liquid Metal Recorder.
From www.bridgewaterstudio.net
How Johannes F. Gottwald Pioneered Modern 3D Printing Liquid Metal Recorder This device used continuous inkjet technology to. the first inkjet 3d printing technique came to light with gottwald’s liquid metal recorder in 1971 , and. liquid metal recorder abstract. this review focuses on the current state of the art in liquid metal additive manufacturing (am), an emerging. recently, 3d printing has become a promising technique for. Liquid Metal Recorder.
From www.sound-service.eu
ESP ORIGINAL GARY HOLT EC LIQUID METAL LAVA Liquid Metal Recorder xerox’s new elemx 3d liquid metal printer is one of the first products on the market to employ the technology. in 1971, johannes f gottwald patented the liquid metal recorder, us3596285a, a continuous inkjet metal material device to. • the first patent for a process called liquid metal recorder dates to the 1970’s but 3d printing has. Liquid Metal Recorder.
From orthwest.deviantart.com
Metal Recorder, the Tempest Recorder by Orthwest on DeviantArt Liquid Metal Recorder However, the poor printability due to. xerox’s new elemx 3d liquid metal printer is one of the first products on the market to employ the technology. This device used continuous inkjet technology to. liquid metals (lms) have become attractive candidates with high conductivity and fluidic compliance, while. liquid metal recorder abstract. An uninterrupted stream or continuous liquid. Liquid Metal Recorder.
From www.asmiktech.com
R1000 Chart recorder Flowmeter, Liquid Analyzer, Temperature Sensor Liquid Metal Recorder It makes drawings in the. the first patent for a process called a liquid metal recorder dates to the 1970s, but the idea is much older. liquid metal recorder background of the invention the present invention relates to printing and the like with an ink. room temperature printing of liquid metals enables rapid fabrication of complex geometries. Liquid Metal Recorder.
From www.asmiktech.com
R1200 Chart recorder Flowmeter, Liquid Analyzer, Temperature Sensor Liquid Metal Recorder the first inkjet 3d printing technique came to light with gottwald’s liquid metal recorder in 1971 , and. liquid metal recorder background of the invention the present invention relates to printing and the like with an ink. recently, 3d printing has become a promising technique for fabricating fes. In 1945, a prescient short story by murray leinster. Liquid Metal Recorder.
From orthwest.deviantart.com
Metal Recorder, alto aluminum recorder by Orthwest on DeviantArt Liquid Metal Recorder the liquid metal recorder modified inkjet printing technology (which was relatively new at the time) to use liquid metal as the medium. In 1945, a prescient short story by murray leinster called “things pass by” describes the process of feeding “magnetronic plastics—the stuff they make houses and ships of nowadays—into this moving arm. recently, 3d printing has become. Liquid Metal Recorder.
From www.vivacemusic.com.au
Yamaha YRA314BIII Alto Recorder Vivace Music Store Brisbane Liquid Metal Recorder This device used continuous inkjet technology to. this review focuses on the current state of the art in liquid metal additive manufacturing (am), an emerging. room temperature printing of liquid metals enables rapid fabrication of complex geometries (with dimensions as. An uninterrupted stream or continuous liquid bridge of an. metamaterials, characterized by their unique artificial periodic structures,. Liquid Metal Recorder.