Pipe Groove Dimensions . • groove depth “d” is a reference dimension of the. For cast pipe, the groove is cut with a radius (“r” dimension) at the corners of the groove base to reduce stress concentration. For machining fittings use land and groove tolerances. † on roll grooved pipe, allowable pipe end separation and deflection from centerline will be ½ values listed for cut grooved pipe. All dimensions in inches except as indicated. • groove depth “d” is a reference dimension of the. The pipe shall be free from indentations, projections and/or grooving tool marks from the end of the pipe to the groove to provide a leak.
from www.vinmayinox.com
All dimensions in inches except as indicated. • groove depth “d” is a reference dimension of the. For machining fittings use land and groove tolerances. † on roll grooved pipe, allowable pipe end separation and deflection from centerline will be ½ values listed for cut grooved pipe. The pipe shall be free from indentations, projections and/or grooving tool marks from the end of the pipe to the groove to provide a leak. • groove depth “d” is a reference dimension of the. For cast pipe, the groove is cut with a radius (“r” dimension) at the corners of the groove base to reduce stress concentration.
Stainless Steel Grooved Fittings Vinmay
Pipe Groove Dimensions • groove depth “d” is a reference dimension of the. • groove depth “d” is a reference dimension of the. All dimensions in inches except as indicated. For machining fittings use land and groove tolerances. For cast pipe, the groove is cut with a radius (“r” dimension) at the corners of the groove base to reduce stress concentration. The pipe shall be free from indentations, projections and/or grooving tool marks from the end of the pipe to the groove to provide a leak. • groove depth “d” is a reference dimension of the. † on roll grooved pipe, allowable pipe end separation and deflection from centerline will be ½ values listed for cut grooved pipe.
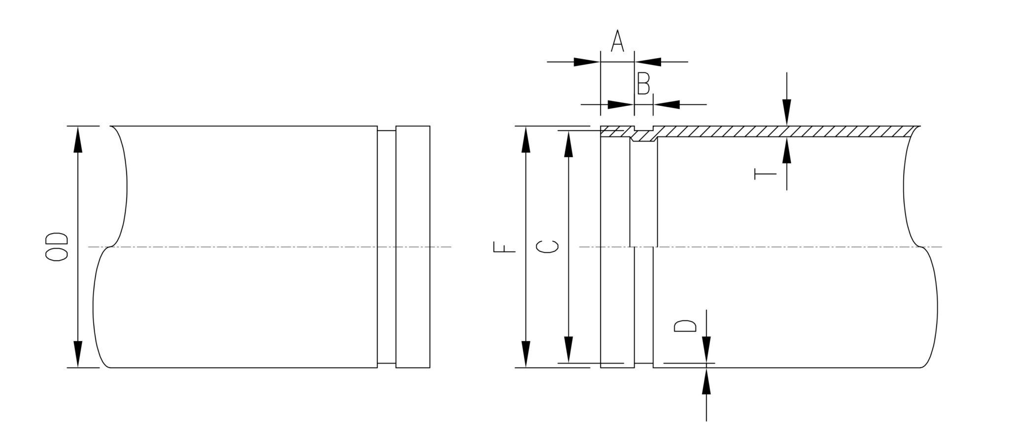
From www.lfpco.com
Dimensions of Type BX Ring Grooves API 6A A519 4130, A519 4140 Pipe Groove Dimensions The pipe shall be free from indentations, projections and/or grooving tool marks from the end of the pipe to the groove to provide a leak. For cast pipe, the groove is cut with a radius (“r” dimension) at the corners of the groove base to reduce stress concentration. All dimensions in inches except as indicated. For machining fittings use land. Pipe Groove Dimensions.
From www.theturnerco.com
Reinforced Concrete Pipe The Turner Company Pipe Groove Dimensions The pipe shall be free from indentations, projections and/or grooving tool marks from the end of the pipe to the groove to provide a leak. • groove depth “d” is a reference dimension of the. All dimensions in inches except as indicated. • groove depth “d” is a reference dimension of the. For cast pipe, the groove is cut with. Pipe Groove Dimensions.
From www.vinmayinox.com
Stainless Steel Grooved Fittings Vinmay Pipe Groove Dimensions All dimensions in inches except as indicated. For cast pipe, the groove is cut with a radius (“r” dimension) at the corners of the groove base to reduce stress concentration. For machining fittings use land and groove tolerances. • groove depth “d” is a reference dimension of the. • groove depth “d” is a reference dimension of the. † on. Pipe Groove Dimensions.
From sylerpipe.com
Grooved Dimension Syler Pipe Pipe Groove Dimensions † on roll grooved pipe, allowable pipe end separation and deflection from centerline will be ½ values listed for cut grooved pipe. For cast pipe, the groove is cut with a radius (“r” dimension) at the corners of the groove base to reduce stress concentration. All dimensions in inches except as indicated. The pipe shall be free from indentations, projections. Pipe Groove Dimensions.
From www.hpac.com
Grooved Mechanical PipeJoining Systems HPAC Engineering Pipe Groove Dimensions The pipe shall be free from indentations, projections and/or grooving tool marks from the end of the pipe to the groove to provide a leak. † on roll grooved pipe, allowable pipe end separation and deflection from centerline will be ½ values listed for cut grooved pipe. • groove depth “d” is a reference dimension of the. For cast pipe,. Pipe Groove Dimensions.
From www.rcmetal.co.in
Duplex Steel Fittings Duplex SS 2205/ UNS S31803 Pipe Fittings Pipe Groove Dimensions • groove depth “d” is a reference dimension of the. For machining fittings use land and groove tolerances. The pipe shall be free from indentations, projections and/or grooving tool marks from the end of the pipe to the groove to provide a leak. All dimensions in inches except as indicated. For cast pipe, the groove is cut with a radius. Pipe Groove Dimensions.
From rollpipe-design.blogspot.com
Roll Grooved Pipe Specifications Pipe Groove Dimensions † on roll grooved pipe, allowable pipe end separation and deflection from centerline will be ½ values listed for cut grooved pipe. The pipe shall be free from indentations, projections and/or grooving tool marks from the end of the pipe to the groove to provide a leak. • groove depth “d” is a reference dimension of the. All dimensions in. Pipe Groove Dimensions.
From materialwelding.com
Welding Bevel Types and Symbols you NEED to know! Pipe Groove Dimensions For cast pipe, the groove is cut with a radius (“r” dimension) at the corners of the groove base to reduce stress concentration. • groove depth “d” is a reference dimension of the. All dimensions in inches except as indicated. For machining fittings use land and groove tolerances. The pipe shall be free from indentations, projections and/or grooving tool marks. Pipe Groove Dimensions.
From www.scribd.com
victaulic.pdf Pipe (Fluid Conveyance) Valve Pipe Groove Dimensions † on roll grooved pipe, allowable pipe end separation and deflection from centerline will be ½ values listed for cut grooved pipe. • groove depth “d” is a reference dimension of the. For machining fittings use land and groove tolerances. All dimensions in inches except as indicated. For cast pipe, the groove is cut with a radius (“r” dimension) at. Pipe Groove Dimensions.
From www.gemlockgrooved.com
Standard Grooved Fittings GemLockGrooved Pipe Groove Dimensions For cast pipe, the groove is cut with a radius (“r” dimension) at the corners of the groove base to reduce stress concentration. • groove depth “d” is a reference dimension of the. All dimensions in inches except as indicated. The pipe shall be free from indentations, projections and/or grooving tool marks from the end of the pipe to the. Pipe Groove Dimensions.
From studylib.net
groove dimensions (1) Pipe Groove Dimensions For machining fittings use land and groove tolerances. • groove depth “d” is a reference dimension of the. † on roll grooved pipe, allowable pipe end separation and deflection from centerline will be ½ values listed for cut grooved pipe. For cast pipe, the groove is cut with a radius (“r” dimension) at the corners of the groove base to. Pipe Groove Dimensions.
From www.scribd.com
Victaulic Dimensions Pipe (Fluid Conveyance) Column Pipe Groove Dimensions For cast pipe, the groove is cut with a radius (“r” dimension) at the corners of the groove base to reduce stress concentration. • groove depth “d” is a reference dimension of the. For machining fittings use land and groove tolerances. • groove depth “d” is a reference dimension of the. All dimensions in inches except as indicated. The pipe. Pipe Groove Dimensions.
From www.researchgate.net
(a) Groove configuration; (b) dimensions of the pipe girth weld Pipe Groove Dimensions • groove depth “d” is a reference dimension of the. All dimensions in inches except as indicated. The pipe shall be free from indentations, projections and/or grooving tool marks from the end of the pipe to the groove to provide a leak. For machining fittings use land and groove tolerances. For cast pipe, the groove is cut with a radius. Pipe Groove Dimensions.
From www.pumpsandsystems.com
Grooved Versus Flanged Connections Pipe Groove Dimensions The pipe shall be free from indentations, projections and/or grooving tool marks from the end of the pipe to the groove to provide a leak. For machining fittings use land and groove tolerances. For cast pipe, the groove is cut with a radius (“r” dimension) at the corners of the groove base to reduce stress concentration. • groove depth “d”. Pipe Groove Dimensions.
From www.redlinepipe.com
304L Stainless Steel Grooved 45 Elbow Schedule 10 Fittings Pipe Groove Dimensions All dimensions in inches except as indicated. • groove depth “d” is a reference dimension of the. The pipe shall be free from indentations, projections and/or grooving tool marks from the end of the pipe to the groove to provide a leak. For machining fittings use land and groove tolerances. • groove depth “d” is a reference dimension of the.. Pipe Groove Dimensions.
From www.mech.co.th
Rolled Grooved data ตารางมาตรฐานร่องกรู๊ฟ MECH Coupling Pipe Groove Dimensions † on roll grooved pipe, allowable pipe end separation and deflection from centerline will be ½ values listed for cut grooved pipe. • groove depth “d” is a reference dimension of the. All dimensions in inches except as indicated. For machining fittings use land and groove tolerances. The pipe shall be free from indentations, projections and/or grooving tool marks from. Pipe Groove Dimensions.
From grooving-machine.com
Standard of roll groove for steel pipe มาตรฐานระยะร่องกรู๊ฟ Pipe Groove Dimensions All dimensions in inches except as indicated. • groove depth “d” is a reference dimension of the. † on roll grooved pipe, allowable pipe end separation and deflection from centerline will be ½ values listed for cut grooved pipe. For machining fittings use land and groove tolerances. • groove depth “d” is a reference dimension of the. For cast pipe,. Pipe Groove Dimensions.
From tigerquesttech.com
Pipe Fitting Dimensions Pipe Groove Dimensions • groove depth “d” is a reference dimension of the. All dimensions in inches except as indicated. For machining fittings use land and groove tolerances. • groove depth “d” is a reference dimension of the. † on roll grooved pipe, allowable pipe end separation and deflection from centerline will be ½ values listed for cut grooved pipe. The pipe shall. Pipe Groove Dimensions.
From www.shurjoint.tw
SHURJOINTHome Pipe Groove Dimensions The pipe shall be free from indentations, projections and/or grooving tool marks from the end of the pipe to the groove to provide a leak. • groove depth “d” is a reference dimension of the. For machining fittings use land and groove tolerances. † on roll grooved pipe, allowable pipe end separation and deflection from centerline will be ½ values. Pipe Groove Dimensions.
From rollpipe-design.blogspot.com
Roll Grooved Pipe Specifications Pipe Groove Dimensions • groove depth “d” is a reference dimension of the. The pipe shall be free from indentations, projections and/or grooving tool marks from the end of the pipe to the groove to provide a leak. For cast pipe, the groove is cut with a radius (“r” dimension) at the corners of the groove base to reduce stress concentration. All dimensions. Pipe Groove Dimensions.
From www.gemlockgrooved.com
Grooved Fittings GemLockGrooved Pipe Groove Dimensions For machining fittings use land and groove tolerances. For cast pipe, the groove is cut with a radius (“r” dimension) at the corners of the groove base to reduce stress concentration. All dimensions in inches except as indicated. • groove depth “d” is a reference dimension of the. † on roll grooved pipe, allowable pipe end separation and deflection from. Pipe Groove Dimensions.
From www.youtube.com
Features of the Completed Groove Weld Part 2 Dimension of the Groove Pipe Groove Dimensions † on roll grooved pipe, allowable pipe end separation and deflection from centerline will be ½ values listed for cut grooved pipe. The pipe shall be free from indentations, projections and/or grooving tool marks from the end of the pipe to the groove to provide a leak. • groove depth “d” is a reference dimension of the. For machining fittings. Pipe Groove Dimensions.
From zoraya.clinica180grados.es
Victaulic Groove Dimension Chart Zoraya Pipe Groove Dimensions All dimensions in inches except as indicated. • groove depth “d” is a reference dimension of the. † on roll grooved pipe, allowable pipe end separation and deflection from centerline will be ½ values listed for cut grooved pipe. The pipe shall be free from indentations, projections and/or grooving tool marks from the end of the pipe to the groove. Pipe Groove Dimensions.
From www.preconproducts.com
Reinforced Concrete Pipe Precon Products Pipe Groove Dimensions For cast pipe, the groove is cut with a radius (“r” dimension) at the corners of the groove base to reduce stress concentration. † on roll grooved pipe, allowable pipe end separation and deflection from centerline will be ½ values listed for cut grooved pipe. For machining fittings use land and groove tolerances. • groove depth “d” is a reference. Pipe Groove Dimensions.
From www.protemusa.com
Assembling Pipes by ButtWelding The Different Types of Bevels and How Pipe Groove Dimensions • groove depth “d” is a reference dimension of the. • groove depth “d” is a reference dimension of the. † on roll grooved pipe, allowable pipe end separation and deflection from centerline will be ½ values listed for cut grooved pipe. For cast pipe, the groove is cut with a radius (“r” dimension) at the corners of the groove. Pipe Groove Dimensions.
From rendifield.co.za
rendifield mechanical fittings Pipe Groove Dimensions The pipe shall be free from indentations, projections and/or grooving tool marks from the end of the pipe to the groove to provide a leak. • groove depth “d” is a reference dimension of the. For cast pipe, the groove is cut with a radius (“r” dimension) at the corners of the groove base to reduce stress concentration. For machining. Pipe Groove Dimensions.
From zoraya.clinica180grados.es
Victaulic Groove Dimension Chart Zoraya Pipe Groove Dimensions All dimensions in inches except as indicated. † on roll grooved pipe, allowable pipe end separation and deflection from centerline will be ½ values listed for cut grooved pipe. • groove depth “d” is a reference dimension of the. • groove depth “d” is a reference dimension of the. The pipe shall be free from indentations, projections and/or grooving tool. Pipe Groove Dimensions.
From www.shurjoint.tw
SHURJOINTHome Pipe Groove Dimensions For cast pipe, the groove is cut with a radius (“r” dimension) at the corners of the groove base to reduce stress concentration. All dimensions in inches except as indicated. The pipe shall be free from indentations, projections and/or grooving tool marks from the end of the pipe to the groove to provide a leak. † on roll grooved pipe,. Pipe Groove Dimensions.
From mavink.com
Pvc Pipe Sizes And Dimensions Pipe Groove Dimensions • groove depth “d” is a reference dimension of the. For cast pipe, the groove is cut with a radius (“r” dimension) at the corners of the groove base to reduce stress concentration. † on roll grooved pipe, allowable pipe end separation and deflection from centerline will be ½ values listed for cut grooved pipe. The pipe shall be free. Pipe Groove Dimensions.
From www.slideshare.net
G901 05 2013a Pipe Groove Dimensions The pipe shall be free from indentations, projections and/or grooving tool marks from the end of the pipe to the groove to provide a leak. • groove depth “d” is a reference dimension of the. For cast pipe, the groove is cut with a radius (“r” dimension) at the corners of the groove base to reduce stress concentration. † on. Pipe Groove Dimensions.
From pipemanproducts.com
Roll Groover FAQ Pipe Groove Dimensions The pipe shall be free from indentations, projections and/or grooving tool marks from the end of the pipe to the groove to provide a leak. • groove depth “d” is a reference dimension of the. • groove depth “d” is a reference dimension of the. All dimensions in inches except as indicated. For machining fittings use land and groove tolerances.. Pipe Groove Dimensions.
From www.protocorporation.com
MECH. GROOVED COUPLING Pipe Groove Dimensions The pipe shall be free from indentations, projections and/or grooving tool marks from the end of the pipe to the groove to provide a leak. • groove depth “d” is a reference dimension of the. All dimensions in inches except as indicated. † on roll grooved pipe, allowable pipe end separation and deflection from centerline will be ½ values listed. Pipe Groove Dimensions.
From studycampuslemann.z19.web.core.windows.net
Victaulic Mechanical Tee Size Chart Pipe Groove Dimensions † on roll grooved pipe, allowable pipe end separation and deflection from centerline will be ½ values listed for cut grooved pipe. For machining fittings use land and groove tolerances. • groove depth “d” is a reference dimension of the. The pipe shall be free from indentations, projections and/or grooving tool marks from the end of the pipe to the. Pipe Groove Dimensions.
From engineersblog.net
What is the design criteria of Groove Joints? Explain in details step Pipe Groove Dimensions For cast pipe, the groove is cut with a radius (“r” dimension) at the corners of the groove base to reduce stress concentration. All dimensions in inches except as indicated. † on roll grooved pipe, allowable pipe end separation and deflection from centerline will be ½ values listed for cut grooved pipe. For machining fittings use land and groove tolerances.. Pipe Groove Dimensions.
From www.tradevv.com
ASTM A795 hotrolled grooved pipe Buy galvanized grooved ends pipe Pipe Groove Dimensions The pipe shall be free from indentations, projections and/or grooving tool marks from the end of the pipe to the groove to provide a leak. For cast pipe, the groove is cut with a radius (“r” dimension) at the corners of the groove base to reduce stress concentration. All dimensions in inches except as indicated. † on roll grooved pipe,. Pipe Groove Dimensions.