Staple Remover Patent . Applicant's remover eases staple removal, prevents paper damage, and contains removed staples which might otherwise fall. A staple remover device having first and second opposed, elongated jaws extending from a lower end of the remover toward an upper end of the. The staple remover prevents staple jams by providing a means for automatically discarding removed staples from the staple removing. The present invention relates to improvements in the use of hand tools as applied, more particularly, to a combination. The staple remover of claim 1 wherein the means for rotating the tumbler comprises a motor disposed in the housing and operably. This patent application is related to u.s. 27, 1990, entitled “staple remover” and u.s. While the staple remover therein described operates satisfactorily, it will efficiently remove only staples of the one size of crown for which.
from progress-is-fine.blogspot.com
A staple remover device having first and second opposed, elongated jaws extending from a lower end of the remover toward an upper end of the. The staple remover of claim 1 wherein the means for rotating the tumbler comprises a motor disposed in the housing and operably. While the staple remover therein described operates satisfactorily, it will efficiently remove only staples of the one size of crown for which. 27, 1990, entitled “staple remover” and u.s. This patent application is related to u.s. The staple remover prevents staple jams by providing a means for automatically discarding removed staples from the staple removing. The present invention relates to improvements in the use of hand tools as applied, more particularly, to a combination. Applicant's remover eases staple removal, prevents paper damage, and contains removed staples which might otherwise fall.
Progress is fine, but it's gone on for too long. History in your desk
Staple Remover Patent The present invention relates to improvements in the use of hand tools as applied, more particularly, to a combination. This patent application is related to u.s. The staple remover prevents staple jams by providing a means for automatically discarding removed staples from the staple removing. The present invention relates to improvements in the use of hand tools as applied, more particularly, to a combination. While the staple remover therein described operates satisfactorily, it will efficiently remove only staples of the one size of crown for which. Applicant's remover eases staple removal, prevents paper damage, and contains removed staples which might otherwise fall. A staple remover device having first and second opposed, elongated jaws extending from a lower end of the remover toward an upper end of the. The staple remover of claim 1 wherein the means for rotating the tumbler comprises a motor disposed in the housing and operably. 27, 1990, entitled “staple remover” and u.s.
From www.tlbox.com
8 Best Staple Removers Remove all anysize staples Tool Box Staple Remover Patent 27, 1990, entitled “staple remover” and u.s. While the staple remover therein described operates satisfactorily, it will efficiently remove only staples of the one size of crown for which. The staple remover of claim 1 wherein the means for rotating the tumbler comprises a motor disposed in the housing and operably. A staple remover device having first and second opposed,. Staple Remover Patent.
From progress-is-fine.blogspot.com
Progress is fine, but it's gone on for too long. History in your desk Staple Remover Patent A staple remover device having first and second opposed, elongated jaws extending from a lower end of the remover toward an upper end of the. Applicant's remover eases staple removal, prevents paper damage, and contains removed staples which might otherwise fall. While the staple remover therein described operates satisfactorily, it will efficiently remove only staples of the one size of. Staple Remover Patent.
From www.google.ca
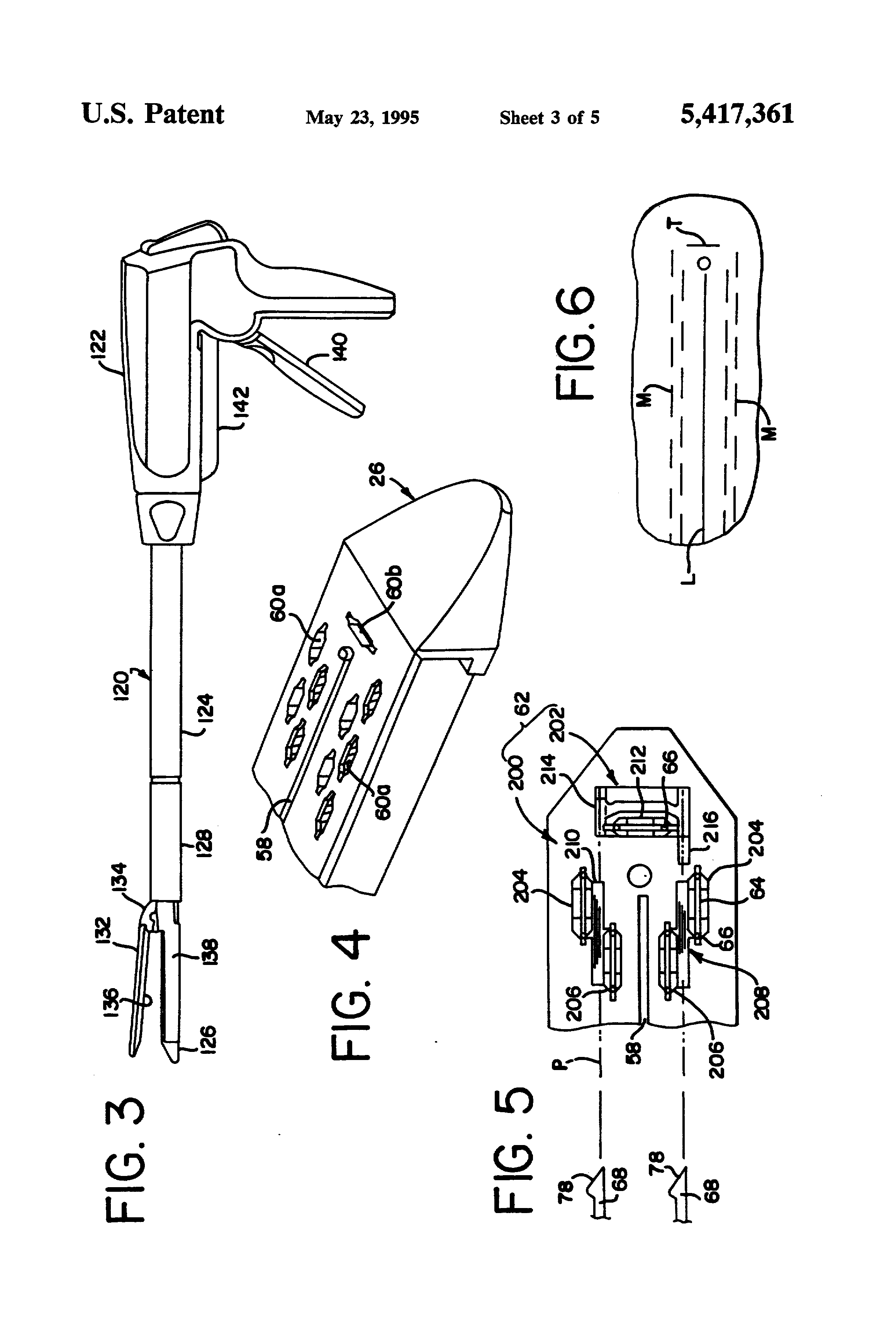
Patent US5417361 Staple cartridge for a surgical stapler Google Patents Staple Remover Patent Applicant's remover eases staple removal, prevents paper damage, and contains removed staples which might otherwise fall. The staple remover of claim 1 wherein the means for rotating the tumbler comprises a motor disposed in the housing and operably. A staple remover device having first and second opposed, elongated jaws extending from a lower end of the remover toward an upper. Staple Remover Patent.
From www.interplas.com
Heavy Duty Box Staple Remover Heavy Duty Box Staple Remover Staple Remover Patent Applicant's remover eases staple removal, prevents paper damage, and contains removed staples which might otherwise fall. The staple remover of claim 1 wherein the means for rotating the tumbler comprises a motor disposed in the housing and operably. 27, 1990, entitled “staple remover” and u.s. While the staple remover therein described operates satisfactorily, it will efficiently remove only staples of. Staple Remover Patent.
From www.slideserve.com
PPT Handheld Retractors PowerPoint Presentation, free download ID Staple Remover Patent While the staple remover therein described operates satisfactorily, it will efficiently remove only staples of the one size of crown for which. 27, 1990, entitled “staple remover” and u.s. A staple remover device having first and second opposed, elongated jaws extending from a lower end of the remover toward an upper end of the. Applicant's remover eases staple removal, prevents. Staple Remover Patent.
From www.google.com
Patent US8083211 Staple remover Google Patents Staple Remover Patent A staple remover device having first and second opposed, elongated jaws extending from a lower end of the remover toward an upper end of the. The staple remover prevents staple jams by providing a means for automatically discarding removed staples from the staple removing. The staple remover of claim 1 wherein the means for rotating the tumbler comprises a motor. Staple Remover Patent.
From www.google.com
Patent US6371349 Retractable staple remover jaws utilizing stapler Staple Remover Patent While the staple remover therein described operates satisfactorily, it will efficiently remove only staples of the one size of crown for which. The staple remover prevents staple jams by providing a means for automatically discarding removed staples from the staple removing. A staple remover device having first and second opposed, elongated jaws extending from a lower end of the remover. Staple Remover Patent.
From www.google.com
Patent US2585942 Staple feed mechanism for portable pneumatic Staple Remover Patent The staple remover prevents staple jams by providing a means for automatically discarding removed staples from the staple removing. A staple remover device having first and second opposed, elongated jaws extending from a lower end of the remover toward an upper end of the. While the staple remover therein described operates satisfactorily, it will efficiently remove only staples of the. Staple Remover Patent.
From pergelator.blogspot.com
Pergelator Surgical Staples Staple Remover Patent Applicant's remover eases staple removal, prevents paper damage, and contains removed staples which might otherwise fall. While the staple remover therein described operates satisfactorily, it will efficiently remove only staples of the one size of crown for which. The present invention relates to improvements in the use of hand tools as applied, more particularly, to a combination. The staple remover. Staple Remover Patent.
From www.google.ca
Patent US8241303 Surgical staple remover Google Patents Staple Remover Patent The present invention relates to improvements in the use of hand tools as applied, more particularly, to a combination. This patent application is related to u.s. The staple remover of claim 1 wherein the means for rotating the tumbler comprises a motor disposed in the housing and operably. While the staple remover therein described operates satisfactorily, it will efficiently remove. Staple Remover Patent.
From www.aslegal.com
Business Source Nickelplated Teeth Staple Remover Staple Remover Patent 27, 1990, entitled “staple remover” and u.s. The staple remover of claim 1 wherein the means for rotating the tumbler comprises a motor disposed in the housing and operably. Applicant's remover eases staple removal, prevents paper damage, and contains removed staples which might otherwise fall. While the staple remover therein described operates satisfactorily, it will efficiently remove only staples of. Staple Remover Patent.
From progress-is-fine.blogspot.com
Progress is fine, but it's gone on for too long. History in your desk Staple Remover Patent A staple remover device having first and second opposed, elongated jaws extending from a lower end of the remover toward an upper end of the. While the staple remover therein described operates satisfactorily, it will efficiently remove only staples of the one size of crown for which. 27, 1990, entitled “staple remover” and u.s. This patent application is related to. Staple Remover Patent.
From hbw.ph
HBWOffice Staple Remover (Plier type) HBW Staple Remover Patent 27, 1990, entitled “staple remover” and u.s. The staple remover of claim 1 wherein the means for rotating the tumbler comprises a motor disposed in the housing and operably. A staple remover device having first and second opposed, elongated jaws extending from a lower end of the remover toward an upper end of the. The staple remover prevents staple jams. Staple Remover Patent.
From www.google.com
Patent US584189 Staplepuller and fencewire stretcher Google Patents Staple Remover Patent The staple remover prevents staple jams by providing a means for automatically discarding removed staples from the staple removing. While the staple remover therein described operates satisfactorily, it will efficiently remove only staples of the one size of crown for which. Applicant's remover eases staple removal, prevents paper damage, and contains removed staples which might otherwise fall. The present invention. Staple Remover Patent.
From www.youtube.com
How To Use A Staple RemoverTutorial YouTube Staple Remover Patent The staple remover prevents staple jams by providing a means for automatically discarding removed staples from the staple removing. A staple remover device having first and second opposed, elongated jaws extending from a lower end of the remover toward an upper end of the. The staple remover of claim 1 wherein the means for rotating the tumbler comprises a motor. Staple Remover Patent.
From www.google.com
Patent US2033050 Tool for removing staples Google Patents Staple Remover Patent The present invention relates to improvements in the use of hand tools as applied, more particularly, to a combination. The staple remover prevents staple jams by providing a means for automatically discarding removed staples from the staple removing. Applicant's remover eases staple removal, prevents paper damage, and contains removed staples which might otherwise fall. This patent application is related to. Staple Remover Patent.
From www.google.ca
Patent US5931365 Stapler having two magazines using staples with Staple Remover Patent The present invention relates to improvements in the use of hand tools as applied, more particularly, to a combination. Applicant's remover eases staple removal, prevents paper damage, and contains removed staples which might otherwise fall. The staple remover prevents staple jams by providing a means for automatically discarding removed staples from the staple removing. While the staple remover therein described. Staple Remover Patent.
From www.google.ca
Patent EP1382303B1 Surgical stapler with offset staple rows Google Staple Remover Patent The staple remover of claim 1 wherein the means for rotating the tumbler comprises a motor disposed in the housing and operably. While the staple remover therein described operates satisfactorily, it will efficiently remove only staples of the one size of crown for which. 27, 1990, entitled “staple remover” and u.s. The staple remover prevents staple jams by providing a. Staple Remover Patent.
From www.google.ca
Patent US20110224694 Surgical staple remover Google Patents Staple Remover Patent The staple remover prevents staple jams by providing a means for automatically discarding removed staples from the staple removing. A staple remover device having first and second opposed, elongated jaws extending from a lower end of the remover toward an upper end of the. This patent application is related to u.s. Applicant's remover eases staple removal, prevents paper damage, and. Staple Remover Patent.
From shop.stinsons.com
Bostitch Contemporary Staple Remover Staples & Staple Removers Amax Inc Staple Remover Patent While the staple remover therein described operates satisfactorily, it will efficiently remove only staples of the one size of crown for which. The staple remover of claim 1 wherein the means for rotating the tumbler comprises a motor disposed in the housing and operably. The staple remover prevents staple jams by providing a means for automatically discarding removed staples from. Staple Remover Patent.
From www.parrot.co.za
Staplers and Staples Parrot Products (Pty) Ltd Staple Remover Patent 27, 1990, entitled “staple remover” and u.s. The staple remover of claim 1 wherein the means for rotating the tumbler comprises a motor disposed in the housing and operably. While the staple remover therein described operates satisfactorily, it will efficiently remove only staples of the one size of crown for which. Applicant's remover eases staple removal, prevents paper damage, and. Staple Remover Patent.
From www.google.com
Patent US6371349 Retractable staple remover jaws utilizing stapler Staple Remover Patent The staple remover of claim 1 wherein the means for rotating the tumbler comprises a motor disposed in the housing and operably. The present invention relates to improvements in the use of hand tools as applied, more particularly, to a combination. Applicant's remover eases staple removal, prevents paper damage, and contains removed staples which might otherwise fall. 27, 1990, entitled. Staple Remover Patent.
From www.swingline.com
Swingline Staplers Stapling Accessories Swingline® Deluxe Staple Staple Remover Patent This patent application is related to u.s. While the staple remover therein described operates satisfactorily, it will efficiently remove only staples of the one size of crown for which. Applicant's remover eases staple removal, prevents paper damage, and contains removed staples which might otherwise fall. The staple remover of claim 1 wherein the means for rotating the tumbler comprises a. Staple Remover Patent.
From www.gettyimages.com
Staple Remover HighRes Vector Graphic Getty Images Staple Remover Patent This patent application is related to u.s. 27, 1990, entitled “staple remover” and u.s. The staple remover prevents staple jams by providing a means for automatically discarding removed staples from the staple removing. While the staple remover therein described operates satisfactorily, it will efficiently remove only staples of the one size of crown for which. Applicant's remover eases staple removal,. Staple Remover Patent.
From selectip.com
Top Medical Technology Patent Surgical stapling device with staple Staple Remover Patent A staple remover device having first and second opposed, elongated jaws extending from a lower end of the remover toward an upper end of the. This patent application is related to u.s. While the staple remover therein described operates satisfactorily, it will efficiently remove only staples of the one size of crown for which. Applicant's remover eases staple removal, prevents. Staple Remover Patent.
From bostitchoffice.com
How to Use a Staple Remover Bostitch Office Staple Remover Patent 27, 1990, entitled “staple remover” and u.s. The present invention relates to improvements in the use of hand tools as applied, more particularly, to a combination. This patent application is related to u.s. A staple remover device having first and second opposed, elongated jaws extending from a lower end of the remover toward an upper end of the. The staple. Staple Remover Patent.
From www.grainger.com
UNIVERSAL Staple Remover, Pinch, 213/32 in.L 45HD90UNV00700 Grainger Staple Remover Patent The staple remover of claim 1 wherein the means for rotating the tumbler comprises a motor disposed in the housing and operably. While the staple remover therein described operates satisfactorily, it will efficiently remove only staples of the one size of crown for which. This patent application is related to u.s. Applicant's remover eases staple removal, prevents paper damage, and. Staple Remover Patent.
From www.google.com
Patent US6371349 Retractable staple remover jaws utilizing stapler Staple Remover Patent A staple remover device having first and second opposed, elongated jaws extending from a lower end of the remover toward an upper end of the. 27, 1990, entitled “staple remover” and u.s. Applicant's remover eases staple removal, prevents paper damage, and contains removed staples which might otherwise fall. The present invention relates to improvements in the use of hand tools. Staple Remover Patent.
From shop.stationers.com
Business Source Nickelplated Teeth Staple Remover Staples & Staple Staple Remover Patent The present invention relates to improvements in the use of hand tools as applied, more particularly, to a combination. This patent application is related to u.s. Applicant's remover eases staple removal, prevents paper damage, and contains removed staples which might otherwise fall. The staple remover prevents staple jams by providing a means for automatically discarding removed staples from the staple. Staple Remover Patent.
From www.slideserve.com
PPT Surgical Wound Care PowerPoint Presentation, free download ID Staple Remover Patent Applicant's remover eases staple removal, prevents paper damage, and contains removed staples which might otherwise fall. The present invention relates to improvements in the use of hand tools as applied, more particularly, to a combination. The staple remover of claim 1 wherein the means for rotating the tumbler comprises a motor disposed in the housing and operably. 27, 1990, entitled. Staple Remover Patent.
From www.valleyvet.com
Skin Staple Remover American Health Service Medical Surgical Staple Remover Patent A staple remover device having first and second opposed, elongated jaws extending from a lower end of the remover toward an upper end of the. 27, 1990, entitled “staple remover” and u.s. The present invention relates to improvements in the use of hand tools as applied, more particularly, to a combination. While the staple remover therein described operates satisfactorily, it. Staple Remover Patent.
From www.tacwise.com
Pro Staple Remover Tacwise Staple Remover Patent The staple remover of claim 1 wherein the means for rotating the tumbler comprises a motor disposed in the housing and operably. A staple remover device having first and second opposed, elongated jaws extending from a lower end of the remover toward an upper end of the. The staple remover prevents staple jams by providing a means for automatically discarding. Staple Remover Patent.
From www.lazada.com.ph
Heavy Duty Staple Remover Plier Type Joy Lazada PH Staple Remover Patent While the staple remover therein described operates satisfactorily, it will efficiently remove only staples of the one size of crown for which. This patent application is related to u.s. Applicant's remover eases staple removal, prevents paper damage, and contains removed staples which might otherwise fall. The staple remover prevents staple jams by providing a means for automatically discarding removed staples. Staple Remover Patent.
From www.michaels.com
Long Handle Staple Remover Stencils & Forms Michaels Staple Remover Patent The staple remover of claim 1 wherein the means for rotating the tumbler comprises a motor disposed in the housing and operably. Applicant's remover eases staple removal, prevents paper damage, and contains removed staples which might otherwise fall. 27, 1990, entitled “staple remover” and u.s. This patent application is related to u.s. A staple remover device having first and second. Staple Remover Patent.
From www.google.com
Patent US6371349 Retractable staple remover jaws utilizing stapler Staple Remover Patent While the staple remover therein described operates satisfactorily, it will efficiently remove only staples of the one size of crown for which. The present invention relates to improvements in the use of hand tools as applied, more particularly, to a combination. The staple remover of claim 1 wherein the means for rotating the tumbler comprises a motor disposed in the. Staple Remover Patent.