How To Adjust Detent On Hydraulic Valve . This will show you how to adjust your pressure release detent. This allows you to get the next log to be split ready while the piston is returning to the start position. The viscosity and temperature of your hydraulic fluid can affect how it behaves, and your particular application might require a different setting than how it came from the factory. You will want to do this if your handle is either kicking out too soon. The detent on a hydraulic valve controls automatic return features. For example, on a log splitter, it allows for the auto return of the hydraulic piston. Watch as jared guides you through how to adjust this valve.
from www.circuitdiagram.co
The detent on a hydraulic valve controls automatic return features. For example, on a log splitter, it allows for the auto return of the hydraulic piston. This will show you how to adjust your pressure release detent. This allows you to get the next log to be split ready while the piston is returning to the start position. The viscosity and temperature of your hydraulic fluid can affect how it behaves, and your particular application might require a different setting than how it came from the factory. Watch as jared guides you through how to adjust this valve. You will want to do this if your handle is either kicking out too soon.
Hydraulic Detent Valve Schematic Circuit Diagram
How To Adjust Detent On Hydraulic Valve The viscosity and temperature of your hydraulic fluid can affect how it behaves, and your particular application might require a different setting than how it came from the factory. This will show you how to adjust your pressure release detent. The viscosity and temperature of your hydraulic fluid can affect how it behaves, and your particular application might require a different setting than how it came from the factory. This allows you to get the next log to be split ready while the piston is returning to the start position. You will want to do this if your handle is either kicking out too soon. Watch as jared guides you through how to adjust this valve. For example, on a log splitter, it allows for the auto return of the hydraulic piston. The detent on a hydraulic valve controls automatic return features.
From fixenginenalacceft0y.z4.web.core.windows.net
How To Adjust Log Splitter Detent Valve How To Adjust Detent On Hydraulic Valve You will want to do this if your handle is either kicking out too soon. This will show you how to adjust your pressure release detent. The viscosity and temperature of your hydraulic fluid can affect how it behaves, and your particular application might require a different setting than how it came from the factory. This allows you to get. How To Adjust Detent On Hydraulic Valve.
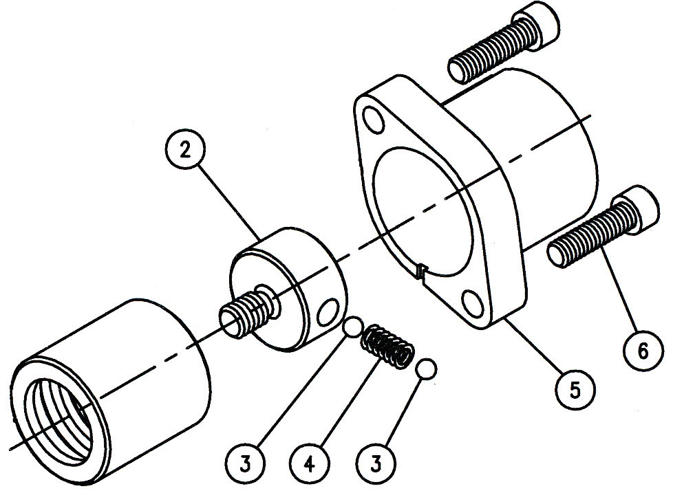
From www.eonmach.com
Hydraulic Monoblock Directional Manual Control Valve with Detent How To Adjust Detent On Hydraulic Valve You will want to do this if your handle is either kicking out too soon. The detent on a hydraulic valve controls automatic return features. Watch as jared guides you through how to adjust this valve. For example, on a log splitter, it allows for the auto return of the hydraulic piston. This will show you how to adjust your. How To Adjust Detent On Hydraulic Valve.
From www.hydraulicstore.com
RD522CCAB5A4B1 PRINCE. HYDRAULIC VALVE, DIRECTION CONTROL, 4 WAY 3 How To Adjust Detent On Hydraulic Valve Watch as jared guides you through how to adjust this valve. This will show you how to adjust your pressure release detent. You will want to do this if your handle is either kicking out too soon. For example, on a log splitter, it allows for the auto return of the hydraulic piston. This allows you to get the next. How To Adjust Detent On Hydraulic Valve.
From garagefixbogepk.z4.web.core.windows.net
How To Adjust Log Splitter Detent Valve How To Adjust Detent On Hydraulic Valve This will show you how to adjust your pressure release detent. You will want to do this if your handle is either kicking out too soon. This allows you to get the next log to be split ready while the piston is returning to the start position. The detent on a hydraulic valve controls automatic return features. Watch as jared. How To Adjust Detent On Hydraulic Valve.
From youquen.com
How to Adjust Valves on a Hydraulic Roller Cam How To Adjust Detent On Hydraulic Valve For example, on a log splitter, it allows for the auto return of the hydraulic piston. Watch as jared guides you through how to adjust this valve. The viscosity and temperature of your hydraulic fluid can affect how it behaves, and your particular application might require a different setting than how it came from the factory. The detent on a. How To Adjust Detent On Hydraulic Valve.
From www.eonmach.com
Hydraulic Monoblock Directional Manual Control Valve with Detent How To Adjust Detent On Hydraulic Valve For example, on a log splitter, it allows for the auto return of the hydraulic piston. This allows you to get the next log to be split ready while the piston is returning to the start position. This will show you how to adjust your pressure release detent. You will want to do this if your handle is either kicking. How To Adjust Detent On Hydraulic Valve.
From www.youtube.com
Tech Corner How to Adjust the Return Detent on Your Log Splitter Valve How To Adjust Detent On Hydraulic Valve You will want to do this if your handle is either kicking out too soon. For example, on a log splitter, it allows for the auto return of the hydraulic piston. The viscosity and temperature of your hydraulic fluid can affect how it behaves, and your particular application might require a different setting than how it came from the factory.. How To Adjust Detent On Hydraulic Valve.
From huawomachine.en.made-in-china.com
P40 Series Hydraulic Monoblock Directional Manual 1 Spool Control Valve How To Adjust Detent On Hydraulic Valve The viscosity and temperature of your hydraulic fluid can affect how it behaves, and your particular application might require a different setting than how it came from the factory. This will show you how to adjust your pressure release detent. Watch as jared guides you through how to adjust this valve. This allows you to get the next log to. How To Adjust Detent On Hydraulic Valve.
From www.youtube.com
Hydraulic Valve Detent Removal YouTube How To Adjust Detent On Hydraulic Valve You will want to do this if your handle is either kicking out too soon. This will show you how to adjust your pressure release detent. For example, on a log splitter, it allows for the auto return of the hydraulic piston. The viscosity and temperature of your hydraulic fluid can affect how it behaves, and your particular application might. How To Adjust Detent On Hydraulic Valve.
From ubicaciondepersonas.cdmx.gob.mx
Hydraulic Log Splitter Valve, 25 Gpm, 3500 Psi, Adjustable Detent Auto How To Adjust Detent On Hydraulic Valve The viscosity and temperature of your hydraulic fluid can affect how it behaves, and your particular application might require a different setting than how it came from the factory. You will want to do this if your handle is either kicking out too soon. This allows you to get the next log to be split ready while the piston is. How To Adjust Detent On Hydraulic Valve.
From schematicmanualwilliam.z13.web.core.windows.net
Hydraulic Valve Detent Adjustment How To Adjust Detent On Hydraulic Valve Watch as jared guides you through how to adjust this valve. You will want to do this if your handle is either kicking out too soon. This allows you to get the next log to be split ready while the piston is returning to the start position. The detent on a hydraulic valve controls automatic return features. This will show. How To Adjust Detent On Hydraulic Valve.
From www.eonmach.com
Hydraulic Monoblock Directional Manual Control Valve with Detent How To Adjust Detent On Hydraulic Valve This will show you how to adjust your pressure release detent. The detent on a hydraulic valve controls automatic return features. Watch as jared guides you through how to adjust this valve. You will want to do this if your handle is either kicking out too soon. The viscosity and temperature of your hydraulic fluid can affect how it behaves,. How To Adjust Detent On Hydraulic Valve.
From exoysyngn.blob.core.windows.net
Detent On Hydraulic Valve at Jessie Watkins blog How To Adjust Detent On Hydraulic Valve For example, on a log splitter, it allows for the auto return of the hydraulic piston. The detent on a hydraulic valve controls automatic return features. This will show you how to adjust your pressure release detent. This allows you to get the next log to be split ready while the piston is returning to the start position. Watch as. How To Adjust Detent On Hydraulic Valve.
From agknx.com
Hydraulic Log Splitter Valve, 25 gpm, 3500 psi, Adjustable Detent & Au How To Adjust Detent On Hydraulic Valve Watch as jared guides you through how to adjust this valve. The detent on a hydraulic valve controls automatic return features. The viscosity and temperature of your hydraulic fluid can affect how it behaves, and your particular application might require a different setting than how it came from the factory. You will want to do this if your handle is. How To Adjust Detent On Hydraulic Valve.
From support.ruggedmade.com
Adjusting the AutoReturn Detent on a Hydraulic Valve RuggedMade How To Adjust Detent On Hydraulic Valve For example, on a log splitter, it allows for the auto return of the hydraulic piston. You will want to do this if your handle is either kicking out too soon. The detent on a hydraulic valve controls automatic return features. The viscosity and temperature of your hydraulic fluid can affect how it behaves, and your particular application might require. How To Adjust Detent On Hydraulic Valve.
From victorianhydraulics.com.au
Log Splitter Valve with Adjustable Detent Victorian Hydraulics How To Adjust Detent On Hydraulic Valve This will show you how to adjust your pressure release detent. This allows you to get the next log to be split ready while the piston is returning to the start position. You will want to do this if your handle is either kicking out too soon. Watch as jared guides you through how to adjust this valve. The detent. How To Adjust Detent On Hydraulic Valve.
From summit-hydraulics.com
Hydraulic Log Splitter Control Valve w/ Return Stroke Detent, 21 GPM How To Adjust Detent On Hydraulic Valve The viscosity and temperature of your hydraulic fluid can affect how it behaves, and your particular application might require a different setting than how it came from the factory. The detent on a hydraulic valve controls automatic return features. This allows you to get the next log to be split ready while the piston is returning to the start position.. How To Adjust Detent On Hydraulic Valve.
From www.youtube.com
How to assemble the detent kits on P40/P80 hydraulic control valves How To Adjust Detent On Hydraulic Valve The detent on a hydraulic valve controls automatic return features. Watch as jared guides you through how to adjust this valve. For example, on a log splitter, it allows for the auto return of the hydraulic piston. The viscosity and temperature of your hydraulic fluid can affect how it behaves, and your particular application might require a different setting than. How To Adjust Detent On Hydraulic Valve.
From marinersrepository.blogspot.com
Mariners Repository Hydraulics Part 1 Direction Control Valves How To Adjust Detent On Hydraulic Valve The detent on a hydraulic valve controls automatic return features. You will want to do this if your handle is either kicking out too soon. The viscosity and temperature of your hydraulic fluid can affect how it behaves, and your particular application might require a different setting than how it came from the factory. This will show you how to. How To Adjust Detent On Hydraulic Valve.
From www.cylinderservices.net
660190004 3 Position Detent Kit Hydraulic Catalog Cylinder How To Adjust Detent On Hydraulic Valve You will want to do this if your handle is either kicking out too soon. Watch as jared guides you through how to adjust this valve. The viscosity and temperature of your hydraulic fluid can affect how it behaves, and your particular application might require a different setting than how it came from the factory. This allows you to get. How To Adjust Detent On Hydraulic Valve.
From wirelibrarystedfast.z21.web.core.windows.net
Log Splitter Detent Valve Diagram How To Adjust Detent On Hydraulic Valve The detent on a hydraulic valve controls automatic return features. For example, on a log splitter, it allows for the auto return of the hydraulic piston. The viscosity and temperature of your hydraulic fluid can affect how it behaves, and your particular application might require a different setting than how it came from the factory. Watch as jared guides you. How To Adjust Detent On Hydraulic Valve.
From www.circuitdiagram.co
Hydraulic Detent Valve Schematic Circuit Diagram How To Adjust Detent On Hydraulic Valve This allows you to get the next log to be split ready while the piston is returning to the start position. The viscosity and temperature of your hydraulic fluid can affect how it behaves, and your particular application might require a different setting than how it came from the factory. This will show you how to adjust your pressure release. How To Adjust Detent On Hydraulic Valve.
From www.eonmach.com
Hydraulic Monoblock Directional Manual Control Valve with Detent How To Adjust Detent On Hydraulic Valve For example, on a log splitter, it allows for the auto return of the hydraulic piston. The detent on a hydraulic valve controls automatic return features. This will show you how to adjust your pressure release detent. Watch as jared guides you through how to adjust this valve. The viscosity and temperature of your hydraulic fluid can affect how it. How To Adjust Detent On Hydraulic Valve.
From upglam1.blogspot.com
log splitter detent valve diagram Upglam How To Adjust Detent On Hydraulic Valve The detent on a hydraulic valve controls automatic return features. This will show you how to adjust your pressure release detent. The viscosity and temperature of your hydraulic fluid can affect how it behaves, and your particular application might require a different setting than how it came from the factory. This allows you to get the next log to be. How To Adjust Detent On Hydraulic Valve.
From www.youtube.com
How to adjust hydraulic lifters or valves with the engine running YouTube How To Adjust Detent On Hydraulic Valve Watch as jared guides you through how to adjust this valve. For example, on a log splitter, it allows for the auto return of the hydraulic piston. This allows you to get the next log to be split ready while the piston is returning to the start position. You will want to do this if your handle is either kicking. How To Adjust Detent On Hydraulic Valve.
From ideasforhomeandoffice.blogspot.com
Detent valve hydraulic How To Adjust Detent On Hydraulic Valve You will want to do this if your handle is either kicking out too soon. The detent on a hydraulic valve controls automatic return features. This allows you to get the next log to be split ready while the piston is returning to the start position. This will show you how to adjust your pressure release detent. Watch as jared. How To Adjust Detent On Hydraulic Valve.
From summit-hydraulics.com
Monoblock Hydraulic Directional Control Valve, 2 Spool w/ Dual Float How To Adjust Detent On Hydraulic Valve The detent on a hydraulic valve controls automatic return features. Watch as jared guides you through how to adjust this valve. This will show you how to adjust your pressure release detent. The viscosity and temperature of your hydraulic fluid can affect how it behaves, and your particular application might require a different setting than how it came from the. How To Adjust Detent On Hydraulic Valve.
From www.youtube.com
Walvoil SD25 Directional Control Valve Detent Kit Demonstration YouTube How To Adjust Detent On Hydraulic Valve This will show you how to adjust your pressure release detent. Watch as jared guides you through how to adjust this valve. For example, on a log splitter, it allows for the auto return of the hydraulic piston. The detent on a hydraulic valve controls automatic return features. You will want to do this if your handle is either kicking. How To Adjust Detent On Hydraulic Valve.
From galvinconanstuart.blogspot.com
Log Splitter Detent Valve Diagram General Wiring Diagram How To Adjust Detent On Hydraulic Valve You will want to do this if your handle is either kicking out too soon. Watch as jared guides you through how to adjust this valve. For example, on a log splitter, it allows for the auto return of the hydraulic piston. The detent on a hydraulic valve controls automatic return features. This will show you how to adjust your. How To Adjust Detent On Hydraulic Valve.
From elecdiags.com
Understanding the Hydraulic Directional Control Valve Schematic A How To Adjust Detent On Hydraulic Valve You will want to do this if your handle is either kicking out too soon. This allows you to get the next log to be split ready while the piston is returning to the start position. For example, on a log splitter, it allows for the auto return of the hydraulic piston. The detent on a hydraulic valve controls automatic. How To Adjust Detent On Hydraulic Valve.
From www.northerntool.com
Prince TwoWay Detent Valve, Model LS30102 Northern Tool + Equipment How To Adjust Detent On Hydraulic Valve For example, on a log splitter, it allows for the auto return of the hydraulic piston. This will show you how to adjust your pressure release detent. This allows you to get the next log to be split ready while the piston is returning to the start position. Watch as jared guides you through how to adjust this valve. You. How To Adjust Detent On Hydraulic Valve.
From www.backyardmike.com
How To Adjust Detent Valve On Log Splitter Backyard Mike How To Adjust Detent On Hydraulic Valve This allows you to get the next log to be split ready while the piston is returning to the start position. The detent on a hydraulic valve controls automatic return features. This will show you how to adjust your pressure release detent. For example, on a log splitter, it allows for the auto return of the hydraulic piston. You will. How To Adjust Detent On Hydraulic Valve.
From www.youtube.com
Directional Control Valve Basics Part 1 YouTube How To Adjust Detent On Hydraulic Valve This will show you how to adjust your pressure release detent. This allows you to get the next log to be split ready while the piston is returning to the start position. The detent on a hydraulic valve controls automatic return features. Watch as jared guides you through how to adjust this valve. You will want to do this if. How To Adjust Detent On Hydraulic Valve.
From moreref.com
What is a detent hydraulic valve? More REF How To Adjust Detent On Hydraulic Valve This will show you how to adjust your pressure release detent. The detent on a hydraulic valve controls automatic return features. For example, on a log splitter, it allows for the auto return of the hydraulic piston. You will want to do this if your handle is either kicking out too soon. This allows you to get the next log. How To Adjust Detent On Hydraulic Valve.
From marinersrepository.blogspot.com
Mariners Repository Hydraulics Part 1 Direction Control Valves How To Adjust Detent On Hydraulic Valve You will want to do this if your handle is either kicking out too soon. This allows you to get the next log to be split ready while the piston is returning to the start position. For example, on a log splitter, it allows for the auto return of the hydraulic piston. This will show you how to adjust your. How To Adjust Detent On Hydraulic Valve.