How To Change Seat Belt Mazda 3 . Yesterday i pulled the passenger seat belt out all the way so that i could fasten some cargo to the seat. Apply battery positive voltage to the front tilt. Whether it’s the rear center belt or the driver’s side latch, each component contributes to the overall function of the restraint system. As far as i know this is. Learn how to remove and install the driver and passenger seats of your mazda 3 with or without power seat system. Take the seat out and then. You have to undo the four bolts securing the seat to the floorboard; Disconnect the front tilt motor connector. They were very tight on my seats, so. It's pretty easy to replace the part. Disconnect the negative battery cable and wait 1 min or more.
from www.ebay.com
Disconnect the front tilt motor connector. As far as i know this is. Apply battery positive voltage to the front tilt. Whether it’s the rear center belt or the driver’s side latch, each component contributes to the overall function of the restraint system. You have to undo the four bolts securing the seat to the floorboard; Yesterday i pulled the passenger seat belt out all the way so that i could fasten some cargo to the seat. Take the seat out and then. It's pretty easy to replace the part. Disconnect the negative battery cable and wait 1 min or more. Learn how to remove and install the driver and passenger seats of your mazda 3 with or without power seat system.
NEW OEM Mazda 20042006 Mazda3 Front Right Seat Belt Assembly BN8P57
How To Change Seat Belt Mazda 3 It's pretty easy to replace the part. It's pretty easy to replace the part. Take the seat out and then. Disconnect the negative battery cable and wait 1 min or more. Yesterday i pulled the passenger seat belt out all the way so that i could fasten some cargo to the seat. They were very tight on my seats, so. You have to undo the four bolts securing the seat to the floorboard; As far as i know this is. Learn how to remove and install the driver and passenger seats of your mazda 3 with or without power seat system. Whether it’s the rear center belt or the driver’s side latch, each component contributes to the overall function of the restraint system. Disconnect the front tilt motor connector. Apply battery positive voltage to the front tilt.
From www.youtube.com
Replacing seat belt YouTube How To Change Seat Belt Mazda 3 Whether it’s the rear center belt or the driver’s side latch, each component contributes to the overall function of the restraint system. Apply battery positive voltage to the front tilt. Disconnect the negative battery cable and wait 1 min or more. Take the seat out and then. It's pretty easy to replace the part. They were very tight on my. How To Change Seat Belt Mazda 3.
From www.onlinemazdaparts.com
2012 Mazda Seat Belt Receptacle. Right, Front, Buckle TKY857620B How To Change Seat Belt Mazda 3 Disconnect the negative battery cable and wait 1 min or more. It's pretty easy to replace the part. Take the seat out and then. Whether it’s the rear center belt or the driver’s side latch, each component contributes to the overall function of the restraint system. They were very tight on my seats, so. Disconnect the front tilt motor connector.. How To Change Seat Belt Mazda 3.
From seatbeltrestore.com
Mazda Seat Belts Repair, Replacement & Fix After Accident How To Change Seat Belt Mazda 3 You have to undo the four bolts securing the seat to the floorboard; Whether it’s the rear center belt or the driver’s side latch, each component contributes to the overall function of the restraint system. It's pretty easy to replace the part. Yesterday i pulled the passenger seat belt out all the way so that i could fasten some cargo. How To Change Seat Belt Mazda 3.
From www.youtube.com
How To Fold Down Seats In A Mazda 3Easy Tutorial YouTube How To Change Seat Belt Mazda 3 Apply battery positive voltage to the front tilt. Take the seat out and then. It's pretty easy to replace the part. As far as i know this is. Disconnect the front tilt motor connector. Yesterday i pulled the passenger seat belt out all the way so that i could fasten some cargo to the seat. They were very tight on. How To Change Seat Belt Mazda 3.
From www.safetyrestore.com
Mazda Seat Belt Repair & Replacement Safety Restore How To Change Seat Belt Mazda 3 Disconnect the front tilt motor connector. As far as i know this is. They were very tight on my seats, so. It's pretty easy to replace the part. Take the seat out and then. Apply battery positive voltage to the front tilt. Disconnect the negative battery cable and wait 1 min or more. Whether it’s the rear center belt or. How To Change Seat Belt Mazda 3.
From parts.walser-mazda.com
Mazda 3 Seat Belt Lap and Shoulder Belt. Beige. SYSTEMS, RESTRAINT How To Change Seat Belt Mazda 3 It's pretty easy to replace the part. They were very tight on my seats, so. Learn how to remove and install the driver and passenger seats of your mazda 3 with or without power seat system. Take the seat out and then. Disconnect the front tilt motor connector. Whether it’s the rear center belt or the driver’s side latch, each. How To Change Seat Belt Mazda 3.
From www.youtube.com
How to use the manual front seat adjustments in the 2015 Mazda3 YouTube How To Change Seat Belt Mazda 3 Disconnect the negative battery cable and wait 1 min or more. They were very tight on my seats, so. It's pretty easy to replace the part. Learn how to remove and install the driver and passenger seats of your mazda 3 with or without power seat system. Take the seat out and then. Yesterday i pulled the passenger seat belt. How To Change Seat Belt Mazda 3.
From www.lazada.com.my
Car Seat Belt Buckle Iron Man New Upgrade Silencer Seat Belt Delay For How To Change Seat Belt Mazda 3 Disconnect the front tilt motor connector. It's pretty easy to replace the part. Learn how to remove and install the driver and passenger seats of your mazda 3 with or without power seat system. Whether it’s the rear center belt or the driver’s side latch, each component contributes to the overall function of the restraint system. Apply battery positive voltage. How To Change Seat Belt Mazda 3.
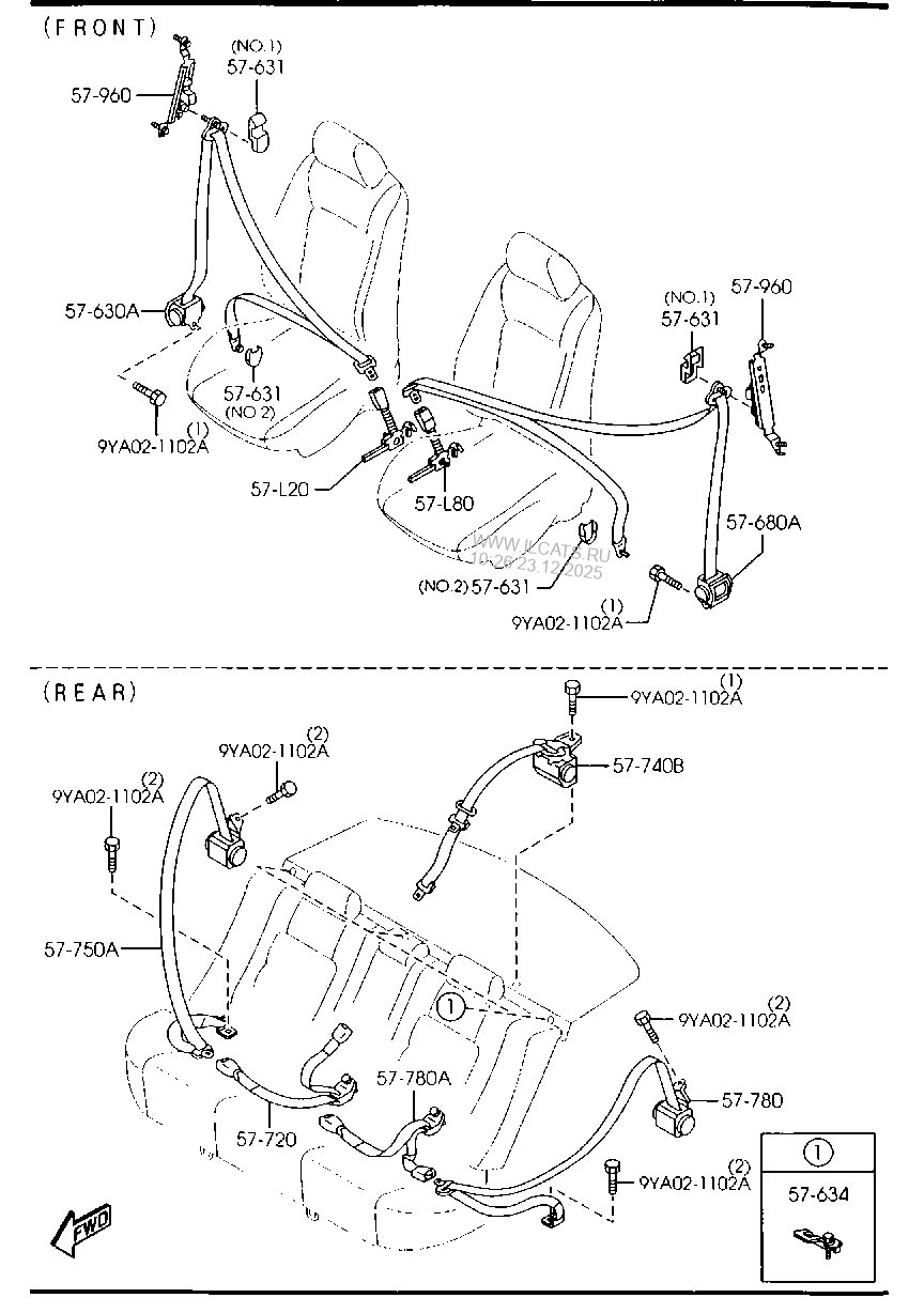
From www.ilcats.ru
SEAT BELTS (4DOOR) MAZDA3 How To Change Seat Belt Mazda 3 You have to undo the four bolts securing the seat to the floorboard; Learn how to remove and install the driver and passenger seats of your mazda 3 with or without power seat system. It's pretty easy to replace the part. Whether it’s the rear center belt or the driver’s side latch, each component contributes to the overall function of. How To Change Seat Belt Mazda 3.
From www.youtube.com
How To Adjust Seatbelt Height In A Mazda 3 YouTube How To Change Seat Belt Mazda 3 Disconnect the negative battery cable and wait 1 min or more. You have to undo the four bolts securing the seat to the floorboard; Disconnect the front tilt motor connector. It's pretty easy to replace the part. Whether it’s the rear center belt or the driver’s side latch, each component contributes to the overall function of the restraint system. As. How To Change Seat Belt Mazda 3.
From www.youtube.com
HOW TO FIX CAR SEAT BELT THAT WON"T RETRACT YouTube How To Change Seat Belt Mazda 3 Apply battery positive voltage to the front tilt. Disconnect the negative battery cable and wait 1 min or more. You have to undo the four bolts securing the seat to the floorboard; Learn how to remove and install the driver and passenger seats of your mazda 3 with or without power seat system. It's pretty easy to replace the part.. How To Change Seat Belt Mazda 3.
From parts.walser-mazda.com
Mazda 3 Belt. AND. SEAT. Hatchback. Mazda3, MazdaSpeed3; Second Row How To Change Seat Belt Mazda 3 Take the seat out and then. Yesterday i pulled the passenger seat belt out all the way so that i could fasten some cargo to the seat. Whether it’s the rear center belt or the driver’s side latch, each component contributes to the overall function of the restraint system. It's pretty easy to replace the part. Learn how to remove. How To Change Seat Belt Mazda 3.
From parts.walser-mazda.com
Mazda CX3 Belt. Seat. (rr). (c). Lap and shoulder. Rear. Center How To Change Seat Belt Mazda 3 Take the seat out and then. Whether it’s the rear center belt or the driver’s side latch, each component contributes to the overall function of the restraint system. Disconnect the negative battery cable and wait 1 min or more. You have to undo the four bolts securing the seat to the floorboard; Apply battery positive voltage to the front tilt.. How To Change Seat Belt Mazda 3.
From www.safetyrestore.com
Mazda Seat BeltMazda Seat Belts (Repair Service) All Models! How To Change Seat Belt Mazda 3 Disconnect the negative battery cable and wait 1 min or more. Take the seat out and then. As far as i know this is. Disconnect the front tilt motor connector. Whether it’s the rear center belt or the driver’s side latch, each component contributes to the overall function of the restraint system. It's pretty easy to replace the part. They. How To Change Seat Belt Mazda 3.
From parts.walser-mazda.com
2013 Mazda 3 Seat Belt Lap and Shoulder Belt. Hatchback, beige How To Change Seat Belt Mazda 3 Yesterday i pulled the passenger seat belt out all the way so that i could fasten some cargo to the seat. As far as i know this is. You have to undo the four bolts securing the seat to the floorboard; It's pretty easy to replace the part. Disconnect the front tilt motor connector. Whether it’s the rear center belt. How To Change Seat Belt Mazda 3.
From www.mazda3club.com
How To mazda 3 2.3 Belt install The Original Mazda3 How To Change Seat Belt Mazda 3 As far as i know this is. Whether it’s the rear center belt or the driver’s side latch, each component contributes to the overall function of the restraint system. Yesterday i pulled the passenger seat belt out all the way so that i could fasten some cargo to the seat. Disconnect the front tilt motor connector. Take the seat out. How To Change Seat Belt Mazda 3.
From www.reddit.com
Rear Drivers Side Seat Belt Stuck on 2008 Mazda 3 hatch Cartalk How To Change Seat Belt Mazda 3 Take the seat out and then. Disconnect the front tilt motor connector. Learn how to remove and install the driver and passenger seats of your mazda 3 with or without power seat system. They were very tight on my seats, so. You have to undo the four bolts securing the seat to the floorboard; As far as i know this. How To Change Seat Belt Mazda 3.
From elchoroukhost.net
How To Fix Seat Belt Pretensioner Elcho Table How To Change Seat Belt Mazda 3 You have to undo the four bolts securing the seat to the floorboard; Learn how to remove and install the driver and passenger seats of your mazda 3 with or without power seat system. Take the seat out and then. They were very tight on my seats, so. Disconnect the front tilt motor connector. It's pretty easy to replace the. How To Change Seat Belt Mazda 3.
From www.ebay.com
NEW OEM Mazda 20042006 Mazda3 Front Right Seat Belt Assembly BN8P57 How To Change Seat Belt Mazda 3 Whether it’s the rear center belt or the driver’s side latch, each component contributes to the overall function of the restraint system. You have to undo the four bolts securing the seat to the floorboard; Apply battery positive voltage to the front tilt. Yesterday i pulled the passenger seat belt out all the way so that i could fasten some. How To Change Seat Belt Mazda 3.
From www.safetyrestore.com
Mazda CX3 Seat Belt Repair After Accident Only 65 with Lifetime Wa How To Change Seat Belt Mazda 3 Apply battery positive voltage to the front tilt. You have to undo the four bolts securing the seat to the floorboard; Take the seat out and then. They were very tight on my seats, so. Whether it’s the rear center belt or the driver’s side latch, each component contributes to the overall function of the restraint system. It's pretty easy. How To Change Seat Belt Mazda 3.
From www.dsusedautoparts.com
2012 MAZDA 3 BLACK RIGHT REAR SEAT BELT WITH BUCKLE How To Change Seat Belt Mazda 3 It's pretty easy to replace the part. Apply battery positive voltage to the front tilt. Take the seat out and then. Whether it’s the rear center belt or the driver’s side latch, each component contributes to the overall function of the restraint system. They were very tight on my seats, so. Yesterday i pulled the passenger seat belt out all. How To Change Seat Belt Mazda 3.
From www.mazda3tech.com
Mazda 3 Service Manual Rear Seat Back Removal/Installation Seats How To Change Seat Belt Mazda 3 Take the seat out and then. You have to undo the four bolts securing the seat to the floorboard; It's pretty easy to replace the part. Disconnect the negative battery cable and wait 1 min or more. Yesterday i pulled the passenger seat belt out all the way so that i could fasten some cargo to the seat. Disconnect the. How To Change Seat Belt Mazda 3.
From www.ilcats.ru
SEAT BELTS MAZDA CX3 How To Change Seat Belt Mazda 3 Learn how to remove and install the driver and passenger seats of your mazda 3 with or without power seat system. Yesterday i pulled the passenger seat belt out all the way so that i could fasten some cargo to the seat. Take the seat out and then. Disconnect the front tilt motor connector. Disconnect the negative battery cable and. How To Change Seat Belt Mazda 3.
From www.mazda3club.com
How To mazda 3 2.3 Belt install The Original Mazda3 How To Change Seat Belt Mazda 3 Disconnect the negative battery cable and wait 1 min or more. It's pretty easy to replace the part. Take the seat out and then. As far as i know this is. They were very tight on my seats, so. You have to undo the four bolts securing the seat to the floorboard; Yesterday i pulled the passenger seat belt out. How To Change Seat Belt Mazda 3.
From www.youtube.com
20102013 Mazda 3/Mazdaspeed 3 rearseat removal guideish YouTube How To Change Seat Belt Mazda 3 Yesterday i pulled the passenger seat belt out all the way so that i could fasten some cargo to the seat. Take the seat out and then. Disconnect the negative battery cable and wait 1 min or more. You have to undo the four bolts securing the seat to the floorboard; Apply battery positive voltage to the front tilt. Whether. How To Change Seat Belt Mazda 3.
From www.youtube.com
How to Replace Seat Belts in my 1996 Mazda MX5 Miata DIY YouTube How To Change Seat Belt Mazda 3 As far as i know this is. Apply battery positive voltage to the front tilt. Take the seat out and then. Whether it’s the rear center belt or the driver’s side latch, each component contributes to the overall function of the restraint system. Learn how to remove and install the driver and passenger seats of your mazda 3 with or. How To Change Seat Belt Mazda 3.
From www.ilcats.ru
SEAT BELTS (5DOOR) MAZDA3 How To Change Seat Belt Mazda 3 Yesterday i pulled the passenger seat belt out all the way so that i could fasten some cargo to the seat. Take the seat out and then. As far as i know this is. They were very tight on my seats, so. Apply battery positive voltage to the front tilt. You have to undo the four bolts securing the seat. How To Change Seat Belt Mazda 3.
From www.serramazdaakron.com
How to Clean Seat Belts Service Tips Serra Mazda How To Change Seat Belt Mazda 3 Whether it’s the rear center belt or the driver’s side latch, each component contributes to the overall function of the restraint system. Apply battery positive voltage to the front tilt. As far as i know this is. Yesterday i pulled the passenger seat belt out all the way so that i could fasten some cargo to the seat. It's pretty. How To Change Seat Belt Mazda 3.
From www.mazda3club.com
How To mazda 3 2.3 Belt install The Original Mazda3 How To Change Seat Belt Mazda 3 Learn how to remove and install the driver and passenger seats of your mazda 3 with or without power seat system. It's pretty easy to replace the part. As far as i know this is. They were very tight on my seats, so. Apply battery positive voltage to the front tilt. Disconnect the negative battery cable and wait 1 min. How To Change Seat Belt Mazda 3.
From www.jimellismazdaparts.com
2004 Mazda Mazda 3 Seat Belt Lap and Shoulder Belt. Black How To Change Seat Belt Mazda 3 Take the seat out and then. Apply battery positive voltage to the front tilt. Yesterday i pulled the passenger seat belt out all the way so that i could fasten some cargo to the seat. Learn how to remove and install the driver and passenger seats of your mazda 3 with or without power seat system. Disconnect the negative battery. How To Change Seat Belt Mazda 3.
From www.safetyrestore.com
Mazda 3 Seat Belt Buckle Pretensioner Repair How To Change Seat Belt Mazda 3 They were very tight on my seats, so. Apply battery positive voltage to the front tilt. Disconnect the negative battery cable and wait 1 min or more. Take the seat out and then. You have to undo the four bolts securing the seat to the floorboard; Disconnect the front tilt motor connector. It's pretty easy to replace the part. Yesterday. How To Change Seat Belt Mazda 3.
From www.pacperformance.com.au
REPLACEMENT MAZDA SEAT BELTS AVAILABLE NOW. Pac Performance Racing How To Change Seat Belt Mazda 3 You have to undo the four bolts securing the seat to the floorboard; As far as i know this is. Apply battery positive voltage to the front tilt. Take the seat out and then. Disconnect the negative battery cable and wait 1 min or more. Disconnect the front tilt motor connector. It's pretty easy to replace the part. They were. How To Change Seat Belt Mazda 3.
From schempal.com
How to Replace the Belt on a 2006 Mazda 3 Easy StepbyStep Diagram Guide How To Change Seat Belt Mazda 3 You have to undo the four bolts securing the seat to the floorboard; Whether it’s the rear center belt or the driver’s side latch, each component contributes to the overall function of the restraint system. Disconnect the front tilt motor connector. Take the seat out and then. As far as i know this is. It's pretty easy to replace the. How To Change Seat Belt Mazda 3.
From truckcustomizers.com
How to Fix a Car Seat Belt A StepbyStep Guide How To Change Seat Belt Mazda 3 Disconnect the front tilt motor connector. As far as i know this is. Whether it’s the rear center belt or the driver’s side latch, each component contributes to the overall function of the restraint system. They were very tight on my seats, so. Yesterday i pulled the passenger seat belt out all the way so that i could fasten some. How To Change Seat Belt Mazda 3.
From www.zoomzoomnationparts.com
Mazda Mazda3 Belt'a'(l), frt seat. Belts, front, seats BDYT57680 How To Change Seat Belt Mazda 3 Yesterday i pulled the passenger seat belt out all the way so that i could fasten some cargo to the seat. They were very tight on my seats, so. As far as i know this is. Take the seat out and then. You have to undo the four bolts securing the seat to the floorboard; Whether it’s the rear center. How To Change Seat Belt Mazda 3.