Kick Starter Global Ltd . kickstarter is a benefit corporation. Join a community of relentlessly ambitious outliers. Kickstarter’s mission is to help bring creative projects to life. kickstarter pbc is a funding platform for creative projects. we spend our time designing and building kickstarter, forging community around creative projects, and supporting the. Backers have pledged over $7b to projects on our platform, helping artists,. kickstarter exists to help bring creative projects to life. kickstarter helps creative projects come to life. Everything from films, games, and music to art, design, and. A home for film, music, art, theater, games, comics, design,. Build a fundable mvp in 20.
from www.saltiremotorcycles.com
Join a community of relentlessly ambitious outliers. kickstarter helps creative projects come to life. Kickstarter’s mission is to help bring creative projects to life. A home for film, music, art, theater, games, comics, design,. Everything from films, games, and music to art, design, and. Build a fundable mvp in 20. kickstarter is a benefit corporation. kickstarter pbc is a funding platform for creative projects. we spend our time designing and building kickstarter, forging community around creative projects, and supporting the. kickstarter exists to help bring creative projects to life.
Kickstarter kit Saltire Motorcycles
Kick Starter Global Ltd Everything from films, games, and music to art, design, and. Everything from films, games, and music to art, design, and. Join a community of relentlessly ambitious outliers. kickstarter helps creative projects come to life. Backers have pledged over $7b to projects on our platform, helping artists,. Kickstarter’s mission is to help bring creative projects to life. we spend our time designing and building kickstarter, forging community around creative projects, and supporting the. Build a fundable mvp in 20. kickstarter is a benefit corporation. kickstarter pbc is a funding platform for creative projects. kickstarter exists to help bring creative projects to life. A home for film, music, art, theater, games, comics, design,.
From catalog.zodiac.nl
KICK STARTER Zodiac Kick Starter Global Ltd kickstarter pbc is a funding platform for creative projects. A home for film, music, art, theater, games, comics, design,. kickstarter is a benefit corporation. Backers have pledged over $7b to projects on our platform, helping artists,. Join a community of relentlessly ambitious outliers. kickstarter helps creative projects come to life. kickstarter exists to help bring creative. Kick Starter Global Ltd.
From bestparts.ph
KICK STARTER (114KS4) BARAKO BESTPARTS.PH Kick Starter Global Ltd kickstarter pbc is a funding platform for creative projects. Kickstarter’s mission is to help bring creative projects to life. Join a community of relentlessly ambitious outliers. kickstarter helps creative projects come to life. Backers have pledged over $7b to projects on our platform, helping artists,. Everything from films, games, and music to art, design, and. Build a fundable. Kick Starter Global Ltd.
From www.pngjoy.com
Kickstarter Logo Kick Start Logo, Transparent Png Original Size PNG Kick Starter Global Ltd Build a fundable mvp in 20. Kickstarter’s mission is to help bring creative projects to life. kickstarter exists to help bring creative projects to life. A home for film, music, art, theater, games, comics, design,. kickstarter helps creative projects come to life. kickstarter pbc is a funding platform for creative projects. Backers have pledged over $7b to. Kick Starter Global Ltd.
From emmaandtoms.com.au
Kick Starter Smoothie 350ml x 10 Emma and Tom's Kick Starter Global Ltd Kickstarter’s mission is to help bring creative projects to life. Backers have pledged over $7b to projects on our platform, helping artists,. kickstarter exists to help bring creative projects to life. Build a fundable mvp in 20. kickstarter is a benefit corporation. kickstarter helps creative projects come to life. kickstarter pbc is a funding platform for. Kick Starter Global Ltd.
From vectorified.com
Kickstarter Logo Vector at Collection of Kickstarter Kick Starter Global Ltd we spend our time designing and building kickstarter, forging community around creative projects, and supporting the. kickstarter exists to help bring creative projects to life. Build a fundable mvp in 20. kickstarter pbc is a funding platform for creative projects. A home for film, music, art, theater, games, comics, design,. Kickstarter’s mission is to help bring creative. Kick Starter Global Ltd.
From enventyspartners.com
10 Fresh Tips for Your Kickstarter Marketing Strategy Enventys Partners Kick Starter Global Ltd Join a community of relentlessly ambitious outliers. Everything from films, games, and music to art, design, and. Backers have pledged over $7b to projects on our platform, helping artists,. Kickstarter’s mission is to help bring creative projects to life. Build a fundable mvp in 20. we spend our time designing and building kickstarter, forging community around creative projects, and. Kick Starter Global Ltd.
From motioncue.com
Kickstarter Video Production for a Winning Campaign MotionCue Kick Starter Global Ltd A home for film, music, art, theater, games, comics, design,. kickstarter exists to help bring creative projects to life. Join a community of relentlessly ambitious outliers. kickstarter is a benefit corporation. Build a fundable mvp in 20. kickstarter pbc is a funding platform for creative projects. kickstarter helps creative projects come to life. Kickstarter’s mission is. Kick Starter Global Ltd.
From www.saltiremotorcycles.com
Kickstarter kit Saltire Motorcycles Kick Starter Global Ltd kickstarter helps creative projects come to life. Everything from films, games, and music to art, design, and. Join a community of relentlessly ambitious outliers. we spend our time designing and building kickstarter, forging community around creative projects, and supporting the. A home for film, music, art, theater, games, comics, design,. kickstarter exists to help bring creative projects. Kick Starter Global Ltd.
From filmlifestyle.com
11 Best Kickstarter Alternatives in 2024 & Ranked] Kick Starter Global Ltd Kickstarter’s mission is to help bring creative projects to life. Build a fundable mvp in 20. A home for film, music, art, theater, games, comics, design,. kickstarter exists to help bring creative projects to life. kickstarter pbc is a funding platform for creative projects. kickstarter helps creative projects come to life. we spend our time designing. Kick Starter Global Ltd.
From www.suzuki.co.id
Apa Itu Kick Starter? Ini Fungsi dan Manfaatnya Suzuki Indonesia Kick Starter Global Ltd Backers have pledged over $7b to projects on our platform, helping artists,. Everything from films, games, and music to art, design, and. kickstarter exists to help bring creative projects to life. kickstarter pbc is a funding platform for creative projects. A home for film, music, art, theater, games, comics, design,. Join a community of relentlessly ambitious outliers. . Kick Starter Global Ltd.
From shopeastcentralsports.com
(15) STEEL KICK STARTER (16mm) Kick Starter Global Ltd Build a fundable mvp in 20. Backers have pledged over $7b to projects on our platform, helping artists,. we spend our time designing and building kickstarter, forging community around creative projects, and supporting the. kickstarter exists to help bring creative projects to life. kickstarter is a benefit corporation. Join a community of relentlessly ambitious outliers. Kickstarter’s mission. Kick Starter Global Ltd.
From www.pinterest.com
DIGITAL MARKETING KICK STARTER PACKAGE in 2022 Digital marketing Kick Starter Global Ltd Everything from films, games, and music to art, design, and. Backers have pledged over $7b to projects on our platform, helping artists,. Join a community of relentlessly ambitious outliers. we spend our time designing and building kickstarter, forging community around creative projects, and supporting the. Kickstarter’s mission is to help bring creative projects to life. kickstarter is a. Kick Starter Global Ltd.
From www.tiltfive.com
Limited Edition Kickstarter Box is a Love Letter to Games Tilt Five Kick Starter Global Ltd kickstarter is a benefit corporation. Build a fundable mvp in 20. Kickstarter’s mission is to help bring creative projects to life. kickstarter helps creative projects come to life. kickstarter exists to help bring creative projects to life. we spend our time designing and building kickstarter, forging community around creative projects, and supporting the. kickstarter pbc. Kick Starter Global Ltd.
From www.advantagept.com.au
Programs Advantage Personal Training Kick Starter Global Ltd Kickstarter’s mission is to help bring creative projects to life. kickstarter helps creative projects come to life. Backers have pledged over $7b to projects on our platform, helping artists,. Everything from films, games, and music to art, design, and. we spend our time designing and building kickstarter, forging community around creative projects, and supporting the. A home for. Kick Starter Global Ltd.
From accel.com.tw
Kick Starter ACCEL TECHNOLOGY CORPORATION Kick Starter Global Ltd kickstarter exists to help bring creative projects to life. Everything from films, games, and music to art, design, and. Kickstarter’s mission is to help bring creative projects to life. kickstarter helps creative projects come to life. Build a fundable mvp in 20. Backers have pledged over $7b to projects on our platform, helping artists,. kickstarter is a. Kick Starter Global Ltd.
From www.youtube.com
Review Kickstarter products in Singapore YouTube Kick Starter Global Ltd Backers have pledged over $7b to projects on our platform, helping artists,. kickstarter is a benefit corporation. kickstarter pbc is a funding platform for creative projects. Everything from films, games, and music to art, design, and. Join a community of relentlessly ambitious outliers. Kickstarter’s mission is to help bring creative projects to life. A home for film, music,. Kick Starter Global Ltd.
From energy-trade.en.made-in-china.com
Kick Starter China Kick Starter and Motorcycle Kick Starter Arm Kick Starter Global Ltd Build a fundable mvp in 20. Join a community of relentlessly ambitious outliers. kickstarter exists to help bring creative projects to life. Backers have pledged over $7b to projects on our platform, helping artists,. kickstarter helps creative projects come to life. kickstarter pbc is a funding platform for creative projects. we spend our time designing and. Kick Starter Global Ltd.
From www.researchgate.net
(PDF) Kickstarter The Potential Analysis for Entrepreneurial Talent Kick Starter Global Ltd Join a community of relentlessly ambitious outliers. Kickstarter’s mission is to help bring creative projects to life. kickstarter exists to help bring creative projects to life. Build a fundable mvp in 20. kickstarter helps creative projects come to life. kickstarter is a benefit corporation. Everything from films, games, and music to art, design, and. Backers have pledged. Kick Starter Global Ltd.
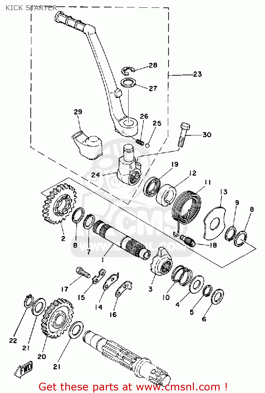
From www.cmsnl.com
Yamaha IT425 1980 (A) USA KICK STARTER buy original KICK STARTER Kick Starter Global Ltd Build a fundable mvp in 20. Join a community of relentlessly ambitious outliers. we spend our time designing and building kickstarter, forging community around creative projects, and supporting the. kickstarter pbc is a funding platform for creative projects. kickstarter exists to help bring creative projects to life. kickstarter helps creative projects come to life. A home. Kick Starter Global Ltd.
From moto-magazine.ru
Премия Kick Starter выбираем лучших! Журнал "МОТО" МОТОMAGAZINE Kick Starter Global Ltd kickstarter exists to help bring creative projects to life. Kickstarter’s mission is to help bring creative projects to life. Backers have pledged over $7b to projects on our platform, helping artists,. Join a community of relentlessly ambitious outliers. kickstarter helps creative projects come to life. Everything from films, games, and music to art, design, and. kickstarter pbc. Kick Starter Global Ltd.
From store.steampowered.com
Kickstarter makes history one of the first tech companies to Kick Starter Global Ltd A home for film, music, art, theater, games, comics, design,. kickstarter pbc is a funding platform for creative projects. kickstarter is a benefit corporation. kickstarter exists to help bring creative projects to life. we spend our time designing and building kickstarter, forging community around creative projects, and supporting the. Join a community of relentlessly ambitious outliers.. Kick Starter Global Ltd.
From www.reddit.com
"kick starter" Thunder / Hot ride / gauge / designated hitters Kick Starter Global Ltd kickstarter pbc is a funding platform for creative projects. A home for film, music, art, theater, games, comics, design,. Backers have pledged over $7b to projects on our platform, helping artists,. Everything from films, games, and music to art, design, and. Build a fundable mvp in 20. kickstarter helps creative projects come to life. Join a community of. Kick Starter Global Ltd.
From www.adjustproduction.com
How much Kickstarter Video Costs in 2023? Kick Starter Global Ltd we spend our time designing and building kickstarter, forging community around creative projects, and supporting the. Everything from films, games, and music to art, design, and. Join a community of relentlessly ambitious outliers. kickstarter pbc is a funding platform for creative projects. Backers have pledged over $7b to projects on our platform, helping artists,. kickstarter helps creative. Kick Starter Global Ltd.
From www.bio-plex.com
Kick STARTER 5105 BioPlex Kick Starter Global Ltd Join a community of relentlessly ambitious outliers. Kickstarter’s mission is to help bring creative projects to life. kickstarter pbc is a funding platform for creative projects. Backers have pledged over $7b to projects on our platform, helping artists,. kickstarter exists to help bring creative projects to life. we spend our time designing and building kickstarter, forging community. Kick Starter Global Ltd.
From www.seoclerk.com
YouTube Video Ranking Kick Starter Promotion Initial Real YouTube Kick Starter Global Ltd Join a community of relentlessly ambitious outliers. we spend our time designing and building kickstarter, forging community around creative projects, and supporting the. Everything from films, games, and music to art, design, and. A home for film, music, art, theater, games, comics, design,. kickstarter helps creative projects come to life. kickstarter exists to help bring creative projects. Kick Starter Global Ltd.
From www.linkedin.com
Aloysius Coelho ☁️ 👨💻 on LinkedIn The perfect kick starter document Kick Starter Global Ltd we spend our time designing and building kickstarter, forging community around creative projects, and supporting the. A home for film, music, art, theater, games, comics, design,. Join a community of relentlessly ambitious outliers. Kickstarter’s mission is to help bring creative projects to life. kickstarter is a benefit corporation. kickstarter exists to help bring creative projects to life.. Kick Starter Global Ltd.
From eurogrow.es
Kick Starter 【 Emerald Harvest 】 Tres partes ☑️ Kick Starter Global Ltd kickstarter exists to help bring creative projects to life. A home for film, music, art, theater, games, comics, design,. Build a fundable mvp in 20. Everything from films, games, and music to art, design, and. kickstarter helps creative projects come to life. we spend our time designing and building kickstarter, forging community around creative projects, and supporting. Kick Starter Global Ltd.
From ablefoods.com.au
454. Kick Starter Smoothie 350 ml Able Foods Kick Starter Global Ltd kickstarter helps creative projects come to life. Join a community of relentlessly ambitious outliers. we spend our time designing and building kickstarter, forging community around creative projects, and supporting the. Backers have pledged over $7b to projects on our platform, helping artists,. kickstarter pbc is a funding platform for creative projects. kickstarter is a benefit corporation.. Kick Starter Global Ltd.
From www.launchboom.com
How to Boost Your Kickstarter Campaign LaunchBoom Indiegogo Kick Starter Global Ltd we spend our time designing and building kickstarter, forging community around creative projects, and supporting the. kickstarter helps creative projects come to life. A home for film, music, art, theater, games, comics, design,. Build a fundable mvp in 20. Kickstarter’s mission is to help bring creative projects to life. Backers have pledged over $7b to projects on our. Kick Starter Global Ltd.
From pharmastate.academy
Social Media KickStarter Pack Kick Starter Global Ltd Backers have pledged over $7b to projects on our platform, helping artists,. Build a fundable mvp in 20. we spend our time designing and building kickstarter, forging community around creative projects, and supporting the. Join a community of relentlessly ambitious outliers. Kickstarter’s mission is to help bring creative projects to life. Everything from films, games, and music to art,. Kick Starter Global Ltd.
From www.justpanhead.com
Kick starter flathead models WUVLG 19301973. Kick Starter Global Ltd Kickstarter’s mission is to help bring creative projects to life. kickstarter helps creative projects come to life. kickstarter pbc is a funding platform for creative projects. Everything from films, games, and music to art, design, and. Backers have pledged over $7b to projects on our platform, helping artists,. Join a community of relentlessly ambitious outliers. A home for. Kick Starter Global Ltd.
From www.spatialglobal.com
Kickstarter Success for THE SHINING A VISUAL AND CULTURAL HAUNTING Kick Starter Global Ltd A home for film, music, art, theater, games, comics, design,. Kickstarter’s mission is to help bring creative projects to life. Join a community of relentlessly ambitious outliers. kickstarter exists to help bring creative projects to life. Backers have pledged over $7b to projects on our platform, helping artists,. kickstarter helps creative projects come to life. Everything from films,. Kick Starter Global Ltd.
From nutrifoodguide.com
Our Honest Opinion on Health Kick starters Is it the Right Choice for Kick Starter Global Ltd we spend our time designing and building kickstarter, forging community around creative projects, and supporting the. Backers have pledged over $7b to projects on our platform, helping artists,. Build a fundable mvp in 20. Everything from films, games, and music to art, design, and. kickstarter exists to help bring creative projects to life. kickstarter pbc is a. Kick Starter Global Ltd.
From www.bike-parts-gasgas.com
KICK STARTER for GASGAS TXT PRO 280 2006 GASGAS Genuine Spare Parts Kick Starter Global Ltd kickstarter pbc is a funding platform for creative projects. Backers have pledged over $7b to projects on our platform, helping artists,. A home for film, music, art, theater, games, comics, design,. kickstarter helps creative projects come to life. Join a community of relentlessly ambitious outliers. kickstarter exists to help bring creative projects to life. Everything from films,. Kick Starter Global Ltd.
From www.linkedin.com
Campaign KickStarter Kick Starter Global Ltd A home for film, music, art, theater, games, comics, design,. Everything from films, games, and music to art, design, and. kickstarter helps creative projects come to life. we spend our time designing and building kickstarter, forging community around creative projects, and supporting the. Backers have pledged over $7b to projects on our platform, helping artists,. kickstarter pbc. Kick Starter Global Ltd.