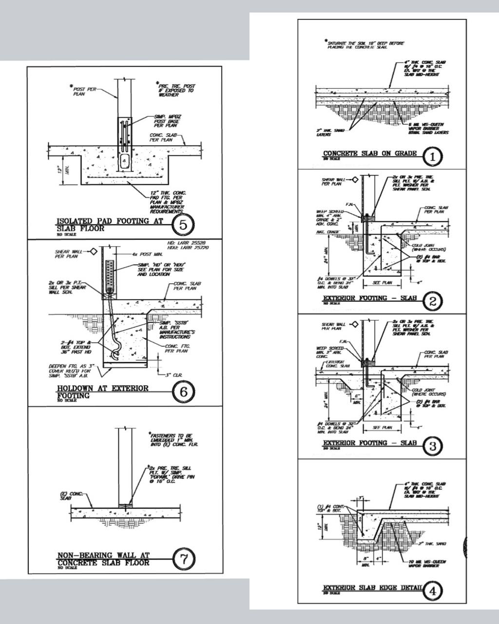
Hold Downs On Framing . These steel connectors incorporate a variety of features and unique designs that aid correct installation and improve overall performance. One method that is useful if you are using intermittent wall. Holdowns (or “hold downs”) are steel structural connectors that resist tension loads and forces imposed on walls and other framing elements. This week we will discuss how to select holdowns and tension ties, which are key components in a continuous load path. The building code allows three different types of portal frame: The “portal frame” method for bracing walls against wind and earthquake is still practical, following a series of changes in the fine points of. They are used to resist. The irc® contains several different narrow bracing methods that are made up of portal frames.
from www.oneidatrail.com
They are used to resist. The “portal frame” method for bracing walls against wind and earthquake is still practical, following a series of changes in the fine points of. Holdowns (or “hold downs”) are steel structural connectors that resist tension loads and forces imposed on walls and other framing elements. The building code allows three different types of portal frame: The irc® contains several different narrow bracing methods that are made up of portal frames. These steel connectors incorporate a variety of features and unique designs that aid correct installation and improve overall performance. This week we will discuss how to select holdowns and tension ties, which are key components in a continuous load path. One method that is useful if you are using intermittent wall.
Rafter holddowns further strengthening wheelwell area.
Hold Downs On Framing Holdowns (or “hold downs”) are steel structural connectors that resist tension loads and forces imposed on walls and other framing elements. One method that is useful if you are using intermittent wall. The irc® contains several different narrow bracing methods that are made up of portal frames. This week we will discuss how to select holdowns and tension ties, which are key components in a continuous load path. They are used to resist. The building code allows three different types of portal frame: These steel connectors incorporate a variety of features and unique designs that aid correct installation and improve overall performance. Holdowns (or “hold downs”) are steel structural connectors that resist tension loads and forces imposed on walls and other framing elements. The “portal frame” method for bracing walls against wind and earthquake is still practical, following a series of changes in the fine points of.
From seblog.strongtie.com
holdown Archives Hold Downs On Framing Holdowns (or “hold downs”) are steel structural connectors that resist tension loads and forces imposed on walls and other framing elements. They are used to resist. One method that is useful if you are using intermittent wall. The irc® contains several different narrow bracing methods that are made up of portal frames. The building code allows three different types of. Hold Downs On Framing.
From www.pinterest.com
Simpson Hold Downs Floor framing, Modern bungalow, Sloped garden Hold Downs On Framing The “portal frame” method for bracing walls against wind and earthquake is still practical, following a series of changes in the fine points of. The building code allows three different types of portal frame: These steel connectors incorporate a variety of features and unique designs that aid correct installation and improve overall performance. They are used to resist. Holdowns (or. Hold Downs On Framing.
From arboronbullmt.blogspot.com
Arbor Custom Homes on Bull Mountain Following Alpine View Lot 8 Hold Downs On Framing Holdowns (or “hold downs”) are steel structural connectors that resist tension loads and forces imposed on walls and other framing elements. This week we will discuss how to select holdowns and tension ties, which are key components in a continuous load path. The building code allows three different types of portal frame: These steel connectors incorporate a variety of features. Hold Downs On Framing.
From www.strongtie.lv
Hold Downs Simpson StrongTie Hold Downs On Framing They are used to resist. This week we will discuss how to select holdowns and tension ties, which are key components in a continuous load path. The “portal frame” method for bracing walls against wind and earthquake is still practical, following a series of changes in the fine points of. The irc® contains several different narrow bracing methods that are. Hold Downs On Framing.
From www.deckmagazine.com
Lateral Load Anchor Kit Professional Deck Builder Products Hold Downs On Framing The building code allows three different types of portal frame: One method that is useful if you are using intermittent wall. Holdowns (or “hold downs”) are steel structural connectors that resist tension loads and forces imposed on walls and other framing elements. The “portal frame” method for bracing walls against wind and earthquake is still practical, following a series of. Hold Downs On Framing.
From www.youtube.com
Minimum Post Size Requirements for Structural Holddown's Home Hold Downs On Framing The irc® contains several different narrow bracing methods that are made up of portal frames. They are used to resist. These steel connectors incorporate a variety of features and unique designs that aid correct installation and improve overall performance. The “portal frame” method for bracing walls against wind and earthquake is still practical, following a series of changes in the. Hold Downs On Framing.
From burmon.com
Masonry Block Tie Downs Hold Downs On Framing Holdowns (or “hold downs”) are steel structural connectors that resist tension loads and forces imposed on walls and other framing elements. One method that is useful if you are using intermittent wall. The “portal frame” method for bracing walls against wind and earthquake is still practical, following a series of changes in the fine points of. They are used to. Hold Downs On Framing.
From myconstructionfinds.blogspot.com
Wood Design and Construction Relocating Hold Down Anchors Hold Downs On Framing They are used to resist. The “portal frame” method for bracing walls against wind and earthquake is still practical, following a series of changes in the fine points of. The irc® contains several different narrow bracing methods that are made up of portal frames. These steel connectors incorporate a variety of features and unique designs that aid correct installation and. Hold Downs On Framing.
From strongtie.co.nz
HDU Heavy Duty Holdown StrongTie Together we're helping build Hold Downs On Framing These steel connectors incorporate a variety of features and unique designs that aid correct installation and improve overall performance. The irc® contains several different narrow bracing methods that are made up of portal frames. This week we will discuss how to select holdowns and tension ties, which are key components in a continuous load path. They are used to resist.. Hold Downs On Framing.
From www.youtube.com
Planning Plumbing and Foundation Hold Downs E37 YouTube Hold Downs On Framing The irc® contains several different narrow bracing methods that are made up of portal frames. They are used to resist. One method that is useful if you are using intermittent wall. Holdowns (or “hold downs”) are steel structural connectors that resist tension loads and forces imposed on walls and other framing elements. These steel connectors incorporate a variety of features. Hold Downs On Framing.
From rollshield.com
Gable Bracing & Roof Tie Downs Rollshield Hurricane and Storm Protection Hold Downs On Framing Holdowns (or “hold downs”) are steel structural connectors that resist tension loads and forces imposed on walls and other framing elements. One method that is useful if you are using intermittent wall. The irc® contains several different narrow bracing methods that are made up of portal frames. The building code allows three different types of portal frame: They are used. Hold Downs On Framing.
From ramizconstruction.com
Painting Roofing Framing Construction Company in Seattle WA Hold Downs On Framing One method that is useful if you are using intermittent wall. This week we will discuss how to select holdowns and tension ties, which are key components in a continuous load path. The irc® contains several different narrow bracing methods that are made up of portal frames. The “portal frame” method for bracing walls against wind and earthquake is still. Hold Downs On Framing.
From www.youtube.com
Epoxy Anchored HoldDown Into Existing Concrete Footing YouTube Hold Downs On Framing The irc® contains several different narrow bracing methods that are made up of portal frames. The “portal frame” method for bracing walls against wind and earthquake is still practical, following a series of changes in the fine points of. These steel connectors incorporate a variety of features and unique designs that aid correct installation and improve overall performance. They are. Hold Downs On Framing.
From www.youtube.com
The Best Methods For Attaching Structural Hold Downs To Raised Floor Hold Downs On Framing Holdowns (or “hold downs”) are steel structural connectors that resist tension loads and forces imposed on walls and other framing elements. This week we will discuss how to select holdowns and tension ties, which are key components in a continuous load path. The “portal frame” method for bracing walls against wind and earthquake is still practical, following a series of. Hold Downs On Framing.
From dunnings.com.au
Hold Down Bracket M12 Holes for Bolts or Thread Dunnings Hold Downs On Framing One method that is useful if you are using intermittent wall. The irc® contains several different narrow bracing methods that are made up of portal frames. They are used to resist. These steel connectors incorporate a variety of features and unique designs that aid correct installation and improve overall performance. This week we will discuss how to select holdowns and. Hold Downs On Framing.
From www.chegg.com
Solved Calculate the total number of "Hold Down" framing Hold Downs On Framing These steel connectors incorporate a variety of features and unique designs that aid correct installation and improve overall performance. The “portal frame” method for bracing walls against wind and earthquake is still practical, following a series of changes in the fine points of. One method that is useful if you are using intermittent wall. They are used to resist. The. Hold Downs On Framing.
From www.oneidatrail.com
Rafter holddowns further strengthening wheelwell area. Hold Downs On Framing They are used to resist. These steel connectors incorporate a variety of features and unique designs that aid correct installation and improve overall performance. The “portal frame” method for bracing walls against wind and earthquake is still practical, following a series of changes in the fine points of. One method that is useful if you are using intermittent wall. This. Hold Downs On Framing.
From mitek.ca
Z4 TieDown MiTek Canada Hold Downs On Framing They are used to resist. Holdowns (or “hold downs”) are steel structural connectors that resist tension loads and forces imposed on walls and other framing elements. The building code allows three different types of portal frame: The irc® contains several different narrow bracing methods that are made up of portal frames. The “portal frame” method for bracing walls against wind. Hold Downs On Framing.
From trailbuildingsupplies.com
Hold Downs Wood Framing Connectors Hold Downs On Framing Holdowns (or “hold downs”) are steel structural connectors that resist tension loads and forces imposed on walls and other framing elements. They are used to resist. The “portal frame” method for bracing walls against wind and earthquake is still practical, following a series of changes in the fine points of. The building code allows three different types of portal frame:. Hold Downs On Framing.
From www.youtube.com
How To Hold A House Down Framing YouTube Hold Downs On Framing The “portal frame” method for bracing walls against wind and earthquake is still practical, following a series of changes in the fine points of. The building code allows three different types of portal frame: This week we will discuss how to select holdowns and tension ties, which are key components in a continuous load path. These steel connectors incorporate a. Hold Downs On Framing.
From fastenerpoland.eu
Hold downs for timber frame houses Fastener Hold Downs On Framing The irc® contains several different narrow bracing methods that are made up of portal frames. The “portal frame” method for bracing walls against wind and earthquake is still practical, following a series of changes in the fine points of. The building code allows three different types of portal frame: These steel connectors incorporate a variety of features and unique designs. Hold Downs On Framing.
From www.oneidatrail.com
Added a plate and some corner holddowns to the side wall. Hold Downs On Framing This week we will discuss how to select holdowns and tension ties, which are key components in a continuous load path. These steel connectors incorporate a variety of features and unique designs that aid correct installation and improve overall performance. One method that is useful if you are using intermittent wall. The “portal frame” method for bracing walls against wind. Hold Downs On Framing.
From www.ergodomus.it
1+1+1+1+1 ≠ 5 !? ergodomus Hold Downs On Framing One method that is useful if you are using intermittent wall. The “portal frame” method for bracing walls against wind and earthquake is still practical, following a series of changes in the fine points of. Holdowns (or “hold downs”) are steel structural connectors that resist tension loads and forces imposed on walls and other framing elements. These steel connectors incorporate. Hold Downs On Framing.
From www.pryda.co.nz
Hold Down Bracket Pryda NZ Hold Downs On Framing These steel connectors incorporate a variety of features and unique designs that aid correct installation and improve overall performance. One method that is useful if you are using intermittent wall. The “portal frame” method for bracing walls against wind and earthquake is still practical, following a series of changes in the fine points of. The building code allows three different. Hold Downs On Framing.
From www.jlconline.com
The Portal Frame Option JLC Online Storm and Wind Resistance Hold Downs On Framing These steel connectors incorporate a variety of features and unique designs that aid correct installation and improve overall performance. One method that is useful if you are using intermittent wall. This week we will discuss how to select holdowns and tension ties, which are key components in a continuous load path. The “portal frame” method for bracing walls against wind. Hold Downs On Framing.
From strongtie.com.au
SH1A_Detail_SteelFrameTieDown_preview.jpg StrongTie Together Hold Downs On Framing The “portal frame” method for bracing walls against wind and earthquake is still practical, following a series of changes in the fine points of. This week we will discuss how to select holdowns and tension ties, which are key components in a continuous load path. The building code allows three different types of portal frame: One method that is useful. Hold Downs On Framing.
From www.strongtie.co.uk
Timber Frame Hold Down Strap ETFSS Simpson StrongTie Hold Downs On Framing The “portal frame” method for bracing walls against wind and earthquake is still practical, following a series of changes in the fine points of. These steel connectors incorporate a variety of features and unique designs that aid correct installation and improve overall performance. Holdowns (or “hold downs”) are steel structural connectors that resist tension loads and forces imposed on walls. Hold Downs On Framing.
From www.oneidatrail.com
You see can spacing of holddowns in the subfloor. Hold Downs On Framing These steel connectors incorporate a variety of features and unique designs that aid correct installation and improve overall performance. The irc® contains several different narrow bracing methods that are made up of portal frames. One method that is useful if you are using intermittent wall. The building code allows three different types of portal frame: This week we will discuss. Hold Downs On Framing.
From seblog.strongtie.com
holdown Archives Hold Downs On Framing The building code allows three different types of portal frame: The irc® contains several different narrow bracing methods that are made up of portal frames. Holdowns (or “hold downs”) are steel structural connectors that resist tension loads and forces imposed on walls and other framing elements. They are used to resist. These steel connectors incorporate a variety of features and. Hold Downs On Framing.
From seblog.strongtie.com
How to Select a Connector Series Holdowns Hold Downs On Framing The building code allows three different types of portal frame: These steel connectors incorporate a variety of features and unique designs that aid correct installation and improve overall performance. The irc® contains several different narrow bracing methods that are made up of portal frames. Holdowns (or “hold downs”) are steel structural connectors that resist tension loads and forces imposed on. Hold Downs On Framing.
From www.contractortalk.com
Sheathing Walls On Ground....... Page 3 Framing Contractor Talk Hold Downs On Framing They are used to resist. The “portal frame” method for bracing walls against wind and earthquake is still practical, following a series of changes in the fine points of. One method that is useful if you are using intermittent wall. The building code allows three different types of portal frame: Holdowns (or “hold downs”) are steel structural connectors that resist. Hold Downs On Framing.
From www.jlconline.com
Slideshow Placing Concrete and Framing Up JLC Online Hold Downs On Framing One method that is useful if you are using intermittent wall. The building code allows three different types of portal frame: The irc® contains several different narrow bracing methods that are made up of portal frames. They are used to resist. Holdowns (or “hold downs”) are steel structural connectors that resist tension loads and forces imposed on walls and other. Hold Downs On Framing.
From www.youtube.com
Shear Hold Downs for framing YouTube Hold Downs On Framing One method that is useful if you are using intermittent wall. The “portal frame” method for bracing walls against wind and earthquake is still practical, following a series of changes in the fine points of. Holdowns (or “hold downs”) are steel structural connectors that resist tension loads and forces imposed on walls and other framing elements. They are used to. Hold Downs On Framing.
From www.youtube.com
Anchor Tiedown System Installation YouTube Hold Downs On Framing This week we will discuss how to select holdowns and tension ties, which are key components in a continuous load path. Holdowns (or “hold downs”) are steel structural connectors that resist tension loads and forces imposed on walls and other framing elements. The building code allows three different types of portal frame: These steel connectors incorporate a variety of features. Hold Downs On Framing.
From rjwagner49.com
Bed, Bath, and Office Remodel Project Hold Downs On Framing The building code allows three different types of portal frame: These steel connectors incorporate a variety of features and unique designs that aid correct installation and improve overall performance. The irc® contains several different narrow bracing methods that are made up of portal frames. This week we will discuss how to select holdowns and tension ties, which are key components. Hold Downs On Framing.