Invacare Solo Bed Parts . Part number description valid from → until qty 1. *left and right is determined by standing at. Solo bd0880/76 service parts replacement guide bd0880/76 *parts are obsolete. Parts shown are all that is currently available. This collection contains all beds, bed parts and bed accessories sold through shopify. If you have any questions regarding this catalog, please contact one of our customer service representatives. Service parts for form no. 80” wireform wbbsolo80p (nla) rails. Solo bs2180/76 service parts replacement guide.
from mavink.com
If you have any questions regarding this catalog, please contact one of our customer service representatives. Service parts for form no. 80” wireform wbbsolo80p (nla) rails. Solo bd0880/76 service parts replacement guide bd0880/76 *parts are obsolete. *left and right is determined by standing at. This collection contains all beds, bed parts and bed accessories sold through shopify. Parts shown are all that is currently available. Part number description valid from → until qty 1. Solo bs2180/76 service parts replacement guide.
Invacare Hospital Bed Parts List
Invacare Solo Bed Parts If you have any questions regarding this catalog, please contact one of our customer service representatives. Solo bd0880/76 service parts replacement guide bd0880/76 *parts are obsolete. *left and right is determined by standing at. Solo bs2180/76 service parts replacement guide. Part number description valid from → until qty 1. Parts shown are all that is currently available. If you have any questions regarding this catalog, please contact one of our customer service representatives. This collection contains all beds, bed parts and bed accessories sold through shopify. 80” wireform wbbsolo80p (nla) rails. Service parts for form no.
From mavink.com
Invacare Hospital Bed Parts List Invacare Solo Bed Parts Part number description valid from → until qty 1. *left and right is determined by standing at. Solo bd0880/76 service parts replacement guide bd0880/76 *parts are obsolete. Solo bs2180/76 service parts replacement guide. If you have any questions regarding this catalog, please contact one of our customer service representatives. 80” wireform wbbsolo80p (nla) rails. Service parts for form no. This. Invacare Solo Bed Parts.
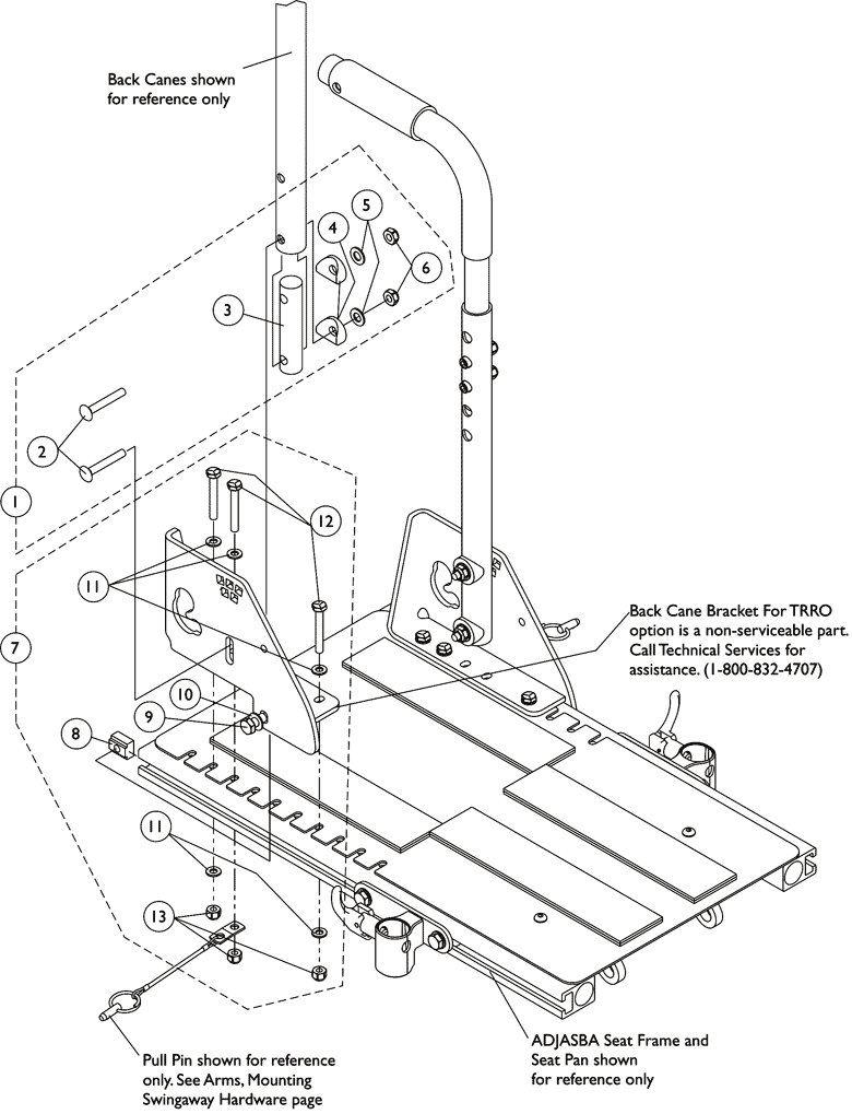
From medmartonline.com
Invacare Hospital Bed Carroll CS5 Bed Invacare Solo Bed Parts Service parts for form no. If you have any questions regarding this catalog, please contact one of our customer service representatives. Part number description valid from → until qty 1. Solo bs2180/76 service parts replacement guide. Solo bd0880/76 service parts replacement guide bd0880/76 *parts are obsolete. *left and right is determined by standing at. 80” wireform wbbsolo80p (nla) rails. Parts. Invacare Solo Bed Parts.
From www.rehabmart.com
Head End Bed Extender Kit for Invacare Hospital Beds Invacare Solo Bed Parts *left and right is determined by standing at. Solo bs2180/76 service parts replacement guide. Service parts for form no. Parts shown are all that is currently available. Solo bd0880/76 service parts replacement guide bd0880/76 *parts are obsolete. This collection contains all beds, bed parts and bed accessories sold through shopify. Part number description valid from → until qty 1. 80”. Invacare Solo Bed Parts.
From www.hmemedicalshop.com
Motor Head Assembly Kit G Series Invacare Bed 1183691 Invacare Solo Bed Parts 80” wireform wbbsolo80p (nla) rails. Parts shown are all that is currently available. Solo bs2180/76 service parts replacement guide. Solo bd0880/76 service parts replacement guide bd0880/76 *parts are obsolete. Part number description valid from → until qty 1. If you have any questions regarding this catalog, please contact one of our customer service representatives. *left and right is determined by. Invacare Solo Bed Parts.
From www.invacare.com
Invacare Invacare Solo Bed Parts This collection contains all beds, bed parts and bed accessories sold through shopify. 80” wireform wbbsolo80p (nla) rails. If you have any questions regarding this catalog, please contact one of our customer service representatives. *left and right is determined by standing at. Solo bd0880/76 service parts replacement guide bd0880/76 *parts are obsolete. Service parts for form no. Parts shown are. Invacare Solo Bed Parts.
From hdsupplysolutions.com
New Solutions Replacement Junction Box With Membrane For Invacare Solo Invacare Solo Bed Parts Solo bs2180/76 service parts replacement guide. This collection contains all beds, bed parts and bed accessories sold through shopify. Parts shown are all that is currently available. If you have any questions regarding this catalog, please contact one of our customer service representatives. Part number description valid from → until qty 1. *left and right is determined by standing at.. Invacare Solo Bed Parts.
From www.pinterest.com
Invacare 1190228 Replacement 6 Function Hand Pendant for SOLO Bed Invacare Solo Bed Parts If you have any questions regarding this catalog, please contact one of our customer service representatives. Service parts for form no. This collection contains all beds, bed parts and bed accessories sold through shopify. *left and right is determined by standing at. Solo bd0880/76 service parts replacement guide bd0880/76 *parts are obsolete. 80” wireform wbbsolo80p (nla) rails. Part number description. Invacare Solo Bed Parts.
From hdsupplysolutions.com
Invacare Solo Electric Bed Motor HD Supply Invacare Solo Bed Parts Solo bs2180/76 service parts replacement guide. This collection contains all beds, bed parts and bed accessories sold through shopify. Solo bd0880/76 service parts replacement guide bd0880/76 *parts are obsolete. Parts shown are all that is currently available. Service parts for form no. Part number description valid from → until qty 1. *left and right is determined by standing at. If. Invacare Solo Bed Parts.
From www.invacare.com
Invacare Part Notes Invacare Solo Bed Parts Service parts for form no. Parts shown are all that is currently available. Solo bd0880/76 service parts replacement guide bd0880/76 *parts are obsolete. Solo bs2180/76 service parts replacement guide. *left and right is determined by standing at. If you have any questions regarding this catalog, please contact one of our customer service representatives. 80” wireform wbbsolo80p (nla) rails. Part number. Invacare Solo Bed Parts.
From www.vitalitymedical.com
Invacare GSeries Bed Replacement Parts and Accessories G53, G54, G29 Invacare Solo Bed Parts 80” wireform wbbsolo80p (nla) rails. Solo bd0880/76 service parts replacement guide bd0880/76 *parts are obsolete. This collection contains all beds, bed parts and bed accessories sold through shopify. Solo bs2180/76 service parts replacement guide. If you have any questions regarding this catalog, please contact one of our customer service representatives. Parts shown are all that is currently available. Service parts. Invacare Solo Bed Parts.
From www.vitalitymedical.com
Invacare 5000IVC Replacement Hospital Bed Headspring Vitality Medical Invacare Solo Bed Parts 80” wireform wbbsolo80p (nla) rails. Service parts for form no. *left and right is determined by standing at. Parts shown are all that is currently available. This collection contains all beds, bed parts and bed accessories sold through shopify. Part number description valid from → until qty 1. If you have any questions regarding this catalog, please contact one of. Invacare Solo Bed Parts.
From medmartonline.com
Invacare Carroll CS9 Adjustable Width Bed Invacare Solo Bed Parts Parts shown are all that is currently available. *left and right is determined by standing at. Solo bd0880/76 service parts replacement guide bd0880/76 *parts are obsolete. Solo bs2180/76 service parts replacement guide. This collection contains all beds, bed parts and bed accessories sold through shopify. If you have any questions regarding this catalog, please contact one of our customer service. Invacare Solo Bed Parts.
From www.hmemedicalshop.com
Motor and Pendant Package for VC5310 Single Motor Bed Invacare 1128125 Invacare Solo Bed Parts *left and right is determined by standing at. Parts shown are all that is currently available. Solo bd0880/76 service parts replacement guide bd0880/76 *parts are obsolete. Service parts for form no. 80” wireform wbbsolo80p (nla) rails. If you have any questions regarding this catalog, please contact one of our customer service representatives. Solo bs2180/76 service parts replacement guide. This collection. Invacare Solo Bed Parts.
From medmartonline.com
Invacare Hospital Bed Carroll CS7 HiLow Invacare Solo Bed Parts If you have any questions regarding this catalog, please contact one of our customer service representatives. 80” wireform wbbsolo80p (nla) rails. Solo bs2180/76 service parts replacement guide. Service parts for form no. Parts shown are all that is currently available. Solo bd0880/76 service parts replacement guide bd0880/76 *parts are obsolete. This collection contains all beds, bed parts and bed accessories. Invacare Solo Bed Parts.
From www.invacare.com
Invacare Part Notes Invacare Solo Bed Parts 80” wireform wbbsolo80p (nla) rails. Part number description valid from → until qty 1. Parts shown are all that is currently available. *left and right is determined by standing at. Service parts for form no. Solo bd0880/76 service parts replacement guide bd0880/76 *parts are obsolete. This collection contains all beds, bed parts and bed accessories sold through shopify. If you. Invacare Solo Bed Parts.
From hdsupplysolutions.com
Invacare Solo Bed Junction Box With Membrane Control HD Supply Invacare Solo Bed Parts Solo bs2180/76 service parts replacement guide. *left and right is determined by standing at. 80” wireform wbbsolo80p (nla) rails. Service parts for form no. Parts shown are all that is currently available. Solo bd0880/76 service parts replacement guide bd0880/76 *parts are obsolete. Part number description valid from → until qty 1. If you have any questions regarding this catalog, please. Invacare Solo Bed Parts.
From mavink.com
Invacare Hospital Bed Parts List Invacare Solo Bed Parts *left and right is determined by standing at. This collection contains all beds, bed parts and bed accessories sold through shopify. If you have any questions regarding this catalog, please contact one of our customer service representatives. Solo bs2180/76 service parts replacement guide. Solo bd0880/76 service parts replacement guide bd0880/76 *parts are obsolete. Part number description valid from → until. Invacare Solo Bed Parts.
From o2crs.com
4way Valve Rebuild Kit Invacare Concentrator Repair Services Invacare Solo Bed Parts *left and right is determined by standing at. Solo bs2180/76 service parts replacement guide. 80” wireform wbbsolo80p (nla) rails. Service parts for form no. This collection contains all beds, bed parts and bed accessories sold through shopify. If you have any questions regarding this catalog, please contact one of our customer service representatives. Solo bd0880/76 service parts replacement guide bd0880/76. Invacare Solo Bed Parts.
From www.invacare.com
Invacare Part Notes Invacare Solo Bed Parts Parts shown are all that is currently available. 80” wireform wbbsolo80p (nla) rails. Solo bd0880/76 service parts replacement guide bd0880/76 *parts are obsolete. This collection contains all beds, bed parts and bed accessories sold through shopify. If you have any questions regarding this catalog, please contact one of our customer service representatives. Solo bs2180/76 service parts replacement guide. Service parts. Invacare Solo Bed Parts.
From www.vitalitymedical.com
Invacare GSeries Bed Replacement Parts and Accessories G53, G54, G29 Invacare Solo Bed Parts If you have any questions regarding this catalog, please contact one of our customer service representatives. 80” wireform wbbsolo80p (nla) rails. Service parts for form no. Solo bd0880/76 service parts replacement guide bd0880/76 *parts are obsolete. *left and right is determined by standing at. This collection contains all beds, bed parts and bed accessories sold through shopify. Parts shown are. Invacare Solo Bed Parts.
From www.lospolaroid.com
Invacare Hospital Bed Parts Invacare Solo Bed Parts *left and right is determined by standing at. This collection contains all beds, bed parts and bed accessories sold through shopify. 80” wireform wbbsolo80p (nla) rails. Parts shown are all that is currently available. If you have any questions regarding this catalog, please contact one of our customer service representatives. Solo bs2180/76 service parts replacement guide. Solo bd0880/76 service parts. Invacare Solo Bed Parts.
From www.vitalitymedical.com
Invacare SemiElectric Hospital Bed Bundle 5310IVC Adjustable Invacare Solo Bed Parts *left and right is determined by standing at. Part number description valid from → until qty 1. 80” wireform wbbsolo80p (nla) rails. Parts shown are all that is currently available. Solo bs2180/76 service parts replacement guide. This collection contains all beds, bed parts and bed accessories sold through shopify. If you have any questions regarding this catalog, please contact one. Invacare Solo Bed Parts.
From mavink.com
Invacare Hospital Bed Parts List Invacare Solo Bed Parts Service parts for form no. Solo bd0880/76 service parts replacement guide bd0880/76 *parts are obsolete. Solo bs2180/76 service parts replacement guide. *left and right is determined by standing at. If you have any questions regarding this catalog, please contact one of our customer service representatives. This collection contains all beds, bed parts and bed accessories sold through shopify. Part number. Invacare Solo Bed Parts.
From www.rehabmart.com
Replacement Parts and Accessories for Invacare GSeries Beds with Bed Rails Invacare Solo Bed Parts 80” wireform wbbsolo80p (nla) rails. Solo bs2180/76 service parts replacement guide. This collection contains all beds, bed parts and bed accessories sold through shopify. Service parts for form no. Parts shown are all that is currently available. Solo bd0880/76 service parts replacement guide bd0880/76 *parts are obsolete. If you have any questions regarding this catalog, please contact one of our. Invacare Solo Bed Parts.
From www.youtube.com
invacare electric bed(how to operate the different function parts Invacare Solo Bed Parts Parts shown are all that is currently available. Solo bs2180/76 service parts replacement guide. *left and right is determined by standing at. Service parts for form no. Part number description valid from → until qty 1. Solo bd0880/76 service parts replacement guide bd0880/76 *parts are obsolete. If you have any questions regarding this catalog, please contact one of our customer. Invacare Solo Bed Parts.
From www.nhmaintenance.com
Invacare Solo/Etude Bed 4 Section Handset NH Maintenance Ltd Invacare Solo Bed Parts If you have any questions regarding this catalog, please contact one of our customer service representatives. 80” wireform wbbsolo80p (nla) rails. Solo bd0880/76 service parts replacement guide bd0880/76 *parts are obsolete. Solo bs2180/76 service parts replacement guide. Parts shown are all that is currently available. Part number description valid from → until qty 1. Service parts for form no. This. Invacare Solo Bed Parts.
From remedservices.com
Invacare Hand Pendant for Arro 111/Solo/Echo Bed (PNDNT6FNCIV3) Invacare Solo Bed Parts 80” wireform wbbsolo80p (nla) rails. Part number description valid from → until qty 1. *left and right is determined by standing at. Solo bs2180/76 service parts replacement guide. If you have any questions regarding this catalog, please contact one of our customer service representatives. Parts shown are all that is currently available. Service parts for form no. This collection contains. Invacare Solo Bed Parts.
From www.invacare.com
Invacare Part Notes Invacare Solo Bed Parts *left and right is determined by standing at. Solo bd0880/76 service parts replacement guide bd0880/76 *parts are obsolete. If you have any questions regarding this catalog, please contact one of our customer service representatives. Parts shown are all that is currently available. Service parts for form no. This collection contains all beds, bed parts and bed accessories sold through shopify.. Invacare Solo Bed Parts.
From www.invacare.com
Invacare Part Notes Invacare Solo Bed Parts Part number description valid from → until qty 1. This collection contains all beds, bed parts and bed accessories sold through shopify. Parts shown are all that is currently available. *left and right is determined by standing at. Solo bd0880/76 service parts replacement guide bd0880/76 *parts are obsolete. If you have any questions regarding this catalog, please contact one of. Invacare Solo Bed Parts.
From www.amicamedicalsupply.com
Invacare Reliant RPL450 Parts Invacare Solo Bed Parts *left and right is determined by standing at. Solo bs2180/76 service parts replacement guide. Service parts for form no. If you have any questions regarding this catalog, please contact one of our customer service representatives. This collection contains all beds, bed parts and bed accessories sold through shopify. 80” wireform wbbsolo80p (nla) rails. Part number description valid from → until. Invacare Solo Bed Parts.
From newleafhomemedical.com
Replacement Casters for Invacare 5301 IVC FullElectric Bed Invacare Solo Bed Parts Parts shown are all that is currently available. Solo bd0880/76 service parts replacement guide bd0880/76 *parts are obsolete. 80” wireform wbbsolo80p (nla) rails. If you have any questions regarding this catalog, please contact one of our customer service representatives. Part number description valid from → until qty 1. This collection contains all beds, bed parts and bed accessories sold through. Invacare Solo Bed Parts.
From www.sfimedical.com
Hospital Bed Parts Page 3 of 3 SFI Medical Equipment Solutions Invacare Solo Bed Parts Solo bd0880/76 service parts replacement guide bd0880/76 *parts are obsolete. Solo bs2180/76 service parts replacement guide. If you have any questions regarding this catalog, please contact one of our customer service representatives. Service parts for form no. Parts shown are all that is currently available. This collection contains all beds, bed parts and bed accessories sold through shopify. *left and. Invacare Solo Bed Parts.
From mavink.com
Invacare Hospital Bed Parts List Invacare Solo Bed Parts Part number description valid from → until qty 1. Parts shown are all that is currently available. Solo bs2180/76 service parts replacement guide. If you have any questions regarding this catalog, please contact one of our customer service representatives. Service parts for form no. This collection contains all beds, bed parts and bed accessories sold through shopify. Solo bd0880/76 service. Invacare Solo Bed Parts.
From www.lospolaroid.com
Invacare Hospital Bed Parts Invacare Solo Bed Parts Parts shown are all that is currently available. *left and right is determined by standing at. Solo bd0880/76 service parts replacement guide bd0880/76 *parts are obsolete. This collection contains all beds, bed parts and bed accessories sold through shopify. Solo bs2180/76 service parts replacement guide. Service parts for form no. Part number description valid from → until qty 1. If. Invacare Solo Bed Parts.
From www.hmemedicalshop.com
Invacare G Series Bed Hand Control Pendant 1182430 Invacare Solo Bed Parts This collection contains all beds, bed parts and bed accessories sold through shopify. Part number description valid from → until qty 1. 80” wireform wbbsolo80p (nla) rails. If you have any questions regarding this catalog, please contact one of our customer service representatives. Service parts for form no. Solo bs2180/76 service parts replacement guide. Parts shown are all that is. Invacare Solo Bed Parts.