Lock Parts Center . what are the parts of a door lock and handle called? Harrison is one of india's oldest locks manufacturers. Harrison has been known for providing the best lock & hardware. knowing the parts of your door lock will help you decide on the type of lock you need, how to better your door security, and how to repair your. Steps on how to install a door lock. What are common types of door locks? when it comes to understanding door lock parts, it’s important to familiarize yourself with the anatomy of a door lock. discover the names and diagram of various door lock parts to help you understand how your lock works and troubleshoot any.
from blog.denleigh.co.uk
Steps on how to install a door lock. what are the parts of a door lock and handle called? when it comes to understanding door lock parts, it’s important to familiarize yourself with the anatomy of a door lock. knowing the parts of your door lock will help you decide on the type of lock you need, how to better your door security, and how to repair your. Harrison has been known for providing the best lock & hardware. discover the names and diagram of various door lock parts to help you understand how your lock works and troubleshoot any. Harrison is one of india's oldest locks manufacturers. What are common types of door locks?
Specification advice locks and latches
Lock Parts Center What are common types of door locks? What are common types of door locks? discover the names and diagram of various door lock parts to help you understand how your lock works and troubleshoot any. what are the parts of a door lock and handle called? when it comes to understanding door lock parts, it’s important to familiarize yourself with the anatomy of a door lock. Steps on how to install a door lock. Harrison is one of india's oldest locks manufacturers. knowing the parts of your door lock will help you decide on the type of lock you need, how to better your door security, and how to repair your. Harrison has been known for providing the best lock & hardware.
From www.amazon.com
JOUNJIP Steel Gate Box + Latch Lock Bundle Securely Lock Parts Center What are common types of door locks? knowing the parts of your door lock will help you decide on the type of lock you need, how to better your door security, and how to repair your. Harrison is one of india's oldest locks manufacturers. what are the parts of a door lock and handle called? when it. Lock Parts Center.
From www.techadvisor.com
Level Lock+ Review The Closest Thing To A Perfect Smart Lock Tech Lock Parts Center What are common types of door locks? Steps on how to install a door lock. Harrison has been known for providing the best lock & hardware. what are the parts of a door lock and handle called? discover the names and diagram of various door lock parts to help you understand how your lock works and troubleshoot any.. Lock Parts Center.
From www.auctionzip.com
Lot 1 Schlage Deadbolt Lock Parts with 2 Working Keys Locksmith Lock Parts Center when it comes to understanding door lock parts, it’s important to familiarize yourself with the anatomy of a door lock. Steps on how to install a door lock. Harrison has been known for providing the best lock & hardware. discover the names and diagram of various door lock parts to help you understand how your lock works and. Lock Parts Center.
From www.gvlock.com
Understanding Lock Types for Your Building Great Valley Lock Parts Center what are the parts of a door lock and handle called? knowing the parts of your door lock will help you decide on the type of lock you need, how to better your door security, and how to repair your. when it comes to understanding door lock parts, it’s important to familiarize yourself with the anatomy of. Lock Parts Center.
From revolar.com
Different Parts of a Door Lock and When to Replace Them Lock Parts Center discover the names and diagram of various door lock parts to help you understand how your lock works and troubleshoot any. Steps on how to install a door lock. knowing the parts of your door lock will help you decide on the type of lock you need, how to better your door security, and how to repair your.. Lock Parts Center.
From www.homenish.com
Parts of a Door Lock (2 Diagrams For Cylinder Lock & Padlock) Homenish Lock Parts Center What are common types of door locks? Steps on how to install a door lock. Harrison has been known for providing the best lock & hardware. discover the names and diagram of various door lock parts to help you understand how your lock works and troubleshoot any. knowing the parts of your door lock will help you decide. Lock Parts Center.
From www.rvpartscenter.com
TriMark Model 0300900 RV Entry Door Lock Trimark Interior Handle, Off Lock Parts Center Harrison has been known for providing the best lock & hardware. knowing the parts of your door lock will help you decide on the type of lock you need, how to better your door security, and how to repair your. what are the parts of a door lock and handle called? What are common types of door locks?. Lock Parts Center.
From classic.gunauction.com
Thompson Center Hawken Flintlock Rifle Lock Parts Picture 2 Lock Parts Center knowing the parts of your door lock will help you decide on the type of lock you need, how to better your door security, and how to repair your. when it comes to understanding door lock parts, it’s important to familiarize yourself with the anatomy of a door lock. Harrison is one of india's oldest locks manufacturers. Harrison. Lock Parts Center.
From circuittawnilynne2461.z14.web.core.windows.net
Parts Of A Door Lock Set Lock Parts Center Steps on how to install a door lock. Harrison is one of india's oldest locks manufacturers. discover the names and diagram of various door lock parts to help you understand how your lock works and troubleshoot any. Harrison has been known for providing the best lock & hardware. what are the parts of a door lock and handle. Lock Parts Center.
From blog.denleigh.co.uk
Specification advice locks and latches Lock Parts Center discover the names and diagram of various door lock parts to help you understand how your lock works and troubleshoot any. What are common types of door locks? knowing the parts of your door lock will help you decide on the type of lock you need, how to better your door security, and how to repair your. Steps. Lock Parts Center.
From device.report
tuya Keyless Entry Door Lock Installation Guide Lock Parts Center Harrison has been known for providing the best lock & hardware. when it comes to understanding door lock parts, it’s important to familiarize yourself with the anatomy of a door lock. Harrison is one of india's oldest locks manufacturers. knowing the parts of your door lock will help you decide on the type of lock you need, how. Lock Parts Center.
From www.homenish.com
Parts of a Door Lock (2 Diagrams For Cylinder Lock & Padlock) Homenish Lock Parts Center Harrison has been known for providing the best lock & hardware. What are common types of door locks? when it comes to understanding door lock parts, it’s important to familiarize yourself with the anatomy of a door lock. discover the names and diagram of various door lock parts to help you understand how your lock works and troubleshoot. Lock Parts Center.
From mavink.com
Components Of A Lock Lock Parts Center What are common types of door locks? Harrison has been known for providing the best lock & hardware. when it comes to understanding door lock parts, it’s important to familiarize yourself with the anatomy of a door lock. what are the parts of a door lock and handle called? knowing the parts of your door lock will. Lock Parts Center.
From guidelibrarymarco.z13.web.core.windows.net
Car Center Lock Wiring Diagram Lock Parts Center What are common types of door locks? Steps on how to install a door lock. knowing the parts of your door lock will help you decide on the type of lock you need, how to better your door security, and how to repair your. Harrison has been known for providing the best lock & hardware. Harrison is one of. Lock Parts Center.
From www.homenish.com
Parts of a Door Lock (2 Diagrams For Cylinder Lock & Padlock) Homenish Lock Parts Center when it comes to understanding door lock parts, it’s important to familiarize yourself with the anatomy of a door lock. discover the names and diagram of various door lock parts to help you understand how your lock works and troubleshoot any. Harrison is one of india's oldest locks manufacturers. What are common types of door locks? what. Lock Parts Center.
From slidingmotion.com
Complete guide on 12 key Door Knob/lock PartsNames & Diagram Lock Parts Center discover the names and diagram of various door lock parts to help you understand how your lock works and troubleshoot any. What are common types of door locks? when it comes to understanding door lock parts, it’s important to familiarize yourself with the anatomy of a door lock. Steps on how to install a door lock. Harrison has. Lock Parts Center.
From www.garagedoorpartsuk.co.uk
Henderson THandle External & Internal Lock Set by UK Garage Door Parts Lock Parts Center when it comes to understanding door lock parts, it’s important to familiarize yourself with the anatomy of a door lock. Harrison has been known for providing the best lock & hardware. knowing the parts of your door lock will help you decide on the type of lock you need, how to better your door security, and how to. Lock Parts Center.
From www.seclock.com
ETSIC US26D Alarm Lock Integrated Lock Parts SECLOCK Lock Parts Center when it comes to understanding door lock parts, it’s important to familiarize yourself with the anatomy of a door lock. what are the parts of a door lock and handle called? discover the names and diagram of various door lock parts to help you understand how your lock works and troubleshoot any. Harrison is one of india's. Lock Parts Center.
From pickeroflocks.com
Padlock Anatomy Lock Parts Center Harrison is one of india's oldest locks manufacturers. discover the names and diagram of various door lock parts to help you understand how your lock works and troubleshoot any. what are the parts of a door lock and handle called? knowing the parts of your door lock will help you decide on the type of lock you. Lock Parts Center.
From www.srnlock.com
Lock Manufacturing Process The Definitive Guide Lock Parts Center when it comes to understanding door lock parts, it’s important to familiarize yourself with the anatomy of a door lock. Harrison is one of india's oldest locks manufacturers. discover the names and diagram of various door lock parts to help you understand how your lock works and troubleshoot any. what are the parts of a door lock. Lock Parts Center.
From www.aliexpress.com
HOT 1Piece European Mortise Locks Lock body Anti theft lock cylinder Lock Parts Center What are common types of door locks? discover the names and diagram of various door lock parts to help you understand how your lock works and troubleshoot any. when it comes to understanding door lock parts, it’s important to familiarize yourself with the anatomy of a door lock. Harrison has been known for providing the best lock &. Lock Parts Center.
From amlock.com.au
Rekeying Locks vs Replacing Locks? Which option do you go for? Lock Parts Center when it comes to understanding door lock parts, it’s important to familiarize yourself with the anatomy of a door lock. What are common types of door locks? what are the parts of a door lock and handle called? discover the names and diagram of various door lock parts to help you understand how your lock works and. Lock Parts Center.
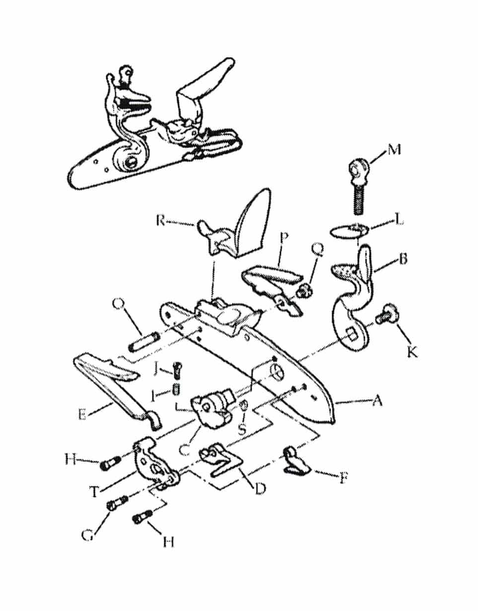
From thegunworks.com
Pistol Lock & Lock Parts The Gun Works Muzzleloading Emporium Lock Parts Center Harrison has been known for providing the best lock & hardware. Harrison is one of india's oldest locks manufacturers. Steps on how to install a door lock. what are the parts of a door lock and handle called? knowing the parts of your door lock will help you decide on the type of lock you need, how to. Lock Parts Center.
From www.lsc.com.au
Combination Lock Parts LSC Complete Security Solutions LSC Lock Parts Center Harrison is one of india's oldest locks manufacturers. What are common types of door locks? what are the parts of a door lock and handle called? Steps on how to install a door lock. knowing the parts of your door lock will help you decide on the type of lock you need, how to better your door security,. Lock Parts Center.
From www.homedepot.com
IDEAL Security Garage Door LockSK7160 The Home Depot Lock Parts Center knowing the parts of your door lock will help you decide on the type of lock you need, how to better your door security, and how to repair your. discover the names and diagram of various door lock parts to help you understand how your lock works and troubleshoot any. what are the parts of a door. Lock Parts Center.
From revrvparts.com
COMPLETE LOCK ASSEMBLY REV Parts Store Lock Parts Center What are common types of door locks? when it comes to understanding door lock parts, it’s important to familiarize yourself with the anatomy of a door lock. what are the parts of a door lock and handle called? Harrison is one of india's oldest locks manufacturers. Steps on how to install a door lock. knowing the parts. Lock Parts Center.
From www.seclock.com
RRTrilogyKit Alarm Lock Integrated Lock Parts SECLOCK Lock Parts Center Steps on how to install a door lock. Harrison is one of india's oldest locks manufacturers. discover the names and diagram of various door lock parts to help you understand how your lock works and troubleshoot any. What are common types of door locks? Harrison has been known for providing the best lock & hardware. knowing the parts. Lock Parts Center.
From www.seclock.com
408920119 Adams Rite Aluminum Door Lock Parts and Accessories SECLOCK Lock Parts Center What are common types of door locks? knowing the parts of your door lock will help you decide on the type of lock you need, how to better your door security, and how to repair your. Steps on how to install a door lock. what are the parts of a door lock and handle called? when it. Lock Parts Center.
From blog.denleigh.co.uk
Best door locks and latches for residential buildings Lock Parts Center What are common types of door locks? Harrison has been known for providing the best lock & hardware. Harrison is one of india's oldest locks manufacturers. when it comes to understanding door lock parts, it’s important to familiarize yourself with the anatomy of a door lock. discover the names and diagram of various door lock parts to help. Lock Parts Center.
From www.aliexpress.com
Single bolt lock cylinder door locks single tongue lock parts Lock Parts Center what are the parts of a door lock and handle called? knowing the parts of your door lock will help you decide on the type of lock you need, how to better your door security, and how to repair your. discover the names and diagram of various door lock parts to help you understand how your lock. Lock Parts Center.
From www.aliexpress.com
HOT 10Pieces European Mortise Locks Lock body Anti theft Lock Cylinder Lock Parts Center discover the names and diagram of various door lock parts to help you understand how your lock works and troubleshoot any. when it comes to understanding door lock parts, it’s important to familiarize yourself with the anatomy of a door lock. What are common types of door locks? what are the parts of a door lock and. Lock Parts Center.
From www.gvlock.com
Understanding The Parts Of A Door Lock Lock Parts Center knowing the parts of your door lock will help you decide on the type of lock you need, how to better your door security, and how to repair your. discover the names and diagram of various door lock parts to help you understand how your lock works and troubleshoot any. Harrison is one of india's oldest locks manufacturers.. Lock Parts Center.
From engineeringdiscoveries.com
Types Of Locksets Engineering Discoveries Lock Parts Center What are common types of door locks? knowing the parts of your door lock will help you decide on the type of lock you need, how to better your door security, and how to repair your. discover the names and diagram of various door lock parts to help you understand how your lock works and troubleshoot any. . Lock Parts Center.
From www.reliablelocksmithmn.com
Three Point Lock Services Reliable Locksmith Lock Parts Center Harrison is one of india's oldest locks manufacturers. Harrison has been known for providing the best lock & hardware. what are the parts of a door lock and handle called? discover the names and diagram of various door lock parts to help you understand how your lock works and troubleshoot any. when it comes to understanding door. Lock Parts Center.
From autoctrls.com
The Ultimate Guide to Understanding Door Lock Parts Names and Diagram Lock Parts Center discover the names and diagram of various door lock parts to help you understand how your lock works and troubleshoot any. Harrison has been known for providing the best lock & hardware. knowing the parts of your door lock will help you decide on the type of lock you need, how to better your door security, and how. Lock Parts Center.