Jlg Hydraulic Hose Diagram . Place a suitable catch basin beneath the machine to capture fluid. When removing hydraulic components, plug hose ends and connections to prevent excess leakage and contamination. It should be noted that the machines hydraulic systems operate at extremely high potentially dangerous pressures. Easily find any jlg parts, operation, service and supplemental manuals, plus schematics and forms, with jlg technical publications from.
from reviewmotors.co
Easily find any jlg parts, operation, service and supplemental manuals, plus schematics and forms, with jlg technical publications from. Place a suitable catch basin beneath the machine to capture fluid. It should be noted that the machines hydraulic systems operate at extremely high potentially dangerous pressures. When removing hydraulic components, plug hose ends and connections to prevent excess leakage and contamination.
Jlg Scissor Lift Parts Diagram Reviewmotors.co
Jlg Hydraulic Hose Diagram When removing hydraulic components, plug hose ends and connections to prevent excess leakage and contamination. When removing hydraulic components, plug hose ends and connections to prevent excess leakage and contamination. It should be noted that the machines hydraulic systems operate at extremely high potentially dangerous pressures. Place a suitable catch basin beneath the machine to capture fluid. Easily find any jlg parts, operation, service and supplemental manuals, plus schematics and forms, with jlg technical publications from.
From issuu.com
JLG 30E 35E N35E 40E N40E 45E Parts Manual (3120744) En by heydownloads Issuu Jlg Hydraulic Hose Diagram When removing hydraulic components, plug hose ends and connections to prevent excess leakage and contamination. Easily find any jlg parts, operation, service and supplemental manuals, plus schematics and forms, with jlg technical publications from. It should be noted that the machines hydraulic systems operate at extremely high potentially dangerous pressures. Place a suitable catch basin beneath the machine to capture. Jlg Hydraulic Hose Diagram.
From www.eng-tips.com
How to relieve hydraulic pressure? Fluid Power engineering EngTips Jlg Hydraulic Hose Diagram Easily find any jlg parts, operation, service and supplemental manuals, plus schematics and forms, with jlg technical publications from. When removing hydraulic components, plug hose ends and connections to prevent excess leakage and contamination. Place a suitable catch basin beneath the machine to capture fluid. It should be noted that the machines hydraulic systems operate at extremely high potentially dangerous. Jlg Hydraulic Hose Diagram.
From www.gcironparts.com
Construction Equipment Parts JLG Parts from Jlg Hydraulic Hose Diagram Easily find any jlg parts, operation, service and supplemental manuals, plus schematics and forms, with jlg technical publications from. When removing hydraulic components, plug hose ends and connections to prevent excess leakage and contamination. Place a suitable catch basin beneath the machine to capture fluid. It should be noted that the machines hydraulic systems operate at extremely high potentially dangerous. Jlg Hydraulic Hose Diagram.
From www.eng-tips.com
How to relieve hydraulic pressure? Fluid Power engineering EngTips Jlg Hydraulic Hose Diagram When removing hydraulic components, plug hose ends and connections to prevent excess leakage and contamination. Place a suitable catch basin beneath the machine to capture fluid. It should be noted that the machines hydraulic systems operate at extremely high potentially dangerous pressures. Easily find any jlg parts, operation, service and supplemental manuals, plus schematics and forms, with jlg technical publications. Jlg Hydraulic Hose Diagram.
From schematicdbmoench.z13.web.core.windows.net
Jlg 450aj Hydraulic Schematics Jlg Hydraulic Hose Diagram When removing hydraulic components, plug hose ends and connections to prevent excess leakage and contamination. Place a suitable catch basin beneath the machine to capture fluid. Easily find any jlg parts, operation, service and supplemental manuals, plus schematics and forms, with jlg technical publications from. It should be noted that the machines hydraulic systems operate at extremely high potentially dangerous. Jlg Hydraulic Hose Diagram.
From autoepcservice.com
JLG Elevated Work Pflatform Electrical & Hydraulic Schematic Manual 2020 [07.2019] CD Jlg Hydraulic Hose Diagram Easily find any jlg parts, operation, service and supplemental manuals, plus schematics and forms, with jlg technical publications from. Place a suitable catch basin beneath the machine to capture fluid. It should be noted that the machines hydraulic systems operate at extremely high potentially dangerous pressures. When removing hydraulic components, plug hose ends and connections to prevent excess leakage and. Jlg Hydraulic Hose Diagram.
From www.justanswer.com
I have a jlg model 33rts and it does not go in forward gear. I replaced one of the hoses Jlg Hydraulic Hose Diagram Easily find any jlg parts, operation, service and supplemental manuals, plus schematics and forms, with jlg technical publications from. Place a suitable catch basin beneath the machine to capture fluid. When removing hydraulic components, plug hose ends and connections to prevent excess leakage and contamination. It should be noted that the machines hydraulic systems operate at extremely high potentially dangerous. Jlg Hydraulic Hose Diagram.
From www.gcironparts.com
Construction Equipment Parts JLG Parts from Jlg Hydraulic Hose Diagram Easily find any jlg parts, operation, service and supplemental manuals, plus schematics and forms, with jlg technical publications from. When removing hydraulic components, plug hose ends and connections to prevent excess leakage and contamination. Place a suitable catch basin beneath the machine to capture fluid. It should be noted that the machines hydraulic systems operate at extremely high potentially dangerous. Jlg Hydraulic Hose Diagram.
From kingdaflex.com
10 Easy Rules To Do Hydraulic Hose Routing Jlg Hydraulic Hose Diagram Easily find any jlg parts, operation, service and supplemental manuals, plus schematics and forms, with jlg technical publications from. Place a suitable catch basin beneath the machine to capture fluid. When removing hydraulic components, plug hose ends and connections to prevent excess leakage and contamination. It should be noted that the machines hydraulic systems operate at extremely high potentially dangerous. Jlg Hydraulic Hose Diagram.
From www.autorepairmanuals.ws
JLG Lift E M400A AJPnarrow E M450A AJ Illustrated Parts Manual Auto Repair Manual Forum Jlg Hydraulic Hose Diagram When removing hydraulic components, plug hose ends and connections to prevent excess leakage and contamination. Place a suitable catch basin beneath the machine to capture fluid. It should be noted that the machines hydraulic systems operate at extremely high potentially dangerous pressures. Easily find any jlg parts, operation, service and supplemental manuals, plus schematics and forms, with jlg technical publications. Jlg Hydraulic Hose Diagram.
From www.jlg.com
What You Need to Know About JLG® MEWPs Training JLG Jlg Hydraulic Hose Diagram Easily find any jlg parts, operation, service and supplemental manuals, plus schematics and forms, with jlg technical publications from. It should be noted that the machines hydraulic systems operate at extremely high potentially dangerous pressures. Place a suitable catch basin beneath the machine to capture fluid. When removing hydraulic components, plug hose ends and connections to prevent excess leakage and. Jlg Hydraulic Hose Diagram.
From www.gcironparts.com
Construction Equipment Parts JLG Parts from Jlg Hydraulic Hose Diagram When removing hydraulic components, plug hose ends and connections to prevent excess leakage and contamination. Place a suitable catch basin beneath the machine to capture fluid. Easily find any jlg parts, operation, service and supplemental manuals, plus schematics and forms, with jlg technical publications from. It should be noted that the machines hydraulic systems operate at extremely high potentially dangerous. Jlg Hydraulic Hose Diagram.
From yourmanual-here.blogspot.com
Jlg Skytrak 8042 Parts Manual 95+ Pages Manual Updated 2021 Read Manual 2021 Database Jlg Hydraulic Hose Diagram Place a suitable catch basin beneath the machine to capture fluid. It should be noted that the machines hydraulic systems operate at extremely high potentially dangerous pressures. When removing hydraulic components, plug hose ends and connections to prevent excess leakage and contamination. Easily find any jlg parts, operation, service and supplemental manuals, plus schematics and forms, with jlg technical publications. Jlg Hydraulic Hose Diagram.
From issuu.com
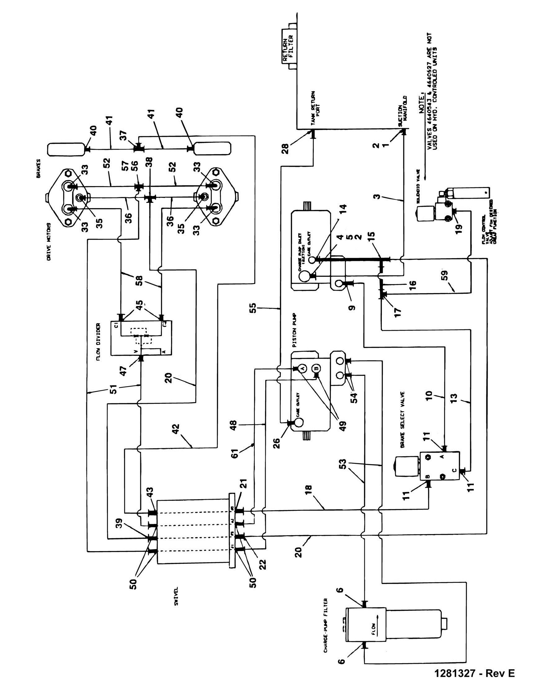
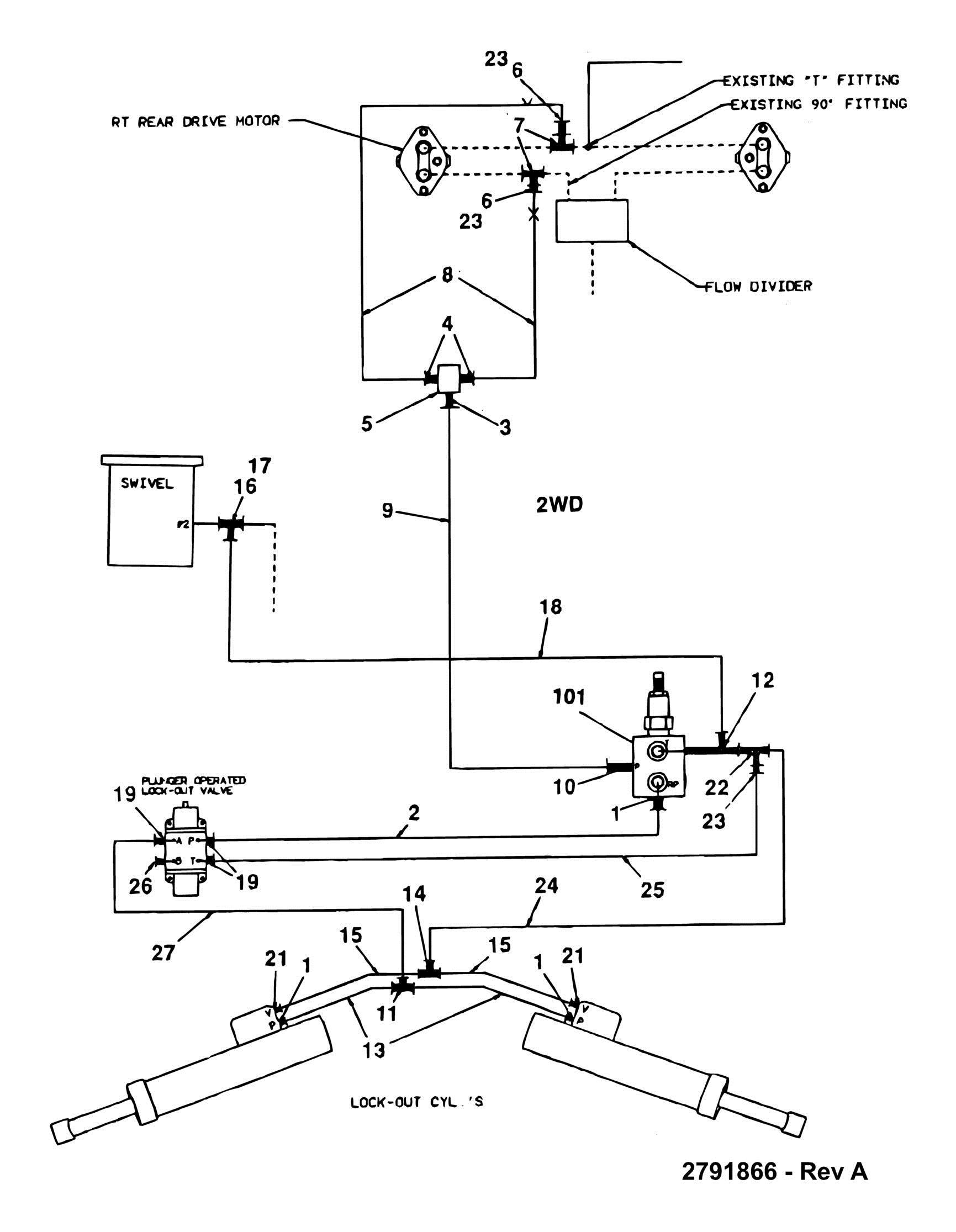
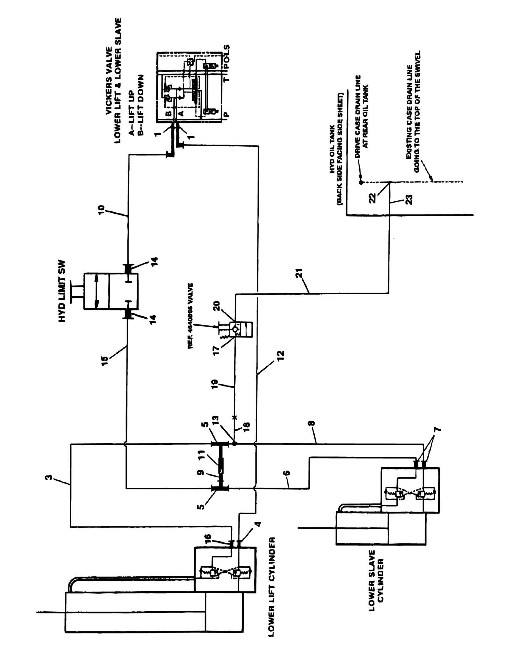
FIGURE 6 3. DRIVE HYDRAULIC DIAGRAM (4WD WITH SWIVEL Issuu Jlg Hydraulic Hose Diagram Easily find any jlg parts, operation, service and supplemental manuals, plus schematics and forms, with jlg technical publications from. When removing hydraulic components, plug hose ends and connections to prevent excess leakage and contamination. Place a suitable catch basin beneath the machine to capture fluid. It should be noted that the machines hydraulic systems operate at extremely high potentially dangerous. Jlg Hydraulic Hose Diagram.
From www.jlg.com
What You Need to Know About JLG® MEWPs Training JLG Jlg Hydraulic Hose Diagram It should be noted that the machines hydraulic systems operate at extremely high potentially dangerous pressures. When removing hydraulic components, plug hose ends and connections to prevent excess leakage and contamination. Easily find any jlg parts, operation, service and supplemental manuals, plus schematics and forms, with jlg technical publications from. Place a suitable catch basin beneath the machine to capture. Jlg Hydraulic Hose Diagram.
From www.autorepairmanuals.ws
JLG Boom Lift 340AJ Operation, Service & Parts Manuals Auto Repair Manual Forum Heavy Jlg Hydraulic Hose Diagram Place a suitable catch basin beneath the machine to capture fluid. It should be noted that the machines hydraulic systems operate at extremely high potentially dangerous pressures. Easily find any jlg parts, operation, service and supplemental manuals, plus schematics and forms, with jlg technical publications from. When removing hydraulic components, plug hose ends and connections to prevent excess leakage and. Jlg Hydraulic Hose Diagram.
From www.jlg.com
T500J Towable Boom Lift JLG Jlg Hydraulic Hose Diagram It should be noted that the machines hydraulic systems operate at extremely high potentially dangerous pressures. When removing hydraulic components, plug hose ends and connections to prevent excess leakage and contamination. Place a suitable catch basin beneath the machine to capture fluid. Easily find any jlg parts, operation, service and supplemental manuals, plus schematics and forms, with jlg technical publications. Jlg Hydraulic Hose Diagram.
From www.forkliftpartsworld.com
NEW JLG HYDRAULIC HOSE ASSEMBLY 2753368 Jlg Hydraulic Hose Diagram Place a suitable catch basin beneath the machine to capture fluid. Easily find any jlg parts, operation, service and supplemental manuals, plus schematics and forms, with jlg technical publications from. It should be noted that the machines hydraulic systems operate at extremely high potentially dangerous pressures. When removing hydraulic components, plug hose ends and connections to prevent excess leakage and. Jlg Hydraulic Hose Diagram.
From www.jlg.com
What You Need to Know About JLG® and SkyTrak® Telehandlers JLG Jlg Hydraulic Hose Diagram Place a suitable catch basin beneath the machine to capture fluid. It should be noted that the machines hydraulic systems operate at extremely high potentially dangerous pressures. When removing hydraulic components, plug hose ends and connections to prevent excess leakage and contamination. Easily find any jlg parts, operation, service and supplemental manuals, plus schematics and forms, with jlg technical publications. Jlg Hydraulic Hose Diagram.
From www.sexiezpix.com
Jlg Aj Wiring Diagram K Wallpapers Review sexiezpix Porn Jlg Hydraulic Hose Diagram Easily find any jlg parts, operation, service and supplemental manuals, plus schematics and forms, with jlg technical publications from. When removing hydraulic components, plug hose ends and connections to prevent excess leakage and contamination. It should be noted that the machines hydraulic systems operate at extremely high potentially dangerous pressures. Place a suitable catch basin beneath the machine to capture. Jlg Hydraulic Hose Diagram.
From erepairinfo.com
JLG Skytrak 6036 6042 8042 10042 10054 Service Manual Telehandler 31211015 SN 0160069719 To Jlg Hydraulic Hose Diagram It should be noted that the machines hydraulic systems operate at extremely high potentially dangerous pressures. Easily find any jlg parts, operation, service and supplemental manuals, plus schematics and forms, with jlg technical publications from. Place a suitable catch basin beneath the machine to capture fluid. When removing hydraulic components, plug hose ends and connections to prevent excess leakage and. Jlg Hydraulic Hose Diagram.
From erepairinfo.com
JLG 45HA Illustrated Parts Manual Boom Lift eRepairInfo Jlg Hydraulic Hose Diagram When removing hydraulic components, plug hose ends and connections to prevent excess leakage and contamination. It should be noted that the machines hydraulic systems operate at extremely high potentially dangerous pressures. Place a suitable catch basin beneath the machine to capture fluid. Easily find any jlg parts, operation, service and supplemental manuals, plus schematics and forms, with jlg technical publications. Jlg Hydraulic Hose Diagram.
From issuu.com
JLG 40HA Parts Manual (3120673) PDF Download En by heydownloads Issuu Jlg Hydraulic Hose Diagram It should be noted that the machines hydraulic systems operate at extremely high potentially dangerous pressures. Place a suitable catch basin beneath the machine to capture fluid. When removing hydraulic components, plug hose ends and connections to prevent excess leakage and contamination. Easily find any jlg parts, operation, service and supplemental manuals, plus schematics and forms, with jlg technical publications. Jlg Hydraulic Hose Diagram.
From issuu.com
JLG 40HA Parts Manual (3120673) PDF Download En by heydownloads Issuu Jlg Hydraulic Hose Diagram When removing hydraulic components, plug hose ends and connections to prevent excess leakage and contamination. It should be noted that the machines hydraulic systems operate at extremely high potentially dangerous pressures. Place a suitable catch basin beneath the machine to capture fluid. Easily find any jlg parts, operation, service and supplemental manuals, plus schematics and forms, with jlg technical publications. Jlg Hydraulic Hose Diagram.
From www.forkliftpartsworld.com
NEW JLG HYDRAULIC HOSE ASSEMBLY 2713452 Jlg Hydraulic Hose Diagram When removing hydraulic components, plug hose ends and connections to prevent excess leakage and contamination. It should be noted that the machines hydraulic systems operate at extremely high potentially dangerous pressures. Place a suitable catch basin beneath the machine to capture fluid. Easily find any jlg parts, operation, service and supplemental manuals, plus schematics and forms, with jlg technical publications. Jlg Hydraulic Hose Diagram.
From www.heydownloads.com
JLG 1532E 1932E 2033E 2046E 2646E 2658E ANSI Parts Manual PDF DOWNLOAD HeyDownloads Manual Jlg Hydraulic Hose Diagram It should be noted that the machines hydraulic systems operate at extremely high potentially dangerous pressures. When removing hydraulic components, plug hose ends and connections to prevent excess leakage and contamination. Easily find any jlg parts, operation, service and supplemental manuals, plus schematics and forms, with jlg technical publications from. Place a suitable catch basin beneath the machine to capture. Jlg Hydraulic Hose Diagram.
From erepairinfo.com
JLG Skytrak Legacy 8042 10042 10054 Service Manual Telehandler eRepairInfo Jlg Hydraulic Hose Diagram Easily find any jlg parts, operation, service and supplemental manuals, plus schematics and forms, with jlg technical publications from. When removing hydraulic components, plug hose ends and connections to prevent excess leakage and contamination. It should be noted that the machines hydraulic systems operate at extremely high potentially dangerous pressures. Place a suitable catch basin beneath the machine to capture. Jlg Hydraulic Hose Diagram.
From www.gcironparts.com
Construction Equipment Parts JLG Parts from Jlg Hydraulic Hose Diagram Easily find any jlg parts, operation, service and supplemental manuals, plus schematics and forms, with jlg technical publications from. Place a suitable catch basin beneath the machine to capture fluid. It should be noted that the machines hydraulic systems operate at extremely high potentially dangerous pressures. When removing hydraulic components, plug hose ends and connections to prevent excess leakage and. Jlg Hydraulic Hose Diagram.
From store.intellaliftparts.com
JLG 10837176 HOSE ASSEMBLY, HYDRAULIC STD H Jlg Hydraulic Hose Diagram Place a suitable catch basin beneath the machine to capture fluid. When removing hydraulic components, plug hose ends and connections to prevent excess leakage and contamination. Easily find any jlg parts, operation, service and supplemental manuals, plus schematics and forms, with jlg technical publications from. It should be noted that the machines hydraulic systems operate at extremely high potentially dangerous. Jlg Hydraulic Hose Diagram.
From www.autorepairmanuals.ws
JLG Boom Lifts 600AJ HC3 Parts Manual 31221508 2023 PVC 2301 Auto Repair Manual Forum Heavy Jlg Hydraulic Hose Diagram It should be noted that the machines hydraulic systems operate at extremely high potentially dangerous pressures. Easily find any jlg parts, operation, service and supplemental manuals, plus schematics and forms, with jlg technical publications from. When removing hydraulic components, plug hose ends and connections to prevent excess leakage and contamination. Place a suitable catch basin beneath the machine to capture. Jlg Hydraulic Hose Diagram.
From www.autorepairmanuals.ws
JLG Elevated Work Pflatform Electrical & Hydraulic Schematic Manual 2020 [07.2019] CD Auto Jlg Hydraulic Hose Diagram Easily find any jlg parts, operation, service and supplemental manuals, plus schematics and forms, with jlg technical publications from. Place a suitable catch basin beneath the machine to capture fluid. It should be noted that the machines hydraulic systems operate at extremely high potentially dangerous pressures. When removing hydraulic components, plug hose ends and connections to prevent excess leakage and. Jlg Hydraulic Hose Diagram.
From reviewmotors.co
Jlg Scissor Lift Parts Diagram Reviewmotors.co Jlg Hydraulic Hose Diagram Easily find any jlg parts, operation, service and supplemental manuals, plus schematics and forms, with jlg technical publications from. Place a suitable catch basin beneath the machine to capture fluid. It should be noted that the machines hydraulic systems operate at extremely high potentially dangerous pressures. When removing hydraulic components, plug hose ends and connections to prevent excess leakage and. Jlg Hydraulic Hose Diagram.
From www.ebay.co.uk
NEW JLG Hydraulic Hose (JLG 2753794) eBay Jlg Hydraulic Hose Diagram Easily find any jlg parts, operation, service and supplemental manuals, plus schematics and forms, with jlg technical publications from. When removing hydraulic components, plug hose ends and connections to prevent excess leakage and contamination. Place a suitable catch basin beneath the machine to capture fluid. It should be noted that the machines hydraulic systems operate at extremely high potentially dangerous. Jlg Hydraulic Hose Diagram.
From www.jlg.com
4Step Guide for Using JLG’s 3D Hydraulic Schematics JLG Jlg Hydraulic Hose Diagram It should be noted that the machines hydraulic systems operate at extremely high potentially dangerous pressures. Easily find any jlg parts, operation, service and supplemental manuals, plus schematics and forms, with jlg technical publications from. Place a suitable catch basin beneath the machine to capture fluid. When removing hydraulic components, plug hose ends and connections to prevent excess leakage and. Jlg Hydraulic Hose Diagram.
From www.epcatalogs.com
JLG SkyTrak Telehandlers 5030 & 6034 ANSI PDF Manual Jlg Hydraulic Hose Diagram It should be noted that the machines hydraulic systems operate at extremely high potentially dangerous pressures. Place a suitable catch basin beneath the machine to capture fluid. When removing hydraulic components, plug hose ends and connections to prevent excess leakage and contamination. Easily find any jlg parts, operation, service and supplemental manuals, plus schematics and forms, with jlg technical publications. Jlg Hydraulic Hose Diagram.