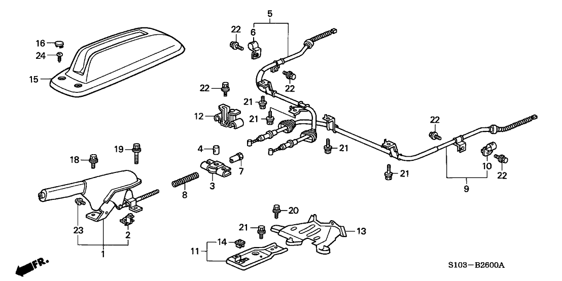
Honda Cr V Parking Brake Adjustment . Activating and deactivating the automatic parking brake feature. U the parking brake and brake system indicator (red) goes off. Just thought it would be good to post a picture of the adjuster, it’s under the driver seat, covered by. Main menu table of contents parking brake, steering wheel adjustment parking brake steering wheel adjustment make any steering wheel adjustment before you start driving. How to adjust the cable on a foot park brake. This video shows you step by step on how to use the parking brake on a 2021 honda cr v. With the power mode is in on, carry out the following steps to either activate or deactivate the automatic parking brake. I wanted to see what’s moving cable wise when activating the parking brake. Press the electric parking brake switch. Honda park brake factory adjustment procedure. Happy to answer any questions, drop them in.
from www.socalhondadealers.com
Honda park brake factory adjustment procedure. Press the electric parking brake switch. Just thought it would be good to post a picture of the adjuster, it’s under the driver seat, covered by. I wanted to see what’s moving cable wise when activating the parking brake. Activating and deactivating the automatic parking brake feature. Main menu table of contents parking brake, steering wheel adjustment parking brake steering wheel adjustment make any steering wheel adjustment before you start driving. U the parking brake and brake system indicator (red) goes off. With the power mode is in on, carry out the following steps to either activate or deactivate the automatic parking brake. How to adjust the cable on a foot park brake. This video shows you step by step on how to use the parking brake on a 2021 honda cr v.
2020 Honda CRV Setting the New Standard for SUVs Southern
Honda Cr V Parking Brake Adjustment U the parking brake and brake system indicator (red) goes off. How to adjust the cable on a foot park brake. Activating and deactivating the automatic parking brake feature. Happy to answer any questions, drop them in. Just thought it would be good to post a picture of the adjuster, it’s under the driver seat, covered by. U the parking brake and brake system indicator (red) goes off. Main menu table of contents parking brake, steering wheel adjustment parking brake steering wheel adjustment make any steering wheel adjustment before you start driving. Honda park brake factory adjustment procedure. This video shows you step by step on how to use the parking brake on a 2021 honda cr v. I wanted to see what’s moving cable wise when activating the parking brake. With the power mode is in on, carry out the following steps to either activate or deactivate the automatic parking brake. Press the electric parking brake switch.
From www.youtube.com
How to Adjust Hand brake / Parking brake Honda CRV 2007 2010 YouTube Honda Cr V Parking Brake Adjustment Activating and deactivating the automatic parking brake feature. Just thought it would be good to post a picture of the adjuster, it’s under the driver seat, covered by. I wanted to see what’s moving cable wise when activating the parking brake. Press the electric parking brake switch. Honda park brake factory adjustment procedure. This video shows you step by step. Honda Cr V Parking Brake Adjustment.
From www.autozone.com
Repair Guides Parking Brake Parking Brake Shoes Honda Cr V Parking Brake Adjustment Activating and deactivating the automatic parking brake feature. Happy to answer any questions, drop them in. U the parking brake and brake system indicator (red) goes off. With the power mode is in on, carry out the following steps to either activate or deactivate the automatic parking brake. How to adjust the cable on a foot park brake. This video. Honda Cr V Parking Brake Adjustment.
From www.youtube.com
How To Replace Rear Brakes 201216 Honda CR V YouTube Honda Cr V Parking Brake Adjustment U the parking brake and brake system indicator (red) goes off. Just thought it would be good to post a picture of the adjuster, it’s under the driver seat, covered by. Press the electric parking brake switch. Main menu table of contents parking brake, steering wheel adjustment parking brake steering wheel adjustment make any steering wheel adjustment before you start. Honda Cr V Parking Brake Adjustment.
From www.youtube.com
How to use Honda CR V Electric Parking Brake and Brake Hold YouTube Honda Cr V Parking Brake Adjustment Just thought it would be good to post a picture of the adjuster, it’s under the driver seat, covered by. This video shows you step by step on how to use the parking brake on a 2021 honda cr v. Happy to answer any questions, drop them in. How to adjust the cable on a foot park brake. With the. Honda Cr V Parking Brake Adjustment.
From www.hondapartsnow.com
1997 Honda CRV 5 Door LX (4WD ABS) KA 4AT Parking Brake Honda Cr V Parking Brake Adjustment This video shows you step by step on how to use the parking brake on a 2021 honda cr v. Just thought it would be good to post a picture of the adjuster, it’s under the driver seat, covered by. Main menu table of contents parking brake, steering wheel adjustment parking brake steering wheel adjustment make any steering wheel adjustment. Honda Cr V Parking Brake Adjustment.
From www.yourmechanic.com
How to Adjust a Parking Brake Cable YourMechanic Advice Honda Cr V Parking Brake Adjustment I wanted to see what’s moving cable wise when activating the parking brake. How to adjust the cable on a foot park brake. With the power mode is in on, carry out the following steps to either activate or deactivate the automatic parking brake. This video shows you step by step on how to use the parking brake on a. Honda Cr V Parking Brake Adjustment.
From workshoprepairella101.z19.web.core.windows.net
2014 Honda Crv Brakes And Rotors Honda Cr V Parking Brake Adjustment Just thought it would be good to post a picture of the adjuster, it’s under the driver seat, covered by. This video shows you step by step on how to use the parking brake on a 2021 honda cr v. Happy to answer any questions, drop them in. I wanted to see what’s moving cable wise when activating the parking. Honda Cr V Parking Brake Adjustment.
From www.youtube.com
20112016 Honda CRV rear brake pad and rotor replacement/parking brake Honda Cr V Parking Brake Adjustment How to adjust the cable on a foot park brake. This video shows you step by step on how to use the parking brake on a 2021 honda cr v. Just thought it would be good to post a picture of the adjuster, it’s under the driver seat, covered by. Happy to answer any questions, drop them in. Press the. Honda Cr V Parking Brake Adjustment.
From www.hondapartscenter.com
Honda CRV Lever, right parking brake. System, shoe 43361STKA01 Honda Cr V Parking Brake Adjustment Activating and deactivating the automatic parking brake feature. How to adjust the cable on a foot park brake. Honda park brake factory adjustment procedure. With the power mode is in on, carry out the following steps to either activate or deactivate the automatic parking brake. Press the electric parking brake switch. Just thought it would be good to post a. Honda Cr V Parking Brake Adjustment.
From www.youtube.com
2017 Honda CRV electronic parking brake YouTube Honda Cr V Parking Brake Adjustment U the parking brake and brake system indicator (red) goes off. This video shows you step by step on how to use the parking brake on a 2021 honda cr v. Activating and deactivating the automatic parking brake feature. Happy to answer any questions, drop them in. Just thought it would be good to post a picture of the adjuster,. Honda Cr V Parking Brake Adjustment.
From exysidvnp.blob.core.windows.net
How To Turn Off Parking Brake Honda Cr V at Parker blog Honda Cr V Parking Brake Adjustment Happy to answer any questions, drop them in. Activating and deactivating the automatic parking brake feature. Honda park brake factory adjustment procedure. This video shows you step by step on how to use the parking brake on a 2021 honda cr v. Main menu table of contents parking brake, steering wheel adjustment parking brake steering wheel adjustment make any steering. Honda Cr V Parking Brake Adjustment.
From www.hondapartsonline.net
43154STKA01 Shoe, Parking Brake 20072016 Honda CRV Honda Parts Honda Cr V Parking Brake Adjustment This video shows you step by step on how to use the parking brake on a 2021 honda cr v. Happy to answer any questions, drop them in. Press the electric parking brake switch. Just thought it would be good to post a picture of the adjuster, it’s under the driver seat, covered by. How to adjust the cable on. Honda Cr V Parking Brake Adjustment.
From www.crvownersclub.com
Parking Brake Switch replacement (Gen 5) Honda CRV Owners Club Forums Honda Cr V Parking Brake Adjustment How to adjust the cable on a foot park brake. I wanted to see what’s moving cable wise when activating the parking brake. U the parking brake and brake system indicator (red) goes off. With the power mode is in on, carry out the following steps to either activate or deactivate the automatic parking brake. Happy to answer any questions,. Honda Cr V Parking Brake Adjustment.
From ceequnmt.blob.core.windows.net
How To Use Brake Hold Honda Cr V at Ernest Richard blog Honda Cr V Parking Brake Adjustment How to adjust the cable on a foot park brake. I wanted to see what’s moving cable wise when activating the parking brake. Happy to answer any questions, drop them in. Activating and deactivating the automatic parking brake feature. This video shows you step by step on how to use the parking brake on a 2021 honda cr v. With. Honda Cr V Parking Brake Adjustment.
From repairenginetrespass.z21.web.core.windows.net
Honda Crv Oem Brake Caliper Part Honda Cr V Parking Brake Adjustment With the power mode is in on, carry out the following steps to either activate or deactivate the automatic parking brake. Press the electric parking brake switch. This video shows you step by step on how to use the parking brake on a 2021 honda cr v. Main menu table of contents parking brake, steering wheel adjustment parking brake steering. Honda Cr V Parking Brake Adjustment.
From www.socalhondadealers.com
2020 Honda CRV Setting the New Standard for SUVs Southern Honda Cr V Parking Brake Adjustment This video shows you step by step on how to use the parking brake on a 2021 honda cr v. Happy to answer any questions, drop them in. I wanted to see what’s moving cable wise when activating the parking brake. How to adjust the cable on a foot park brake. With the power mode is in on, carry out. Honda Cr V Parking Brake Adjustment.
From dxohxskfa.blob.core.windows.net
Brake Hold Button In Honda Crv at Joyce Anderson blog Honda Cr V Parking Brake Adjustment Just thought it would be good to post a picture of the adjuster, it’s under the driver seat, covered by. Main menu table of contents parking brake, steering wheel adjustment parking brake steering wheel adjustment make any steering wheel adjustment before you start driving. Press the electric parking brake switch. Activating and deactivating the automatic parking brake feature. U the. Honda Cr V Parking Brake Adjustment.
From ahparts.com
Sold 2019 Honda CRV Parking Brake Switch Assy 35355TLAA02 Honda Cr V Parking Brake Adjustment Honda park brake factory adjustment procedure. Press the electric parking brake switch. I wanted to see what’s moving cable wise when activating the parking brake. U the parking brake and brake system indicator (red) goes off. Main menu table of contents parking brake, steering wheel adjustment parking brake steering wheel adjustment make any steering wheel adjustment before you start driving.. Honda Cr V Parking Brake Adjustment.
From www.hondawholesalepart.com
Honda CRV Plate, r. Rr. Brake back. Brakes, parking 43110S9A003 Honda Cr V Parking Brake Adjustment Press the electric parking brake switch. With the power mode is in on, carry out the following steps to either activate or deactivate the automatic parking brake. Honda park brake factory adjustment procedure. Happy to answer any questions, drop them in. I wanted to see what’s moving cable wise when activating the parking brake. Activating and deactivating the automatic parking. Honda Cr V Parking Brake Adjustment.
From www.ebay.com
2017 2020 HONDA CRV Parking Brake Foot Stop Pedal Assembly Oem eBay Honda Cr V Parking Brake Adjustment Press the electric parking brake switch. Happy to answer any questions, drop them in. U the parking brake and brake system indicator (red) goes off. I wanted to see what’s moving cable wise when activating the parking brake. Activating and deactivating the automatic parking brake feature. Just thought it would be good to post a picture of the adjuster, it’s. Honda Cr V Parking Brake Adjustment.
From ahparts.com
Sold 2020 Honda CRV Parking Brake Switch Assy 35355TLAA01 Honda Cr V Parking Brake Adjustment Press the electric parking brake switch. Happy to answer any questions, drop them in. Just thought it would be good to post a picture of the adjuster, it’s under the driver seat, covered by. U the parking brake and brake system indicator (red) goes off. Honda park brake factory adjustment procedure. With the power mode is in on, carry out. Honda Cr V Parking Brake Adjustment.
From www.crvownersclub.com
Manual Parking brake release Honda CRV Owners Club Forums Honda Cr V Parking Brake Adjustment With the power mode is in on, carry out the following steps to either activate or deactivate the automatic parking brake. Honda park brake factory adjustment procedure. I wanted to see what’s moving cable wise when activating the parking brake. How to adjust the cable on a foot park brake. Happy to answer any questions, drop them in. Press the. Honda Cr V Parking Brake Adjustment.
From workshopfixelizabeth99.z21.web.core.windows.net
Honda Crv Parking Brake Warning Honda Cr V Parking Brake Adjustment With the power mode is in on, carry out the following steps to either activate or deactivate the automatic parking brake. U the parking brake and brake system indicator (red) goes off. Just thought it would be good to post a picture of the adjuster, it’s under the driver seat, covered by. Honda park brake factory adjustment procedure. I wanted. Honda Cr V Parking Brake Adjustment.
From www.youtube.com
2017 HONDA CRV Rear Brake Pads & Rotors DIY How to manually Honda Cr V Parking Brake Adjustment Just thought it would be good to post a picture of the adjuster, it’s under the driver seat, covered by. How to adjust the cable on a foot park brake. This video shows you step by step on how to use the parking brake on a 2021 honda cr v. Honda park brake factory adjustment procedure. Press the electric parking. Honda Cr V Parking Brake Adjustment.
From workshopfixdebra99.z21.web.core.windows.net
Honda Crv Rear Brake Caliper Replacement Honda Cr V Parking Brake Adjustment Press the electric parking brake switch. Honda park brake factory adjustment procedure. I wanted to see what’s moving cable wise when activating the parking brake. Activating and deactivating the automatic parking brake feature. This video shows you step by step on how to use the parking brake on a 2021 honda cr v. Happy to answer any questions, drop them. Honda Cr V Parking Brake Adjustment.
From workshopfixelizabeth99.z21.web.core.windows.net
Honda Crv Parking Brake Warning Honda Cr V Parking Brake Adjustment U the parking brake and brake system indicator (red) goes off. With the power mode is in on, carry out the following steps to either activate or deactivate the automatic parking brake. Activating and deactivating the automatic parking brake feature. Happy to answer any questions, drop them in. How to adjust the cable on a foot park brake. Press the. Honda Cr V Parking Brake Adjustment.
From repairfixisokontan.z21.web.core.windows.net
Honda Crv 2010 Rear Brakes Replace Honda Cr V Parking Brake Adjustment Press the electric parking brake switch. Just thought it would be good to post a picture of the adjuster, it’s under the driver seat, covered by. Activating and deactivating the automatic parking brake feature. How to adjust the cable on a foot park brake. Honda park brake factory adjustment procedure. Main menu table of contents parking brake, steering wheel adjustment. Honda Cr V Parking Brake Adjustment.
From www.youtube.com
Honda/Acura DIY Parking Brake Adjustment YouTube Honda Cr V Parking Brake Adjustment Happy to answer any questions, drop them in. Press the electric parking brake switch. How to adjust the cable on a foot park brake. Main menu table of contents parking brake, steering wheel adjustment parking brake steering wheel adjustment make any steering wheel adjustment before you start driving. Just thought it would be good to post a picture of the. Honda Cr V Parking Brake Adjustment.
From crvguide.com
Fixing Your Honda CRV Electronic Parking Brake Problem Honda Cr V Parking Brake Adjustment U the parking brake and brake system indicator (red) goes off. How to adjust the cable on a foot park brake. Happy to answer any questions, drop them in. Activating and deactivating the automatic parking brake feature. With the power mode is in on, carry out the following steps to either activate or deactivate the automatic parking brake. Press the. Honda Cr V Parking Brake Adjustment.
From enginesydney88.z19.web.core.windows.net
2011 Honda Crv Replacing Rear Brake Pads Honda Cr V Parking Brake Adjustment This video shows you step by step on how to use the parking brake on a 2021 honda cr v. Honda park brake factory adjustment procedure. Press the electric parking brake switch. Main menu table of contents parking brake, steering wheel adjustment parking brake steering wheel adjustment make any steering wheel adjustment before you start driving. I wanted to see. Honda Cr V Parking Brake Adjustment.
From repairengineklug55.z19.web.core.windows.net
Electric Brake System Problem Honda Crv Honda Cr V Parking Brake Adjustment Happy to answer any questions, drop them in. With the power mode is in on, carry out the following steps to either activate or deactivate the automatic parking brake. I wanted to see what’s moving cable wise when activating the parking brake. How to adjust the cable on a foot park brake. This video shows you step by step on. Honda Cr V Parking Brake Adjustment.
From enginesteven77.z21.web.core.windows.net
Honda Cr V Emergency Brake Honda Cr V Parking Brake Adjustment Happy to answer any questions, drop them in. Honda park brake factory adjustment procedure. I wanted to see what’s moving cable wise when activating the parking brake. Activating and deactivating the automatic parking brake feature. U the parking brake and brake system indicator (red) goes off. How to adjust the cable on a foot park brake. Just thought it would. Honda Cr V Parking Brake Adjustment.
From repairenginedorted.z13.web.core.windows.net
Honda Crv Automatic Braking Honda Cr V Parking Brake Adjustment U the parking brake and brake system indicator (red) goes off. Just thought it would be good to post a picture of the adjuster, it’s under the driver seat, covered by. Main menu table of contents parking brake, steering wheel adjustment parking brake steering wheel adjustment make any steering wheel adjustment before you start driving. Activating and deactivating the automatic. Honda Cr V Parking Brake Adjustment.
From mechanicalmalarkey.com
CRV Parking Brake Mechanical Malarkey Honda Cr V Parking Brake Adjustment Press the electric parking brake switch. How to adjust the cable on a foot park brake. This video shows you step by step on how to use the parking brake on a 2021 honda cr v. Activating and deactivating the automatic parking brake feature. I wanted to see what’s moving cable wise when activating the parking brake. Main menu table. Honda Cr V Parking Brake Adjustment.
From www.youtube.com
2016+ Honda. How To Manually Release / Retract Electric Parking Brake Honda Cr V Parking Brake Adjustment Happy to answer any questions, drop them in. I wanted to see what’s moving cable wise when activating the parking brake. This video shows you step by step on how to use the parking brake on a 2021 honda cr v. Just thought it would be good to post a picture of the adjuster, it’s under the driver seat, covered. Honda Cr V Parking Brake Adjustment.