Travel Pillow Patent . The present invention provides a travel pillow that is removably incorporated into a backpack or other type of carryon travel luggage. A first fluid pathway permits air to flow from the inflation device to the neck support pillow, and a second fluid pathway permits air to flow. Patent and trademark office as ser. The present invention provides an improved travel pillow which may be used for resting and sleeping in home or while traveling, for. A travel pillow is generally “u” shaped and is adapted to fit around the neck of a person. This patent application is a divisional to our prior patent application filed with the u.s. (54) travel pillow with anchoring features (57) the invention relates to a travel pillow cover comprising: A travel pillow can prevent neck strain and promote.
from www.tffn.net
A first fluid pathway permits air to flow from the inflation device to the neck support pillow, and a second fluid pathway permits air to flow. The present invention provides an improved travel pillow which may be used for resting and sleeping in home or while traveling, for. The present invention provides a travel pillow that is removably incorporated into a backpack or other type of carryon travel luggage. Patent and trademark office as ser. This patent application is a divisional to our prior patent application filed with the u.s. A travel pillow can prevent neck strain and promote. (54) travel pillow with anchoring features (57) the invention relates to a travel pillow cover comprising: A travel pillow is generally “u” shaped and is adapted to fit around the neck of a person.
Who Invented the Pillow? A Historical Exploration of its Invention and
Travel Pillow Patent This patent application is a divisional to our prior patent application filed with the u.s. Patent and trademark office as ser. The present invention provides an improved travel pillow which may be used for resting and sleeping in home or while traveling, for. A first fluid pathway permits air to flow from the inflation device to the neck support pillow, and a second fluid pathway permits air to flow. This patent application is a divisional to our prior patent application filed with the u.s. (54) travel pillow with anchoring features (57) the invention relates to a travel pillow cover comprising: A travel pillow is generally “u” shaped and is adapted to fit around the neck of a person. The present invention provides a travel pillow that is removably incorporated into a backpack or other type of carryon travel luggage. A travel pillow can prevent neck strain and promote.
From www.alibaba.com
Hnos Patent Adjustable Car Sleep Headrest Pillow Airplane Flight Chin Travel Pillow Patent A first fluid pathway permits air to flow from the inflation device to the neck support pillow, and a second fluid pathway permits air to flow. The present invention provides a travel pillow that is removably incorporated into a backpack or other type of carryon travel luggage. The present invention provides an improved travel pillow which may be used for. Travel Pillow Patent.
From sleepwithcomfort.com
The 15 Best Lumbar Travel Pillow for Every Type of Traveler Travel Pillow Patent Patent and trademark office as ser. A first fluid pathway permits air to flow from the inflation device to the neck support pillow, and a second fluid pathway permits air to flow. A travel pillow can prevent neck strain and promote. The present invention provides a travel pillow that is removably incorporated into a backpack or other type of carryon. Travel Pillow Patent.
From www.trendhunter.com
Sensory Deprivation Travel Pillows travel pillow Travel Pillow Patent A first fluid pathway permits air to flow from the inflation device to the neck support pillow, and a second fluid pathway permits air to flow. (54) travel pillow with anchoring features (57) the invention relates to a travel pillow cover comprising: This patent application is a divisional to our prior patent application filed with the u.s. The present invention. Travel Pillow Patent.
From books.google.ca
Patent USD481247 Travel pillow Google Patents Travel Pillow Patent A travel pillow can prevent neck strain and promote. Patent and trademark office as ser. A travel pillow is generally “u” shaped and is adapted to fit around the neck of a person. A first fluid pathway permits air to flow from the inflation device to the neck support pillow, and a second fluid pathway permits air to flow. This. Travel Pillow Patent.
From www.everrest.kr
EverRest Travel Pillow TR111 Travel Pillow Patent A travel pillow can prevent neck strain and promote. The present invention provides an improved travel pillow which may be used for resting and sleeping in home or while traveling, for. This patent application is a divisional to our prior patent application filed with the u.s. A first fluid pathway permits air to flow from the inflation device to the. Travel Pillow Patent.
From www.contemporist.com
This new travel pillow design was inspired by massage chairs Travel Pillow Patent Patent and trademark office as ser. A first fluid pathway permits air to flow from the inflation device to the neck support pillow, and a second fluid pathway permits air to flow. A travel pillow is generally “u” shaped and is adapted to fit around the neck of a person. The present invention provides an improved travel pillow which may. Travel Pillow Patent.
From www.amazon.sa
Compact Travel Pillow Made with Shredded Memory Foam and Super Soft Travel Pillow Patent A travel pillow can prevent neck strain and promote. A first fluid pathway permits air to flow from the inflation device to the neck support pillow, and a second fluid pathway permits air to flow. A travel pillow is generally “u” shaped and is adapted to fit around the neck of a person. This patent application is a divisional to. Travel Pillow Patent.
From www.google.ca
Patent USD404238 Travel pillow Google Patents Travel Pillow Patent A travel pillow is generally “u” shaped and is adapted to fit around the neck of a person. A first fluid pathway permits air to flow from the inflation device to the neck support pillow, and a second fluid pathway permits air to flow. The present invention provides a travel pillow that is removably incorporated into a backpack or other. Travel Pillow Patent.
From www.google.com
Patent US3327330 Comfort pillow Google Patents Travel Pillow Patent The present invention provides a travel pillow that is removably incorporated into a backpack or other type of carryon travel luggage. Patent and trademark office as ser. (54) travel pillow with anchoring features (57) the invention relates to a travel pillow cover comprising: A travel pillow is generally “u” shaped and is adapted to fit around the neck of a. Travel Pillow Patent.
From www.desertcart.ae
Daisy Travel Pillow℗ Holds Head Like Magic. Patent Pending, Simple and Travel Pillow Patent The present invention provides an improved travel pillow which may be used for resting and sleeping in home or while traveling, for. (54) travel pillow with anchoring features (57) the invention relates to a travel pillow cover comprising: A travel pillow is generally “u” shaped and is adapted to fit around the neck of a person. Patent and trademark office. Travel Pillow Patent.
From www.walmart.com
Travelrest Travelrest NEST Patented Ultimate Memory Foam Travel Travel Pillow Patent Patent and trademark office as ser. (54) travel pillow with anchoring features (57) the invention relates to a travel pillow cover comprising: The present invention provides an improved travel pillow which may be used for resting and sleeping in home or while traveling, for. This patent application is a divisional to our prior patent application filed with the u.s. A. Travel Pillow Patent.
From eureka.patsnap.com
Travel pillow for sleeping in a vertical or nearvertical reclined Travel Pillow Patent A first fluid pathway permits air to flow from the inflation device to the neck support pillow, and a second fluid pathway permits air to flow. A travel pillow is generally “u” shaped and is adapted to fit around the neck of a person. The present invention provides an improved travel pillow which may be used for resting and sleeping. Travel Pillow Patent.
From shop.tealswan.com
Divine Masculine Activation Travel Pillow Teal Swan Shop Travel Pillow Patent A first fluid pathway permits air to flow from the inflation device to the neck support pillow, and a second fluid pathway permits air to flow. The present invention provides an improved travel pillow which may be used for resting and sleeping in home or while traveling, for. This patent application is a divisional to our prior patent application filed. Travel Pillow Patent.
From www.smartertravel.com
5 Travel Pillows That Actually Work SmarterTravel Travel Pillow Patent The present invention provides an improved travel pillow which may be used for resting and sleeping in home or while traveling, for. This patent application is a divisional to our prior patent application filed with the u.s. A first fluid pathway permits air to flow from the inflation device to the neck support pillow, and a second fluid pathway permits. Travel Pillow Patent.
From www.tffn.net
Who Invented the Pillow? A Historical Exploration of its Invention and Travel Pillow Patent A travel pillow is generally “u” shaped and is adapted to fit around the neck of a person. Patent and trademark office as ser. A first fluid pathway permits air to flow from the inflation device to the neck support pillow, and a second fluid pathway permits air to flow. The present invention provides a travel pillow that is removably. Travel Pillow Patent.
From www.google.com
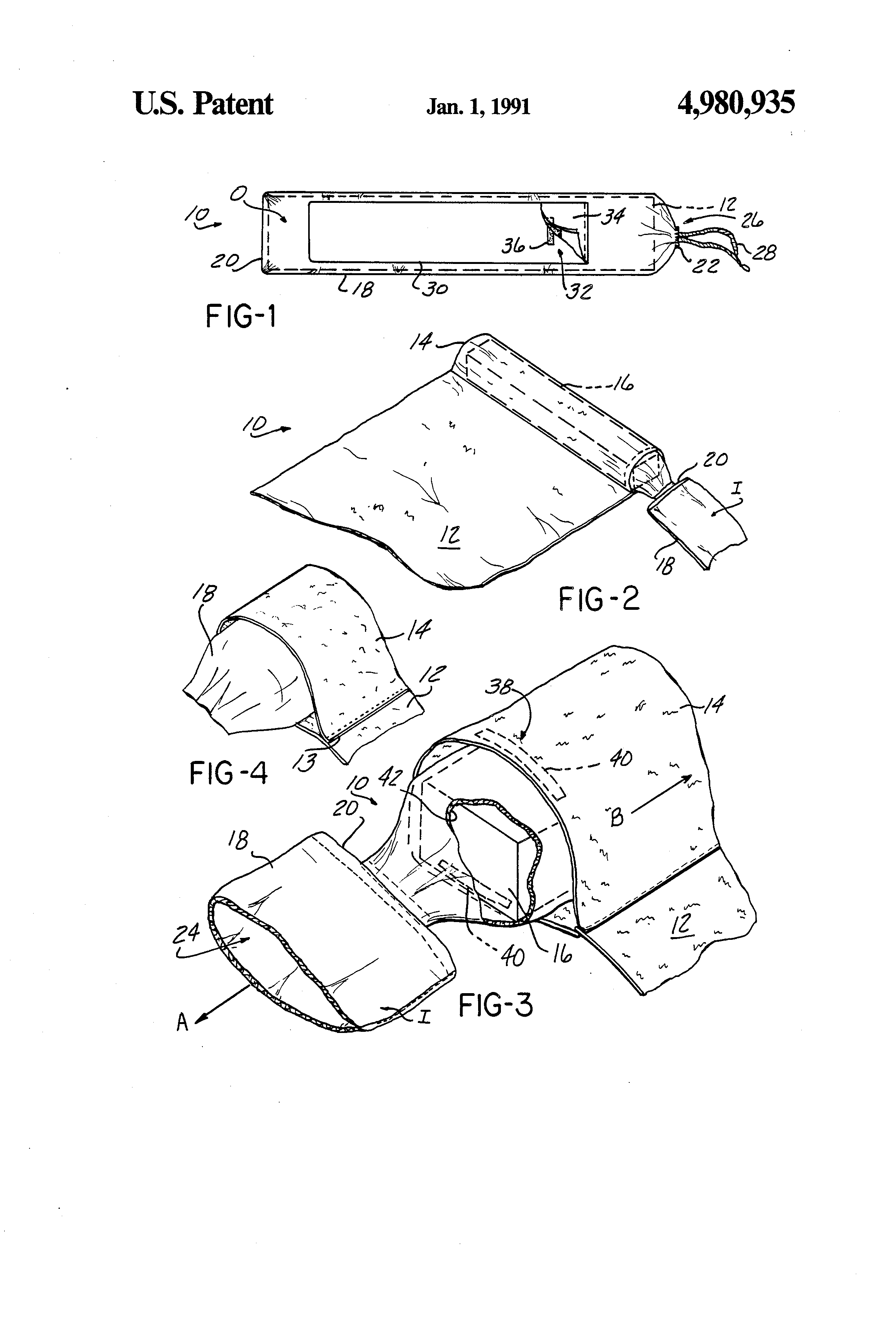
Patent US4980935 Beach towel and pillow removably contained within Travel Pillow Patent A travel pillow is generally “u” shaped and is adapted to fit around the neck of a person. A first fluid pathway permits air to flow from the inflation device to the neck support pillow, and a second fluid pathway permits air to flow. The present invention provides a travel pillow that is removably incorporated into a backpack or other. Travel Pillow Patent.
From www.pinterest.com
SkySiesta (Grey) The Best Travel Pillow on the Market! (Patent Travel Pillow Patent A travel pillow can prevent neck strain and promote. Patent and trademark office as ser. A first fluid pathway permits air to flow from the inflation device to the neck support pillow, and a second fluid pathway permits air to flow. A travel pillow is generally “u” shaped and is adapted to fit around the neck of a person. (54). Travel Pillow Patent.
From www.alibaba.com
Hnos Patent Adjustable Car Sleep Headrest Pillow Airplane Flight Chin Travel Pillow Patent (54) travel pillow with anchoring features (57) the invention relates to a travel pillow cover comprising: This patent application is a divisional to our prior patent application filed with the u.s. A travel pillow is generally “u” shaped and is adapted to fit around the neck of a person. A first fluid pathway permits air to flow from the inflation. Travel Pillow Patent.
From www.google.ca
Patent US6532611 Evertable travel pillow Google Patents Travel Pillow Patent This patent application is a divisional to our prior patent application filed with the u.s. A travel pillow is generally “u” shaped and is adapted to fit around the neck of a person. A first fluid pathway permits air to flow from the inflation device to the neck support pillow, and a second fluid pathway permits air to flow. A. Travel Pillow Patent.
From www.google.com.mx
Patent US6839923 Method and device for inserting a pillow into a Travel Pillow Patent The present invention provides an improved travel pillow which may be used for resting and sleeping in home or while traveling, for. A travel pillow can prevent neck strain and promote. The present invention provides a travel pillow that is removably incorporated into a backpack or other type of carryon travel luggage. This patent application is a divisional to our. Travel Pillow Patent.
From www.google.ca
Patent US1580210 Pillow Google Patents Travel Pillow Patent The present invention provides an improved travel pillow which may be used for resting and sleeping in home or while traveling, for. Patent and trademark office as ser. This patent application is a divisional to our prior patent application filed with the u.s. A travel pillow is generally “u” shaped and is adapted to fit around the neck of a. Travel Pillow Patent.
From www.alibaba.com
Hnos Patent Adjustable Car Sleep Headrest Pillow Airplane Flight Chin Travel Pillow Patent A first fluid pathway permits air to flow from the inflation device to the neck support pillow, and a second fluid pathway permits air to flow. Patent and trademark office as ser. A travel pillow can prevent neck strain and promote. This patent application is a divisional to our prior patent application filed with the u.s. A travel pillow is. Travel Pillow Patent.
From www.sleepsolutions.com.au
Travel Pillows Australia Neck & Memory Foam & Inflatable NDIS Approved Travel Pillow Patent A travel pillow can prevent neck strain and promote. A first fluid pathway permits air to flow from the inflation device to the neck support pillow, and a second fluid pathway permits air to flow. A travel pillow is generally “u” shaped and is adapted to fit around the neck of a person. Patent and trademark office as ser. The. Travel Pillow Patent.
From www.pinterest.com
Travelrest Ultimate Travel Neck PillowErgonomic, Patented Travel Pillow Patent The present invention provides a travel pillow that is removably incorporated into a backpack or other type of carryon travel luggage. A travel pillow is generally “u” shaped and is adapted to fit around the neck of a person. This patent application is a divisional to our prior patent application filed with the u.s. Patent and trademark office as ser.. Travel Pillow Patent.
From www.google.com
Patent US8327483 Foldable pillow Google Patents Travel Pillow Patent The present invention provides an improved travel pillow which may be used for resting and sleeping in home or while traveling, for. A travel pillow is generally “u” shaped and is adapted to fit around the neck of a person. A travel pillow can prevent neck strain and promote. This patent application is a divisional to our prior patent application. Travel Pillow Patent.
From airtraveldesign.guide
Travel Pillow — Air Travel Design Guide Travel Pillow Patent A travel pillow can prevent neck strain and promote. A travel pillow is generally “u” shaped and is adapted to fit around the neck of a person. The present invention provides an improved travel pillow which may be used for resting and sleeping in home or while traveling, for. (54) travel pillow with anchoring features (57) the invention relates to. Travel Pillow Patent.
From www.google.de
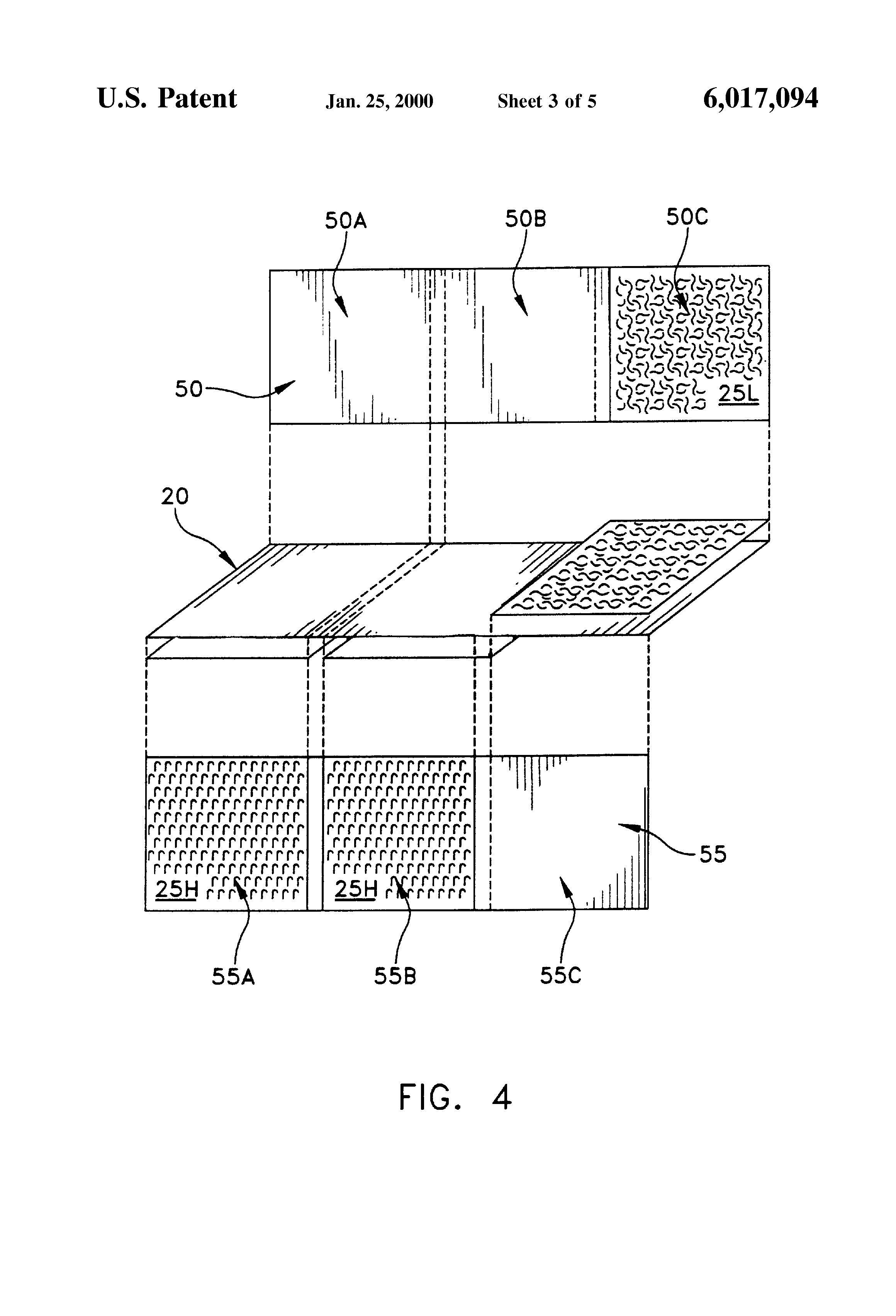
Patent US6017094 Travel pillow Google Patentsuche Travel Pillow Patent (54) travel pillow with anchoring features (57) the invention relates to a travel pillow cover comprising: A travel pillow is generally “u” shaped and is adapted to fit around the neck of a person. A travel pillow can prevent neck strain and promote. The present invention provides a travel pillow that is removably incorporated into a backpack or other type. Travel Pillow Patent.
From www.walmart.com
Travelrest Nest Patented Ultimate Memory Foam Travel Pillow/Neck Pillow Travel Pillow Patent The present invention provides an improved travel pillow which may be used for resting and sleeping in home or while traveling, for. This patent application is a divisional to our prior patent application filed with the u.s. A travel pillow can prevent neck strain and promote. Patent and trademark office as ser. (54) travel pillow with anchoring features (57) the. Travel Pillow Patent.
From www.pinterest.com
Daisy Travel Pillow Holds Head Like Magic. This Patent Travel Pillow Patent The present invention provides an improved travel pillow which may be used for resting and sleeping in home or while traveling, for. The present invention provides a travel pillow that is removably incorporated into a backpack or other type of carryon travel luggage. (54) travel pillow with anchoring features (57) the invention relates to a travel pillow cover comprising: Patent. Travel Pillow Patent.
From lspatents.com
Travel Pillow Lonestar Patent Services Travel Pillow Patent A first fluid pathway permits air to flow from the inflation device to the neck support pillow, and a second fluid pathway permits air to flow. A travel pillow is generally “u” shaped and is adapted to fit around the neck of a person. Patent and trademark office as ser. (54) travel pillow with anchoring features (57) the invention relates. Travel Pillow Patent.
From www.walmart.com
Travelrest Nest Patented Ultimate Memory Foam Travel Pillow/Neck Pillow Travel Pillow Patent A travel pillow can prevent neck strain and promote. The present invention provides a travel pillow that is removably incorporated into a backpack or other type of carryon travel luggage. This patent application is a divisional to our prior patent application filed with the u.s. (54) travel pillow with anchoring features (57) the invention relates to a travel pillow cover. Travel Pillow Patent.
From google.com
Patent US7051389 Comfort pillow Google Patents Travel Pillow Patent (54) travel pillow with anchoring features (57) the invention relates to a travel pillow cover comprising: Patent and trademark office as ser. A travel pillow is generally “u” shaped and is adapted to fit around the neck of a person. The present invention provides an improved travel pillow which may be used for resting and sleeping in home or while. Travel Pillow Patent.
From www.google.ca
Patent USD404238 Travel pillow Google Patents Travel Pillow Patent A first fluid pathway permits air to flow from the inflation device to the neck support pillow, and a second fluid pathway permits air to flow. (54) travel pillow with anchoring features (57) the invention relates to a travel pillow cover comprising: A travel pillow is generally “u” shaped and is adapted to fit around the neck of a person.. Travel Pillow Patent.
From lspatents.com
Travel Pillow Lonestar Patent Services Travel Pillow Patent Patent and trademark office as ser. (54) travel pillow with anchoring features (57) the invention relates to a travel pillow cover comprising: A travel pillow can prevent neck strain and promote. The present invention provides an improved travel pillow which may be used for resting and sleeping in home or while traveling, for. A first fluid pathway permits air to. Travel Pillow Patent.
From www.google.com
Patent US20130125312 Combined Travel Neck Pillow With an Attached Travel Pillow Patent A travel pillow can prevent neck strain and promote. A first fluid pathway permits air to flow from the inflation device to the neck support pillow, and a second fluid pathway permits air to flow. This patent application is a divisional to our prior patent application filed with the u.s. Patent and trademark office as ser. The present invention provides. Travel Pillow Patent.