Do Motorcycles Have Gyroscopes . One of the most interesting effects related to a gyroscope is a phenomenon known as precession. Gyroscopes are crucial to the motorcycle’s balance, and gyros were also used by yamaha and honda alike. Not only is the gyrocycle self stabilizing, it’s also electric, morphing two. The gyroscope exploded view shows a flywheel and electric motor mounted in a gimbal. The motorcycle's wheels act like gyroscopes and create gyroscopic forces when moving at speeds above five miles an hour. It can travel at speeds of over 100 mph, and it’s narrow enough to split lanes like a motorcycle.
from basicgyro.blogspot.com
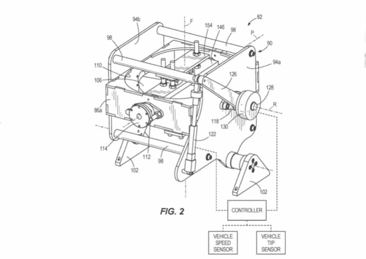
One of the most interesting effects related to a gyroscope is a phenomenon known as precession. Gyroscopes are crucial to the motorcycle’s balance, and gyros were also used by yamaha and honda alike. It can travel at speeds of over 100 mph, and it’s narrow enough to split lanes like a motorcycle. The gyroscope exploded view shows a flywheel and electric motor mounted in a gimbal. Not only is the gyrocycle self stabilizing, it’s also electric, morphing two. The motorcycle's wheels act like gyroscopes and create gyroscopic forces when moving at speeds above five miles an hour.
Gyroscope Basics of Gyroscope
Do Motorcycles Have Gyroscopes One of the most interesting effects related to a gyroscope is a phenomenon known as precession. The motorcycle's wheels act like gyroscopes and create gyroscopic forces when moving at speeds above five miles an hour. Gyroscopes are crucial to the motorcycle’s balance, and gyros were also used by yamaha and honda alike. It can travel at speeds of over 100 mph, and it’s narrow enough to split lanes like a motorcycle. Not only is the gyrocycle self stabilizing, it’s also electric, morphing two. One of the most interesting effects related to a gyroscope is a phenomenon known as precession. The gyroscope exploded view shows a flywheel and electric motor mounted in a gimbal.
From makezine.com
Gyroscope Motorcycle You Can't Knock Over Make Do Motorcycles Have Gyroscopes Gyroscopes are crucial to the motorcycle’s balance, and gyros were also used by yamaha and honda alike. The gyroscope exploded view shows a flywheel and electric motor mounted in a gimbal. The motorcycle's wheels act like gyroscopes and create gyroscopic forces when moving at speeds above five miles an hour. One of the most interesting effects related to a gyroscope. Do Motorcycles Have Gyroscopes.
From www.pinterest.com
The Uno is a selfbalancing motorcycle that uses a pair of gyroscopes Do Motorcycles Have Gyroscopes One of the most interesting effects related to a gyroscope is a phenomenon known as precession. The gyroscope exploded view shows a flywheel and electric motor mounted in a gimbal. The motorcycle's wheels act like gyroscopes and create gyroscopic forces when moving at speeds above five miles an hour. It can travel at speeds of over 100 mph, and it’s. Do Motorcycles Have Gyroscopes.
From www.pinterest.com
Ryno Motors Motorized Gyro Micro Cycle Is The OneWheeled Motorcycle Do Motorcycles Have Gyroscopes The motorcycle's wheels act like gyroscopes and create gyroscopic forces when moving at speeds above five miles an hour. The gyroscope exploded view shows a flywheel and electric motor mounted in a gimbal. Gyroscopes are crucial to the motorcycle’s balance, and gyros were also used by yamaha and honda alike. Not only is the gyrocycle self stabilizing, it’s also electric,. Do Motorcycles Have Gyroscopes.
From makezine.com
Gyroscope Motorcycle You Can't Knock Over Make Do Motorcycles Have Gyroscopes It can travel at speeds of over 100 mph, and it’s narrow enough to split lanes like a motorcycle. One of the most interesting effects related to a gyroscope is a phenomenon known as precession. The motorcycle's wheels act like gyroscopes and create gyroscopic forces when moving at speeds above five miles an hour. The gyroscope exploded view shows a. Do Motorcycles Have Gyroscopes.
From www.youtube.com
DIY Gyroscope Cam (kamera ala MOTO GP) YouTube Do Motorcycles Have Gyroscopes Not only is the gyrocycle self stabilizing, it’s also electric, morphing two. One of the most interesting effects related to a gyroscope is a phenomenon known as precession. Gyroscopes are crucial to the motorcycle’s balance, and gyros were also used by yamaha and honda alike. The gyroscope exploded view shows a flywheel and electric motor mounted in a gimbal. The. Do Motorcycles Have Gyroscopes.
From www.youtube.com
Motorcycle Gyroscopic Effect YouTube Do Motorcycles Have Gyroscopes It can travel at speeds of over 100 mph, and it’s narrow enough to split lanes like a motorcycle. Not only is the gyrocycle self stabilizing, it’s also electric, morphing two. The motorcycle's wheels act like gyroscopes and create gyroscopic forces when moving at speeds above five miles an hour. Gyroscopes are crucial to the motorcycle’s balance, and gyros were. Do Motorcycles Have Gyroscopes.
From limfatoyou.weebly.com
Gyroscope motorcycle limfatoyou Do Motorcycles Have Gyroscopes One of the most interesting effects related to a gyroscope is a phenomenon known as precession. Gyroscopes are crucial to the motorcycle’s balance, and gyros were also used by yamaha and honda alike. It can travel at speeds of over 100 mph, and it’s narrow enough to split lanes like a motorcycle. The motorcycle's wheels act like gyroscopes and create. Do Motorcycles Have Gyroscopes.
From www.electricalelibrary.com
Gyroscope what is it and how does it work? Electrical Do Motorcycles Have Gyroscopes Not only is the gyrocycle self stabilizing, it’s also electric, morphing two. The gyroscope exploded view shows a flywheel and electric motor mounted in a gimbal. One of the most interesting effects related to a gyroscope is a phenomenon known as precession. Gyroscopes are crucial to the motorcycle’s balance, and gyros were also used by yamaha and honda alike. It. Do Motorcycles Have Gyroscopes.
From www.moto-dz.com
Un brevet de gyroscope pour faciliter l'équilibre chez HarleyDavidson Do Motorcycles Have Gyroscopes The motorcycle's wheels act like gyroscopes and create gyroscopic forces when moving at speeds above five miles an hour. The gyroscope exploded view shows a flywheel and electric motor mounted in a gimbal. Gyroscopes are crucial to the motorcycle’s balance, and gyros were also used by yamaha and honda alike. It can travel at speeds of over 100 mph, and. Do Motorcycles Have Gyroscopes.
From limfatoyou.weebly.com
Gyroscope motorcycle limfatoyou Do Motorcycles Have Gyroscopes One of the most interesting effects related to a gyroscope is a phenomenon known as precession. The motorcycle's wheels act like gyroscopes and create gyroscopic forces when moving at speeds above five miles an hour. It can travel at speeds of over 100 mph, and it’s narrow enough to split lanes like a motorcycle. Not only is the gyrocycle self. Do Motorcycles Have Gyroscopes.
From www.snapdeal.com
Dwiza oyz High Speed 2.4 GHz RC Motorcycle Bike with Built in Gyroscope Do Motorcycles Have Gyroscopes Not only is the gyrocycle self stabilizing, it’s also electric, morphing two. The gyroscope exploded view shows a flywheel and electric motor mounted in a gimbal. One of the most interesting effects related to a gyroscope is a phenomenon known as precession. Gyroscopes are crucial to the motorcycle’s balance, and gyros were also used by yamaha and honda alike. The. Do Motorcycles Have Gyroscopes.
From bostonvica.weebly.com
Gyroscope motorcycle bostonvica Do Motorcycles Have Gyroscopes One of the most interesting effects related to a gyroscope is a phenomenon known as precession. It can travel at speeds of over 100 mph, and it’s narrow enough to split lanes like a motorcycle. Not only is the gyrocycle self stabilizing, it’s also electric, morphing two. The motorcycle's wheels act like gyroscopes and create gyroscopic forces when moving at. Do Motorcycles Have Gyroscopes.
From spyful.blogspot.com
C1 Gyroscopically Electric Motorcycle will be sold by 2014 Spyful Do Motorcycles Have Gyroscopes One of the most interesting effects related to a gyroscope is a phenomenon known as precession. It can travel at speeds of over 100 mph, and it’s narrow enough to split lanes like a motorcycle. Not only is the gyrocycle self stabilizing, it’s also electric, morphing two. The motorcycle's wheels act like gyroscopes and create gyroscopic forces when moving at. Do Motorcycles Have Gyroscopes.
From bostonvica.weebly.com
Gyroscope motorcycle bostonvica Do Motorcycles Have Gyroscopes The gyroscope exploded view shows a flywheel and electric motor mounted in a gimbal. The motorcycle's wheels act like gyroscopes and create gyroscopic forces when moving at speeds above five miles an hour. It can travel at speeds of over 100 mph, and it’s narrow enough to split lanes like a motorcycle. Not only is the gyrocycle self stabilizing, it’s. Do Motorcycles Have Gyroscopes.
From www.gyroscope.com
Super Precision Gyroscope (without gimbals) From Do Motorcycles Have Gyroscopes The gyroscope exploded view shows a flywheel and electric motor mounted in a gimbal. The motorcycle's wheels act like gyroscopes and create gyroscopic forces when moving at speeds above five miles an hour. It can travel at speeds of over 100 mph, and it’s narrow enough to split lanes like a motorcycle. Not only is the gyrocycle self stabilizing, it’s. Do Motorcycles Have Gyroscopes.
From www.secondharvestmadison.org
GoolRC 120 Scale RC Motorcycle Motorbike with Builtin Gyroscope Do Motorcycles Have Gyroscopes It can travel at speeds of over 100 mph, and it’s narrow enough to split lanes like a motorcycle. Gyroscopes are crucial to the motorcycle’s balance, and gyros were also used by yamaha and honda alike. The gyroscope exploded view shows a flywheel and electric motor mounted in a gimbal. Not only is the gyrocycle self stabilizing, it’s also electric,. Do Motorcycles Have Gyroscopes.
From jalopnik.com
HarleyDavidson Wants To Make SelfBalancing Motorcycles By Putting A Do Motorcycles Have Gyroscopes Gyroscopes are crucial to the motorcycle’s balance, and gyros were also used by yamaha and honda alike. One of the most interesting effects related to a gyroscope is a phenomenon known as precession. It can travel at speeds of over 100 mph, and it’s narrow enough to split lanes like a motorcycle. The gyroscope exploded view shows a flywheel and. Do Motorcycles Have Gyroscopes.
From www.pinterest.com
Gyroscopic motorcycle [Video] Trike motorcycle, Concept motorcycles Do Motorcycles Have Gyroscopes It can travel at speeds of over 100 mph, and it’s narrow enough to split lanes like a motorcycle. Gyroscopes are crucial to the motorcycle’s balance, and gyros were also used by yamaha and honda alike. Not only is the gyrocycle self stabilizing, it’s also electric, morphing two. One of the most interesting effects related to a gyroscope is a. Do Motorcycles Have Gyroscopes.
From basicgyro.blogspot.com
Gyroscope Basics of Gyroscope Do Motorcycles Have Gyroscopes The gyroscope exploded view shows a flywheel and electric motor mounted in a gimbal. Not only is the gyrocycle self stabilizing, it’s also electric, morphing two. The motorcycle's wheels act like gyroscopes and create gyroscopic forces when moving at speeds above five miles an hour. Gyroscopes are crucial to the motorcycle’s balance, and gyros were also used by yamaha and. Do Motorcycles Have Gyroscopes.
From framiral.fr
Gyroscope Framiral Do Motorcycles Have Gyroscopes One of the most interesting effects related to a gyroscope is a phenomenon known as precession. Gyroscopes are crucial to the motorcycle’s balance, and gyros were also used by yamaha and honda alike. Not only is the gyrocycle self stabilizing, it’s also electric, morphing two. The gyroscope exploded view shows a flywheel and electric motor mounted in a gimbal. It. Do Motorcycles Have Gyroscopes.
From www.pinterest.jp
Ryno Motors Motorized Gyro Micro Cycle Is The OneWheeled Motorcycle Do Motorcycles Have Gyroscopes It can travel at speeds of over 100 mph, and it’s narrow enough to split lanes like a motorcycle. One of the most interesting effects related to a gyroscope is a phenomenon known as precession. Not only is the gyrocycle self stabilizing, it’s also electric, morphing two. Gyroscopes are crucial to the motorcycle’s balance, and gyros were also used by. Do Motorcycles Have Gyroscopes.
From interestingengineering.com
Gyroscopes What They Are, How They Work, and Their Importance Do Motorcycles Have Gyroscopes Gyroscopes are crucial to the motorcycle’s balance, and gyros were also used by yamaha and honda alike. The motorcycle's wheels act like gyroscopes and create gyroscopic forces when moving at speeds above five miles an hour. It can travel at speeds of over 100 mph, and it’s narrow enough to split lanes like a motorcycle. The gyroscope exploded view shows. Do Motorcycles Have Gyroscopes.
From www.phonandroid.com
Harley Davidson ce gyroscope sur la moto est conçu pour éviter les chutes Do Motorcycles Have Gyroscopes Not only is the gyrocycle self stabilizing, it’s also electric, morphing two. It can travel at speeds of over 100 mph, and it’s narrow enough to split lanes like a motorcycle. The motorcycle's wheels act like gyroscopes and create gyroscopic forces when moving at speeds above five miles an hour. Gyroscopes are crucial to the motorcycle’s balance, and gyros were. Do Motorcycles Have Gyroscopes.
From www.tuvie.com
C1 Gyroscopically Electric Motorcycle Stays Balance at A Stop Tuvie Do Motorcycles Have Gyroscopes Not only is the gyrocycle self stabilizing, it’s also electric, morphing two. One of the most interesting effects related to a gyroscope is a phenomenon known as precession. The gyroscope exploded view shows a flywheel and electric motor mounted in a gimbal. The motorcycle's wheels act like gyroscopes and create gyroscopic forces when moving at speeds above five miles an. Do Motorcycles Have Gyroscopes.
From www.bestbeginnermotorcycles.com
Counter Steering on a Motorcycle Physics & Techniques Do Motorcycles Have Gyroscopes The motorcycle's wheels act like gyroscopes and create gyroscopic forces when moving at speeds above five miles an hour. It can travel at speeds of over 100 mph, and it’s narrow enough to split lanes like a motorcycle. Not only is the gyrocycle self stabilizing, it’s also electric, morphing two. The gyroscope exploded view shows a flywheel and electric motor. Do Motorcycles Have Gyroscopes.
From broinnovations.weebly.com
How does gyroscope work broinnovations Do Motorcycles Have Gyroscopes Gyroscopes are crucial to the motorcycle’s balance, and gyros were also used by yamaha and honda alike. The motorcycle's wheels act like gyroscopes and create gyroscopic forces when moving at speeds above five miles an hour. The gyroscope exploded view shows a flywheel and electric motor mounted in a gimbal. Not only is the gyrocycle self stabilizing, it’s also electric,. Do Motorcycles Have Gyroscopes.
From www.autoevolution.com
HarleyDavidson Patents a Gyroscope as SelfBalancing Motorcycle Do Motorcycles Have Gyroscopes The motorcycle's wheels act like gyroscopes and create gyroscopic forces when moving at speeds above five miles an hour. Gyroscopes are crucial to the motorcycle’s balance, and gyros were also used by yamaha and honda alike. The gyroscope exploded view shows a flywheel and electric motor mounted in a gimbal. Not only is the gyrocycle self stabilizing, it’s also electric,. Do Motorcycles Have Gyroscopes.
From www.electricity-magnetism.org
Gyroscopes How it works, Application & Advantages Do Motorcycles Have Gyroscopes Gyroscopes are crucial to the motorcycle’s balance, and gyros were also used by yamaha and honda alike. Not only is the gyrocycle self stabilizing, it’s also electric, morphing two. The gyroscope exploded view shows a flywheel and electric motor mounted in a gimbal. It can travel at speeds of over 100 mph, and it’s narrow enough to split lanes like. Do Motorcycles Have Gyroscopes.
From www.youtube.com
BGMI Montage with 4 Finger + Gyroscope Controls Epic Clutch 30 FPS Do Motorcycles Have Gyroscopes Not only is the gyrocycle self stabilizing, it’s also electric, morphing two. The motorcycle's wheels act like gyroscopes and create gyroscopic forces when moving at speeds above five miles an hour. One of the most interesting effects related to a gyroscope is a phenomenon known as precession. It can travel at speeds of over 100 mph, and it’s narrow enough. Do Motorcycles Have Gyroscopes.
From www.youtube.com
Bike Wheel Gyroscope YouTube Do Motorcycles Have Gyroscopes The gyroscope exploded view shows a flywheel and electric motor mounted in a gimbal. Not only is the gyrocycle self stabilizing, it’s also electric, morphing two. One of the most interesting effects related to a gyroscope is a phenomenon known as precession. The motorcycle's wheels act like gyroscopes and create gyroscopic forces when moving at speeds above five miles an. Do Motorcycles Have Gyroscopes.
From www.pinterest.com
Gyrocycle Is The New Entry On The Marketplace, With A Firm Steadiness Do Motorcycles Have Gyroscopes The motorcycle's wheels act like gyroscopes and create gyroscopic forces when moving at speeds above five miles an hour. Not only is the gyrocycle self stabilizing, it’s also electric, morphing two. It can travel at speeds of over 100 mph, and it’s narrow enough to split lanes like a motorcycle. The gyroscope exploded view shows a flywheel and electric motor. Do Motorcycles Have Gyroscopes.
From itransportation.blogspot.com
Gyro Stabilized Bike i Transportation Amit RnD Do Motorcycles Have Gyroscopes One of the most interesting effects related to a gyroscope is a phenomenon known as precession. It can travel at speeds of over 100 mph, and it’s narrow enough to split lanes like a motorcycle. Not only is the gyrocycle self stabilizing, it’s also electric, morphing two. The gyroscope exploded view shows a flywheel and electric motor mounted in a. Do Motorcycles Have Gyroscopes.
From www.youtube.com
How does a gyroscope work? YouTube Do Motorcycles Have Gyroscopes The motorcycle's wheels act like gyroscopes and create gyroscopic forces when moving at speeds above five miles an hour. Gyroscopes are crucial to the motorcycle’s balance, and gyros were also used by yamaha and honda alike. Not only is the gyrocycle self stabilizing, it’s also electric, morphing two. It can travel at speeds of over 100 mph, and it’s narrow. Do Motorcycles Have Gyroscopes.
From limfatoyou.weebly.com
Gyroscope motorcycle limfatoyou Do Motorcycles Have Gyroscopes The gyroscope exploded view shows a flywheel and electric motor mounted in a gimbal. One of the most interesting effects related to a gyroscope is a phenomenon known as precession. The motorcycle's wheels act like gyroscopes and create gyroscopic forces when moving at speeds above five miles an hour. Gyroscopes are crucial to the motorcycle’s balance, and gyros were also. Do Motorcycles Have Gyroscopes.
From www.wired.com
Exclusive This Is the GyroStabilized, TwoWheeled Future of Do Motorcycles Have Gyroscopes The motorcycle's wheels act like gyroscopes and create gyroscopic forces when moving at speeds above five miles an hour. The gyroscope exploded view shows a flywheel and electric motor mounted in a gimbal. Gyroscopes are crucial to the motorcycle’s balance, and gyros were also used by yamaha and honda alike. One of the most interesting effects related to a gyroscope. Do Motorcycles Have Gyroscopes.