Swing Door Pc Case . Show off the true craftsmanship of your. zalman z1 iceberg is a mini tower case that supports micro atx and mini itx motherboards. gamdias atx mid tower gaming computer pc case with tempered glass swing door,. gamdias atx mid tower gaming computer pc case with side tempered glass swing. Equipped with a tempered glass swing.
from 3dwarehouse.sketchup.com
gamdias atx mid tower gaming computer pc case with tempered glass swing door,. gamdias atx mid tower gaming computer pc case with side tempered glass swing. zalman z1 iceberg is a mini tower case that supports micro atx and mini itx motherboards. Show off the true craftsmanship of your. Equipped with a tempered glass swing.
Double swing door with Handle 3D Warehouse
Swing Door Pc Case gamdias atx mid tower gaming computer pc case with side tempered glass swing. Show off the true craftsmanship of your. gamdias atx mid tower gaming computer pc case with side tempered glass swing. zalman z1 iceberg is a mini tower case that supports micro atx and mini itx motherboards. gamdias atx mid tower gaming computer pc case with tempered glass swing door,. Equipped with a tempered glass swing.
From www.desertcart.in
Buy GOLDEN FIELD Z21 PC Gaming Case, EATX/ATX/MATX /ITX Mid Tower Swing Door Pc Case zalman z1 iceberg is a mini tower case that supports micro atx and mini itx motherboards. Show off the true craftsmanship of your. Equipped with a tempered glass swing. gamdias atx mid tower gaming computer pc case with side tempered glass swing. gamdias atx mid tower gaming computer pc case with tempered glass swing door,. Swing Door Pc Case.
From dubai.dubizzle.com
Myts Playpen for Toddlers Swing, Slide, Rocking Horse, Hoop, Ball Pit Swing Door Pc Case Equipped with a tempered glass swing. gamdias atx mid tower gaming computer pc case with tempered glass swing door,. Show off the true craftsmanship of your. gamdias atx mid tower gaming computer pc case with side tempered glass swing. zalman z1 iceberg is a mini tower case that supports micro atx and mini itx motherboards. Swing Door Pc Case.
From www.amazon.ae
Pansonite Mesh Back Airflow ATX MidTower Chassis PC Gaming Case with Swing Door Pc Case gamdias atx mid tower gaming computer pc case with tempered glass swing door,. Equipped with a tempered glass swing. zalman z1 iceberg is a mini tower case that supports micro atx and mini itx motherboards. gamdias atx mid tower gaming computer pc case with side tempered glass swing. Show off the true craftsmanship of your. Swing Door Pc Case.
From www.google.de
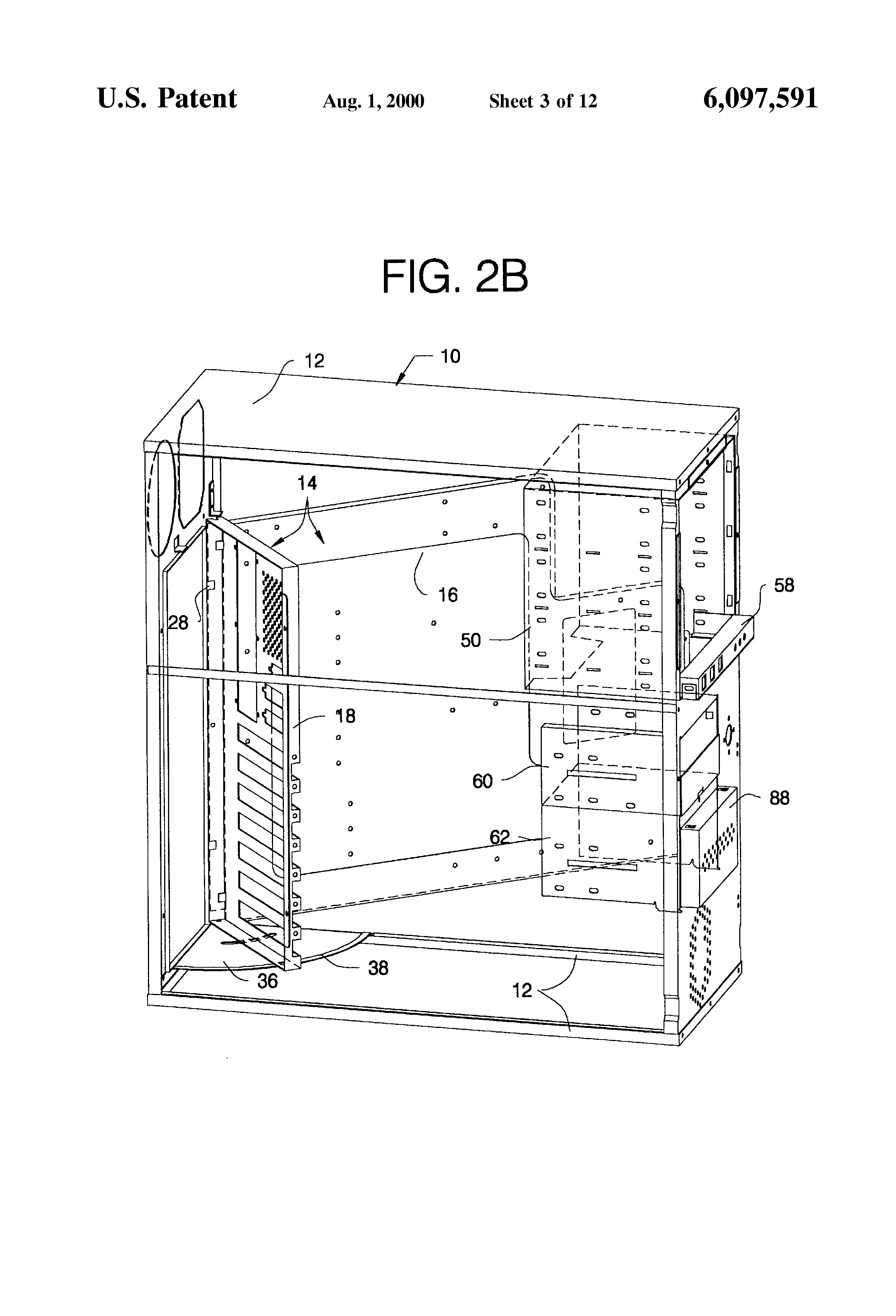
Patent US6097591 Computer case with swingout motherboard/backplane Swing Door Pc Case zalman z1 iceberg is a mini tower case that supports micro atx and mini itx motherboards. gamdias atx mid tower gaming computer pc case with tempered glass swing door,. Equipped with a tempered glass swing. gamdias atx mid tower gaming computer pc case with side tempered glass swing. Show off the true craftsmanship of your. Swing Door Pc Case.
From www.pcgamer.com
The best fulltower case in 2024 PC Gamer Swing Door Pc Case gamdias atx mid tower gaming computer pc case with side tempered glass swing. Equipped with a tempered glass swing. zalman z1 iceberg is a mini tower case that supports micro atx and mini itx motherboards. Show off the true craftsmanship of your. gamdias atx mid tower gaming computer pc case with tempered glass swing door,. Swing Door Pc Case.
From www.desertcart.com.eg
Buy darkFlash Micro ATX Mini ITX Tower MicroATX Computer Case with Swing Door Pc Case Equipped with a tempered glass swing. Show off the true craftsmanship of your. zalman z1 iceberg is a mini tower case that supports micro atx and mini itx motherboards. gamdias atx mid tower gaming computer pc case with tempered glass swing door,. gamdias atx mid tower gaming computer pc case with side tempered glass swing. Swing Door Pc Case.
From qatar.desertcart.com
GOLDEN FIELD Z21F Gaming PC Case with 3 LED Fans, EATX/ATX/Micro ATX Swing Door Pc Case Equipped with a tempered glass swing. gamdias atx mid tower gaming computer pc case with tempered glass swing door,. gamdias atx mid tower gaming computer pc case with side tempered glass swing. Show off the true craftsmanship of your. zalman z1 iceberg is a mini tower case that supports micro atx and mini itx motherboards. Swing Door Pc Case.
From www.walmart.com
Aijlhda Waterproof And Cover For Garden Swing, Protective Cover For Swing Door Pc Case Show off the true craftsmanship of your. zalman z1 iceberg is a mini tower case that supports micro atx and mini itx motherboards. Equipped with a tempered glass swing. gamdias atx mid tower gaming computer pc case with side tempered glass swing. gamdias atx mid tower gaming computer pc case with tempered glass swing door,. Swing Door Pc Case.
From www.desertcart.in
GOLDEN FIELD Z21 PC Gaming Case, EATX/ATX/MATX /ITX Mid Tower, Computer Swing Door Pc Case Show off the true craftsmanship of your. gamdias atx mid tower gaming computer pc case with side tempered glass swing. gamdias atx mid tower gaming computer pc case with tempered glass swing door,. zalman z1 iceberg is a mini tower case that supports micro atx and mini itx motherboards. Equipped with a tempered glass swing. Swing Door Pc Case.
From cayman.desertcart.com
Buy darkFlash V22 Black Mid Tower Computer Case ATX Micro ATX Mini ITX Swing Door Pc Case Equipped with a tempered glass swing. gamdias atx mid tower gaming computer pc case with side tempered glass swing. gamdias atx mid tower gaming computer pc case with tempered glass swing door,. zalman z1 iceberg is a mini tower case that supports micro atx and mini itx motherboards. Show off the true craftsmanship of your. Swing Door Pc Case.
From www.desertcart.lk
Buy GOLDEN FIELD Z21 PC Gaming Case, EATX/ATX/MATX /ITX Mid Tower Swing Door Pc Case Equipped with a tempered glass swing. zalman z1 iceberg is a mini tower case that supports micro atx and mini itx motherboards. gamdias atx mid tower gaming computer pc case with side tempered glass swing. gamdias atx mid tower gaming computer pc case with tempered glass swing door,. Show off the true craftsmanship of your. Swing Door Pc Case.
From www.binarytides.com
Top 9 Best Corsair PC Cases in 2023 Mid/Full Tower, Radiator Support Swing Door Pc Case Show off the true craftsmanship of your. gamdias atx mid tower gaming computer pc case with side tempered glass swing. zalman z1 iceberg is a mini tower case that supports micro atx and mini itx motherboards. gamdias atx mid tower gaming computer pc case with tempered glass swing door,. Equipped with a tempered glass swing. Swing Door Pc Case.
From www.google.com
Patent US6097591 Computer case with swingout motherboard/backplane Swing Door Pc Case gamdias atx mid tower gaming computer pc case with side tempered glass swing. Equipped with a tempered glass swing. Show off the true craftsmanship of your. gamdias atx mid tower gaming computer pc case with tempered glass swing door,. zalman z1 iceberg is a mini tower case that supports micro atx and mini itx motherboards. Swing Door Pc Case.
From www.desertcart.co.ke
Buy GOLDEN FIELD Z20 Tempered Glass MidTower EATX/ATX/Micro ATX/ITX Swing Door Pc Case gamdias atx mid tower gaming computer pc case with side tempered glass swing. Show off the true craftsmanship of your. gamdias atx mid tower gaming computer pc case with tempered glass swing door,. Equipped with a tempered glass swing. zalman z1 iceberg is a mini tower case that supports micro atx and mini itx motherboards. Swing Door Pc Case.
From www.ebay.com
UnderCover SC401D Driver Side Swing Case eBay Swing Door Pc Case Equipped with a tempered glass swing. gamdias atx mid tower gaming computer pc case with tempered glass swing door,. Show off the true craftsmanship of your. zalman z1 iceberg is a mini tower case that supports micro atx and mini itx motherboards. gamdias atx mid tower gaming computer pc case with side tempered glass swing. Swing Door Pc Case.
From www.walmart.ca
GOLDEN FIELD Z20 Computer Case 3 RGB Fans Mid Tower EATX/ATX/MATX/ITX Swing Door Pc Case gamdias atx mid tower gaming computer pc case with side tempered glass swing. gamdias atx mid tower gaming computer pc case with tempered glass swing door,. Show off the true craftsmanship of your. Equipped with a tempered glass swing. zalman z1 iceberg is a mini tower case that supports micro atx and mini itx motherboards. Swing Door Pc Case.
From estron.com.sg
ESTRON USS60 Ultra Slim Aluminium Frame Swing Door Estron Marketing Swing Door Pc Case gamdias atx mid tower gaming computer pc case with side tempered glass swing. zalman z1 iceberg is a mini tower case that supports micro atx and mini itx motherboards. Show off the true craftsmanship of your. gamdias atx mid tower gaming computer pc case with tempered glass swing door,. Equipped with a tempered glass swing. Swing Door Pc Case.
From www.desertcart.ae
Buy darkFlash Micro ATX Mini ITX Tower MicroATX Computer Case with Swing Door Pc Case Equipped with a tempered glass swing. Show off the true craftsmanship of your. gamdias atx mid tower gaming computer pc case with side tempered glass swing. gamdias atx mid tower gaming computer pc case with tempered glass swing door,. zalman z1 iceberg is a mini tower case that supports micro atx and mini itx motherboards. Swing Door Pc Case.
From haidadoorcontrol.en.made-in-china.com
Automatic Swing Door Opener for Extra Heavy Patio Gates China Swing Swing Door Pc Case gamdias atx mid tower gaming computer pc case with tempered glass swing door,. zalman z1 iceberg is a mini tower case that supports micro atx and mini itx motherboards. Show off the true craftsmanship of your. Equipped with a tempered glass swing. gamdias atx mid tower gaming computer pc case with side tempered glass swing. Swing Door Pc Case.
From www.jagatreview.com
[PR] Dual Swing Door Fulltower PC case Thermaltake Urban T81 • Jagat Swing Door Pc Case zalman z1 iceberg is a mini tower case that supports micro atx and mini itx motherboards. gamdias atx mid tower gaming computer pc case with side tempered glass swing. gamdias atx mid tower gaming computer pc case with tempered glass swing door,. Show off the true craftsmanship of your. Equipped with a tempered glass swing. Swing Door Pc Case.
From www.lowes.com
VEIKOUS PC Roof 3person Gray Steel Outdoor Swing Bed in the Porch Swing Door Pc Case Equipped with a tempered glass swing. gamdias atx mid tower gaming computer pc case with side tempered glass swing. Show off the true craftsmanship of your. gamdias atx mid tower gaming computer pc case with tempered glass swing door,. zalman z1 iceberg is a mini tower case that supports micro atx and mini itx motherboards. Swing Door Pc Case.
From fado.vn
Mua Zalman M4 ARGB Gaming PC Case 4 x 120mm Addressable RGB Fans Pre Swing Door Pc Case zalman z1 iceberg is a mini tower case that supports micro atx and mini itx motherboards. gamdias atx mid tower gaming computer pc case with side tempered glass swing. Equipped with a tempered glass swing. gamdias atx mid tower gaming computer pc case with tempered glass swing door,. Show off the true craftsmanship of your. Swing Door Pc Case.
From www.vovgroup.com
Automatic Door ประเภทของประตูอัตโนมัติ มีแบบไหนและมีส่วนประกอบสำคัญอะไรบ้าง Swing Door Pc Case gamdias atx mid tower gaming computer pc case with tempered glass swing door,. Show off the true craftsmanship of your. gamdias atx mid tower gaming computer pc case with side tempered glass swing. Equipped with a tempered glass swing. zalman z1 iceberg is a mini tower case that supports micro atx and mini itx motherboards. Swing Door Pc Case.
From 3dwarehouse.sketchup.com
Double swing door with Handle 3D Warehouse Swing Door Pc Case zalman z1 iceberg is a mini tower case that supports micro atx and mini itx motherboards. Equipped with a tempered glass swing. Show off the true craftsmanship of your. gamdias atx mid tower gaming computer pc case with tempered glass swing door,. gamdias atx mid tower gaming computer pc case with side tempered glass swing. Swing Door Pc Case.
From www.automaticdoorstore.co.uk
How Automatic Swing Doors Work For Businesses? Automatic Doors Repair Swing Door Pc Case zalman z1 iceberg is a mini tower case that supports micro atx and mini itx motherboards. gamdias atx mid tower gaming computer pc case with tempered glass swing door,. Equipped with a tempered glass swing. Show off the true craftsmanship of your. gamdias atx mid tower gaming computer pc case with side tempered glass swing. Swing Door Pc Case.
From www.desertcart.com.cy
Buy darkFlash V22 White Mid Tower Computer Case ATX Micro ATX Mini ITX Swing Door Pc Case Show off the true craftsmanship of your. zalman z1 iceberg is a mini tower case that supports micro atx and mini itx motherboards. Equipped with a tempered glass swing. gamdias atx mid tower gaming computer pc case with tempered glass swing door,. gamdias atx mid tower gaming computer pc case with side tempered glass swing. Swing Door Pc Case.
From www.nellisauction.com
Zalman I3 NEO Black Edition Airflow ATX Computer Case with Mesh Front Swing Door Pc Case gamdias atx mid tower gaming computer pc case with tempered glass swing door,. Equipped with a tempered glass swing. zalman z1 iceberg is a mini tower case that supports micro atx and mini itx motherboards. gamdias atx mid tower gaming computer pc case with side tempered glass swing. Show off the true craftsmanship of your. Swing Door Pc Case.
From www.nellisauction.com
darkFlash Micro ATX Mini ITX Tower MicroATX Computer Case with Swing Door Pc Case zalman z1 iceberg is a mini tower case that supports micro atx and mini itx motherboards. gamdias atx mid tower gaming computer pc case with side tempered glass swing. Show off the true craftsmanship of your. Equipped with a tempered glass swing. gamdias atx mid tower gaming computer pc case with tempered glass swing door,. Swing Door Pc Case.
From www.walmart.ca
GOLDEN FIELD Z20 Mid Tower Computer Case EATX/ATX/Micro ATX/ITX Gaming Swing Door Pc Case gamdias atx mid tower gaming computer pc case with tempered glass swing door,. Show off the true craftsmanship of your. gamdias atx mid tower gaming computer pc case with side tempered glass swing. zalman z1 iceberg is a mini tower case that supports micro atx and mini itx motherboards. Equipped with a tempered glass swing. Swing Door Pc Case.
From www.desertcart.lk
Buy GOLDEN FIELD Z21 PC Gaming Case, EATX/ATX/MATX /ITX Mid Tower Swing Door Pc Case gamdias atx mid tower gaming computer pc case with tempered glass swing door,. Equipped with a tempered glass swing. Show off the true craftsmanship of your. gamdias atx mid tower gaming computer pc case with side tempered glass swing. zalman z1 iceberg is a mini tower case that supports micro atx and mini itx motherboards. Swing Door Pc Case.
From www.desertcart.lk
Buy GOLDEN FIELD Z21 PC Gaming Case, EATX/ATX/MATX /ITX Mid Tower Swing Door Pc Case Equipped with a tempered glass swing. gamdias atx mid tower gaming computer pc case with side tempered glass swing. Show off the true craftsmanship of your. gamdias atx mid tower gaming computer pc case with tempered glass swing door,. zalman z1 iceberg is a mini tower case that supports micro atx and mini itx motherboards. Swing Door Pc Case.
From www.desertcart.in
Buy GOLDEN FIELD Z21 PC Gaming Case, EATX/ATX/MATX /ITX Mid Tower Swing Door Pc Case Equipped with a tempered glass swing. gamdias atx mid tower gaming computer pc case with tempered glass swing door,. gamdias atx mid tower gaming computer pc case with side tempered glass swing. zalman z1 iceberg is a mini tower case that supports micro atx and mini itx motherboards. Show off the true craftsmanship of your. Swing Door Pc Case.
From www.desertcart.in
GOLDEN FIELD Z21 PC Gaming Case, EATX/ATX/MATX /ITX Mid Tower, Computer Swing Door Pc Case gamdias atx mid tower gaming computer pc case with side tempered glass swing. gamdias atx mid tower gaming computer pc case with tempered glass swing door,. Equipped with a tempered glass swing. zalman z1 iceberg is a mini tower case that supports micro atx and mini itx motherboards. Show off the true craftsmanship of your. Swing Door Pc Case.
From pet-corp.myshopify.com
Manual Swing Dog Door PC13 petcorp Swing Door Pc Case zalman z1 iceberg is a mini tower case that supports micro atx and mini itx motherboards. Equipped with a tempered glass swing. Show off the true craftsmanship of your. gamdias atx mid tower gaming computer pc case with tempered glass swing door,. gamdias atx mid tower gaming computer pc case with side tempered glass swing. Swing Door Pc Case.
From www.desertcart.lk
Buy GAMDIAS ATX Mid Tower Gaming Case with 3 x 120mm ARGB Computer Fans Swing Door Pc Case Show off the true craftsmanship of your. Equipped with a tempered glass swing. zalman z1 iceberg is a mini tower case that supports micro atx and mini itx motherboards. gamdias atx mid tower gaming computer pc case with side tempered glass swing. gamdias atx mid tower gaming computer pc case with tempered glass swing door,. Swing Door Pc Case.