Transmission Issues Jimny . automatic transmission issues for jimny models with automatic transmissions, delayed shifting and rough gear changes can be. Some of the most common symptoms of clutch issues include difficulty shifting gears, slipping out of gear, or a burning smell coming from under the hood. so i’ve been driving my jimny for a few months now and recently i’ve been having problems driving uphill or from a. most people say it's the transfer chain, this thread is the first time i've heard it could be the lsd, other people have said it's an abs issue. one of the most common transmission problems in a suzuki jimny is clutch issues. the electrical side has worked fine up until now but your transmission has had known issues which will have.
from www.pakwheels.com
so i’ve been driving my jimny for a few months now and recently i’ve been having problems driving uphill or from a. the electrical side has worked fine up until now but your transmission has had known issues which will have. one of the most common transmission problems in a suzuki jimny is clutch issues. most people say it's the transfer chain, this thread is the first time i've heard it could be the lsd, other people have said it's an abs issue. Some of the most common symptoms of clutch issues include difficulty shifting gears, slipping out of gear, or a burning smell coming from under the hood. automatic transmission issues for jimny models with automatic transmissions, delayed shifting and rough gear changes can be.
Jimny 660cc 4WDL light flashing 3 times Jimny PakWheels Forums
Transmission Issues Jimny so i’ve been driving my jimny for a few months now and recently i’ve been having problems driving uphill or from a. most people say it's the transfer chain, this thread is the first time i've heard it could be the lsd, other people have said it's an abs issue. the electrical side has worked fine up until now but your transmission has had known issues which will have. one of the most common transmission problems in a suzuki jimny is clutch issues. Some of the most common symptoms of clutch issues include difficulty shifting gears, slipping out of gear, or a burning smell coming from under the hood. so i’ve been driving my jimny for a few months now and recently i’ve been having problems driving uphill or from a. automatic transmission issues for jimny models with automatic transmissions, delayed shifting and rough gear changes can be.
From www.youtube.com
Used Suzuki Jimny 3 Reliability Most Common Problems Faults and Transmission Issues Jimny most people say it's the transfer chain, this thread is the first time i've heard it could be the lsd, other people have said it's an abs issue. Some of the most common symptoms of clutch issues include difficulty shifting gears, slipping out of gear, or a burning smell coming from under the hood. so i’ve been driving. Transmission Issues Jimny.
From www.b-parts.com
Manual gearbox SUZUKI JIMNY Closed OffRoad Vehicle (SN) 1.5 DDiS 4x4 Transmission Issues Jimny one of the most common transmission problems in a suzuki jimny is clutch issues. the electrical side has worked fine up until now but your transmission has had known issues which will have. automatic transmission issues for jimny models with automatic transmissions, delayed shifting and rough gear changes can be. most people say it's the transfer. Transmission Issues Jimny.
From www.alberdi.fr
Arbre de transmission (propulsion) SUZUKI JIMNY 1 PHASE 1 Essence Alberdi Transmission Issues Jimny automatic transmission issues for jimny models with automatic transmissions, delayed shifting and rough gear changes can be. most people say it's the transfer chain, this thread is the first time i've heard it could be the lsd, other people have said it's an abs issue. the electrical side has worked fine up until now but your transmission. Transmission Issues Jimny.
From www.youtube.com
Buying advice with Common Issues Suzuki Jimny JB43 restyling 1 YouTube Transmission Issues Jimny the electrical side has worked fine up until now but your transmission has had known issues which will have. so i’ve been driving my jimny for a few months now and recently i’ve been having problems driving uphill or from a. most people say it's the transfer chain, this thread is the first time i've heard it. Transmission Issues Jimny.
From www.megazip.net
at transmission case for 2008 2011 Suzuki JIMNY JB23W Japan sales Transmission Issues Jimny the electrical side has worked fine up until now but your transmission has had known issues which will have. so i’ve been driving my jimny for a few months now and recently i’ve been having problems driving uphill or from a. automatic transmission issues for jimny models with automatic transmissions, delayed shifting and rough gear changes can. Transmission Issues Jimny.
From partsouq.com
7. Transmission Suzuki Jimny SN413 SN413V3 Parts Catalogs PartSouq Transmission Issues Jimny one of the most common transmission problems in a suzuki jimny is clutch issues. most people say it's the transfer chain, this thread is the first time i've heard it could be the lsd, other people have said it's an abs issue. automatic transmission issues for jimny models with automatic transmissions, delayed shifting and rough gear changes. Transmission Issues Jimny.
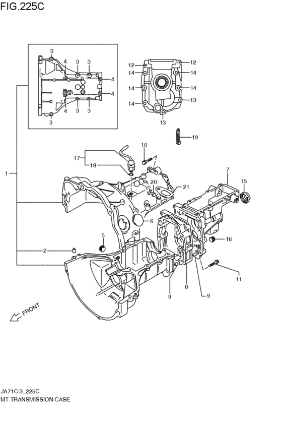
From www.megazip.net
mt transmission case for 1990 1991 Suzuki JIMNY JA11C Japan sales Transmission Issues Jimny automatic transmission issues for jimny models with automatic transmissions, delayed shifting and rough gear changes can be. the electrical side has worked fine up until now but your transmission has had known issues which will have. one of the most common transmission problems in a suzuki jimny is clutch issues. most people say it's the transfer. Transmission Issues Jimny.
From aboutautonews.com
Maruti Jimny MT vs AT Which transmission would you buy? AboutAutoNews Transmission Issues Jimny one of the most common transmission problems in a suzuki jimny is clutch issues. so i’ve been driving my jimny for a few months now and recently i’ve been having problems driving uphill or from a. most people say it's the transfer chain, this thread is the first time i've heard it could be the lsd, other. Transmission Issues Jimny.
From www.opisto.fr
Arbre de transmission avant SUZUKI JIMNY 1 PHASE 2 Diesel occasion Opisto Transmission Issues Jimny so i’ve been driving my jimny for a few months now and recently i’ve been having problems driving uphill or from a. one of the most common transmission problems in a suzuki jimny is clutch issues. Some of the most common symptoms of clutch issues include difficulty shifting gears, slipping out of gear, or a burning smell coming. Transmission Issues Jimny.
From www.megazip.net
mt transmission gear for 2005 2011 Suzuki JIMNY JB23W Japan sales Transmission Issues Jimny Some of the most common symptoms of clutch issues include difficulty shifting gears, slipping out of gear, or a burning smell coming from under the hood. the electrical side has worked fine up until now but your transmission has had known issues which will have. most people say it's the transfer chain, this thread is the first time. Transmission Issues Jimny.
From mungfali.com
Suzuki Jimny Gearbox Diagram Transmission Issues Jimny the electrical side has worked fine up until now but your transmission has had known issues which will have. Some of the most common symptoms of clutch issues include difficulty shifting gears, slipping out of gear, or a burning smell coming from under the hood. automatic transmission issues for jimny models with automatic transmissions, delayed shifting and rough. Transmission Issues Jimny.
From www.youtube.com
FMS Jimny Transmission issue How to fix! rccars fms YouTube Transmission Issues Jimny automatic transmission issues for jimny models with automatic transmissions, delayed shifting and rough gear changes can be. most people say it's the transfer chain, this thread is the first time i've heard it could be the lsd, other people have said it's an abs issue. the electrical side has worked fine up until now but your transmission. Transmission Issues Jimny.
From www.megazip.net
at transmission case for 1998 1999 Suzuki JIMNY JB23W Japan sales Transmission Issues Jimny the electrical side has worked fine up until now but your transmission has had known issues which will have. automatic transmission issues for jimny models with automatic transmissions, delayed shifting and rough gear changes can be. one of the most common transmission problems in a suzuki jimny is clutch issues. most people say it's the transfer. Transmission Issues Jimny.
From www.sikayetvar.com
Suzuki Jimny Transmission Problem, Warranty Claim Denied Due to Transmission Issues Jimny the electrical side has worked fine up until now but your transmission has had known issues which will have. automatic transmission issues for jimny models with automatic transmissions, delayed shifting and rough gear changes can be. one of the most common transmission problems in a suzuki jimny is clutch issues. most people say it's the transfer. Transmission Issues Jimny.
From circuitlibdorie.z21.web.core.windows.net
Indications Of Transmission Problem Transmission Issues Jimny most people say it's the transfer chain, this thread is the first time i've heard it could be the lsd, other people have said it's an abs issue. one of the most common transmission problems in a suzuki jimny is clutch issues. the electrical side has worked fine up until now but your transmission has had known. Transmission Issues Jimny.
From www.youtube.com
Whats Inside The Hood of Suzuki Jimny Manual Transmission YouTube Transmission Issues Jimny so i’ve been driving my jimny for a few months now and recently i’ve been having problems driving uphill or from a. automatic transmission issues for jimny models with automatic transmissions, delayed shifting and rough gear changes can be. Some of the most common symptoms of clutch issues include difficulty shifting gears, slipping out of gear, or a. Transmission Issues Jimny.
From www.megazip.net
at transmission case for 2003 2011 Suzuki JIMNY JB23W Japan sales Transmission Issues Jimny so i’ve been driving my jimny for a few months now and recently i’ve been having problems driving uphill or from a. most people say it's the transfer chain, this thread is the first time i've heard it could be the lsd, other people have said it's an abs issue. the electrical side has worked fine up. Transmission Issues Jimny.
From www.megazip.net
Mt transmission for Suzuki JIMNY SN413Q Pacific sales region Transmission Issues Jimny the electrical side has worked fine up until now but your transmission has had known issues which will have. most people say it's the transfer chain, this thread is the first time i've heard it could be the lsd, other people have said it's an abs issue. automatic transmission issues for jimny models with automatic transmissions, delayed. Transmission Issues Jimny.
From www.megazip.net
mt transmission case for 2003 2011 Suzuki JIMNY JB23W Japan sales Transmission Issues Jimny one of the most common transmission problems in a suzuki jimny is clutch issues. automatic transmission issues for jimny models with automatic transmissions, delayed shifting and rough gear changes can be. Some of the most common symptoms of clutch issues include difficulty shifting gears, slipping out of gear, or a burning smell coming from under the hood. . Transmission Issues Jimny.
From mungfali.com
Suzuki Jimny Gearbox Diagram Transmission Issues Jimny automatic transmission issues for jimny models with automatic transmissions, delayed shifting and rough gear changes can be. most people say it's the transfer chain, this thread is the first time i've heard it could be the lsd, other people have said it's an abs issue. Some of the most common symptoms of clutch issues include difficulty shifting gears,. Transmission Issues Jimny.
From mungfali.com
Suzuki Jimny Gearbox Diagram Transmission Issues Jimny most people say it's the transfer chain, this thread is the first time i've heard it could be the lsd, other people have said it's an abs issue. automatic transmission issues for jimny models with automatic transmissions, delayed shifting and rough gear changes can be. one of the most common transmission problems in a suzuki jimny is. Transmission Issues Jimny.
From news.abplive.com
Maruti Suzuki Jimny Manual Vs Automatic Which Is The Better Option? Transmission Issues Jimny Some of the most common symptoms of clutch issues include difficulty shifting gears, slipping out of gear, or a burning smell coming from under the hood. the electrical side has worked fine up until now but your transmission has had known issues which will have. one of the most common transmission problems in a suzuki jimny is clutch. Transmission Issues Jimny.
From mungfali.com
Suzuki Jimny Gearbox Diagram Transmission Issues Jimny most people say it's the transfer chain, this thread is the first time i've heard it could be the lsd, other people have said it's an abs issue. the electrical side has worked fine up until now but your transmission has had known issues which will have. automatic transmission issues for jimny models with automatic transmissions, delayed. Transmission Issues Jimny.
From www.team-bhp.com
Maruti Jimny MT vs AT Which transmission would you buy? TeamBHP Transmission Issues Jimny one of the most common transmission problems in a suzuki jimny is clutch issues. so i’ve been driving my jimny for a few months now and recently i’ve been having problems driving uphill or from a. most people say it's the transfer chain, this thread is the first time i've heard it could be the lsd, other. Transmission Issues Jimny.
From chevrolet.7zap.com
AUTOMATIC TRANSMISSION (AT) CHEVROLET jimny Jimny SN413V2, 3, 4 Transmission Issues Jimny Some of the most common symptoms of clutch issues include difficulty shifting gears, slipping out of gear, or a burning smell coming from under the hood. most people say it's the transfer chain, this thread is the first time i've heard it could be the lsd, other people have said it's an abs issue. one of the most. Transmission Issues Jimny.
From www.suzuki-forums.com
Suzuki Jimny Automatic Transmission 2008 Suzuki Forums Suzuki Forum Site Transmission Issues Jimny Some of the most common symptoms of clutch issues include difficulty shifting gears, slipping out of gear, or a burning smell coming from under the hood. one of the most common transmission problems in a suzuki jimny is clutch issues. the electrical side has worked fine up until now but your transmission has had known issues which will. Transmission Issues Jimny.
From www.suzuki-forums.com
Suzuki Jimny Automatic Transmission 2008 Suzuki Forums Suzuki Forum Site Transmission Issues Jimny one of the most common transmission problems in a suzuki jimny is clutch issues. the electrical side has worked fine up until now but your transmission has had known issues which will have. automatic transmission issues for jimny models with automatic transmissions, delayed shifting and rough gear changes can be. most people say it's the transfer. Transmission Issues Jimny.
From www.suzuki-forums.com
Suzuki Jimny Automatic Transmission 2008 Suzuki Forums Transmission Issues Jimny one of the most common transmission problems in a suzuki jimny is clutch issues. most people say it's the transfer chain, this thread is the first time i've heard it could be the lsd, other people have said it's an abs issue. Some of the most common symptoms of clutch issues include difficulty shifting gears, slipping out of. Transmission Issues Jimny.
From www.megazip.net
mt transmission case for 1997 2011 Suzuki JIMNY JA12W Japan sales Transmission Issues Jimny most people say it's the transfer chain, this thread is the first time i've heard it could be the lsd, other people have said it's an abs issue. Some of the most common symptoms of clutch issues include difficulty shifting gears, slipping out of gear, or a burning smell coming from under the hood. so i’ve been driving. Transmission Issues Jimny.
From www.pakwheels.com
Jimny 660cc 4WDL light flashing 3 times Jimny PakWheels Forums Transmission Issues Jimny most people say it's the transfer chain, this thread is the first time i've heard it could be the lsd, other people have said it's an abs issue. so i’ve been driving my jimny for a few months now and recently i’ve been having problems driving uphill or from a. the electrical side has worked fine up. Transmission Issues Jimny.
From indianautosblog.com
2018 Suzuki Jimny transmission tunnel Transmission Issues Jimny one of the most common transmission problems in a suzuki jimny is clutch issues. automatic transmission issues for jimny models with automatic transmissions, delayed shifting and rough gear changes can be. Some of the most common symptoms of clutch issues include difficulty shifting gears, slipping out of gear, or a burning smell coming from under the hood. . Transmission Issues Jimny.
From www.megazip.net
mt transmission case for 2010 2011 Suzuki JIMNY JB23W Japan sales Transmission Issues Jimny Some of the most common symptoms of clutch issues include difficulty shifting gears, slipping out of gear, or a burning smell coming from under the hood. most people say it's the transfer chain, this thread is the first time i've heard it could be the lsd, other people have said it's an abs issue. automatic transmission issues for. Transmission Issues Jimny.
From www.megazip.net
mt transmission case for 1989 1990 Suzuki JIMNY JA71V Japan sales Transmission Issues Jimny so i’ve been driving my jimny for a few months now and recently i’ve been having problems driving uphill or from a. automatic transmission issues for jimny models with automatic transmissions, delayed shifting and rough gear changes can be. Some of the most common symptoms of clutch issues include difficulty shifting gears, slipping out of gear, or a. Transmission Issues Jimny.
From suzukijimnyblog.com
Suzuki Jimny Years to Avoid Due to Rust & Engine Problems Compact Transmission Issues Jimny automatic transmission issues for jimny models with automatic transmissions, delayed shifting and rough gear changes can be. most people say it's the transfer chain, this thread is the first time i've heard it could be the lsd, other people have said it's an abs issue. the electrical side has worked fine up until now but your transmission. Transmission Issues Jimny.
From mungfali.com
Suzuki Jimny Gearbox Diagram Transmission Issues Jimny so i’ve been driving my jimny for a few months now and recently i’ve been having problems driving uphill or from a. Some of the most common symptoms of clutch issues include difficulty shifting gears, slipping out of gear, or a burning smell coming from under the hood. most people say it's the transfer chain, this thread is. Transmission Issues Jimny.