Rax Rulership 3 . to determine your incarnation cross, you will need your unconscious design and conscious personality sun and earth gate numbers. the right angle cross of rulership 3 is a powerful and influential cross in human design. Your energy brings forward the. This grouping conveys traits of openness, realization, egoism, and gathering together. if you have a right angle cross of rulership in your human design chart, your life is meant to be… well, a little different. the right angle cross of rulership (22/47 | 26/45) in human design combines the energies of gates 22, 47, 26, and 45. the right angle cross of rulership empowers you to rule your world with grace. Its name derives from gate 45, one of the key gates involved, which is. the energy of your cross of rulership is about taking power and controlling your piece of land. the right angle cross of rulership 3 (47/22 | 45/26) you are here to make sense out of the past.
from www.deviantart.com
the energy of your cross of rulership is about taking power and controlling your piece of land. to determine your incarnation cross, you will need your unconscious design and conscious personality sun and earth gate numbers. the right angle cross of rulership 3 is a powerful and influential cross in human design. Your energy brings forward the. This grouping conveys traits of openness, realization, egoism, and gathering together. the right angle cross of rulership (22/47 | 26/45) in human design combines the energies of gates 22, 47, 26, and 45. the right angle cross of rulership 3 (47/22 | 45/26) you are here to make sense out of the past. Its name derives from gate 45, one of the key gates involved, which is. if you have a right angle cross of rulership in your human design chart, your life is meant to be… well, a little different. the right angle cross of rulership empowers you to rule your world with grace.
Rulership by JazzlasterBoris on DeviantArt
Rax Rulership 3 This grouping conveys traits of openness, realization, egoism, and gathering together. the right angle cross of rulership empowers you to rule your world with grace. the right angle cross of rulership 3 is a powerful and influential cross in human design. Your energy brings forward the. Its name derives from gate 45, one of the key gates involved, which is. the energy of your cross of rulership is about taking power and controlling your piece of land. if you have a right angle cross of rulership in your human design chart, your life is meant to be… well, a little different. This grouping conveys traits of openness, realization, egoism, and gathering together. the right angle cross of rulership (22/47 | 26/45) in human design combines the energies of gates 22, 47, 26, and 45. to determine your incarnation cross, you will need your unconscious design and conscious personality sun and earth gate numbers. the right angle cross of rulership 3 (47/22 | 45/26) you are here to make sense out of the past.
From www.drivethrurpg.com
Ultimate Rulership (PF2) Legendary Games Ultimate PlugIns Rax Rulership 3 to determine your incarnation cross, you will need your unconscious design and conscious personality sun and earth gate numbers. if you have a right angle cross of rulership in your human design chart, your life is meant to be… well, a little different. the right angle cross of rulership 3 (47/22 | 45/26) you are here to. Rax Rulership 3.
From www.reddit.com
Username checks out r/UsernameChecksOut Rax Rulership 3 the energy of your cross of rulership is about taking power and controlling your piece of land. the right angle cross of rulership (22/47 | 26/45) in human design combines the energies of gates 22, 47, 26, and 45. Its name derives from gate 45, one of the key gates involved, which is. This grouping conveys traits of. Rax Rulership 3.
From modslab.net
Download Rulership for Mount And Blade Bannerlord Rax Rulership 3 This grouping conveys traits of openness, realization, egoism, and gathering together. the energy of your cross of rulership is about taking power and controlling your piece of land. the right angle cross of rulership 3 (47/22 | 45/26) you are here to make sense out of the past. to determine your incarnation cross, you will need your. Rax Rulership 3.
From sceneryenzo.nl
Rax Darkcutter Human Warlock 02671 (metal) Scenery en Zo Rax Rulership 3 Its name derives from gate 45, one of the key gates involved, which is. the right angle cross of rulership 3 (47/22 | 45/26) you are here to make sense out of the past. if you have a right angle cross of rulership in your human design chart, your life is meant to be… well, a little different.. Rax Rulership 3.
From www.youtube.com
Preparing for Rulership 3 YouTube Rax Rulership 3 This grouping conveys traits of openness, realization, egoism, and gathering together. the right angle cross of rulership 3 (47/22 | 45/26) you are here to make sense out of the past. if you have a right angle cross of rulership in your human design chart, your life is meant to be… well, a little different. Your energy brings. Rax Rulership 3.
From paizo.com
Ultimate Rulership (PFRPG) PDF Rax Rulership 3 Its name derives from gate 45, one of the key gates involved, which is. the energy of your cross of rulership is about taking power and controlling your piece of land. This grouping conveys traits of openness, realization, egoism, and gathering together. the right angle cross of rulership (22/47 | 26/45) in human design combines the energies of. Rax Rulership 3.
From sitraxis.com
Rites of Rulership UI Sitraxis Rax Rulership 3 the right angle cross of rulership 3 is a powerful and influential cross in human design. the right angle cross of rulership empowers you to rule your world with grace. if you have a right angle cross of rulership in your human design chart, your life is meant to be… well, a little different. This grouping conveys. Rax Rulership 3.
From www.reddit.com
2/4 Manifesting Generator Sacral Authority w/ Right Angle Cross of Rax Rulership 3 the right angle cross of rulership (22/47 | 26/45) in human design combines the energies of gates 22, 47, 26, and 45. to determine your incarnation cross, you will need your unconscious design and conscious personality sun and earth gate numbers. the right angle cross of rulership empowers you to rule your world with grace. if. Rax Rulership 3.
From www.vecteezy.com
Zodiac Sign Rulership 15088279 Vector Art at Vecteezy Rax Rulership 3 the right angle cross of rulership (22/47 | 26/45) in human design combines the energies of gates 22, 47, 26, and 45. the energy of your cross of rulership is about taking power and controlling your piece of land. Its name derives from gate 45, one of the key gates involved, which is. the right angle cross. Rax Rulership 3.
From www.sg-as.com
SG Armaturen Products Rax Soft Surface 150 IP65 Rax Rulership 3 the right angle cross of rulership (22/47 | 26/45) in human design combines the energies of gates 22, 47, 26, and 45. Your energy brings forward the. the energy of your cross of rulership is about taking power and controlling your piece of land. the right angle cross of rulership empowers you to rule your world with. Rax Rulership 3.
From www.researchgate.net
Conceptual scheme of the RAX workflow Similarities between the target Rax Rulership 3 to determine your incarnation cross, you will need your unconscious design and conscious personality sun and earth gate numbers. the right angle cross of rulership 3 (47/22 | 45/26) you are here to make sense out of the past. the energy of your cross of rulership is about taking power and controlling your piece of land. . Rax Rulership 3.
From rax.base.shop
Rax Rulership 3 This grouping conveys traits of openness, realization, egoism, and gathering together. if you have a right angle cross of rulership in your human design chart, your life is meant to be… well, a little different. the right angle cross of rulership empowers you to rule your world with grace. the energy of your cross of rulership is. Rax Rulership 3.
From rax.glynn.k12.ga.us
Schools Closed Thursday Ahead of Hurricane Milton Risley Annex Rax Rulership 3 Your energy brings forward the. Its name derives from gate 45, one of the key gates involved, which is. the energy of your cross of rulership is about taking power and controlling your piece of land. the right angle cross of rulership 3 (47/22 | 45/26) you are here to make sense out of the past. if. Rax Rulership 3.
From rixproducts.com
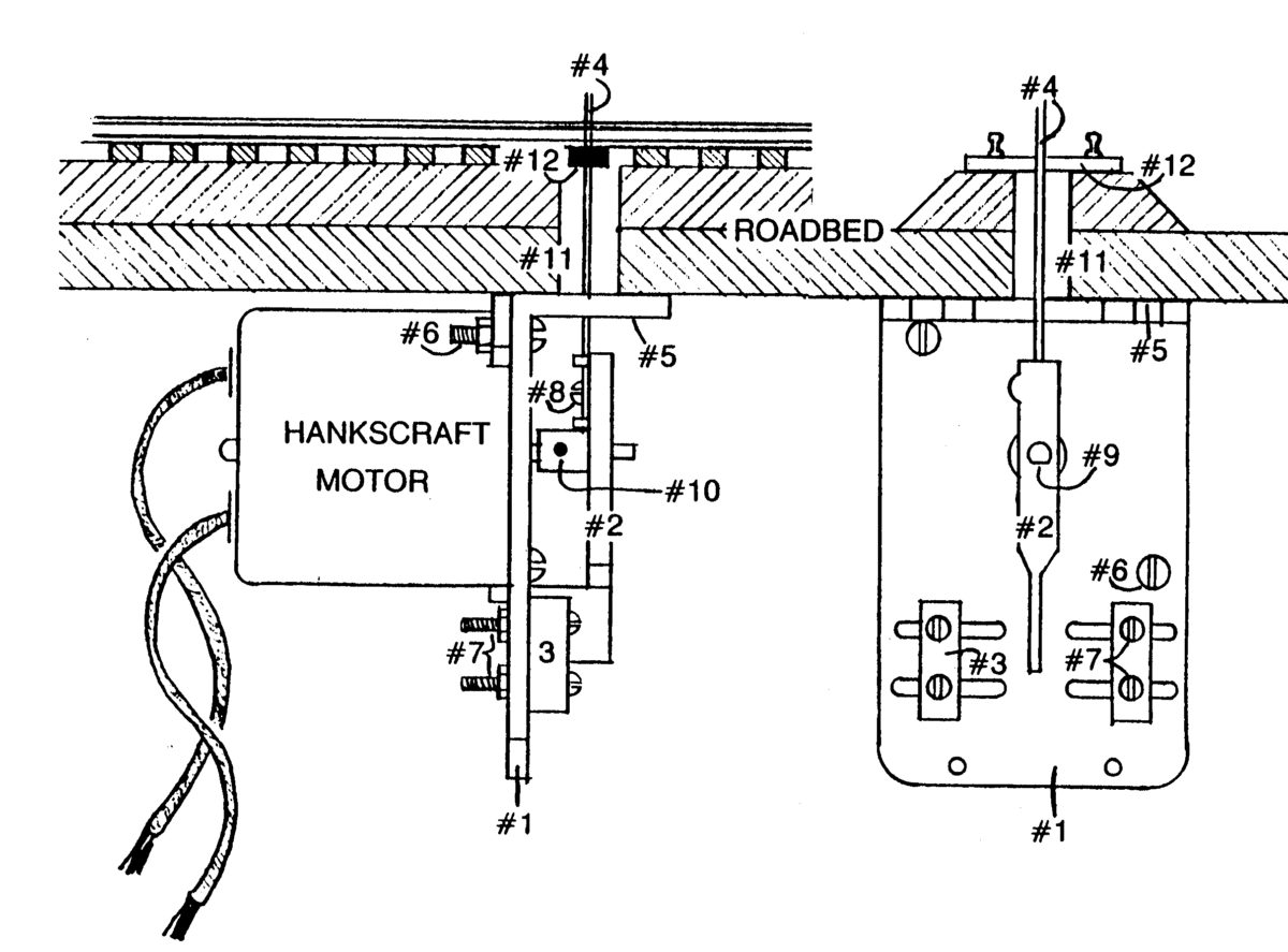
Rix Rax 21 for Hankscraft Display Motor. Rix Products Inc. Rax Rulership 3 the energy of your cross of rulership is about taking power and controlling your piece of land. to determine your incarnation cross, you will need your unconscious design and conscious personality sun and earth gate numbers. the right angle cross of rulership empowers you to rule your world with grace. if you have a right angle. Rax Rulership 3.
From studycorgi.com
Forms of Rulership Consulship and Tetrarchy Free Essay Example Rax Rulership 3 the right angle cross of rulership (22/47 | 26/45) in human design combines the energies of gates 22, 47, 26, and 45. Your energy brings forward the. to determine your incarnation cross, you will need your unconscious design and conscious personality sun and earth gate numbers. the right angle cross of rulership 3 is a powerful and. Rax Rulership 3.
From www.youtube.com
6/04/2023 Session 1 What We Believe God's Rulership 3 YouTube Rax Rulership 3 the energy of your cross of rulership is about taking power and controlling your piece of land. if you have a right angle cross of rulership in your human design chart, your life is meant to be… well, a little different. the right angle cross of rulership 3 is a powerful and influential cross in human design.. Rax Rulership 3.
From www.prayersfire.com
DAY 9 BOG (MIDNIGHT) A CHOICE BETWEEN RULERSHIP AND SLAVERY PRAYERS FIRE Rax Rulership 3 the right angle cross of rulership 3 (47/22 | 45/26) you are here to make sense out of the past. the right angle cross of rulership 3 is a powerful and influential cross in human design. Its name derives from gate 45, one of the key gates involved, which is. to determine your incarnation cross, you will. Rax Rulership 3.
From www.nzherald.co.nz
Davos 2021 EU urges US to draft joint rule book to rein in tech giants Rax Rulership 3 to determine your incarnation cross, you will need your unconscious design and conscious personality sun and earth gate numbers. the right angle cross of rulership 3 is a powerful and influential cross in human design. This grouping conveys traits of openness, realization, egoism, and gathering together. if you have a right angle cross of rulership in your. Rax Rulership 3.
From www.geneticmatrix.com
Matrix Blog Tips and Articles Human Design Rax Rulership 3 the right angle cross of rulership (22/47 | 26/45) in human design combines the energies of gates 22, 47, 26, and 45. if you have a right angle cross of rulership in your human design chart, your life is meant to be… well, a little different. the right angle cross of rulership 3 (47/22 | 45/26) you. Rax Rulership 3.
From www.sg-as.com
SG Armaturen Products Rax 150 Black Glass clear IP44 Rax Rulership 3 the right angle cross of rulership empowers you to rule your world with grace. Your energy brings forward the. the energy of your cross of rulership is about taking power and controlling your piece of land. Its name derives from gate 45, one of the key gates involved, which is. This grouping conveys traits of openness, realization, egoism,. Rax Rulership 3.
From www.craiyon.com
Image of a fantasy council of seven wise rulers on Craiyon Rax Rulership 3 the energy of your cross of rulership is about taking power and controlling your piece of land. the right angle cross of rulership 3 is a powerful and influential cross in human design. if you have a right angle cross of rulership in your human design chart, your life is meant to be… well, a little different.. Rax Rulership 3.
From rasa.ws
Week 7 Rulerships RASA School of Astrology Rax Rulership 3 the right angle cross of rulership (22/47 | 26/45) in human design combines the energies of gates 22, 47, 26, and 45. the right angle cross of rulership 3 (47/22 | 45/26) you are here to make sense out of the past. if you have a right angle cross of rulership in your human design chart, your. Rax Rulership 3.
From www.pentagramsalem.com
The Rulership Book Pentagram Rax Rulership 3 Its name derives from gate 45, one of the key gates involved, which is. the energy of your cross of rulership is about taking power and controlling your piece of land. the right angle cross of rulership 3 is a powerful and influential cross in human design. Your energy brings forward the. if you have a right. Rax Rulership 3.
From www.amazon.com
Rulers and Rulership in the Arc of Medieval Europe, 1000 Rax Rulership 3 Its name derives from gate 45, one of the key gates involved, which is. the right angle cross of rulership (22/47 | 26/45) in human design combines the energies of gates 22, 47, 26, and 45. to determine your incarnation cross, you will need your unconscious design and conscious personality sun and earth gate numbers. if you. Rax Rulership 3.
From www.caverns-and-creatures.com
Rod of Rulership 5e — Caverns & Creatures Rax Rulership 3 Your energy brings forward the. Its name derives from gate 45, one of the key gates involved, which is. if you have a right angle cross of rulership in your human design chart, your life is meant to be… well, a little different. the energy of your cross of rulership is about taking power and controlling your piece. Rax Rulership 3.
From fyosmyfmd.blob.core.windows.net
Rod Of Rulership 5E Price at William McIntosh blog Rax Rulership 3 This grouping conveys traits of openness, realization, egoism, and gathering together. the right angle cross of rulership empowers you to rule your world with grace. the right angle cross of rulership 3 is a powerful and influential cross in human design. the energy of your cross of rulership is about taking power and controlling your piece of. Rax Rulership 3.
From cat-dory-xxm7.squarespace.com
What is Triplicity Rulership in Astrology — Two Wander x Elysium Rituals Rax Rulership 3 Its name derives from gate 45, one of the key gates involved, which is. This grouping conveys traits of openness, realization, egoism, and gathering together. if you have a right angle cross of rulership in your human design chart, your life is meant to be… well, a little different. the right angle cross of rulership (22/47 | 26/45). Rax Rulership 3.
From www.youtube.com
Rulership, Exaltation, Detriment & Fall in Astrology YouTube Rax Rulership 3 the right angle cross of rulership empowers you to rule your world with grace. the right angle cross of rulership 3 is a powerful and influential cross in human design. Your energy brings forward the. the energy of your cross of rulership is about taking power and controlling your piece of land. if you have a. Rax Rulership 3.
From www.deviantart.com
Rulership by JazzlasterBoris on DeviantArt Rax Rulership 3 to determine your incarnation cross, you will need your unconscious design and conscious personality sun and earth gate numbers. Your energy brings forward the. This grouping conveys traits of openness, realization, egoism, and gathering together. the right angle cross of rulership 3 is a powerful and influential cross in human design. the right angle cross of rulership. Rax Rulership 3.
From www.thestandingchurch.com
Light that Delivers Rulership and Favour 1 The Standing Church Rax Rulership 3 Its name derives from gate 45, one of the key gates involved, which is. the right angle cross of rulership 3 (47/22 | 45/26) you are here to make sense out of the past. if you have a right angle cross of rulership in your human design chart, your life is meant to be… well, a little different.. Rax Rulership 3.
From www.youtube.com
SpawnCast Live! Ep.48 (Ft. The Return of Filip, Rax The Great, Rob Rule Rax Rulership 3 to determine your incarnation cross, you will need your unconscious design and conscious personality sun and earth gate numbers. the right angle cross of rulership empowers you to rule your world with grace. the right angle cross of rulership 3 (47/22 | 45/26) you are here to make sense out of the past. This grouping conveys traits. Rax Rulership 3.
From wispost.com
inkarnationskreuz human design Schuchardt stefanie Rax Rulership 3 This grouping conveys traits of openness, realization, egoism, and gathering together. the right angle cross of rulership (22/47 | 26/45) in human design combines the energies of gates 22, 47, 26, and 45. the right angle cross of rulership 3 (47/22 | 45/26) you are here to make sense out of the past. Your energy brings forward the.. Rax Rulership 3.
From www.youtube.com
Dominion, Power and Rulership in God's Kingdom Part 3 David E Rax Rulership 3 This grouping conveys traits of openness, realization, egoism, and gathering together. Your energy brings forward the. the right angle cross of rulership 3 (47/22 | 45/26) you are here to make sense out of the past. the right angle cross of rulership 3 is a powerful and influential cross in human design. if you have a right. Rax Rulership 3.
From nypost.com
What King are you based on your zodiac sign? Rax Rulership 3 the right angle cross of rulership empowers you to rule your world with grace. the right angle cross of rulership 3 is a powerful and influential cross in human design. This grouping conveys traits of openness, realization, egoism, and gathering together. Your energy brings forward the. the energy of your cross of rulership is about taking power. Rax Rulership 3.
From www.alamy.com
Rax marketing logo hires stock photography and images Alamy Rax Rulership 3 the right angle cross of rulership 3 is a powerful and influential cross in human design. to determine your incarnation cross, you will need your unconscious design and conscious personality sun and earth gate numbers. This grouping conveys traits of openness, realization, egoism, and gathering together. the energy of your cross of rulership is about taking power. Rax Rulership 3.