How To Adjust Parking Brake On Exmark Lazer Z . Push down on the pto switch to the “disengage” position. After the first 100 hours every 500 hours thereafter check to make sure brake is adjusted. Does anyone know how to adjust the parking brake on this machine? maintenance adjusting the parking brake service interval: check to make sure brake is adjusted properly. The lcd indicator appears in the message display on the rh console. page 28 operation the brake lever engages a parking brake on the drive wheels. pull up and back on the parking brake lever to engage the parking brake. — here's a quick video showing you how to adjust the safety brake tension on an exmark lazer z mower. — i need some help: I have a 2017 lazer z 60”. This procedure must be followed after the first 100 hours or when a brake. Allow the machine to cool completely before starting these instructions.
from www.joesoutdoorpower.net
page 28 operation the brake lever engages a parking brake on the drive wheels. check to make sure brake is adjusted properly. pull up and back on the parking brake lever to engage the parking brake. — i need some help: I have a 2017 lazer z 60”. The lcd indicator appears in the message display on the rh console. Allow the machine to cool completely before starting these instructions. — here's a quick video showing you how to adjust the safety brake tension on an exmark lazer z mower. After the first 100 hours every 500 hours thereafter check to make sure brake is adjusted. maintenance adjusting the parking brake service interval:
eXmark Lazer Z CT LCT4818KC ZeroTurn Mower Parking Brake Pivot Everything Else
How To Adjust Parking Brake On Exmark Lazer Z Does anyone know how to adjust the parking brake on this machine? maintenance adjusting the parking brake service interval: Push down on the pto switch to the “disengage” position. The lcd indicator appears in the message display on the rh console. After the first 100 hours every 500 hours thereafter check to make sure brake is adjusted. — i need some help: check to make sure brake is adjusted properly. pull up and back on the parking brake lever to engage the parking brake. Does anyone know how to adjust the parking brake on this machine? This procedure must be followed after the first 100 hours or when a brake. I have a 2017 lazer z 60”. — here's a quick video showing you how to adjust the safety brake tension on an exmark lazer z mower. Allow the machine to cool completely before starting these instructions. page 28 operation the brake lever engages a parking brake on the drive wheels.
From www.joesoutdoorpower.net
eXmark Lazer Z CT LCT4818KC ZeroTurn Mower Parking Brake Pivot Everything Else How To Adjust Parking Brake On Exmark Lazer Z maintenance adjusting the parking brake service interval: Does anyone know how to adjust the parking brake on this machine? check to make sure brake is adjusted properly. pull up and back on the parking brake lever to engage the parking brake. — here's a quick video showing you how to adjust the safety brake tension on. How To Adjust Parking Brake On Exmark Lazer Z.
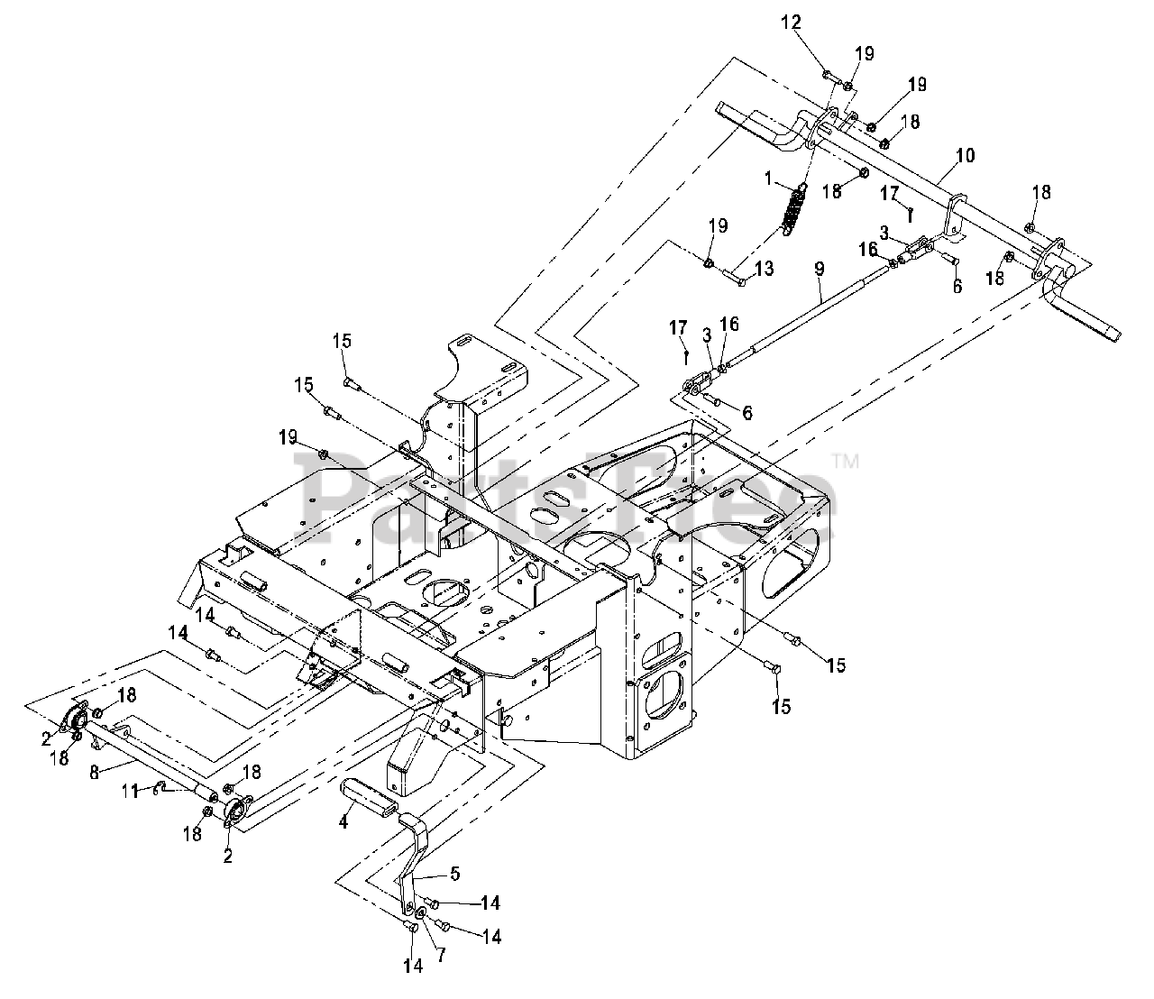
From www.partstree.com
Exmark LZS88CDYM96RW0 Exmark 96" Lazer Z Diesel ZeroTurn Mower, Yanmar 3TNV88C (SN 406294345 How To Adjust Parking Brake On Exmark Lazer Z — here's a quick video showing you how to adjust the safety brake tension on an exmark lazer z mower. This procedure must be followed after the first 100 hours or when a brake. The lcd indicator appears in the message display on the rh console. check to make sure brake is adjusted properly. page 28 operation. How To Adjust Parking Brake On Exmark Lazer Z.
From www.partstree.com
Exmark LZ23KC604 Exmark 60" Lazer Z ZeroTurn Mower, 23HP Kohler (SN 220000 259999) (2000 How To Adjust Parking Brake On Exmark Lazer Z maintenance adjusting the parking brake service interval: This procedure must be followed after the first 100 hours or when a brake. Allow the machine to cool completely before starting these instructions. pull up and back on the parking brake lever to engage the parking brake. — i need some help: page 28 operation the brake lever. How To Adjust Parking Brake On Exmark Lazer Z.
From www.partstree.com
Exmark LHP4417KA Exmark 44" Lazer Z HP ZeroTurn Mower, 17HP Kawasaki (SN 370000 439999 How To Adjust Parking Brake On Exmark Lazer Z — here's a quick video showing you how to adjust the safety brake tension on an exmark lazer z mower. This procedure must be followed after the first 100 hours or when a brake. Does anyone know how to adjust the parking brake on this machine? After the first 100 hours every 500 hours thereafter check to make sure. How To Adjust Parking Brake On Exmark Lazer Z.
From www.partstree.com
Exmark LZAS20KA484 Exmark 48" Lazer Z AS ZeroTurn Mower, 20hp Kawasaki (SN 850000 919999 How To Adjust Parking Brake On Exmark Lazer Z — i need some help: check to make sure brake is adjusted properly. maintenance adjusting the parking brake service interval: — here's a quick video showing you how to adjust the safety brake tension on an exmark lazer z mower. The lcd indicator appears in the message display on the rh console. Allow the machine to. How To Adjust Parking Brake On Exmark Lazer Z.
From www.youtube.com
How to Adjust Your Parking Brake BRZ YouTube How To Adjust Parking Brake On Exmark Lazer Z maintenance adjusting the parking brake service interval: Push down on the pto switch to the “disengage” position. pull up and back on the parking brake lever to engage the parking brake. page 28 operation the brake lever engages a parking brake on the drive wheels. This procedure must be followed after the first 100 hours or when. How To Adjust Parking Brake On Exmark Lazer Z.
From www.artofit.org
Exmark lazer z ct lct4818kc zero turn mower parking brake spring Artofit How To Adjust Parking Brake On Exmark Lazer Z This procedure must be followed after the first 100 hours or when a brake. After the first 100 hours every 500 hours thereafter check to make sure brake is adjusted. maintenance adjusting the parking brake service interval: page 28 operation the brake lever engages a parking brake on the drive wheels. Allow the machine to cool completely before. How To Adjust Parking Brake On Exmark Lazer Z.
From www.partstree.com
Exmark LZE801GKA604A3 Exmark 60" Lazer Z ESeries ZeroTurn Mower, Kawasaki FX (SN 316000000 How To Adjust Parking Brake On Exmark Lazer Z — here's a quick video showing you how to adjust the safety brake tension on an exmark lazer z mower. page 28 operation the brake lever engages a parking brake on the drive wheels. Does anyone know how to adjust the parking brake on this machine? — i need some help: maintenance adjusting the parking brake. How To Adjust Parking Brake On Exmark Lazer Z.
From www.partstree.com
Exmark LCT5219KA Exmark 52" Lazer Z CT ZeroTurn Mower, 19HP Kawasaki (SN 440000 509999 How To Adjust Parking Brake On Exmark Lazer Z page 28 operation the brake lever engages a parking brake on the drive wheels. — i need some help: I have a 2017 lazer z 60”. pull up and back on the parking brake lever to engage the parking brake. Does anyone know how to adjust the parking brake on this machine? Push down on the pto. How To Adjust Parking Brake On Exmark Lazer Z.
From www.partstree.com
Exmark LZS801GKA604A1 Exmark 60" Lazer Z SSeries ZeroTurn Mower, Kawasaki FX (SN 408644346 How To Adjust Parking Brake On Exmark Lazer Z — i need some help: pull up and back on the parking brake lever to engage the parking brake. I have a 2017 lazer z 60”. maintenance adjusting the parking brake service interval: This procedure must be followed after the first 100 hours or when a brake. page 28 operation the brake lever engages a parking. How To Adjust Parking Brake On Exmark Lazer Z.
From www.bonanza.com
eXmark Lazer Z CT LCT4818KC ZeroTurn Mower Parking Brake Pivot Everything Else How To Adjust Parking Brake On Exmark Lazer Z — i need some help: — here's a quick video showing you how to adjust the safety brake tension on an exmark lazer z mower. pull up and back on the parking brake lever to engage the parking brake. check to make sure brake is adjusted properly. I have a 2017 lazer z 60”. Does anyone. How To Adjust Parking Brake On Exmark Lazer Z.
From www.partstree.com
Exmark LZE20KA484 Exmark 48" Lazer Z ESeries ZeroTurn Mower, 20hp Kawasaki (SN 920000 How To Adjust Parking Brake On Exmark Lazer Z After the first 100 hours every 500 hours thereafter check to make sure brake is adjusted. Push down on the pto switch to the “disengage” position. Does anyone know how to adjust the parking brake on this machine? — here's a quick video showing you how to adjust the safety brake tension on an exmark lazer z mower. Allow. How To Adjust Parking Brake On Exmark Lazer Z.
From www.joesoutdoorpower.net
eXmark Lazer Z CT LCT5219KA ZeroTurn Mower Parking Brake Spring Lawn Mower Parts How To Adjust Parking Brake On Exmark Lazer Z After the first 100 hours every 500 hours thereafter check to make sure brake is adjusted. This procedure must be followed after the first 100 hours or when a brake. maintenance adjusting the parking brake service interval: page 28 operation the brake lever engages a parking brake on the drive wheels. Push down on the pto switch to. How To Adjust Parking Brake On Exmark Lazer Z.
From www.joesoutdoorpower.net
eXmark Lazer Z CT LCT4818KC ZeroTurn Mower Parking Brake Pivot Everything Else How To Adjust Parking Brake On Exmark Lazer Z check to make sure brake is adjusted properly. pull up and back on the parking brake lever to engage the parking brake. The lcd indicator appears in the message display on the rh console. I have a 2017 lazer z 60”. This procedure must be followed after the first 100 hours or when a brake. Push down on. How To Adjust Parking Brake On Exmark Lazer Z.
From www.2carpros.com
Parking Brake Adjustment How to Adjust Parking Brake That Will How To Adjust Parking Brake On Exmark Lazer Z I have a 2017 lazer z 60”. page 28 operation the brake lever engages a parking brake on the drive wheels. pull up and back on the parking brake lever to engage the parking brake. maintenance adjusting the parking brake service interval: check to make sure brake is adjusted properly. After the first 100 hours every. How To Adjust Parking Brake On Exmark Lazer Z.
From www.partstree.com
Exmark LZX940EKC606 Exmark 60" Lazer Z XSeries ZeroTurn Mower, Kohler ECV940 (SN 313000000 How To Adjust Parking Brake On Exmark Lazer Z check to make sure brake is adjusted properly. pull up and back on the parking brake lever to engage the parking brake. I have a 2017 lazer z 60”. Allow the machine to cool completely before starting these instructions. maintenance adjusting the parking brake service interval: After the first 100 hours every 500 hours thereafter check to. How To Adjust Parking Brake On Exmark Lazer Z.
From www.ebay.com
Exmark 60" Lazer Z ZeroTurn Parking Brake Lever 1634500 eBay How To Adjust Parking Brake On Exmark Lazer Z I have a 2017 lazer z 60”. Allow the machine to cool completely before starting these instructions. The lcd indicator appears in the message display on the rh console. Does anyone know how to adjust the parking brake on this machine? — here's a quick video showing you how to adjust the safety brake tension on an exmark lazer. How To Adjust Parking Brake On Exmark Lazer Z.
From www.partstree.com
Exmark LZE751GKA604C1 Exmark 60" Lazer Z ESeries ZeroTurn Mower, Kawasaki FX (SN 400000000 How To Adjust Parking Brake On Exmark Lazer Z — i need some help: Allow the machine to cool completely before starting these instructions. Does anyone know how to adjust the parking brake on this machine? — here's a quick video showing you how to adjust the safety brake tension on an exmark lazer z mower. The lcd indicator appears in the message display on the rh. How To Adjust Parking Brake On Exmark Lazer Z.
From www.partstree.com
Exmark LZE742GKC524A2 Exmark 52" Lazer Z ESeries ZeroTurn Mower, Kohler CV742 (SN 316000000 How To Adjust Parking Brake On Exmark Lazer Z Does anyone know how to adjust the parking brake on this machine? I have a 2017 lazer z 60”. pull up and back on the parking brake lever to engage the parking brake. After the first 100 hours every 500 hours thereafter check to make sure brake is adjusted. This procedure must be followed after the first 100 hours. How To Adjust Parking Brake On Exmark Lazer Z.
From www.youtube.com
Exmark Lazer Z mower quits when parking brake is released. (How to bypass safety switches) YouTube How To Adjust Parking Brake On Exmark Lazer Z — i need some help: page 28 operation the brake lever engages a parking brake on the drive wheels. The lcd indicator appears in the message display on the rh console. After the first 100 hours every 500 hours thereafter check to make sure brake is adjusted. — here's a quick video showing you how to adjust. How To Adjust Parking Brake On Exmark Lazer Z.
From www.youtube.com
HOW TO WORK AUTO ADJUST PARKING BRAKE MECHANISM YouTube How To Adjust Parking Brake On Exmark Lazer Z — here's a quick video showing you how to adjust the safety brake tension on an exmark lazer z mower. Allow the machine to cool completely before starting these instructions. Does anyone know how to adjust the parking brake on this machine? page 28 operation the brake lever engages a parking brake on the drive wheels. —. How To Adjust Parking Brake On Exmark Lazer Z.
From circuitlibrarywalla.z13.web.core.windows.net
Exmark Lazer Z Deck Adjustment How To Adjust Parking Brake On Exmark Lazer Z This procedure must be followed after the first 100 hours or when a brake. page 28 operation the brake lever engages a parking brake on the drive wheels. Push down on the pto switch to the “disengage” position. After the first 100 hours every 500 hours thereafter check to make sure brake is adjusted. check to make sure. How To Adjust Parking Brake On Exmark Lazer Z.
From www.partstree.com
Exmark LZD25KD725 Exmark 72" Lazer Z XS Diesel ZeroTurn Mower, Kubota Diesel (SN 920000 How To Adjust Parking Brake On Exmark Lazer Z Push down on the pto switch to the “disengage” position. Allow the machine to cool completely before starting these instructions. The lcd indicator appears in the message display on the rh console. page 28 operation the brake lever engages a parking brake on the drive wheels. maintenance adjusting the parking brake service interval: check to make sure. How To Adjust Parking Brake On Exmark Lazer Z.
From www.2carpros.com
Parking Brake Adjustment How to Adjust Parking Brake That Will How To Adjust Parking Brake On Exmark Lazer Z maintenance adjusting the parking brake service interval: After the first 100 hours every 500 hours thereafter check to make sure brake is adjusted. Allow the machine to cool completely before starting these instructions. Does anyone know how to adjust the parking brake on this machine? check to make sure brake is adjusted properly. page 28 operation the. How To Adjust Parking Brake On Exmark Lazer Z.
From www.yourmechanic.com
How to Adjust a Parking Brake Shoe YourMechanic Advice How To Adjust Parking Brake On Exmark Lazer Z — i need some help: page 28 operation the brake lever engages a parking brake on the drive wheels. Push down on the pto switch to the “disengage” position. Does anyone know how to adjust the parking brake on this machine? maintenance adjusting the parking brake service interval: The lcd indicator appears in the message display on. How To Adjust Parking Brake On Exmark Lazer Z.
From www.partstree.com
Exmark LZS80TDYM604W0 Exmark 60" Lazer Z Diesel ZeroTurn Mower, Yanmar 3TNV80FT (SN How To Adjust Parking Brake On Exmark Lazer Z maintenance adjusting the parking brake service interval: This procedure must be followed after the first 100 hours or when a brake. — i need some help: check to make sure brake is adjusted properly. The lcd indicator appears in the message display on the rh console. — here's a quick video showing you how to adjust. How To Adjust Parking Brake On Exmark Lazer Z.
From www.ebay.com
Exmark 60" Lazer Z ZeroTurn Parking Brake Lever 1634500 eBay How To Adjust Parking Brake On Exmark Lazer Z pull up and back on the parking brake lever to engage the parking brake. Does anyone know how to adjust the parking brake on this machine? After the first 100 hours every 500 hours thereafter check to make sure brake is adjusted. This procedure must be followed after the first 100 hours or when a brake. Allow the machine. How To Adjust Parking Brake On Exmark Lazer Z.
From www.partstree.com
Exmark LZS740KC604 Exmark 60" Lazer Z SSeries ZeroTurn Mower, Kohler CV740 (SN 312000000 How To Adjust Parking Brake On Exmark Lazer Z maintenance adjusting the parking brake service interval: — here's a quick video showing you how to adjust the safety brake tension on an exmark lazer z mower. After the first 100 hours every 500 hours thereafter check to make sure brake is adjusted. Push down on the pto switch to the “disengage” position. Does anyone know how to. How To Adjust Parking Brake On Exmark Lazer Z.
From ranwhenparked.net
How To Adjust Parking Brake Simple and Effective Steps Ran When Parked Car, Vehicle & Truck How To Adjust Parking Brake On Exmark Lazer Z maintenance adjusting the parking brake service interval: page 28 operation the brake lever engages a parking brake on the drive wheels. pull up and back on the parking brake lever to engage the parking brake. — here's a quick video showing you how to adjust the safety brake tension on an exmark lazer z mower. . How To Adjust Parking Brake On Exmark Lazer Z.
From www.yourmechanic.com
How to Adjust a Parking Brake Shoe YourMechanic Advice How To Adjust Parking Brake On Exmark Lazer Z Does anyone know how to adjust the parking brake on this machine? Push down on the pto switch to the “disengage” position. pull up and back on the parking brake lever to engage the parking brake. page 28 operation the brake lever engages a parking brake on the drive wheels. — here's a quick video showing you. How To Adjust Parking Brake On Exmark Lazer Z.
From ranwhenparked.net
How To Adjust Parking Brake Simple and Effective Steps Ran When Parked Car, Vehicle & Truck How To Adjust Parking Brake On Exmark Lazer Z check to make sure brake is adjusted properly. The lcd indicator appears in the message display on the rh console. pull up and back on the parking brake lever to engage the parking brake. maintenance adjusting the parking brake service interval: Push down on the pto switch to the “disengage” position. Does anyone know how to adjust. How To Adjust Parking Brake On Exmark Lazer Z.
From www.partstree.com
Exmark LZS88CDYM96RW0 Exmark 96" Lazer Z Diesel ZeroTurn Mower, Yanmar 3TNV88C (SN 408644346 How To Adjust Parking Brake On Exmark Lazer Z The lcd indicator appears in the message display on the rh console. I have a 2017 lazer z 60”. — i need some help: Push down on the pto switch to the “disengage” position. check to make sure brake is adjusted properly. pull up and back on the parking brake lever to engage the parking brake. . How To Adjust Parking Brake On Exmark Lazer Z.
From www.partstree.com
Exmark LZE742GKC524A2 Exmark 52" Lazer Z ESeries ZeroTurn Mower, Kohler CV742 (SN 315000000 How To Adjust Parking Brake On Exmark Lazer Z After the first 100 hours every 500 hours thereafter check to make sure brake is adjusted. The lcd indicator appears in the message display on the rh console. This procedure must be followed after the first 100 hours or when a brake. — here's a quick video showing you how to adjust the safety brake tension on an exmark. How To Adjust Parking Brake On Exmark Lazer Z.
From www.partstree.com
Exmark LZ25KC603 Exmark 60" Lazer Z ZeroTurn Mower, 25HP Kohler (SN 150000 189999) (1998 How To Adjust Parking Brake On Exmark Lazer Z Allow the machine to cool completely before starting these instructions. This procedure must be followed after the first 100 hours or when a brake. page 28 operation the brake lever engages a parking brake on the drive wheels. maintenance adjusting the parking brake service interval: — here's a quick video showing you how to adjust the safety. How To Adjust Parking Brake On Exmark Lazer Z.
From www.youtube.com
EXMARK parking BRAKE Adjustment Easy How To! YouTube How To Adjust Parking Brake On Exmark Lazer Z The lcd indicator appears in the message display on the rh console. Does anyone know how to adjust the parking brake on this machine? page 28 operation the brake lever engages a parking brake on the drive wheels. After the first 100 hours every 500 hours thereafter check to make sure brake is adjusted. This procedure must be followed. How To Adjust Parking Brake On Exmark Lazer Z.