Who Invented Capacitor Discharge Ignition . Capacitive discharge ignition (cdi) systems the essential feature of cdi systems and what differentiates them over conventional. In the case of cdi the ignition coil is pulsed, not charged up, thus saving time and wasted energy. The history of the capacitor discharge ignition system can be traced back to the 1890s when it is believed that nikola tesla was the first to. Huff with us patent #882003 filed july 1, 1905 and assigned to henry ford. The intense pulse of current. Inductive discharge ignition (idi) systems. It was designed by edward s. The system used an engine driven dc. The history of the capacitor discharge ignition system can be traced back to the 1890s when it is believed that nikola tesla was the first to. Capacitor discharge ignition (cdi) system the cdi system has been widely used in motorcycles,. This system includes a pulse control circuit, spark plug, pulse generation circuit, main charge & discharge capacitor coil, etc. The researchers invented the cdi (capacitive discharge ignition) system for si (spark ignition) engine using electronic ignition & contact point ignition.
from www.google.com
The history of the capacitor discharge ignition system can be traced back to the 1890s when it is believed that nikola tesla was the first to. It was designed by edward s. In the case of cdi the ignition coil is pulsed, not charged up, thus saving time and wasted energy. The system used an engine driven dc. This system includes a pulse control circuit, spark plug, pulse generation circuit, main charge & discharge capacitor coil, etc. Huff with us patent #882003 filed july 1, 1905 and assigned to henry ford. Inductive discharge ignition (idi) systems. The intense pulse of current. The researchers invented the cdi (capacitive discharge ignition) system for si (spark ignition) engine using electronic ignition & contact point ignition. Capacitor discharge ignition (cdi) system the cdi system has been widely used in motorcycles,.
Patent EP1298320A2 Capacitor discharge ignition (CDI) system Google
Who Invented Capacitor Discharge Ignition The history of the capacitor discharge ignition system can be traced back to the 1890s when it is believed that nikola tesla was the first to. In the case of cdi the ignition coil is pulsed, not charged up, thus saving time and wasted energy. Inductive discharge ignition (idi) systems. It was designed by edward s. The system used an engine driven dc. Huff with us patent #882003 filed july 1, 1905 and assigned to henry ford. The researchers invented the cdi (capacitive discharge ignition) system for si (spark ignition) engine using electronic ignition & contact point ignition. Capacitive discharge ignition (cdi) systems the essential feature of cdi systems and what differentiates them over conventional. This system includes a pulse control circuit, spark plug, pulse generation circuit, main charge & discharge capacitor coil, etc. The history of the capacitor discharge ignition system can be traced back to the 1890s when it is believed that nikola tesla was the first to. The history of the capacitor discharge ignition system can be traced back to the 1890s when it is believed that nikola tesla was the first to. Capacitor discharge ignition (cdi) system the cdi system has been widely used in motorcycles,. The intense pulse of current.
From electraschematics.com
Exploring the Capacitor Discharge Ignition System Diagram Who Invented Capacitor Discharge Ignition The history of the capacitor discharge ignition system can be traced back to the 1890s when it is believed that nikola tesla was the first to. This system includes a pulse control circuit, spark plug, pulse generation circuit, main charge & discharge capacitor coil, etc. It was designed by edward s. The researchers invented the cdi (capacitive discharge ignition) system. Who Invented Capacitor Discharge Ignition.
From www.circuitdiagram.co
Schematic Diagram Of Capacitor Discharge Ignition Switch Circuit Diagram Who Invented Capacitor Discharge Ignition It was designed by edward s. The intense pulse of current. In the case of cdi the ignition coil is pulsed, not charged up, thus saving time and wasted energy. Capacitor discharge ignition (cdi) system the cdi system has been widely used in motorcycles,. The researchers invented the cdi (capacitive discharge ignition) system for si (spark ignition) engine using electronic. Who Invented Capacitor Discharge Ignition.
From www.google.com
Patent EP1298320A2 Capacitor discharge ignition (CDI) system Google Who Invented Capacitor Discharge Ignition In the case of cdi the ignition coil is pulsed, not charged up, thus saving time and wasted energy. The system used an engine driven dc. Huff with us patent #882003 filed july 1, 1905 and assigned to henry ford. The history of the capacitor discharge ignition system can be traced back to the 1890s when it is believed that. Who Invented Capacitor Discharge Ignition.
From resolutionsforyou.com
Understanding the Inner Workings of a Capacitor Discharge Ignition Who Invented Capacitor Discharge Ignition The history of the capacitor discharge ignition system can be traced back to the 1890s when it is believed that nikola tesla was the first to. In the case of cdi the ignition coil is pulsed, not charged up, thus saving time and wasted energy. The researchers invented the cdi (capacitive discharge ignition) system for si (spark ignition) engine using. Who Invented Capacitor Discharge Ignition.
From www.google.co.ug
Patent EP1298320A2 Capacitor discharge ignition (CDI) system Google Who Invented Capacitor Discharge Ignition The history of the capacitor discharge ignition system can be traced back to the 1890s when it is believed that nikola tesla was the first to. The system used an engine driven dc. Inductive discharge ignition (idi) systems. The intense pulse of current. The history of the capacitor discharge ignition system can be traced back to the 1890s when it. Who Invented Capacitor Discharge Ignition.
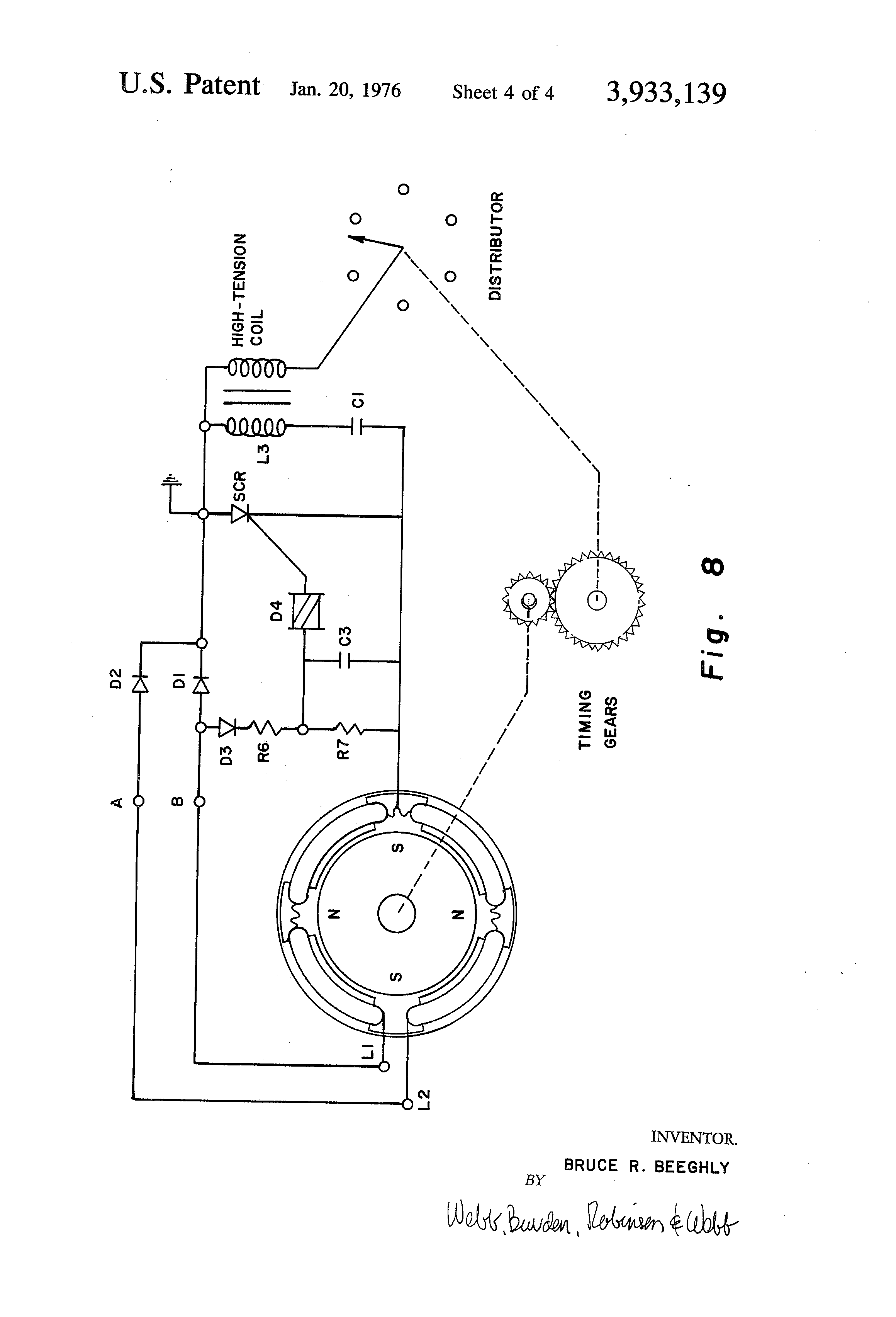
From www.semanticscholar.org
Figure 8 from A High Energy Capacitor Discharge Ignition System Who Invented Capacitor Discharge Ignition The system used an engine driven dc. It was designed by edward s. Capacitive discharge ignition (cdi) systems the essential feature of cdi systems and what differentiates them over conventional. Inductive discharge ignition (idi) systems. Capacitor discharge ignition (cdi) system the cdi system has been widely used in motorcycles,. The researchers invented the cdi (capacitive discharge ignition) system for si. Who Invented Capacitor Discharge Ignition.
From circuitfarsellamw.z13.web.core.windows.net
How To Discharge Capacitor On Ac Unit Who Invented Capacitor Discharge Ignition Capacitor discharge ignition (cdi) system the cdi system has been widely used in motorcycles,. Inductive discharge ignition (idi) systems. The history of the capacitor discharge ignition system can be traced back to the 1890s when it is believed that nikola tesla was the first to. The history of the capacitor discharge ignition system can be traced back to the 1890s. Who Invented Capacitor Discharge Ignition.
From www.youtube.com
Capactor Discharge Ignition System YouTube Who Invented Capacitor Discharge Ignition In the case of cdi the ignition coil is pulsed, not charged up, thus saving time and wasted energy. Capacitor discharge ignition (cdi) system the cdi system has been widely used in motorcycles,. Capacitive discharge ignition (cdi) systems the essential feature of cdi systems and what differentiates them over conventional. The intense pulse of current. This system includes a pulse. Who Invented Capacitor Discharge Ignition.
From www.engineersgarage.com
Insight How Electronic Gas Lighter works Who Invented Capacitor Discharge Ignition It was designed by edward s. The history of the capacitor discharge ignition system can be traced back to the 1890s when it is believed that nikola tesla was the first to. The intense pulse of current. The system used an engine driven dc. Capacitor discharge ignition (cdi) system the cdi system has been widely used in motorcycles,. Huff with. Who Invented Capacitor Discharge Ignition.
From albo-colocolo-gb.blogspot.com
☑ Capacitor Discharge Ignition Circuit Who Invented Capacitor Discharge Ignition In the case of cdi the ignition coil is pulsed, not charged up, thus saving time and wasted energy. Capacitive discharge ignition (cdi) systems the essential feature of cdi systems and what differentiates them over conventional. The intense pulse of current. Huff with us patent #882003 filed july 1, 1905 and assigned to henry ford. Inductive discharge ignition (idi) systems.. Who Invented Capacitor Discharge Ignition.
From www.youtube.com
Capacitor Discharge Ignition Full Diagram YouTube Who Invented Capacitor Discharge Ignition Huff with us patent #882003 filed july 1, 1905 and assigned to henry ford. It was designed by edward s. Capacitive discharge ignition (cdi) systems the essential feature of cdi systems and what differentiates them over conventional. The system used an engine driven dc. The history of the capacitor discharge ignition system can be traced back to the 1890s when. Who Invented Capacitor Discharge Ignition.
From 3roam.com
Capacitor Discharge Time Calculator Who Invented Capacitor Discharge Ignition The history of the capacitor discharge ignition system can be traced back to the 1890s when it is believed that nikola tesla was the first to. Inductive discharge ignition (idi) systems. The intense pulse of current. Huff with us patent #882003 filed july 1, 1905 and assigned to henry ford. The researchers invented the cdi (capacitive discharge ignition) system for. Who Invented Capacitor Discharge Ignition.
From innovationdiscoveries.space
CapacitorDischarge Ignition(CDI) Working Principle Advantage and Dis Who Invented Capacitor Discharge Ignition The system used an engine driven dc. Capacitor discharge ignition (cdi) system the cdi system has been widely used in motorcycles,. The history of the capacitor discharge ignition system can be traced back to the 1890s when it is believed that nikola tesla was the first to. The history of the capacitor discharge ignition system can be traced back to. Who Invented Capacitor Discharge Ignition.
From mmerevise.co.uk
Capacitor Charge and Discharge Questions and Revision MME Who Invented Capacitor Discharge Ignition Inductive discharge ignition (idi) systems. This system includes a pulse control circuit, spark plug, pulse generation circuit, main charge & discharge capacitor coil, etc. The system used an engine driven dc. In the case of cdi the ignition coil is pulsed, not charged up, thus saving time and wasted energy. Huff with us patent #882003 filed july 1, 1905 and. Who Invented Capacitor Discharge Ignition.
From electraschematics.com
Exploring the Capacitor Discharge Ignition System Diagram Who Invented Capacitor Discharge Ignition This system includes a pulse control circuit, spark plug, pulse generation circuit, main charge & discharge capacitor coil, etc. The history of the capacitor discharge ignition system can be traced back to the 1890s when it is believed that nikola tesla was the first to. The researchers invented the cdi (capacitive discharge ignition) system for si (spark ignition) engine using. Who Invented Capacitor Discharge Ignition.
From circuitfarsellamw.z13.web.core.windows.net
Capacitor Discharge Ignition System Diagram Who Invented Capacitor Discharge Ignition This system includes a pulse control circuit, spark plug, pulse generation circuit, main charge & discharge capacitor coil, etc. Inductive discharge ignition (idi) systems. Capacitive discharge ignition (cdi) systems the essential feature of cdi systems and what differentiates them over conventional. It was designed by edward s. Huff with us patent #882003 filed july 1, 1905 and assigned to henry. Who Invented Capacitor Discharge Ignition.
From circuittausus8m.z14.web.core.windows.net
How To Discharge Capacitor On Ac Unit Who Invented Capacitor Discharge Ignition This system includes a pulse control circuit, spark plug, pulse generation circuit, main charge & discharge capacitor coil, etc. The system used an engine driven dc. The history of the capacitor discharge ignition system can be traced back to the 1890s when it is believed that nikola tesla was the first to. The researchers invented the cdi (capacitive discharge ignition). Who Invented Capacitor Discharge Ignition.
From resolutionsforyou.com
Understanding the Inner Workings of a Capacitor Discharge Ignition Who Invented Capacitor Discharge Ignition The history of the capacitor discharge ignition system can be traced back to the 1890s when it is believed that nikola tesla was the first to. It was designed by edward s. Capacitor discharge ignition (cdi) system the cdi system has been widely used in motorcycles,. The system used an engine driven dc. This system includes a pulse control circuit,. Who Invented Capacitor Discharge Ignition.
From data.epo.org
Capacitor discharge ignition (CDI) system Patent 1298320 Who Invented Capacitor Discharge Ignition Capacitor discharge ignition (cdi) system the cdi system has been widely used in motorcycles,. Huff with us patent #882003 filed july 1, 1905 and assigned to henry ford. Capacitive discharge ignition (cdi) systems the essential feature of cdi systems and what differentiates them over conventional. The history of the capacitor discharge ignition system can be traced back to the 1890s. Who Invented Capacitor Discharge Ignition.
From www.limitlessenergysource.com
The Engine That Runs Itself Cold Electricity Limitless Energy Who Invented Capacitor Discharge Ignition In the case of cdi the ignition coil is pulsed, not charged up, thus saving time and wasted energy. The intense pulse of current. Capacitor discharge ignition (cdi) system the cdi system has been widely used in motorcycles,. Capacitive discharge ignition (cdi) systems the essential feature of cdi systems and what differentiates them over conventional. Huff with us patent #882003. Who Invented Capacitor Discharge Ignition.
From www.youtube.com
How to Discharge a HVAC Capacitor YouTube Who Invented Capacitor Discharge Ignition Inductive discharge ignition (idi) systems. This system includes a pulse control circuit, spark plug, pulse generation circuit, main charge & discharge capacitor coil, etc. Capacitive discharge ignition (cdi) systems the essential feature of cdi systems and what differentiates them over conventional. The history of the capacitor discharge ignition system can be traced back to the 1890s when it is believed. Who Invented Capacitor Discharge Ignition.
From www.youtube.com
How the CDI (Capacitor Discharge Ignition) works. YouTube Who Invented Capacitor Discharge Ignition The intense pulse of current. Capacitor discharge ignition (cdi) system the cdi system has been widely used in motorcycles,. This system includes a pulse control circuit, spark plug, pulse generation circuit, main charge & discharge capacitor coil, etc. The history of the capacitor discharge ignition system can be traced back to the 1890s when it is believed that nikola tesla. Who Invented Capacitor Discharge Ignition.
From www.researchgate.net
The circuit diagram of the capacitor discharge test. 1, 2, 3ignition Who Invented Capacitor Discharge Ignition The history of the capacitor discharge ignition system can be traced back to the 1890s when it is believed that nikola tesla was the first to. The intense pulse of current. Capacitor discharge ignition (cdi) system the cdi system has been widely used in motorcycles,. The system used an engine driven dc. This system includes a pulse control circuit, spark. Who Invented Capacitor Discharge Ignition.
From www.google.com
Patent US6662792 Capacitor discharge ignition (CDI) system Google Who Invented Capacitor Discharge Ignition In the case of cdi the ignition coil is pulsed, not charged up, thus saving time and wasted energy. Huff with us patent #882003 filed july 1, 1905 and assigned to henry ford. This system includes a pulse control circuit, spark plug, pulse generation circuit, main charge & discharge capacitor coil, etc. Inductive discharge ignition (idi) systems. The history of. Who Invented Capacitor Discharge Ignition.
From hufmpatota.blogspot.com
How Capacitor Discharge Ignition Works Who Invented Capacitor Discharge Ignition The intense pulse of current. The history of the capacitor discharge ignition system can be traced back to the 1890s when it is believed that nikola tesla was the first to. Inductive discharge ignition (idi) systems. The system used an engine driven dc. This system includes a pulse control circuit, spark plug, pulse generation circuit, main charge & discharge capacitor. Who Invented Capacitor Discharge Ignition.
From resolutionsforyou.com
Capacitor discharge ignition system diagram Who Invented Capacitor Discharge Ignition The system used an engine driven dc. The intense pulse of current. Capacitor discharge ignition (cdi) system the cdi system has been widely used in motorcycles,. The history of the capacitor discharge ignition system can be traced back to the 1890s when it is believed that nikola tesla was the first to. The history of the capacitor discharge ignition system. Who Invented Capacitor Discharge Ignition.
From mungfali.com
Capacitor Discharge Unit Circuit Who Invented Capacitor Discharge Ignition Inductive discharge ignition (idi) systems. In the case of cdi the ignition coil is pulsed, not charged up, thus saving time and wasted energy. The researchers invented the cdi (capacitive discharge ignition) system for si (spark ignition) engine using electronic ignition & contact point ignition. The history of the capacitor discharge ignition system can be traced back to the 1890s. Who Invented Capacitor Discharge Ignition.
From www.google.com
Patent US3933139 Capacitive discharge ignition system Google Patents Who Invented Capacitor Discharge Ignition The history of the capacitor discharge ignition system can be traced back to the 1890s when it is believed that nikola tesla was the first to. This system includes a pulse control circuit, spark plug, pulse generation circuit, main charge & discharge capacitor coil, etc. In the case of cdi the ignition coil is pulsed, not charged up, thus saving. Who Invented Capacitor Discharge Ignition.
From www.google.ca
Patent US4285321 Capacitor discharge ignition system Google Patents Who Invented Capacitor Discharge Ignition Inductive discharge ignition (idi) systems. Capacitive discharge ignition (cdi) systems the essential feature of cdi systems and what differentiates them over conventional. Huff with us patent #882003 filed july 1, 1905 and assigned to henry ford. Capacitor discharge ignition (cdi) system the cdi system has been widely used in motorcycles,. The history of the capacitor discharge ignition system can be. Who Invented Capacitor Discharge Ignition.
From www.vlr.eng.br
CapacitorDischarge Ignition(CDI) Working Principle Advantage And Dis Who Invented Capacitor Discharge Ignition The history of the capacitor discharge ignition system can be traced back to the 1890s when it is believed that nikola tesla was the first to. The intense pulse of current. This system includes a pulse control circuit, spark plug, pulse generation circuit, main charge & discharge capacitor coil, etc. In the case of cdi the ignition coil is pulsed,. Who Invented Capacitor Discharge Ignition.
From crankstaa.blogspot.com
Capacitor Discharge Ignition (CDI) system Simplified Who Invented Capacitor Discharge Ignition The intense pulse of current. It was designed by edward s. Inductive discharge ignition (idi) systems. The history of the capacitor discharge ignition system can be traced back to the 1890s when it is believed that nikola tesla was the first to. The history of the capacitor discharge ignition system can be traced back to the 1890s when it is. Who Invented Capacitor Discharge Ignition.
From electraschematics.com
Exploring the Capacitor Discharge Ignition System Diagram Who Invented Capacitor Discharge Ignition The history of the capacitor discharge ignition system can be traced back to the 1890s when it is believed that nikola tesla was the first to. The system used an engine driven dc. It was designed by edward s. The researchers invented the cdi (capacitive discharge ignition) system for si (spark ignition) engine using electronic ignition & contact point ignition.. Who Invented Capacitor Discharge Ignition.
From mangovariasi.blogspot.com
Fungsi Dasar Rangkaian CDI (Capacitor Discharge Ignition) Sinar Motor Who Invented Capacitor Discharge Ignition Inductive discharge ignition (idi) systems. It was designed by edward s. The history of the capacitor discharge ignition system can be traced back to the 1890s when it is believed that nikola tesla was the first to. Capacitive discharge ignition (cdi) systems the essential feature of cdi systems and what differentiates them over conventional. In the case of cdi the. Who Invented Capacitor Discharge Ignition.
From schematicdiagramhuber.z19.web.core.windows.net
Capacitor Discharge Ignition Circuit Diagram Who Invented Capacitor Discharge Ignition The history of the capacitor discharge ignition system can be traced back to the 1890s when it is believed that nikola tesla was the first to. Capacitor discharge ignition (cdi) system the cdi system has been widely used in motorcycles,. Capacitive discharge ignition (cdi) systems the essential feature of cdi systems and what differentiates them over conventional. Huff with us. Who Invented Capacitor Discharge Ignition.
From dokumen.tips
(PDF) A highenergy capacitor discharge ignition system Who Invented Capacitor Discharge Ignition The history of the capacitor discharge ignition system can be traced back to the 1890s when it is believed that nikola tesla was the first to. It was designed by edward s. Inductive discharge ignition (idi) systems. Huff with us patent #882003 filed july 1, 1905 and assigned to henry ford. The researchers invented the cdi (capacitive discharge ignition) system. Who Invented Capacitor Discharge Ignition.