From mavink.com
Browning Sheave Chart V Belt Sheave Angle V and flat belt design and engineering data. First two digits indicate top width in sixteenths of an inch. Next two digits designate sheave angle, in degrees, that the belt is designed to fit. Select a 3.0 drive sheave and a 10.6 driven sheave, or any desired combination that achieves 3.6:1 ratio from table 2. Pulleys have a flat circumference.. V Belt Sheave Angle.
From www.youtube.com
How to Align the Sheave to the Flywheel and Set Proper VBelt Tension V Belt Sheave Angle First two digits indicate top width in sixteenths of an inch. Next two digits designate sheave angle, in degrees, that the belt is designed to fit. An occasional retensioning is all that’s needed to. Select a 3.0 drive sheave and a 10.6 driven sheave, or any desired combination that achieves 3.6:1 ratio from table 2. V and flat belt design. V Belt Sheave Angle.
From www.torontogear.com
VBelt Sheave & Pulley Manufacturing Custom Belt Sheaves Toronto V Belt Sheave Angle First two digits indicate top width in sixteenths of an inch. An occasional retensioning is all that’s needed to. V and flat belt design and engineering data. Next two digits designate sheave angle, in degrees, that the belt is designed to fit. Pulleys have a flat circumference. Select a 3.0 drive sheave and a 10.6 driven sheave, or any desired. V Belt Sheave Angle.
From www.linearmotiontips.com
Troubleshooting Vbelt wear and failure V Belt Sheave Angle Pulleys have a flat circumference. Next two digits designate sheave angle, in degrees, that the belt is designed to fit. An occasional retensioning is all that’s needed to. V and flat belt design and engineering data. Select a 3.0 drive sheave and a 10.6 driven sheave, or any desired combination that achieves 3.6:1 ratio from table 2. First two digits. V Belt Sheave Angle.
From www.usarollerchain.com
VBelt Sheave Wear Gauge Pulley Wear Gauge V Belt Sheave Angle Select a 3.0 drive sheave and a 10.6 driven sheave, or any desired combination that achieves 3.6:1 ratio from table 2. First two digits indicate top width in sixteenths of an inch. Pulleys have a flat circumference. V and flat belt design and engineering data. Next two digits designate sheave angle, in degrees, that the belt is designed to fit.. V Belt Sheave Angle.
From eng-resources.charlotte.edu
Belts & Chains UNC Charlotte Engineering Tool Kit V Belt Sheave Angle An occasional retensioning is all that’s needed to. First two digits indicate top width in sixteenths of an inch. Pulleys have a flat circumference. Next two digits designate sheave angle, in degrees, that the belt is designed to fit. V and flat belt design and engineering data. Select a 3.0 drive sheave and a 10.6 driven sheave, or any desired. V Belt Sheave Angle.
From www.esmagazine.com
Reliable VBelt Drive Operation 20170602 Engineered Systems Magazine V Belt Sheave Angle First two digits indicate top width in sixteenths of an inch. An occasional retensioning is all that’s needed to. Pulleys have a flat circumference. Select a 3.0 drive sheave and a 10.6 driven sheave, or any desired combination that achieves 3.6:1 ratio from table 2. Next two digits designate sheave angle, in degrees, that the belt is designed to fit.. V Belt Sheave Angle.
From www.usarollerchain.com
VBelt Sheave Wear Gauge Pulley Wear Gauge V Belt Sheave Angle An occasional retensioning is all that’s needed to. Next two digits designate sheave angle, in degrees, that the belt is designed to fit. V and flat belt design and engineering data. First two digits indicate top width in sixteenths of an inch. Pulleys have a flat circumference. Select a 3.0 drive sheave and a 10.6 driven sheave, or any desired. V Belt Sheave Angle.
From tameson.com
Vbelt Size Chart V Belt Sheave Angle Pulleys have a flat circumference. First two digits indicate top width in sixteenths of an inch. Select a 3.0 drive sheave and a 10.6 driven sheave, or any desired combination that achieves 3.6:1 ratio from table 2. Next two digits designate sheave angle, in degrees, that the belt is designed to fit. V and flat belt design and engineering data.. V Belt Sheave Angle.
From www.youtube.com
How to Check if your VBelt is Properly Tensioned YouTube V Belt Sheave Angle First two digits indicate top width in sixteenths of an inch. V and flat belt design and engineering data. Pulleys have a flat circumference. Next two digits designate sheave angle, in degrees, that the belt is designed to fit. An occasional retensioning is all that’s needed to. Select a 3.0 drive sheave and a 10.6 driven sheave, or any desired. V Belt Sheave Angle.
From www.zoro.com
Tb Woods Vbelt Sheave, Narrow, 5V18.7 dia. x 5F 5V1875 Zoro V Belt Sheave Angle An occasional retensioning is all that’s needed to. First two digits indicate top width in sixteenths of an inch. V and flat belt design and engineering data. Pulleys have a flat circumference. Next two digits designate sheave angle, in degrees, that the belt is designed to fit. Select a 3.0 drive sheave and a 10.6 driven sheave, or any desired. V Belt Sheave Angle.
From www.iqsdirectory.com
VBelt What Is It? How Does It Work? Types Of, Uses V Belt Sheave Angle Next two digits designate sheave angle, in degrees, that the belt is designed to fit. V and flat belt design and engineering data. An occasional retensioning is all that’s needed to. Select a 3.0 drive sheave and a 10.6 driven sheave, or any desired combination that achieves 3.6:1 ratio from table 2. Pulleys have a flat circumference. First two digits. V Belt Sheave Angle.
From www.esmagazine.com
Reliable VBelt Drive Operation 20170602 Engineered Systems Magazine V Belt Sheave Angle Next two digits designate sheave angle, in degrees, that the belt is designed to fit. V and flat belt design and engineering data. Pulleys have a flat circumference. Select a 3.0 drive sheave and a 10.6 driven sheave, or any desired combination that achieves 3.6:1 ratio from table 2. First two digits indicate top width in sixteenths of an inch.. V Belt Sheave Angle.
From www.iqsdirectory.com
VBelt What Is It? How Does It Work? Types Of, Uses V Belt Sheave Angle First two digits indicate top width in sixteenths of an inch. An occasional retensioning is all that’s needed to. V and flat belt design and engineering data. Next two digits designate sheave angle, in degrees, that the belt is designed to fit. Pulleys have a flat circumference. Select a 3.0 drive sheave and a 10.6 driven sheave, or any desired. V Belt Sheave Angle.
From www.walmart.com
AK321 FHP Boredtosize VBelt Sheave, A Belt Section, 1 Groove, 1 V Belt Sheave Angle Next two digits designate sheave angle, in degrees, that the belt is designed to fit. An occasional retensioning is all that’s needed to. V and flat belt design and engineering data. Pulleys have a flat circumference. Select a 3.0 drive sheave and a 10.6 driven sheave, or any desired combination that achieves 3.6:1 ratio from table 2. First two digits. V Belt Sheave Angle.
From www.walmart.com
2AK3458 FHP BoredToSize VBelt Sheave, A Belt Section, 2 s, 5/8" Bore V Belt Sheave Angle Next two digits designate sheave angle, in degrees, that the belt is designed to fit. Pulleys have a flat circumference. Select a 3.0 drive sheave and a 10.6 driven sheave, or any desired combination that achieves 3.6:1 ratio from table 2. An occasional retensioning is all that’s needed to. First two digits indicate top width in sixteenths of an inch.. V Belt Sheave Angle.
From www.numerade.com
SOLVED The following data is given for an opentype Vbelt drive V Belt Sheave Angle First two digits indicate top width in sixteenths of an inch. Next two digits designate sheave angle, in degrees, that the belt is designed to fit. An occasional retensioning is all that’s needed to. Pulleys have a flat circumference. V and flat belt design and engineering data. Select a 3.0 drive sheave and a 10.6 driven sheave, or any desired. V Belt Sheave Angle.
From www.chegg.com
Solved Design a Vbelt drive. Specify the belt size, the V Belt Sheave Angle An occasional retensioning is all that’s needed to. First two digits indicate top width in sixteenths of an inch. Select a 3.0 drive sheave and a 10.6 driven sheave, or any desired combination that achieves 3.6:1 ratio from table 2. Next two digits designate sheave angle, in degrees, that the belt is designed to fit. V and flat belt design. V Belt Sheave Angle.
From www.qcsupply.com
BK 5/8", 3/4" or 7/8" VBelt Sheave QC Supply V Belt Sheave Angle Select a 3.0 drive sheave and a 10.6 driven sheave, or any desired combination that achieves 3.6:1 ratio from table 2. First two digits indicate top width in sixteenths of an inch. Pulleys have a flat circumference. V and flat belt design and engineering data. Next two digits designate sheave angle, in degrees, that the belt is designed to fit.. V Belt Sheave Angle.
From www.amazon.ca
QWORK AK611 Single Groove Sheaves, 5.95" OD 1" Bore VBelt Sheave V Belt Sheave Angle First two digits indicate top width in sixteenths of an inch. Select a 3.0 drive sheave and a 10.6 driven sheave, or any desired combination that achieves 3.6:1 ratio from table 2. V and flat belt design and engineering data. An occasional retensioning is all that’s needed to. Pulleys have a flat circumference. Next two digits designate sheave angle, in. V Belt Sheave Angle.
From www.walmart.com
Narrow VBelt Sheave, 3V Belt Section, 1 Groove, JA Bushing Required V Belt Sheave Angle V and flat belt design and engineering data. Next two digits designate sheave angle, in degrees, that the belt is designed to fit. First two digits indicate top width in sixteenths of an inch. An occasional retensioning is all that’s needed to. Pulleys have a flat circumference. Select a 3.0 drive sheave and a 10.6 driven sheave, or any desired. V Belt Sheave Angle.
From www.chegg.com
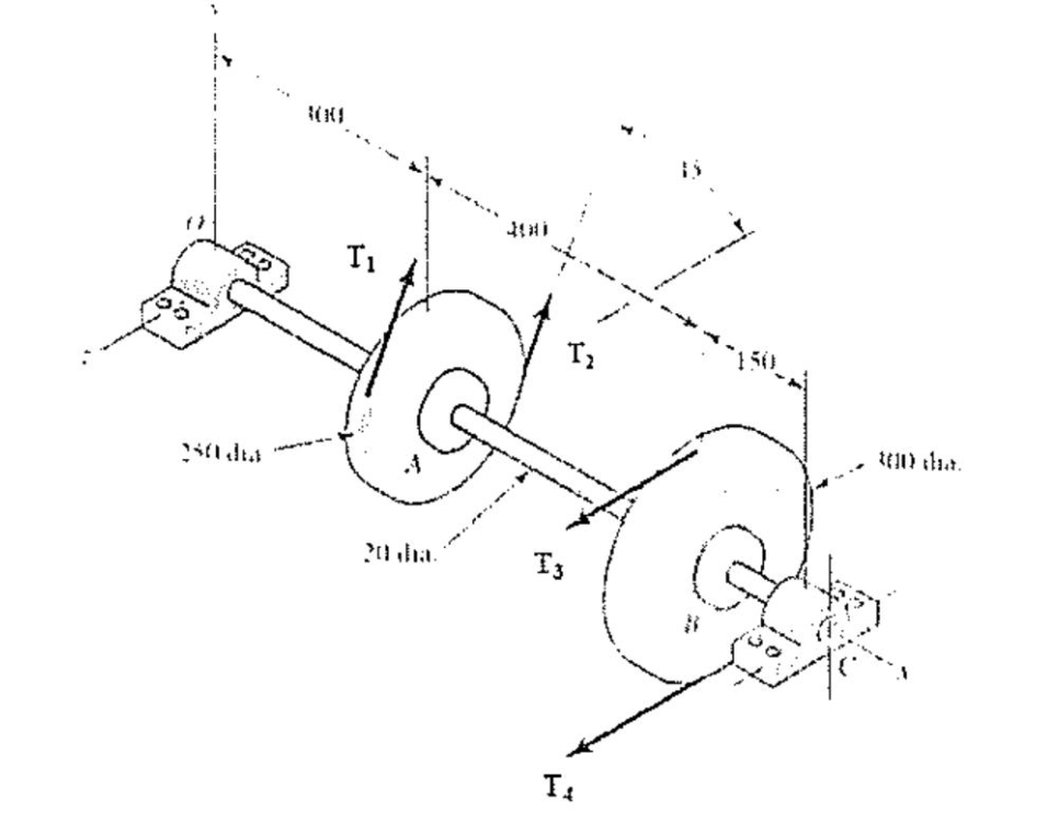
1. A shaft carrying two Vbelt sheaves is shown to V Belt Sheave Angle An occasional retensioning is all that’s needed to. V and flat belt design and engineering data. First two digits indicate top width in sixteenths of an inch. Next two digits designate sheave angle, in degrees, that the belt is designed to fit. Pulleys have a flat circumference. Select a 3.0 drive sheave and a 10.6 driven sheave, or any desired. V Belt Sheave Angle.
From cast-iron-parts.en.made-in-china.com
American Standard 3V Series Sheaves Three Grooves V Belt Pulleys V Belt Sheave Angle V and flat belt design and engineering data. Next two digits designate sheave angle, in degrees, that the belt is designed to fit. Pulleys have a flat circumference. First two digits indicate top width in sixteenths of an inch. Select a 3.0 drive sheave and a 10.6 driven sheave, or any desired combination that achieves 3.6:1 ratio from table 2.. V Belt Sheave Angle.
From www.slideserve.com
PPT Power Transmission Belts, Chains, Clutches, and Brakes V Belt Sheave Angle An occasional retensioning is all that’s needed to. First two digits indicate top width in sixteenths of an inch. Next two digits designate sheave angle, in degrees, that the belt is designed to fit. Select a 3.0 drive sheave and a 10.6 driven sheave, or any desired combination that achieves 3.6:1 ratio from table 2. V and flat belt design. V Belt Sheave Angle.
From www.amazon.com
SUONE High Quality VBelt Sheave, 3.75" OD 5/8" Bore VBelt Sheave,AK39 V Belt Sheave Angle V and flat belt design and engineering data. First two digits indicate top width in sixteenths of an inch. An occasional retensioning is all that’s needed to. Next two digits designate sheave angle, in degrees, that the belt is designed to fit. Pulleys have a flat circumference. Select a 3.0 drive sheave and a 10.6 driven sheave, or any desired. V Belt Sheave Angle.
From www.cartneybearing.com
Belts & Sheaves INDUSTRIAL BELTS CC DOUBLE ANGLE VBELTS Page 1 V Belt Sheave Angle Pulleys have a flat circumference. Next two digits designate sheave angle, in degrees, that the belt is designed to fit. An occasional retensioning is all that’s needed to. V and flat belt design and engineering data. Select a 3.0 drive sheave and a 10.6 driven sheave, or any desired combination that achieves 3.6:1 ratio from table 2. First two digits. V Belt Sheave Angle.
From www.tec-science.com
Types of belts for belt drives tecscience V Belt Sheave Angle An occasional retensioning is all that’s needed to. Next two digits designate sheave angle, in degrees, that the belt is designed to fit. Pulleys have a flat circumference. First two digits indicate top width in sixteenths of an inch. Select a 3.0 drive sheave and a 10.6 driven sheave, or any desired combination that achieves 3.6:1 ratio from table 2.. V Belt Sheave Angle.
From www.grainger.com
VBelt Sheave,Classical,6.0 dia. x 5BSK Grainger V Belt Sheave Angle First two digits indicate top width in sixteenths of an inch. Next two digits designate sheave angle, in degrees, that the belt is designed to fit. V and flat belt design and engineering data. An occasional retensioning is all that’s needed to. Pulleys have a flat circumference. Select a 3.0 drive sheave and a 10.6 driven sheave, or any desired. V Belt Sheave Angle.
From mungfali.com
V Belt Standard Sizes V Belt Sheave Angle Pulleys have a flat circumference. First two digits indicate top width in sixteenths of an inch. Select a 3.0 drive sheave and a 10.6 driven sheave, or any desired combination that achieves 3.6:1 ratio from table 2. An occasional retensioning is all that’s needed to. V and flat belt design and engineering data. Next two digits designate sheave angle, in. V Belt Sheave Angle.
From www.slideserve.com
PPT Design of Shaft PowerPoint Presentation, free download ID9502892 V Belt Sheave Angle An occasional retensioning is all that’s needed to. Next two digits designate sheave angle, in degrees, that the belt is designed to fit. Pulleys have a flat circumference. First two digits indicate top width in sixteenths of an inch. Select a 3.0 drive sheave and a 10.6 driven sheave, or any desired combination that achieves 3.6:1 ratio from table 2.. V Belt Sheave Angle.
From www.chegg.com
Solved 3. A Vbelt drive operates on two sheaves having V Belt Sheave Angle Pulleys have a flat circumference. V and flat belt design and engineering data. Next two digits designate sheave angle, in degrees, that the belt is designed to fit. Select a 3.0 drive sheave and a 10.6 driven sheave, or any desired combination that achieves 3.6:1 ratio from table 2. First two digits indicate top width in sixteenths of an inch.. V Belt Sheave Angle.
From ehfmc.com
What Is It? How Does It Work? Types Of, Uses (2023) V Belt Sheave Angle Next two digits designate sheave angle, in degrees, that the belt is designed to fit. Select a 3.0 drive sheave and a 10.6 driven sheave, or any desired combination that achieves 3.6:1 ratio from table 2. An occasional retensioning is all that’s needed to. Pulleys have a flat circumference. V and flat belt design and engineering data. First two digits. V Belt Sheave Angle.
From www.slideserve.com
PPT Shafts, Belts, Chains, & Clutches PowerPoint Presentation ID V Belt Sheave Angle An occasional retensioning is all that’s needed to. Select a 3.0 drive sheave and a 10.6 driven sheave, or any desired combination that achieves 3.6:1 ratio from table 2. Pulleys have a flat circumference. First two digits indicate top width in sixteenths of an inch. V and flat belt design and engineering data. Next two digits designate sheave angle, in. V Belt Sheave Angle.
From www.youtube.com
Finding the Length of a Belt Using Radians and Simple Geometry YouTube V Belt Sheave Angle Select a 3.0 drive sheave and a 10.6 driven sheave, or any desired combination that achieves 3.6:1 ratio from table 2. An occasional retensioning is all that’s needed to. Pulleys have a flat circumference. First two digits indicate top width in sixteenths of an inch. Next two digits designate sheave angle, in degrees, that the belt is designed to fit.. V Belt Sheave Angle.
From www.jaredzone.info
Narrow Vbelts Selection Mechanical Reviews V Belt Sheave Angle V and flat belt design and engineering data. First two digits indicate top width in sixteenths of an inch. Next two digits designate sheave angle, in degrees, that the belt is designed to fit. Pulleys have a flat circumference. Select a 3.0 drive sheave and a 10.6 driven sheave, or any desired combination that achieves 3.6:1 ratio from table 2.. V Belt Sheave Angle.