What Is The Scroll Bar . A scroll bar is a vertical or horizontal bar that lets you move the window viewing area up, down, left, or right. Learn how to use it with a mouse or a scroll wheel, and see. Find out how to make. A scroll bar is a graphical element that allows you to scroll through content that extends beyond the visible area of a window or a container. A scroll bar is a vertical or horizontal bar that allows you to move the contents of a window up and down or left and right. A scroll bar is a feature that allows you to view and scroll through the contents of a window that are too large to fit within the window. Learn how to change the size and visibility of scrollbars in windows 10 and 11 settings and registry editor. Learn how to customize the size and visibility of scroll bars on windows 11 using the settings app or the registry editor. Learn how to use, enable, and.
from blog.adafruit.com
A scroll bar is a feature that allows you to view and scroll through the contents of a window that are too large to fit within the window. Learn how to customize the size and visibility of scroll bars on windows 11 using the settings app or the registry editor. A scroll bar is a vertical or horizontal bar that allows you to move the contents of a window up and down or left and right. Learn how to use it with a mouse or a scroll wheel, and see. Learn how to change the size and visibility of scrollbars in windows 10 and 11 settings and registry editor. Learn how to use, enable, and. A scroll bar is a vertical or horizontal bar that lets you move the window viewing area up, down, left, or right. Find out how to make. A scroll bar is a graphical element that allows you to scroll through content that extends beyond the visible area of a window or a container.
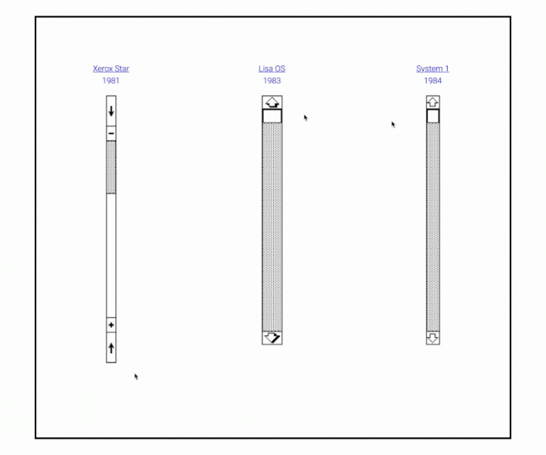
A Critical analysis of scroll bars throughout history « Adafruit
What Is The Scroll Bar Find out how to make. A scroll bar is a graphical element that allows you to scroll through content that extends beyond the visible area of a window or a container. A scroll bar is a feature that allows you to view and scroll through the contents of a window that are too large to fit within the window. Learn how to customize the size and visibility of scroll bars on windows 11 using the settings app or the registry editor. A scroll bar is a vertical or horizontal bar that allows you to move the contents of a window up and down or left and right. A scroll bar is a vertical or horizontal bar that lets you move the window viewing area up, down, left, or right. Learn how to use it with a mouse or a scroll wheel, and see. Learn how to change the size and visibility of scrollbars in windows 10 and 11 settings and registry editor. Learn how to use, enable, and. Find out how to make.
From onaircode.com
18+ Custom Scrollbar CSS Examples with Code OnAirCode What Is The Scroll Bar A scroll bar is a vertical or horizontal bar that allows you to move the contents of a window up and down or left and right. Learn how to use, enable, and. Find out how to make. A scroll bar is a vertical or horizontal bar that lets you move the window viewing area up, down, left, or right. A. What Is The Scroll Bar.
From www.dreamstime.com
Scroll Bar. Stock Images Image 14529454 What Is The Scroll Bar Learn how to change the size and visibility of scrollbars in windows 10 and 11 settings and registry editor. A scroll bar is a vertical or horizontal bar that allows you to move the contents of a window up and down or left and right. A scroll bar is a feature that allows you to view and scroll through the. What Is The Scroll Bar.
From www.softwareok.com
Always show the scroll bar in the Windows 11 settings? What Is The Scroll Bar A scroll bar is a vertical or horizontal bar that allows you to move the contents of a window up and down or left and right. A scroll bar is a feature that allows you to view and scroll through the contents of a window that are too large to fit within the window. Learn how to change the size. What Is The Scroll Bar.
From dxooqrnnk.blob.core.windows.net
What Is A Scroll Bar Html at Andrew Robinson blog What Is The Scroll Bar Find out how to make. Learn how to change the size and visibility of scrollbars in windows 10 and 11 settings and registry editor. Learn how to use, enable, and. Learn how to customize the size and visibility of scroll bars on windows 11 using the settings app or the registry editor. Learn how to use it with a mouse. What Is The Scroll Bar.
From www.wallstreetmojo.com
Scroll Bars in Excel (Uses, Examples) How to Create a Scroll Bars? What Is The Scroll Bar Learn how to customize the size and visibility of scroll bars on windows 11 using the settings app or the registry editor. A scroll bar is a vertical or horizontal bar that allows you to move the contents of a window up and down or left and right. A scroll bar is a feature that allows you to view and. What Is The Scroll Bar.
From exypexodg.blob.core.windows.net
What Is A Scroll Bar In A Computer at Beverly Parker blog What Is The Scroll Bar Find out how to make. Learn how to use, enable, and. Learn how to use it with a mouse or a scroll wheel, and see. A scroll bar is a feature that allows you to view and scroll through the contents of a window that are too large to fit within the window. Learn how to customize the size and. What Is The Scroll Bar.
From exohkbfgq.blob.core.windows.net
What Is Use Of Scroll Bar In Awt at Edward Albert blog What Is The Scroll Bar A scroll bar is a feature that allows you to view and scroll through the contents of a window that are too large to fit within the window. Learn how to customize the size and visibility of scroll bars on windows 11 using the settings app or the registry editor. Learn how to change the size and visibility of scrollbars. What Is The Scroll Bar.
From aroed.blogspot.com
Create Horizontal Scrollbar What Is The Scroll Bar A scroll bar is a vertical or horizontal bar that allows you to move the contents of a window up and down or left and right. Learn how to change the size and visibility of scrollbars in windows 10 and 11 settings and registry editor. A scroll bar is a feature that allows you to view and scroll through the. What Is The Scroll Bar.
From blog.adafruit.com
A Critical analysis of scroll bars throughout history « Adafruit What Is The Scroll Bar Learn how to change the size and visibility of scrollbars in windows 10 and 11 settings and registry editor. A scroll bar is a vertical or horizontal bar that lets you move the window viewing area up, down, left, or right. A scroll bar is a graphical element that allows you to scroll through content that extends beyond the visible. What Is The Scroll Bar.
From www.rajaramdas.com.np
MSExcel Basic What Is The Scroll Bar A scroll bar is a feature that allows you to view and scroll through the contents of a window that are too large to fit within the window. Find out how to make. Learn how to customize the size and visibility of scroll bars on windows 11 using the settings app or the registry editor. A scroll bar is a. What Is The Scroll Bar.
From exypexodg.blob.core.windows.net
What Is A Scroll Bar In A Computer at Beverly Parker blog What Is The Scroll Bar A scroll bar is a graphical element that allows you to scroll through content that extends beyond the visible area of a window or a container. Learn how to use, enable, and. Learn how to change the size and visibility of scrollbars in windows 10 and 11 settings and registry editor. A scroll bar is a vertical or horizontal bar. What Is The Scroll Bar.
From www.youtube.com
3 Ways to Show and/or Hide Vertical and Horizontal Scroll Bars in What Is The Scroll Bar A scroll bar is a feature that allows you to view and scroll through the contents of a window that are too large to fit within the window. A scroll bar is a vertical or horizontal bar that allows you to move the contents of a window up and down or left and right. A scroll bar is a vertical. What Is The Scroll Bar.
From www.youtube.com
How To Create A Horizontal Scroll Bar In HTML YouTube What Is The Scroll Bar Learn how to change the size and visibility of scrollbars in windows 10 and 11 settings and registry editor. Learn how to use it with a mouse or a scroll wheel, and see. Find out how to make. Learn how to customize the size and visibility of scroll bars on windows 11 using the settings app or the registry editor.. What Is The Scroll Bar.
From www.youtube.com
Windows Scroll Bar Evolution (1.01 11) YouTube What Is The Scroll Bar A scroll bar is a vertical or horizontal bar that allows you to move the contents of a window up and down or left and right. Find out how to make. A scroll bar is a feature that allows you to view and scroll through the contents of a window that are too large to fit within the window. Learn. What Is The Scroll Bar.
From developers.google.com
Scrollbar Design for Driving Google for Developers What Is The Scroll Bar A scroll bar is a graphical element that allows you to scroll through content that extends beyond the visible area of a window or a container. A scroll bar is a vertical or horizontal bar that lets you move the window viewing area up, down, left, or right. Learn how to use, enable, and. Find out how to make. A. What Is The Scroll Bar.
From dxooqrnnk.blob.core.windows.net
What Is A Scroll Bar Html at Andrew Robinson blog What Is The Scroll Bar Learn how to use it with a mouse or a scroll wheel, and see. A scroll bar is a vertical or horizontal bar that allows you to move the contents of a window up and down or left and right. Learn how to use, enable, and. Learn how to customize the size and visibility of scroll bars on windows 11. What Is The Scroll Bar.
From gioicfcie.blob.core.windows.net
Scroll Bar Components at Carol Bruni blog What Is The Scroll Bar A scroll bar is a vertical or horizontal bar that lets you move the window viewing area up, down, left, or right. Find out how to make. A scroll bar is a graphical element that allows you to scroll through content that extends beyond the visible area of a window or a container. Learn how to customize the size and. What Is The Scroll Bar.
From www.youtube.com
How to use Scroll Bars in Microsoft Word and how to navigate Scroll What Is The Scroll Bar Learn how to use, enable, and. Learn how to customize the size and visibility of scroll bars on windows 11 using the settings app or the registry editor. A scroll bar is a vertical or horizontal bar that allows you to move the contents of a window up and down or left and right. Find out how to make. A. What Is The Scroll Bar.
From www.wallstreetmojo.com
Scroll Bars in Excel (Uses, Examples) How to Create a Scroll Bars? What Is The Scroll Bar Learn how to customize the size and visibility of scroll bars on windows 11 using the settings app or the registry editor. A scroll bar is a vertical or horizontal bar that lets you move the window viewing area up, down, left, or right. Learn how to change the size and visibility of scrollbars in windows 10 and 11 settings. What Is The Scroll Bar.
From technoresult.com
How to Enable or Disable Scroll bar in Excel? Technoresult What Is The Scroll Bar A scroll bar is a feature that allows you to view and scroll through the contents of a window that are too large to fit within the window. Learn how to use it with a mouse or a scroll wheel, and see. A scroll bar is a vertical or horizontal bar that lets you move the window viewing area up,. What Is The Scroll Bar.
From www.youtube.com
How_ to_ create_Scroll_bar_in_html YouTube What Is The Scroll Bar Find out how to make. Learn how to customize the size and visibility of scroll bars on windows 11 using the settings app or the registry editor. A scroll bar is a vertical or horizontal bar that lets you move the window viewing area up, down, left, or right. Learn how to use, enable, and. Learn how to change the. What Is The Scroll Bar.
From www.spreadsheetshoppe.com
How to Add a Scroll Bar in Excel What Is The Scroll Bar Learn how to customize the size and visibility of scroll bars on windows 11 using the settings app or the registry editor. A scroll bar is a vertical or horizontal bar that lets you move the window viewing area up, down, left, or right. Learn how to use, enable, and. A scroll bar is a graphical element that allows you. What Is The Scroll Bar.
From www.simonsezit.com
Is Your Excel Scroll Bar Missing? 4 Easy Ways to Fix It What Is The Scroll Bar A scroll bar is a vertical or horizontal bar that allows you to move the contents of a window up and down or left and right. Learn how to change the size and visibility of scrollbars in windows 10 and 11 settings and registry editor. Learn how to customize the size and visibility of scroll bars on windows 11 using. What Is The Scroll Bar.
From www.wallstreetmojo.com
Scroll Bars in Excel (Uses, Examples) How to Create a Scroll Bars? What Is The Scroll Bar A scroll bar is a feature that allows you to view and scroll through the contents of a window that are too large to fit within the window. A scroll bar is a graphical element that allows you to scroll through content that extends beyond the visible area of a window or a container. Learn how to use, enable, and.. What Is The Scroll Bar.
From app.uxcel.com
Scroll Bar Uxcel What Is The Scroll Bar Find out how to make. A scroll bar is a vertical or horizontal bar that lets you move the window viewing area up, down, left, or right. Learn how to use it with a mouse or a scroll wheel, and see. Learn how to customize the size and visibility of scroll bars on windows 11 using the settings app or. What Is The Scroll Bar.
From klakratkb.blob.core.windows.net
What Is The Use Of Scroll Bar at Curtis Freeman blog What Is The Scroll Bar A scroll bar is a graphical element that allows you to scroll through content that extends beyond the visible area of a window or a container. Learn how to use it with a mouse or a scroll wheel, and see. A scroll bar is a vertical or horizontal bar that allows you to move the contents of a window up. What Is The Scroll Bar.
From exoivyhzn.blob.core.windows.net
What Are The Scroll Bar In Computer at Mildred Bewley blog What Is The Scroll Bar A scroll bar is a vertical or horizontal bar that lets you move the window viewing area up, down, left, or right. Learn how to use it with a mouse or a scroll wheel, and see. A scroll bar is a vertical or horizontal bar that allows you to move the contents of a window up and down or left. What Is The Scroll Bar.
From cepbmmib.blob.core.windows.net
Whats A Scroll Bar at Amber Fowler blog What Is The Scroll Bar Find out how to make. Learn how to use it with a mouse or a scroll wheel, and see. Learn how to use, enable, and. Learn how to change the size and visibility of scrollbars in windows 10 and 11 settings and registry editor. A scroll bar is a feature that allows you to view and scroll through the contents. What Is The Scroll Bar.
From www.youtube.com
How to get new Windows 11 Scroll Bar in Microsoft Edge. YouTube What Is The Scroll Bar A scroll bar is a vertical or horizontal bar that lets you move the window viewing area up, down, left, or right. A scroll bar is a vertical or horizontal bar that allows you to move the contents of a window up and down or left and right. Learn how to customize the size and visibility of scroll bars on. What Is The Scroll Bar.
From www.groovypost.com
How to Make Scroll Bars Wider in Windows 11 What Is The Scroll Bar Learn how to use, enable, and. Learn how to customize the size and visibility of scroll bars on windows 11 using the settings app or the registry editor. Learn how to use it with a mouse or a scroll wheel, and see. A scroll bar is a graphical element that allows you to scroll through content that extends beyond the. What Is The Scroll Bar.
From www.lifewire.com
How to Hide Scroll Bars and Reset Slider Range in Excel What Is The Scroll Bar Learn how to change the size and visibility of scrollbars in windows 10 and 11 settings and registry editor. Learn how to customize the size and visibility of scroll bars on windows 11 using the settings app or the registry editor. Learn how to use, enable, and. Learn how to use it with a mouse or a scroll wheel, and. What Is The Scroll Bar.
From www.youtube.com
Adding a Scroll Bar in Excel YouTube What Is The Scroll Bar Learn how to change the size and visibility of scrollbars in windows 10 and 11 settings and registry editor. A scroll bar is a feature that allows you to view and scroll through the contents of a window that are too large to fit within the window. Learn how to use, enable, and. A scroll bar is a vertical or. What Is The Scroll Bar.
From www.abac-bd.com
Create a Text Box with Horizontal and Vertical Scroll Bar What Is The Scroll Bar Learn how to customize the size and visibility of scroll bars on windows 11 using the settings app or the registry editor. Learn how to use it with a mouse or a scroll wheel, and see. A scroll bar is a vertical or horizontal bar that lets you move the window viewing area up, down, left, or right. Find out. What Is The Scroll Bar.
From www.youtube.com
PowerPoint 2016 Tutorial The Scroll Bars Microsoft Training YouTube What Is The Scroll Bar A scroll bar is a feature that allows you to view and scroll through the contents of a window that are too large to fit within the window. A scroll bar is a vertical or horizontal bar that allows you to move the contents of a window up and down or left and right. Learn how to use it with. What Is The Scroll Bar.
From kottke.org
Revisit the history of the scroll bar What Is The Scroll Bar Learn how to change the size and visibility of scrollbars in windows 10 and 11 settings and registry editor. A scroll bar is a vertical or horizontal bar that lets you move the window viewing area up, down, left, or right. A scroll bar is a graphical element that allows you to scroll through content that extends beyond the visible. What Is The Scroll Bar.