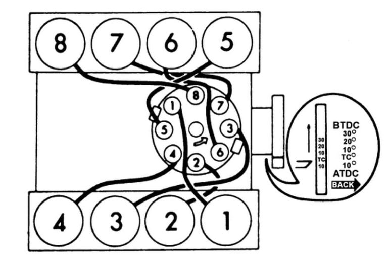
Bbc Hei Distributor Firing Order . learn the firing order for chevy sbc and bbc engines, with diagrams and explanations. The firing order works for various engine models, from 283. a discussion thread about how to check and adjust the firing order of a 396 engine in a '68 camaro. when working on a 350 chevy small block, especially if you’re dealing with a high energy ignition (hei) system,. learn the firing order of chevy 350 engines, a popular small block v8 that can be found in various models. learn how to install, find top dead center, and set spark plug wires for a bbc. gm’s high energy ignition (hei) distributor has been used as an affordable, easy to install performance distributor since its introduction in the mid.
from www.wiringdigital.com
learn the firing order of chevy 350 engines, a popular small block v8 that can be found in various models. a discussion thread about how to check and adjust the firing order of a 396 engine in a '68 camaro. when working on a 350 chevy small block, especially if you’re dealing with a high energy ignition (hei) system,. learn the firing order for chevy sbc and bbc engines, with diagrams and explanations. The firing order works for various engine models, from 283. learn how to install, find top dead center, and set spark plug wires for a bbc. gm’s high energy ignition (hei) distributor has been used as an affordable, easy to install performance distributor since its introduction in the mid.
Firing Order Bbc 454 » Wiring Digital And Schematic
Bbc Hei Distributor Firing Order gm’s high energy ignition (hei) distributor has been used as an affordable, easy to install performance distributor since its introduction in the mid. gm’s high energy ignition (hei) distributor has been used as an affordable, easy to install performance distributor since its introduction in the mid. learn the firing order for chevy sbc and bbc engines, with diagrams and explanations. when working on a 350 chevy small block, especially if you’re dealing with a high energy ignition (hei) system,. learn the firing order of chevy 350 engines, a popular small block v8 that can be found in various models. a discussion thread about how to check and adjust the firing order of a 396 engine in a '68 camaro. learn how to install, find top dead center, and set spark plug wires for a bbc. The firing order works for various engine models, from 283.
From mavink.com
Chevy 350 Firing Order Hei Bbc Hei Distributor Firing Order learn the firing order of chevy 350 engines, a popular small block v8 that can be found in various models. The firing order works for various engine models, from 283. learn the firing order for chevy sbc and bbc engines, with diagrams and explanations. a discussion thread about how to check and adjust the firing order of. Bbc Hei Distributor Firing Order.
From www.tigerautomotive.com
HEI DISTRIBUTOR SBC/BBC Bbc Hei Distributor Firing Order learn the firing order for chevy sbc and bbc engines, with diagrams and explanations. The firing order works for various engine models, from 283. a discussion thread about how to check and adjust the firing order of a 396 engine in a '68 camaro. learn how to install, find top dead center, and set spark plug wires. Bbc Hei Distributor Firing Order.
From everythingpantry.com
Our 10 Best Cap Firing Order Hei Distributors Top Product Reviwed Bbc Hei Distributor Firing Order gm’s high energy ignition (hei) distributor has been used as an affordable, easy to install performance distributor since its introduction in the mid. The firing order works for various engine models, from 283. when working on a 350 chevy small block, especially if you’re dealing with a high energy ignition (hei) system,. a discussion thread about how. Bbc Hei Distributor Firing Order.
From fordfiringorder.com
Ford 302 Hei Distributor Firing Order Wiring and Printable Bbc Hei Distributor Firing Order The firing order works for various engine models, from 283. learn the firing order of chevy 350 engines, a popular small block v8 that can be found in various models. learn how to install, find top dead center, and set spark plug wires for a bbc. a discussion thread about how to check and adjust the firing. Bbc Hei Distributor Firing Order.
From fordfiringorder.com
Ford Hei Distributor Firing Order Wiring and Printable Bbc Hei Distributor Firing Order a discussion thread about how to check and adjust the firing order of a 396 engine in a '68 camaro. gm’s high energy ignition (hei) distributor has been used as an affordable, easy to install performance distributor since its introduction in the mid. learn the firing order for chevy sbc and bbc engines, with diagrams and explanations.. Bbc Hei Distributor Firing Order.
From paintard.blogspot.com
Paintard 454 Firing Order Hei Bbc Hei Distributor Firing Order gm’s high energy ignition (hei) distributor has been used as an affordable, easy to install performance distributor since its introduction in the mid. learn the firing order of chevy 350 engines, a popular small block v8 that can be found in various models. learn the firing order for chevy sbc and bbc engines, with diagrams and explanations.. Bbc Hei Distributor Firing Order.
From angf35eis.com
Find the Right Firing Order for Chevy 350, SBC, and BBC Here AFE Chevy Bbc Hei Distributor Firing Order a discussion thread about how to check and adjust the firing order of a 396 engine in a '68 camaro. learn how to install, find top dead center, and set spark plug wires for a bbc. The firing order works for various engine models, from 283. learn the firing order of chevy 350 engines, a popular small. Bbc Hei Distributor Firing Order.
From suimeiladschematic.z14.web.core.windows.net
Hei Distributor Chevy 350 Firing Order Hei Bbc Hei Distributor Firing Order gm’s high energy ignition (hei) distributor has been used as an affordable, easy to install performance distributor since its introduction in the mid. a discussion thread about how to check and adjust the firing order of a 396 engine in a '68 camaro. learn the firing order of chevy 350 engines, a popular small block v8 that. Bbc Hei Distributor Firing Order.
From www.flowschema.com
Firing Order Bbc 454 Wiring Flow Schema Bbc Hei Distributor Firing Order when working on a 350 chevy small block, especially if you’re dealing with a high energy ignition (hei) system,. gm’s high energy ignition (hei) distributor has been used as an affordable, easy to install performance distributor since its introduction in the mid. learn the firing order for chevy sbc and bbc engines, with diagrams and explanations. . Bbc Hei Distributor Firing Order.
From www.wiringdigital.com
Firing Order Bbc 454 » Wiring Digital And Schematic Bbc Hei Distributor Firing Order learn the firing order of chevy 350 engines, a popular small block v8 that can be found in various models. The firing order works for various engine models, from 283. a discussion thread about how to check and adjust the firing order of a 396 engine in a '68 camaro. learn how to install, find top dead. Bbc Hei Distributor Firing Order.
From rvpartsexpress.com
SBC/BBC HEI Distributor RV Parts Express Specialty RV Parts Retailer Bbc Hei Distributor Firing Order when working on a 350 chevy small block, especially if you’re dealing with a high energy ignition (hei) system,. a discussion thread about how to check and adjust the firing order of a 396 engine in a '68 camaro. learn the firing order of chevy 350 engines, a popular small block v8 that can be found in. Bbc Hei Distributor Firing Order.
From fordfiringorder.com
Ford Hei Distributor Firing Order Wiring and Printable Bbc Hei Distributor Firing Order learn the firing order of chevy 350 engines, a popular small block v8 that can be found in various models. when working on a 350 chevy small block, especially if you’re dealing with a high energy ignition (hei) system,. a discussion thread about how to check and adjust the firing order of a 396 engine in a. Bbc Hei Distributor Firing Order.
From angf35eis.com
Find the Right Firing Order for Chevy 350, SBC, and BBC Here AFE Chevy Bbc Hei Distributor Firing Order when working on a 350 chevy small block, especially if you’re dealing with a high energy ignition (hei) system,. gm’s high energy ignition (hei) distributor has been used as an affordable, easy to install performance distributor since its introduction in the mid. learn how to install, find top dead center, and set spark plug wires for a. Bbc Hei Distributor Firing Order.
From www.wiringdigital.com
Firing Order Bbc 454 » Wiring Digital And Schematic Bbc Hei Distributor Firing Order when working on a 350 chevy small block, especially if you’re dealing with a high energy ignition (hei) system,. learn how to install, find top dead center, and set spark plug wires for a bbc. learn the firing order of chevy 350 engines, a popular small block v8 that can be found in various models. The firing. Bbc Hei Distributor Firing Order.
From balsemjeqyschematic.z14.web.core.windows.net
How To Wire Up Hei Distributor Bbc Hei Distributor Firing Order learn the firing order for chevy sbc and bbc engines, with diagrams and explanations. learn the firing order of chevy 350 engines, a popular small block v8 that can be found in various models. The firing order works for various engine models, from 283. a discussion thread about how to check and adjust the firing order of. Bbc Hei Distributor Firing Order.
From www.schemadigital.com
firing order bbc 454 Schema Digital Bbc Hei Distributor Firing Order a discussion thread about how to check and adjust the firing order of a 396 engine in a '68 camaro. The firing order works for various engine models, from 283. learn the firing order for chevy sbc and bbc engines, with diagrams and explanations. when working on a 350 chevy small block, especially if you’re dealing with. Bbc Hei Distributor Firing Order.
From fordfiringorder.com
Ford 302 Hei Distributor Firing Order Wiring and Printable Bbc Hei Distributor Firing Order learn the firing order of chevy 350 engines, a popular small block v8 that can be found in various models. The firing order works for various engine models, from 283. when working on a 350 chevy small block, especially if you’re dealing with a high energy ignition (hei) system,. learn how to install, find top dead center,. Bbc Hei Distributor Firing Order.
From paintard.blogspot.com
Paintard 454 Firing Order Hei Bbc Hei Distributor Firing Order gm’s high energy ignition (hei) distributor has been used as an affordable, easy to install performance distributor since its introduction in the mid. learn the firing order of chevy 350 engines, a popular small block v8 that can be found in various models. learn the firing order for chevy sbc and bbc engines, with diagrams and explanations.. Bbc Hei Distributor Firing Order.
From www.wiringhow.com
firing order bbc 454 Wiring How Bbc Hei Distributor Firing Order gm’s high energy ignition (hei) distributor has been used as an affordable, easy to install performance distributor since its introduction in the mid. learn how to install, find top dead center, and set spark plug wires for a bbc. The firing order works for various engine models, from 283. learn the firing order for chevy sbc and. Bbc Hei Distributor Firing Order.
From www.wiringdigital.com
Firing Order Bbc 454 » Wiring Digital And Schematic Bbc Hei Distributor Firing Order The firing order works for various engine models, from 283. learn how to install, find top dead center, and set spark plug wires for a bbc. a discussion thread about how to check and adjust the firing order of a 396 engine in a '68 camaro. learn the firing order for chevy sbc and bbc engines, with. Bbc Hei Distributor Firing Order.
From partmcveighorphanages.z21.web.core.windows.net
Ford 351w Hei Distributor Wiring Diagram Bbc Hei Distributor Firing Order learn how to install, find top dead center, and set spark plug wires for a bbc. The firing order works for various engine models, from 283. learn the firing order for chevy sbc and bbc engines, with diagrams and explanations. a discussion thread about how to check and adjust the firing order of a 396 engine in. Bbc Hei Distributor Firing Order.
From carscounsel.com
Ford 302 Hei Distributor Firing Order [With Diagram] Bbc Hei Distributor Firing Order The firing order works for various engine models, from 283. learn the firing order for chevy sbc and bbc engines, with diagrams and explanations. learn how to install, find top dead center, and set spark plug wires for a bbc. a discussion thread about how to check and adjust the firing order of a 396 engine in. Bbc Hei Distributor Firing Order.
From www.wiringscan.com
Firing Order Chevy 350 Hei Distributor Wiring Diagram Wiring Scan Bbc Hei Distributor Firing Order learn how to install, find top dead center, and set spark plug wires for a bbc. a discussion thread about how to check and adjust the firing order of a 396 engine in a '68 camaro. learn the firing order of chevy 350 engines, a popular small block v8 that can be found in various models. The. Bbc Hei Distributor Firing Order.
From carscounsel.com
Ford 302 Hei Distributor Firing Order [With Diagram] Bbc Hei Distributor Firing Order a discussion thread about how to check and adjust the firing order of a 396 engine in a '68 camaro. learn the firing order of chevy 350 engines, a popular small block v8 that can be found in various models. The firing order works for various engine models, from 283. gm’s high energy ignition (hei) distributor has. Bbc Hei Distributor Firing Order.
From workshoprepaire1fr41k.z21.web.core.windows.net
Hei Distributor Chevy 350 Firing Order Hei Bbc Hei Distributor Firing Order a discussion thread about how to check and adjust the firing order of a 396 engine in a '68 camaro. The firing order works for various engine models, from 283. learn the firing order of chevy 350 engines, a popular small block v8 that can be found in various models. when working on a 350 chevy small. Bbc Hei Distributor Firing Order.
From www.speedwaymotors.com
GM HEI Ignition Bbc Hei Distributor Firing Order learn the firing order for chevy sbc and bbc engines, with diagrams and explanations. learn the firing order of chevy 350 engines, a popular small block v8 that can be found in various models. learn how to install, find top dead center, and set spark plug wires for a bbc. when working on a 350 chevy. Bbc Hei Distributor Firing Order.
From www.wiringscan.com
Firing Order Chevy 350 Hei Distributor Wiring Diagram Wiring Scan Bbc Hei Distributor Firing Order when working on a 350 chevy small block, especially if you’re dealing with a high energy ignition (hei) system,. learn how to install, find top dead center, and set spark plug wires for a bbc. The firing order works for various engine models, from 283. learn the firing order of chevy 350 engines, a popular small block. Bbc Hei Distributor Firing Order.
From stockollie.blogspot.com
bbc firing order diagram Stock Ollie Bbc Hei Distributor Firing Order learn how to install, find top dead center, and set spark plug wires for a bbc. learn the firing order of chevy 350 engines, a popular small block v8 that can be found in various models. The firing order works for various engine models, from 283. gm’s high energy ignition (hei) distributor has been used as an. Bbc Hei Distributor Firing Order.
From www.4math.net
70s 350 Firing Order Clearance Outlet Bbc Hei Distributor Firing Order gm’s high energy ignition (hei) distributor has been used as an affordable, easy to install performance distributor since its introduction in the mid. learn the firing order for chevy sbc and bbc engines, with diagrams and explanations. when working on a 350 chevy small block, especially if you’re dealing with a high energy ignition (hei) system,. . Bbc Hei Distributor Firing Order.
From fordfiringorder.com
Ford 302 Hei Distributor Firing Order Wiring and Printable Bbc Hei Distributor Firing Order learn the firing order for chevy sbc and bbc engines, with diagrams and explanations. gm’s high energy ignition (hei) distributor has been used as an affordable, easy to install performance distributor since its introduction in the mid. learn how to install, find top dead center, and set spark plug wires for a bbc. a discussion thread. Bbc Hei Distributor Firing Order.
From mavink.com
Chevy 350 Firing Order Hei Bbc Hei Distributor Firing Order learn the firing order for chevy sbc and bbc engines, with diagrams and explanations. The firing order works for various engine models, from 283. learn how to install, find top dead center, and set spark plug wires for a bbc. learn the firing order of chevy 350 engines, a popular small block v8 that can be found. Bbc Hei Distributor Firing Order.
From www.wiringstech.com
firing order bbc 454 Wiring Technology Bbc Hei Distributor Firing Order learn the firing order for chevy sbc and bbc engines, with diagrams and explanations. a discussion thread about how to check and adjust the firing order of a 396 engine in a '68 camaro. The firing order works for various engine models, from 283. when working on a 350 chevy small block, especially if you’re dealing with. Bbc Hei Distributor Firing Order.
From www.ebay.com
FIRING ORDER DECAL fits Chevrolet Chevy big block Rat BBC 396 427 454 Bbc Hei Distributor Firing Order gm’s high energy ignition (hei) distributor has been used as an affordable, easy to install performance distributor since its introduction in the mid. when working on a 350 chevy small block, especially if you’re dealing with a high energy ignition (hei) system,. learn how to install, find top dead center, and set spark plug wires for a. Bbc Hei Distributor Firing Order.
From www.flowschema.com
Firing Order Bbc 454 Wiring Flow Schema Bbc Hei Distributor Firing Order learn the firing order of chevy 350 engines, a popular small block v8 that can be found in various models. a discussion thread about how to check and adjust the firing order of a 396 engine in a '68 camaro. learn the firing order for chevy sbc and bbc engines, with diagrams and explanations. The firing order. Bbc Hei Distributor Firing Order.
From www.wiringdigital.com
Firing Order Bbc 454 » Wiring Digital And Schematic Bbc Hei Distributor Firing Order learn the firing order of chevy 350 engines, a popular small block v8 that can be found in various models. when working on a 350 chevy small block, especially if you’re dealing with a high energy ignition (hei) system,. learn the firing order for chevy sbc and bbc engines, with diagrams and explanations. gm’s high energy. Bbc Hei Distributor Firing Order.