Parts Of Reciprocating Mower . Understand the anatomy of your lawn mower and easily locate. They are mainly composed of two parts: The knife cuts the crop. According to the source of power, mowers. It is a mower with a knife made of several serrated triangular sections that reciprocate against stationary fingers. There are different types of mowers used for cutting grass and forage crop such as cylinder, reciprocating, horizontal rotary and flail type mowers. A typical lawn mower consists of a blade for cutting grass, an engine to power the blade, a fuel tank or battery. Reciprocating lawn mowers rely on the relative shearing motion of the moving and stationary knives on the cutter to cut grass. It is a mower with a knife having sections that reciprocate against stationary fingers. The tractor and the lawn.
from patents.google.com
They are mainly composed of two parts: According to the source of power, mowers. Reciprocating lawn mowers rely on the relative shearing motion of the moving and stationary knives on the cutter to cut grass. The knife cuts the crop. The tractor and the lawn. It is a mower with a knife made of several serrated triangular sections that reciprocate against stationary fingers. Understand the anatomy of your lawn mower and easily locate. A typical lawn mower consists of a blade for cutting grass, an engine to power the blade, a fuel tank or battery. It is a mower with a knife having sections that reciprocate against stationary fingers. There are different types of mowers used for cutting grass and forage crop such as cylinder, reciprocating, horizontal rotary and flail type mowers.
EP1659302A1 Connection means between rod and crosshead for a
Parts Of Reciprocating Mower It is a mower with a knife having sections that reciprocate against stationary fingers. There are different types of mowers used for cutting grass and forage crop such as cylinder, reciprocating, horizontal rotary and flail type mowers. The knife cuts the crop. According to the source of power, mowers. Reciprocating lawn mowers rely on the relative shearing motion of the moving and stationary knives on the cutter to cut grass. They are mainly composed of two parts: It is a mower with a knife made of several serrated triangular sections that reciprocate against stationary fingers. It is a mower with a knife having sections that reciprocate against stationary fingers. A typical lawn mower consists of a blade for cutting grass, an engine to power the blade, a fuel tank or battery. Understand the anatomy of your lawn mower and easily locate. The tractor and the lawn.
From www.alibaba.com
High Quality Tractor Propelled Mower Lawn Remote Controlled Parts Of Reciprocating Mower A typical lawn mower consists of a blade for cutting grass, an engine to power the blade, a fuel tank or battery. They are mainly composed of two parts: It is a mower with a knife made of several serrated triangular sections that reciprocate against stationary fingers. Reciprocating lawn mowers rely on the relative shearing motion of the moving and. Parts Of Reciprocating Mower.
From classenturfcare.com
Reciprocating Classen Parts Of Reciprocating Mower It is a mower with a knife made of several serrated triangular sections that reciprocate against stationary fingers. Understand the anatomy of your lawn mower and easily locate. It is a mower with a knife having sections that reciprocate against stationary fingers. The knife cuts the crop. A typical lawn mower consists of a blade for cutting grass, an engine. Parts Of Reciprocating Mower.
From mechanicaljungle.com
Parts of Reciprocating Pump Definition of Reciprocating Pump Parts Of Reciprocating Mower It is a mower with a knife made of several serrated triangular sections that reciprocate against stationary fingers. According to the source of power, mowers. Understand the anatomy of your lawn mower and easily locate. It is a mower with a knife having sections that reciprocate against stationary fingers. Reciprocating lawn mowers rely on the relative shearing motion of the. Parts Of Reciprocating Mower.
From userdbanaya.z13.web.core.windows.net
Diagram Of Four Stroke Engine Parts Of Reciprocating Mower Reciprocating lawn mowers rely on the relative shearing motion of the moving and stationary knives on the cutter to cut grass. They are mainly composed of two parts: According to the source of power, mowers. There are different types of mowers used for cutting grass and forage crop such as cylinder, reciprocating, horizontal rotary and flail type mowers. The knife. Parts Of Reciprocating Mower.
From www.diytrade.com
9GB series reciprocatingtype Mower with rake 9GB1.4 Ruinong Parts Of Reciprocating Mower It is a mower with a knife made of several serrated triangular sections that reciprocate against stationary fingers. Understand the anatomy of your lawn mower and easily locate. Reciprocating lawn mowers rely on the relative shearing motion of the moving and stationary knives on the cutter to cut grass. There are different types of mowers used for cutting grass and. Parts Of Reciprocating Mower.
From patents.google.com
EP1659302A1 Connection means between rod and crosshead for a Parts Of Reciprocating Mower The knife cuts the crop. According to the source of power, mowers. The tractor and the lawn. Reciprocating lawn mowers rely on the relative shearing motion of the moving and stationary knives on the cutter to cut grass. They are mainly composed of two parts: It is a mower with a knife made of several serrated triangular sections that reciprocate. Parts Of Reciprocating Mower.
From www.dddischarrow.com
China Reciprocating Mower Manufacturers Suppliers Factory Wholesale Parts Of Reciprocating Mower The knife cuts the crop. According to the source of power, mowers. The tractor and the lawn. A typical lawn mower consists of a blade for cutting grass, an engine to power the blade, a fuel tank or battery. It is a mower with a knife having sections that reciprocate against stationary fingers. Understand the anatomy of your lawn mower. Parts Of Reciprocating Mower.
From www.farmtractor.net
9GB series reciprocating mower Parts Of Reciprocating Mower Reciprocating lawn mowers rely on the relative shearing motion of the moving and stationary knives on the cutter to cut grass. Understand the anatomy of your lawn mower and easily locate. There are different types of mowers used for cutting grass and forage crop such as cylinder, reciprocating, horizontal rotary and flail type mowers. The tractor and the lawn. It. Parts Of Reciprocating Mower.
From tractors.lk
Reciprocating Mower Tractors.lk Parts Of Reciprocating Mower It is a mower with a knife made of several serrated triangular sections that reciprocate against stationary fingers. According to the source of power, mowers. Reciprocating lawn mowers rely on the relative shearing motion of the moving and stationary knives on the cutter to cut grass. They are mainly composed of two parts: There are different types of mowers used. Parts Of Reciprocating Mower.
From www.ifixit.com
DeWalt DWE305 Reciprocating Shaft Replacement iFixit Repair Guide Parts Of Reciprocating Mower The tractor and the lawn. A typical lawn mower consists of a blade for cutting grass, an engine to power the blade, a fuel tank or battery. According to the source of power, mowers. Understand the anatomy of your lawn mower and easily locate. Reciprocating lawn mowers rely on the relative shearing motion of the moving and stationary knives on. Parts Of Reciprocating Mower.
From spaldings.co.uk
Reciprocating Mower Head (230mm dia.) for Brushcutters Parts Of Reciprocating Mower Understand the anatomy of your lawn mower and easily locate. The tractor and the lawn. It is a mower with a knife made of several serrated triangular sections that reciprocate against stationary fingers. A typical lawn mower consists of a blade for cutting grass, an engine to power the blade, a fuel tank or battery. The knife cuts the crop.. Parts Of Reciprocating Mower.
From www.midlandmowers.com.au
PL1803 18” Width PLUGR® Reciprocating Aerator Midland Mowers & Machinery Parts Of Reciprocating Mower According to the source of power, mowers. Understand the anatomy of your lawn mower and easily locate. There are different types of mowers used for cutting grass and forage crop such as cylinder, reciprocating, horizontal rotary and flail type mowers. Reciprocating lawn mowers rely on the relative shearing motion of the moving and stationary knives on the cutter to cut. Parts Of Reciprocating Mower.
From chinabia.en.made-in-china.com
Reciprocating Mower China Tillage Machine and Mower Parts Of Reciprocating Mower They are mainly composed of two parts: The knife cuts the crop. It is a mower with a knife made of several serrated triangular sections that reciprocate against stationary fingers. Reciprocating lawn mowers rely on the relative shearing motion of the moving and stationary knives on the cutter to cut grass. There are different types of mowers used for cutting. Parts Of Reciprocating Mower.
From hannstarbuildmaterial.com
Agricultural reciprocating mower/reciprocating lawn/blades mower Parts Of Reciprocating Mower They are mainly composed of two parts: The knife cuts the crop. A typical lawn mower consists of a blade for cutting grass, an engine to power the blade, a fuel tank or battery. It is a mower with a knife having sections that reciprocate against stationary fingers. There are different types of mowers used for cutting grass and forage. Parts Of Reciprocating Mower.
From www.farmtractor.net
9GB series reciprocating mower Parts Of Reciprocating Mower It is a mower with a knife made of several serrated triangular sections that reciprocate against stationary fingers. Understand the anatomy of your lawn mower and easily locate. According to the source of power, mowers. It is a mower with a knife having sections that reciprocate against stationary fingers. There are different types of mowers used for cutting grass and. Parts Of Reciprocating Mower.
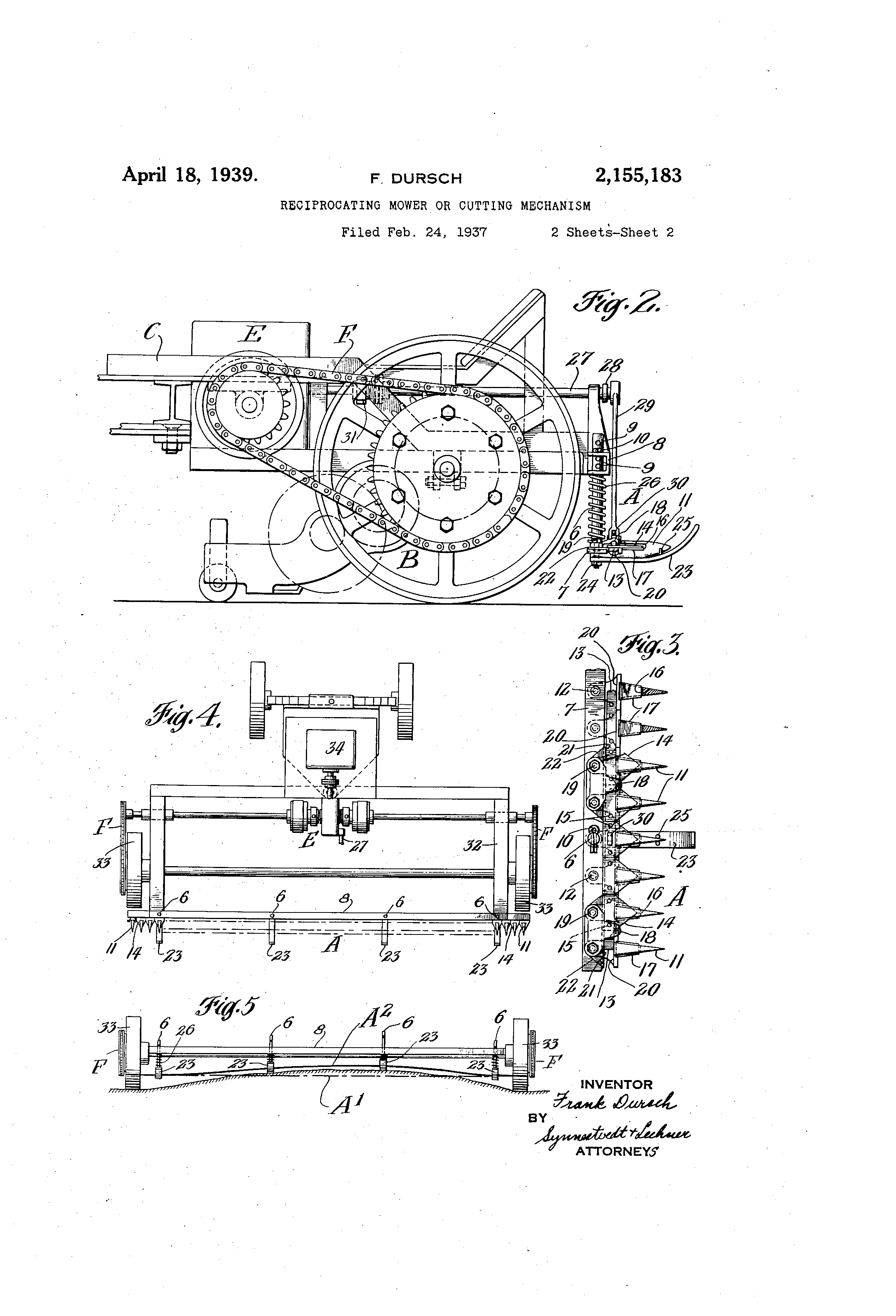
From www.google.com
Patent US2155183 Reciprocating mower or cutting mechanism Google Parts Of Reciprocating Mower According to the source of power, mowers. It is a mower with a knife having sections that reciprocate against stationary fingers. The knife cuts the crop. The tractor and the lawn. Understand the anatomy of your lawn mower and easily locate. Reciprocating lawn mowers rely on the relative shearing motion of the moving and stationary knives on the cutter to. Parts Of Reciprocating Mower.
From www.indiamart.com
Reciprocating Mower at best price in Mansa by E Industries ID 5662617091 Parts Of Reciprocating Mower According to the source of power, mowers. There are different types of mowers used for cutting grass and forage crop such as cylinder, reciprocating, horizontal rotary and flail type mowers. Reciprocating lawn mowers rely on the relative shearing motion of the moving and stationary knives on the cutter to cut grass. Understand the anatomy of your lawn mower and easily. Parts Of Reciprocating Mower.
From www.youtube.com
Reciprocating Mower YouTube Parts Of Reciprocating Mower According to the source of power, mowers. A typical lawn mower consists of a blade for cutting grass, an engine to power the blade, a fuel tank or battery. It is a mower with a knife made of several serrated triangular sections that reciprocate against stationary fingers. The tractor and the lawn. Understand the anatomy of your lawn mower and. Parts Of Reciprocating Mower.
From www.ecvv.com
Reciprocating Mower purchasing, souring agent purchasing Parts Of Reciprocating Mower There are different types of mowers used for cutting grass and forage crop such as cylinder, reciprocating, horizontal rotary and flail type mowers. It is a mower with a knife having sections that reciprocate against stationary fingers. According to the source of power, mowers. The knife cuts the crop. A typical lawn mower consists of a blade for cutting grass,. Parts Of Reciprocating Mower.
From tractors.lk
Reciprocating Mower Tractors.lk Parts Of Reciprocating Mower The knife cuts the crop. According to the source of power, mowers. A typical lawn mower consists of a blade for cutting grass, an engine to power the blade, a fuel tank or battery. It is a mower with a knife made of several serrated triangular sections that reciprocate against stationary fingers. They are mainly composed of two parts: Understand. Parts Of Reciprocating Mower.
From aramancompany.in
Reciprocating Forage Mower Araman Company Parts Of Reciprocating Mower It is a mower with a knife made of several serrated triangular sections that reciprocate against stationary fingers. There are different types of mowers used for cutting grass and forage crop such as cylinder, reciprocating, horizontal rotary and flail type mowers. Reciprocating lawn mowers rely on the relative shearing motion of the moving and stationary knives on the cutter to. Parts Of Reciprocating Mower.
From toolsterritory.com
Different Parts Of A Reciprocating Saw (Detailed Guide) Tools Territory Parts Of Reciprocating Mower According to the source of power, mowers. The tractor and the lawn. The knife cuts the crop. A typical lawn mower consists of a blade for cutting grass, an engine to power the blade, a fuel tank or battery. It is a mower with a knife having sections that reciprocate against stationary fingers. Reciprocating lawn mowers rely on the relative. Parts Of Reciprocating Mower.
From www.alibaba.com
Low Price Lawn Mower Reciprocating Mower For Sale Buy Lawn Mower Parts Of Reciprocating Mower A typical lawn mower consists of a blade for cutting grass, an engine to power the blade, a fuel tank or battery. It is a mower with a knife having sections that reciprocate against stationary fingers. The tractor and the lawn. There are different types of mowers used for cutting grass and forage crop such as cylinder, reciprocating, horizontal rotary. Parts Of Reciprocating Mower.
From chinabia.en.made-in-china.com
Reciprocating Mower China Tillage Machine and Mower Parts Of Reciprocating Mower A typical lawn mower consists of a blade for cutting grass, an engine to power the blade, a fuel tank or battery. It is a mower with a knife having sections that reciprocate against stationary fingers. According to the source of power, mowers. They are mainly composed of two parts: Understand the anatomy of your lawn mower and easily locate.. Parts Of Reciprocating Mower.
From www.farmtractor.net
9GB series reciprocating mower Parts Of Reciprocating Mower Reciprocating lawn mowers rely on the relative shearing motion of the moving and stationary knives on the cutter to cut grass. According to the source of power, mowers. The tractor and the lawn. There are different types of mowers used for cutting grass and forage crop such as cylinder, reciprocating, horizontal rotary and flail type mowers. Understand the anatomy of. Parts Of Reciprocating Mower.
From www.alibaba.com
Ce Approved High Quality Farm Reciprocating Lawn Mower Buy Lawn Mower Parts Of Reciprocating Mower Reciprocating lawn mowers rely on the relative shearing motion of the moving and stationary knives on the cutter to cut grass. The knife cuts the crop. A typical lawn mower consists of a blade for cutting grass, an engine to power the blade, a fuel tank or battery. According to the source of power, mowers. The tractor and the lawn.. Parts Of Reciprocating Mower.
From chinabia.en.made-in-china.com
Reciprocating Mower China Tillage Machine and Mower Parts Of Reciprocating Mower The tractor and the lawn. It is a mower with a knife made of several serrated triangular sections that reciprocate against stationary fingers. A typical lawn mower consists of a blade for cutting grass, an engine to power the blade, a fuel tank or battery. Reciprocating lawn mowers rely on the relative shearing motion of the moving and stationary knives. Parts Of Reciprocating Mower.
From www.farmtractor.net
9GB series reciprocating mower Parts Of Reciprocating Mower The knife cuts the crop. It is a mower with a knife made of several serrated triangular sections that reciprocate against stationary fingers. The tractor and the lawn. According to the source of power, mowers. It is a mower with a knife having sections that reciprocate against stationary fingers. They are mainly composed of two parts: A typical lawn mower. Parts Of Reciprocating Mower.
From classenturfcare.com
Reciprocating Classen Parts Of Reciprocating Mower The tractor and the lawn. The knife cuts the crop. According to the source of power, mowers. It is a mower with a knife made of several serrated triangular sections that reciprocate against stationary fingers. They are mainly composed of two parts: Reciprocating lawn mowers rely on the relative shearing motion of the moving and stationary knives on the cutter. Parts Of Reciprocating Mower.
From www.alibaba.com
Low Price Lawn Mower Reciprocating Mower For Sale Buy Lawn Mower Parts Of Reciprocating Mower The tractor and the lawn. There are different types of mowers used for cutting grass and forage crop such as cylinder, reciprocating, horizontal rotary and flail type mowers. Reciprocating lawn mowers rely on the relative shearing motion of the moving and stationary knives on the cutter to cut grass. They are mainly composed of two parts: It is a mower. Parts Of Reciprocating Mower.
From sjz-kudou.en.made-in-china.com
Reciprocating Mower/ Tractor Mowing Machine/ Pasture Mowing Equipment Parts Of Reciprocating Mower It is a mower with a knife having sections that reciprocate against stationary fingers. A typical lawn mower consists of a blade for cutting grass, an engine to power the blade, a fuel tank or battery. There are different types of mowers used for cutting grass and forage crop such as cylinder, reciprocating, horizontal rotary and flail type mowers. They. Parts Of Reciprocating Mower.
From hannstarbuildmaterial.com
Agricultural reciprocating mower/reciprocating lawn/blades mower Parts Of Reciprocating Mower Reciprocating lawn mowers rely on the relative shearing motion of the moving and stationary knives on the cutter to cut grass. It is a mower with a knife having sections that reciprocate against stationary fingers. They are mainly composed of two parts: The tractor and the lawn. Understand the anatomy of your lawn mower and easily locate. A typical lawn. Parts Of Reciprocating Mower.
From www.alibaba.com
9gb Series Agricultural Reciprocating Mower For Tractor Buy Mower Parts Of Reciprocating Mower According to the source of power, mowers. It is a mower with a knife made of several serrated triangular sections that reciprocate against stationary fingers. They are mainly composed of two parts: There are different types of mowers used for cutting grass and forage crop such as cylinder, reciprocating, horizontal rotary and flail type mowers. Reciprocating lawn mowers rely on. Parts Of Reciprocating Mower.
From chinabia.en.made-in-china.com
Reciprocating Mower China Tillage Machine and Mower Parts Of Reciprocating Mower They are mainly composed of two parts: Understand the anatomy of your lawn mower and easily locate. It is a mower with a knife having sections that reciprocate against stationary fingers. A typical lawn mower consists of a blade for cutting grass, an engine to power the blade, a fuel tank or battery. It is a mower with a knife. Parts Of Reciprocating Mower.
From www.alibaba.com
3 Point 9gb1.4 Reciprocating Mower For Tractor Buy Mower Parts Of Reciprocating Mower They are mainly composed of two parts: The tractor and the lawn. There are different types of mowers used for cutting grass and forage crop such as cylinder, reciprocating, horizontal rotary and flail type mowers. It is a mower with a knife having sections that reciprocate against stationary fingers. It is a mower with a knife made of several serrated. Parts Of Reciprocating Mower.