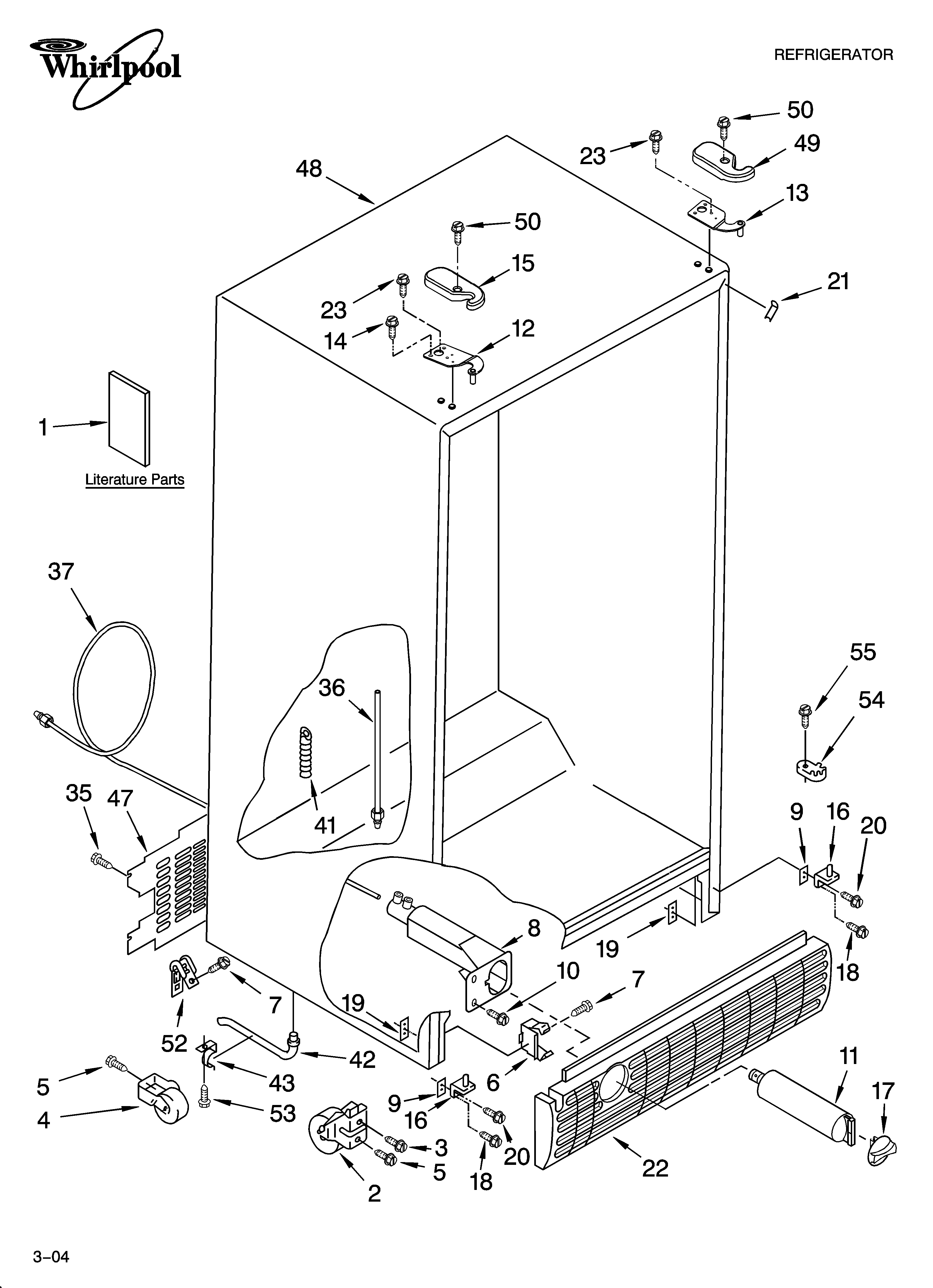
Whirlpool Side By Side Refrigerator Parts Diagram . A complete guide to your wrs571cihz01 whirlpool refrigerator at partselect. Find the part numbers and descriptions of the components and accessories for your whirlpool side by side refrigerator model. We also have installation guides, diagrams. A complete guide to your wrs555sihz06 whirlpool refrigerator at partselect. You can also browse the most common parts for whirlpool side. We also have installation guides,. A complete guide to your wrs588fihz00 whirlpool refrigerator at partselect. Thousands of oem whirlpool refrigerator parts in stock.
from www.searspartsdirect.com
A complete guide to your wrs571cihz01 whirlpool refrigerator at partselect. A complete guide to your wrs555sihz06 whirlpool refrigerator at partselect. Thousands of oem whirlpool refrigerator parts in stock. Find the part numbers and descriptions of the components and accessories for your whirlpool side by side refrigerator model. We also have installation guides, diagrams. You can also browse the most common parts for whirlpool side. A complete guide to your wrs588fihz00 whirlpool refrigerator at partselect. We also have installation guides,.
Whirlpool WRS315SDHZ03 sidebyside refrigerator parts Sears PartsDirect
Whirlpool Side By Side Refrigerator Parts Diagram We also have installation guides, diagrams. Find the part numbers and descriptions of the components and accessories for your whirlpool side by side refrigerator model. We also have installation guides, diagrams. A complete guide to your wrs588fihz00 whirlpool refrigerator at partselect. You can also browse the most common parts for whirlpool side. A complete guide to your wrs555sihz06 whirlpool refrigerator at partselect. A complete guide to your wrs571cihz01 whirlpool refrigerator at partselect. We also have installation guides,. Thousands of oem whirlpool refrigerator parts in stock.
From wikiblog70.blogspot.com
Wiring Diagram Whirlpool Side Side Ge Side by Side Refrigerator Wiring Diagram Sample Wiring Whirlpool Side By Side Refrigerator Parts Diagram Thousands of oem whirlpool refrigerator parts in stock. A complete guide to your wrs588fihz00 whirlpool refrigerator at partselect. A complete guide to your wrs571cihz01 whirlpool refrigerator at partselect. We also have installation guides, diagrams. We also have installation guides,. A complete guide to your wrs555sihz06 whirlpool refrigerator at partselect. Find the part numbers and descriptions of the components and accessories. Whirlpool Side By Side Refrigerator Parts Diagram.
From parts.sears.com
WHIRLPOOL SideBySide Refrigerator Refrigerator shelf Parts Model EC3JHAXRL13 SearsPartsDirect Whirlpool Side By Side Refrigerator Parts Diagram A complete guide to your wrs571cihz01 whirlpool refrigerator at partselect. Find the part numbers and descriptions of the components and accessories for your whirlpool side by side refrigerator model. A complete guide to your wrs588fihz00 whirlpool refrigerator at partselect. You can also browse the most common parts for whirlpool side. A complete guide to your wrs555sihz06 whirlpool refrigerator at partselect.. Whirlpool Side By Side Refrigerator Parts Diagram.
From wikiblog70.blogspot.com
Wiring Diagram Whirlpool Side Side Ge Side by Side Refrigerator Wiring Diagram Sample Wiring Whirlpool Side By Side Refrigerator Parts Diagram Find the part numbers and descriptions of the components and accessories for your whirlpool side by side refrigerator model. Thousands of oem whirlpool refrigerator parts in stock. A complete guide to your wrs588fihz00 whirlpool refrigerator at partselect. A complete guide to your wrs571cihz01 whirlpool refrigerator at partselect. We also have installation guides,. We also have installation guides, diagrams. You can. Whirlpool Side By Side Refrigerator Parts Diagram.
From manuallibraryantilles.z14.web.core.windows.net
Whirlpool Refrigerator Parts Diagram Clear Whirlpool Side By Side Refrigerator Parts Diagram A complete guide to your wrs588fihz00 whirlpool refrigerator at partselect. Find the part numbers and descriptions of the components and accessories for your whirlpool side by side refrigerator model. We also have installation guides, diagrams. A complete guide to your wrs555sihz06 whirlpool refrigerator at partselect. We also have installation guides,. A complete guide to your wrs571cihz01 whirlpool refrigerator at partselect.. Whirlpool Side By Side Refrigerator Parts Diagram.
From wikiblog70.blogspot.com
Wiring Diagram Whirlpool Side Side Ge Side by Side Refrigerator Wiring Diagram Sample Wiring Whirlpool Side By Side Refrigerator Parts Diagram We also have installation guides, diagrams. A complete guide to your wrs555sihz06 whirlpool refrigerator at partselect. Find the part numbers and descriptions of the components and accessories for your whirlpool side by side refrigerator model. We also have installation guides,. A complete guide to your wrs571cihz01 whirlpool refrigerator at partselect. You can also browse the most common parts for whirlpool. Whirlpool Side By Side Refrigerator Parts Diagram.
From www.ereplacementparts.com
Whirlpool SideBySide Refrigerator GSF26C4EXY03 Whirlpool Side By Side Refrigerator Parts Diagram You can also browse the most common parts for whirlpool side. A complete guide to your wrs588fihz00 whirlpool refrigerator at partselect. Thousands of oem whirlpool refrigerator parts in stock. A complete guide to your wrs555sihz06 whirlpool refrigerator at partselect. We also have installation guides,. We also have installation guides, diagrams. A complete guide to your wrs571cihz01 whirlpool refrigerator at partselect.. Whirlpool Side By Side Refrigerator Parts Diagram.
From www.ereplacementparts.com
Whirlpool SideBySide Refrigerator 6ED2FHKXVA01 Whirlpool Side By Side Refrigerator Parts Diagram We also have installation guides,. A complete guide to your wrs571cihz01 whirlpool refrigerator at partselect. Find the part numbers and descriptions of the components and accessories for your whirlpool side by side refrigerator model. You can also browse the most common parts for whirlpool side. A complete guide to your wrs588fihz00 whirlpool refrigerator at partselect. A complete guide to your. Whirlpool Side By Side Refrigerator Parts Diagram.
From midbec.com
Parts and plans for Whirlpool Refrigerator, Sidebyside model WRS555SIHV03 at Midbec Whirlpool Side By Side Refrigerator Parts Diagram We also have installation guides, diagrams. We also have installation guides,. Thousands of oem whirlpool refrigerator parts in stock. A complete guide to your wrs571cihz01 whirlpool refrigerator at partselect. You can also browse the most common parts for whirlpool side. A complete guide to your wrs555sihz06 whirlpool refrigerator at partselect. A complete guide to your wrs588fihz00 whirlpool refrigerator at partselect.. Whirlpool Side By Side Refrigerator Parts Diagram.
From reviewmotors.co
Parts Diagram For Whirlpool Refrigerator Reviewmotors.co Whirlpool Side By Side Refrigerator Parts Diagram We also have installation guides, diagrams. We also have installation guides,. A complete guide to your wrs555sihz06 whirlpool refrigerator at partselect. A complete guide to your wrs571cihz01 whirlpool refrigerator at partselect. Thousands of oem whirlpool refrigerator parts in stock. Find the part numbers and descriptions of the components and accessories for your whirlpool side by side refrigerator model. A complete. Whirlpool Side By Side Refrigerator Parts Diagram.
From guidediagramexobiology.z5.web.core.windows.net
Whirlpool Gladiator Refrigerator Parts List Whirlpool Side By Side Refrigerator Parts Diagram Thousands of oem whirlpool refrigerator parts in stock. We also have installation guides, diagrams. A complete guide to your wrs571cihz01 whirlpool refrigerator at partselect. You can also browse the most common parts for whirlpool side. Find the part numbers and descriptions of the components and accessories for your whirlpool side by side refrigerator model. A complete guide to your wrs588fihz00. Whirlpool Side By Side Refrigerator Parts Diagram.
From wikiblog70.blogspot.com
Wiring Diagram Whirlpool Side Side Ge Side by Side Refrigerator Wiring Diagram Sample Wiring Whirlpool Side By Side Refrigerator Parts Diagram You can also browse the most common parts for whirlpool side. A complete guide to your wrs555sihz06 whirlpool refrigerator at partselect. Thousands of oem whirlpool refrigerator parts in stock. We also have installation guides,. A complete guide to your wrs588fihz00 whirlpool refrigerator at partselect. We also have installation guides, diagrams. Find the part numbers and descriptions of the components and. Whirlpool Side By Side Refrigerator Parts Diagram.
From commercial.searspartsdirect.com
WHIRLPOOL Model ED25RFXFW01 SIDE BY SIDE REFRIGERATOR Whirlpool Side By Side Refrigerator Parts Diagram You can also browse the most common parts for whirlpool side. Find the part numbers and descriptions of the components and accessories for your whirlpool side by side refrigerator model. A complete guide to your wrs555sihz06 whirlpool refrigerator at partselect. We also have installation guides, diagrams. A complete guide to your wrs588fihz00 whirlpool refrigerator at partselect. Thousands of oem whirlpool. Whirlpool Side By Side Refrigerator Parts Diagram.
From techdiagrammer.com
An InDepth Look at the Whirlpool Refrigerator Parts Diagram Exploring the Inner Workings of Whirlpool Side By Side Refrigerator Parts Diagram A complete guide to your wrs588fihz00 whirlpool refrigerator at partselect. A complete guide to your wrs555sihz06 whirlpool refrigerator at partselect. We also have installation guides,. A complete guide to your wrs571cihz01 whirlpool refrigerator at partselect. You can also browse the most common parts for whirlpool side. Find the part numbers and descriptions of the components and accessories for your whirlpool. Whirlpool Side By Side Refrigerator Parts Diagram.
From www.pinterest.com
MAYTAG SIDEBYSIDE REFRIGERATOR Parts Model msd2454grw Sears PartsDirect Whirlpool Whirlpool Side By Side Refrigerator Parts Diagram A complete guide to your wrs555sihz06 whirlpool refrigerator at partselect. We also have installation guides, diagrams. Find the part numbers and descriptions of the components and accessories for your whirlpool side by side refrigerator model. A complete guide to your wrs571cihz01 whirlpool refrigerator at partselect. Thousands of oem whirlpool refrigerator parts in stock. You can also browse the most common. Whirlpool Side By Side Refrigerator Parts Diagram.
From www.ereplacementparts.com
Whirlpool SideBySide Refrigerator WSF26C3EXF01 Whirlpool Side By Side Refrigerator Parts Diagram Find the part numbers and descriptions of the components and accessories for your whirlpool side by side refrigerator model. A complete guide to your wrs555sihz06 whirlpool refrigerator at partselect. A complete guide to your wrs588fihz00 whirlpool refrigerator at partselect. We also have installation guides, diagrams. You can also browse the most common parts for whirlpool side. Thousands of oem whirlpool. Whirlpool Side By Side Refrigerator Parts Diagram.
From wiring05.blogspot.com
Wiring Diagram Whirlpool Side Side WHIRLPOOL SIDEBYSIDE REFRIGERATOR Parts Model Whirlpool Side By Side Refrigerator Parts Diagram Thousands of oem whirlpool refrigerator parts in stock. You can also browse the most common parts for whirlpool side. We also have installation guides,. A complete guide to your wrs571cihz01 whirlpool refrigerator at partselect. Find the part numbers and descriptions of the components and accessories for your whirlpool side by side refrigerator model. We also have installation guides, diagrams. A. Whirlpool Side By Side Refrigerator Parts Diagram.
From wirelistfireweeds.z13.web.core.windows.net
Whirlpool Refrigerator Schematic Diagram Whirlpool Side By Side Refrigerator Parts Diagram We also have installation guides,. A complete guide to your wrs571cihz01 whirlpool refrigerator at partselect. We also have installation guides, diagrams. A complete guide to your wrs588fihz00 whirlpool refrigerator at partselect. Find the part numbers and descriptions of the components and accessories for your whirlpool side by side refrigerator model. You can also browse the most common parts for whirlpool. Whirlpool Side By Side Refrigerator Parts Diagram.
From www.partswarehouse.com
Whirlpool 4YED20TKDN01 SidebySide Refrigerator Parts and Accessories at PartsWarehouse Whirlpool Side By Side Refrigerator Parts Diagram Thousands of oem whirlpool refrigerator parts in stock. A complete guide to your wrs555sihz06 whirlpool refrigerator at partselect. Find the part numbers and descriptions of the components and accessories for your whirlpool side by side refrigerator model. A complete guide to your wrs588fihz00 whirlpool refrigerator at partselect. We also have installation guides, diagrams. You can also browse the most common. Whirlpool Side By Side Refrigerator Parts Diagram.
From www.ereplacementparts.com
Whirlpool SideBySide Refrigerator GSF26C4EXS03 Whirlpool Side By Side Refrigerator Parts Diagram A complete guide to your wrs571cihz01 whirlpool refrigerator at partselect. A complete guide to your wrs588fihz00 whirlpool refrigerator at partselect. Thousands of oem whirlpool refrigerator parts in stock. You can also browse the most common parts for whirlpool side. A complete guide to your wrs555sihz06 whirlpool refrigerator at partselect. We also have installation guides, diagrams. Find the part numbers and. Whirlpool Side By Side Refrigerator Parts Diagram.
From www.partswarehouse.com
Whirlpool SideBySide Refrigerator WRS321SDHZ01 WRS321SDHZ01 Partswarehouse Whirlpool Side By Side Refrigerator Parts Diagram We also have installation guides,. You can also browse the most common parts for whirlpool side. A complete guide to your wrs571cihz01 whirlpool refrigerator at partselect. A complete guide to your wrs555sihz06 whirlpool refrigerator at partselect. Thousands of oem whirlpool refrigerator parts in stock. We also have installation guides, diagrams. Find the part numbers and descriptions of the components and. Whirlpool Side By Side Refrigerator Parts Diagram.
From schematicdbhimmel.z21.web.core.windows.net
Whirlpool Refrigerator Parts Diagram Whirlpool Side By Side Refrigerator Parts Diagram We also have installation guides,. A complete guide to your wrs588fihz00 whirlpool refrigerator at partselect. Find the part numbers and descriptions of the components and accessories for your whirlpool side by side refrigerator model. We also have installation guides, diagrams. You can also browse the most common parts for whirlpool side. Thousands of oem whirlpool refrigerator parts in stock. A. Whirlpool Side By Side Refrigerator Parts Diagram.
From www.ereplacementparts.com
Whirlpool WSF26C3EXF01 Parts List and Diagram Whirlpool Side By Side Refrigerator Parts Diagram A complete guide to your wrs555sihz06 whirlpool refrigerator at partselect. We also have installation guides,. A complete guide to your wrs571cihz01 whirlpool refrigerator at partselect. A complete guide to your wrs588fihz00 whirlpool refrigerator at partselect. We also have installation guides, diagrams. Find the part numbers and descriptions of the components and accessories for your whirlpool side by side refrigerator model.. Whirlpool Side By Side Refrigerator Parts Diagram.
From bagsblabonbo.weebly.com
Whirlpool Side By Side Fridge Manual Whirlpool Side By Side Refrigerator Parts Diagram A complete guide to your wrs555sihz06 whirlpool refrigerator at partselect. We also have installation guides,. You can also browse the most common parts for whirlpool side. Thousands of oem whirlpool refrigerator parts in stock. A complete guide to your wrs571cihz01 whirlpool refrigerator at partselect. A complete guide to your wrs588fihz00 whirlpool refrigerator at partselect. We also have installation guides, diagrams.. Whirlpool Side By Side Refrigerator Parts Diagram.
From www.searspartsdirect.com
Whirlpool WRS315SDHZ03 sidebyside refrigerator parts Sears PartsDirect Whirlpool Side By Side Refrigerator Parts Diagram Find the part numbers and descriptions of the components and accessories for your whirlpool side by side refrigerator model. We also have installation guides,. A complete guide to your wrs571cihz01 whirlpool refrigerator at partselect. You can also browse the most common parts for whirlpool side. A complete guide to your wrs555sihz06 whirlpool refrigerator at partselect. Thousands of oem whirlpool refrigerator. Whirlpool Side By Side Refrigerator Parts Diagram.
From www.partswarehouse.com
Whirlpool ED22PWXAN00 SidebySide Refrigerator Parts and Accessories at PartsWarehouse Whirlpool Side By Side Refrigerator Parts Diagram A complete guide to your wrs571cihz01 whirlpool refrigerator at partselect. A complete guide to your wrs588fihz00 whirlpool refrigerator at partselect. Thousands of oem whirlpool refrigerator parts in stock. We also have installation guides, diagrams. You can also browse the most common parts for whirlpool side. Find the part numbers and descriptions of the components and accessories for your whirlpool side. Whirlpool Side By Side Refrigerator Parts Diagram.
From wiring05.blogspot.com
Wiring Diagram Whirlpool Side Side WHIRLPOOL SIDEBYSIDE REFRIGERATOR Parts Model Whirlpool Side By Side Refrigerator Parts Diagram We also have installation guides,. We also have installation guides, diagrams. Find the part numbers and descriptions of the components and accessories for your whirlpool side by side refrigerator model. A complete guide to your wrs555sihz06 whirlpool refrigerator at partselect. A complete guide to your wrs588fihz00 whirlpool refrigerator at partselect. You can also browse the most common parts for whirlpool. Whirlpool Side By Side Refrigerator Parts Diagram.
From manualenginealston.z19.web.core.windows.net
Whirlpool Fridge Manual Whirlpool Side By Side Refrigerator Parts Diagram A complete guide to your wrs588fihz00 whirlpool refrigerator at partselect. A complete guide to your wrs555sihz06 whirlpool refrigerator at partselect. Find the part numbers and descriptions of the components and accessories for your whirlpool side by side refrigerator model. A complete guide to your wrs571cihz01 whirlpool refrigerator at partselect. We also have installation guides, diagrams. We also have installation guides,.. Whirlpool Side By Side Refrigerator Parts Diagram.
From www.partswarehouse.com
Whirlpool SideBySide Refrigerator PartsWarehouse Whirlpool Side By Side Refrigerator Parts Diagram Find the part numbers and descriptions of the components and accessories for your whirlpool side by side refrigerator model. We also have installation guides,. Thousands of oem whirlpool refrigerator parts in stock. You can also browse the most common parts for whirlpool side. A complete guide to your wrs588fihz00 whirlpool refrigerator at partselect. A complete guide to your wrs555sihz06 whirlpool. Whirlpool Side By Side Refrigerator Parts Diagram.
From parts.sears.com
WHIRLPOOL SideBySide Refrigerator Refrigerator shelf Parts Model ED5LHAXMQ10 SearsPartsDirect Whirlpool Side By Side Refrigerator Parts Diagram A complete guide to your wrs588fihz00 whirlpool refrigerator at partselect. We also have installation guides, diagrams. You can also browse the most common parts for whirlpool side. We also have installation guides,. A complete guide to your wrs555sihz06 whirlpool refrigerator at partselect. Thousands of oem whirlpool refrigerator parts in stock. A complete guide to your wrs571cihz01 whirlpool refrigerator at partselect.. Whirlpool Side By Side Refrigerator Parts Diagram.
From refrigeratedyukigui.blogspot.com
Refrigerated Whirlpool Gold Refrigerator Parts Whirlpool Side By Side Refrigerator Parts Diagram A complete guide to your wrs555sihz06 whirlpool refrigerator at partselect. A complete guide to your wrs571cihz01 whirlpool refrigerator at partselect. We also have installation guides, diagrams. Find the part numbers and descriptions of the components and accessories for your whirlpool side by side refrigerator model. Thousands of oem whirlpool refrigerator parts in stock. We also have installation guides,. A complete. Whirlpool Side By Side Refrigerator Parts Diagram.
From www.ereplacementparts.com
Whirlpool SideBySide Refrigerator ED2NHGXVQ01 Whirlpool Side By Side Refrigerator Parts Diagram We also have installation guides, diagrams. We also have installation guides,. A complete guide to your wrs588fihz00 whirlpool refrigerator at partselect. Thousands of oem whirlpool refrigerator parts in stock. A complete guide to your wrs571cihz01 whirlpool refrigerator at partselect. A complete guide to your wrs555sihz06 whirlpool refrigerator at partselect. Find the part numbers and descriptions of the components and accessories. Whirlpool Side By Side Refrigerator Parts Diagram.
From www.searspartsdirect.com
Whirlpool ED22MMXRWR0 sidebyside refrigerator parts Sears PartsDirect Whirlpool Side By Side Refrigerator Parts Diagram Thousands of oem whirlpool refrigerator parts in stock. We also have installation guides,. A complete guide to your wrs588fihz00 whirlpool refrigerator at partselect. Find the part numbers and descriptions of the components and accessories for your whirlpool side by side refrigerator model. A complete guide to your wrs555sihz06 whirlpool refrigerator at partselect. We also have installation guides, diagrams. You can. Whirlpool Side By Side Refrigerator Parts Diagram.
From schematiclibglass.z21.web.core.windows.net
Diagram Of Whirlpool Refrigerator Whirlpool Side By Side Refrigerator Parts Diagram We also have installation guides,. A complete guide to your wrs555sihz06 whirlpool refrigerator at partselect. A complete guide to your wrs588fihz00 whirlpool refrigerator at partselect. We also have installation guides, diagrams. Thousands of oem whirlpool refrigerator parts in stock. A complete guide to your wrs571cihz01 whirlpool refrigerator at partselect. Find the part numbers and descriptions of the components and accessories. Whirlpool Side By Side Refrigerator Parts Diagram.
From refrigeratorspartsus.blogspot.com
Refrigerators Parts Best Refrigerator Parts Whirlpool Side By Side Refrigerator Parts Diagram A complete guide to your wrs555sihz06 whirlpool refrigerator at partselect. A complete guide to your wrs571cihz01 whirlpool refrigerator at partselect. Thousands of oem whirlpool refrigerator parts in stock. A complete guide to your wrs588fihz00 whirlpool refrigerator at partselect. You can also browse the most common parts for whirlpool side. We also have installation guides, diagrams. Find the part numbers and. Whirlpool Side By Side Refrigerator Parts Diagram.
From circuitdbteocallis.z21.web.core.windows.net
Whirlpool Refrigerator Schematic Diagram Whirlpool Side By Side Refrigerator Parts Diagram A complete guide to your wrs571cihz01 whirlpool refrigerator at partselect. Find the part numbers and descriptions of the components and accessories for your whirlpool side by side refrigerator model. A complete guide to your wrs555sihz06 whirlpool refrigerator at partselect. A complete guide to your wrs588fihz00 whirlpool refrigerator at partselect. Thousands of oem whirlpool refrigerator parts in stock. We also have. Whirlpool Side By Side Refrigerator Parts Diagram.