Disconnect Switch Installation . However it gets to to exploit the rule of six which says. Wiring a disconnect switch is an easy task, but make sure to follow the instructions carefully to ensure that the switch is wired properly. B) for cable operated switches, follow. The installation process involves connecting the disconnect switch to the main electrical panel, ensuring that the wiring is done correctly and securely. Disconnect switches play a pivotal role in electrical safety and maintenance by enabling circuit isolation and protection. In summary, prioritizing safety, understanding the differences between circuit breakers and disconnect switches, following. Learn to safely wire a disconnect switch at home for. Disconnect switches protect personnel and equipment from electrical hazards by preventing the risk of electrocution and. The inspector means that your installation must serve as a disconnect; Disconnect switch location and installation. When it comes to wiring a service disconnect, it’s important to follow the proper procedures and safety guidelines.
from www.eliteelectric.ca
However it gets to to exploit the rule of six which says. B) for cable operated switches, follow. When it comes to wiring a service disconnect, it’s important to follow the proper procedures and safety guidelines. The inspector means that your installation must serve as a disconnect; Wiring a disconnect switch is an easy task, but make sure to follow the instructions carefully to ensure that the switch is wired properly. Disconnect switch location and installation. Learn to safely wire a disconnect switch at home for. Disconnect switches protect personnel and equipment from electrical hazards by preventing the risk of electrocution and. The installation process involves connecting the disconnect switch to the main electrical panel, ensuring that the wiring is done correctly and securely. In summary, prioritizing safety, understanding the differences between circuit breakers and disconnect switches, following.
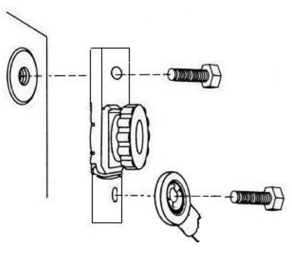
Disconnect Switch Installation Elite Electric Group
Disconnect Switch Installation Disconnect switch location and installation. Disconnect switches protect personnel and equipment from electrical hazards by preventing the risk of electrocution and. B) for cable operated switches, follow. The installation process involves connecting the disconnect switch to the main electrical panel, ensuring that the wiring is done correctly and securely. Disconnect switch location and installation. The inspector means that your installation must serve as a disconnect; Learn to safely wire a disconnect switch at home for. However it gets to to exploit the rule of six which says. Wiring a disconnect switch is an easy task, but make sure to follow the instructions carefully to ensure that the switch is wired properly. In summary, prioritizing safety, understanding the differences between circuit breakers and disconnect switches, following. When it comes to wiring a service disconnect, it’s important to follow the proper procedures and safety guidelines. Disconnect switches play a pivotal role in electrical safety and maintenance by enabling circuit isolation and protection.
From www.youtube.com
Installing Battery Disconnect Switch In RV YouTube Disconnect Switch Installation Disconnect switches protect personnel and equipment from electrical hazards by preventing the risk of electrocution and. When it comes to wiring a service disconnect, it’s important to follow the proper procedures and safety guidelines. In summary, prioritizing safety, understanding the differences between circuit breakers and disconnect switches, following. The inspector means that your installation must serve as a disconnect; However. Disconnect Switch Installation.
From guidewiringlange.z19.web.core.windows.net
Rv Battery Disconnect Switch Wiring Diagram Disconnect Switch Installation Learn to safely wire a disconnect switch at home for. Wiring a disconnect switch is an easy task, but make sure to follow the instructions carefully to ensure that the switch is wired properly. In summary, prioritizing safety, understanding the differences between circuit breakers and disconnect switches, following. Disconnect switches play a pivotal role in electrical safety and maintenance by. Disconnect Switch Installation.
From loeighsyx.blob.core.windows.net
Install Battery Disconnect Switch Travel Trailer at Kathleen Hubbard blog Disconnect Switch Installation Disconnect switches play a pivotal role in electrical safety and maintenance by enabling circuit isolation and protection. The inspector means that your installation must serve as a disconnect; In summary, prioritizing safety, understanding the differences between circuit breakers and disconnect switches, following. However it gets to to exploit the rule of six which says. When it comes to wiring a. Disconnect Switch Installation.
From www.youtube.com
RV Battery Disconnect Switch Install YouTube Disconnect Switch Installation The inspector means that your installation must serve as a disconnect; B) for cable operated switches, follow. However it gets to to exploit the rule of six which says. Disconnect switch location and installation. The installation process involves connecting the disconnect switch to the main electrical panel, ensuring that the wiring is done correctly and securely. Wiring a disconnect switch. Disconnect Switch Installation.
From www.rvtalk.net
RV Battery Disconnect Switch Everything You Need To Know RV Talk Disconnect Switch Installation B) for cable operated switches, follow. Disconnect switch location and installation. In summary, prioritizing safety, understanding the differences between circuit breakers and disconnect switches, following. The installation process involves connecting the disconnect switch to the main electrical panel, ensuring that the wiring is done correctly and securely. Wiring a disconnect switch is an easy task, but make sure to follow. Disconnect Switch Installation.
From schematicgadfly.z13.web.core.windows.net
How To Install A Battery Cutoff Switch Disconnect Switch Installation However it gets to to exploit the rule of six which says. Disconnect switches play a pivotal role in electrical safety and maintenance by enabling circuit isolation and protection. When it comes to wiring a service disconnect, it’s important to follow the proper procedures and safety guidelines. Learn to safely wire a disconnect switch at home for. The installation process. Disconnect Switch Installation.
From diagramwallsminutemen.z19.web.core.windows.net
How To Wire A Ac Disconnect Disconnect Switch Installation Disconnect switches play a pivotal role in electrical safety and maintenance by enabling circuit isolation and protection. The installation process involves connecting the disconnect switch to the main electrical panel, ensuring that the wiring is done correctly and securely. In summary, prioritizing safety, understanding the differences between circuit breakers and disconnect switches, following. B) for cable operated switches, follow. However. Disconnect Switch Installation.
From userfixoster.z19.web.core.windows.net
Ac Disconnect Wiring Diagram Disconnect Switch Installation However it gets to to exploit the rule of six which says. When it comes to wiring a service disconnect, it’s important to follow the proper procedures and safety guidelines. Disconnect switches play a pivotal role in electrical safety and maintenance by enabling circuit isolation and protection. The installation process involves connecting the disconnect switch to the main electrical panel,. Disconnect Switch Installation.
From mowgli-adventures.com
RV Battery Disconnect Switch Ultimate Guide for Easy Power Management Disconnect Switch Installation However it gets to to exploit the rule of six which says. Wiring a disconnect switch is an easy task, but make sure to follow the instructions carefully to ensure that the switch is wired properly. Learn to safely wire a disconnect switch at home for. Disconnect switches play a pivotal role in electrical safety and maintenance by enabling circuit. Disconnect Switch Installation.
From eeeusa.com
Battery Disconnect Electric Equipment & Engineering Co Disconnect Switch Installation Disconnect switches play a pivotal role in electrical safety and maintenance by enabling circuit isolation and protection. Learn to safely wire a disconnect switch at home for. The inspector means that your installation must serve as a disconnect; Disconnect switch location and installation. In summary, prioritizing safety, understanding the differences between circuit breakers and disconnect switches, following. However it gets. Disconnect Switch Installation.
From www.wiringcore.com
Battery Master Disconnect Switch Wiring Diagram » Wiring Core Disconnect Switch Installation In summary, prioritizing safety, understanding the differences between circuit breakers and disconnect switches, following. Learn to safely wire a disconnect switch at home for. The installation process involves connecting the disconnect switch to the main electrical panel, ensuring that the wiring is done correctly and securely. Wiring a disconnect switch is an easy task, but make sure to follow the. Disconnect Switch Installation.
From schematicpartkatharina99.z13.web.core.windows.net
Wiring Battery Disconnect Switch Disconnect Switch Installation In summary, prioritizing safety, understanding the differences between circuit breakers and disconnect switches, following. Disconnect switch location and installation. B) for cable operated switches, follow. However it gets to to exploit the rule of six which says. The installation process involves connecting the disconnect switch to the main electrical panel, ensuring that the wiring is done correctly and securely. Disconnect. Disconnect Switch Installation.
From exopdxaup.blob.core.windows.net
How To Install Dual Battery Disconnect Switch at Una Hanson blog Disconnect Switch Installation When it comes to wiring a service disconnect, it’s important to follow the proper procedures and safety guidelines. Disconnect switches play a pivotal role in electrical safety and maintenance by enabling circuit isolation and protection. Disconnect switch location and installation. In summary, prioritizing safety, understanding the differences between circuit breakers and disconnect switches, following. However it gets to to exploit. Disconnect Switch Installation.
From www.youtube.com
Battery Disconnect Switch Installation On Camper Trailer YouTube Disconnect Switch Installation Disconnect switches protect personnel and equipment from electrical hazards by preventing the risk of electrocution and. However it gets to to exploit the rule of six which says. Learn to safely wire a disconnect switch at home for. B) for cable operated switches, follow. In summary, prioritizing safety, understanding the differences between circuit breakers and disconnect switches, following. The inspector. Disconnect Switch Installation.
From www.eliteelectric.ca
Disconnect Switch Installation Elite Electric Group Disconnect Switch Installation Wiring a disconnect switch is an easy task, but make sure to follow the instructions carefully to ensure that the switch is wired properly. Disconnect switch location and installation. Disconnect switches play a pivotal role in electrical safety and maintenance by enabling circuit isolation and protection. Disconnect switches protect personnel and equipment from electrical hazards by preventing the risk of. Disconnect Switch Installation.
From www.thespruce.com
Wiring Basics for Electrical Disconnect Switches Disconnect Switch Installation When it comes to wiring a service disconnect, it’s important to follow the proper procedures and safety guidelines. The inspector means that your installation must serve as a disconnect; Disconnect switch location and installation. In summary, prioritizing safety, understanding the differences between circuit breakers and disconnect switches, following. Disconnect switches protect personnel and equipment from electrical hazards by preventing the. Disconnect Switch Installation.
From diagramlibrarytymbals.z21.web.core.windows.net
Winnebago View Battery Disconnect Switch Disconnect Switch Installation The inspector means that your installation must serve as a disconnect; Wiring a disconnect switch is an easy task, but make sure to follow the instructions carefully to ensure that the switch is wired properly. However it gets to to exploit the rule of six which says. Disconnect switch location and installation. Learn to safely wire a disconnect switch at. Disconnect Switch Installation.
From www.youtube.com
How To Install A Battery Disconnect Switch On Your Vehicle Without Disconnect Switch Installation Disconnect switches play a pivotal role in electrical safety and maintenance by enabling circuit isolation and protection. In summary, prioritizing safety, understanding the differences between circuit breakers and disconnect switches, following. The inspector means that your installation must serve as a disconnect; Disconnect switch location and installation. Wiring a disconnect switch is an easy task, but make sure to follow. Disconnect Switch Installation.
From www.youtube.com
How to install battery disconnect or isolator switch YouTube Disconnect Switch Installation When it comes to wiring a service disconnect, it’s important to follow the proper procedures and safety guidelines. B) for cable operated switches, follow. Disconnect switches play a pivotal role in electrical safety and maintenance by enabling circuit isolation and protection. Learn to safely wire a disconnect switch at home for. However it gets to to exploit the rule of. Disconnect Switch Installation.
From www.youtube.com
3 Phase Disconnect YouTube Disconnect Switch Installation Disconnect switches play a pivotal role in electrical safety and maintenance by enabling circuit isolation and protection. However it gets to to exploit the rule of six which says. When it comes to wiring a service disconnect, it’s important to follow the proper procedures and safety guidelines. Disconnect switch location and installation. The installation process involves connecting the disconnect switch. Disconnect Switch Installation.
From www.youtube.com
How to install a battery disconnect switch on a boat YouTube Disconnect Switch Installation The installation process involves connecting the disconnect switch to the main electrical panel, ensuring that the wiring is done correctly and securely. In summary, prioritizing safety, understanding the differences between circuit breakers and disconnect switches, following. When it comes to wiring a service disconnect, it’s important to follow the proper procedures and safety guidelines. Disconnect switches play a pivotal role. Disconnect Switch Installation.
From www.wiringcore.com
Battery Master Disconnect Switch Wiring Diagram » Wiring Core Disconnect Switch Installation However it gets to to exploit the rule of six which says. The installation process involves connecting the disconnect switch to the main electrical panel, ensuring that the wiring is done correctly and securely. When it comes to wiring a service disconnect, it’s important to follow the proper procedures and safety guidelines. Disconnect switch location and installation. Learn to safely. Disconnect Switch Installation.
From staging3.psicontrolsolutions.com
4 Reasons to Install a Disconnect Switch Safety Switches Disconnect Switch Installation The inspector means that your installation must serve as a disconnect; Disconnect switch location and installation. Disconnect switches play a pivotal role in electrical safety and maintenance by enabling circuit isolation and protection. Disconnect switches protect personnel and equipment from electrical hazards by preventing the risk of electrocution and. However it gets to to exploit the rule of six which. Disconnect Switch Installation.
From wirelistfireweeds.z13.web.core.windows.net
Wiring A Battery Disconnect Switch Disconnect Switch Installation The installation process involves connecting the disconnect switch to the main electrical panel, ensuring that the wiring is done correctly and securely. In summary, prioritizing safety, understanding the differences between circuit breakers and disconnect switches, following. Disconnect switches play a pivotal role in electrical safety and maintenance by enabling circuit isolation and protection. B) for cable operated switches, follow. The. Disconnect Switch Installation.
From fixlibraryvormerkene1.z4.web.core.windows.net
Rv Battery Disconnect Switch Wiring Diagram Disconnect Switch Installation The inspector means that your installation must serve as a disconnect; Wiring a disconnect switch is an easy task, but make sure to follow the instructions carefully to ensure that the switch is wired properly. In summary, prioritizing safety, understanding the differences between circuit breakers and disconnect switches, following. B) for cable operated switches, follow. However it gets to to. Disconnect Switch Installation.
From answers.jegs.com
10318 Installation Instructions for Battery Disconnect Switch Disconnect Switch Installation Disconnect switches play a pivotal role in electrical safety and maintenance by enabling circuit isolation and protection. Wiring a disconnect switch is an easy task, but make sure to follow the instructions carefully to ensure that the switch is wired properly. The installation process involves connecting the disconnect switch to the main electrical panel, ensuring that the wiring is done. Disconnect Switch Installation.
From wiring04.blogspot.com
Marine Battery Disconnect Switch Wiring / Flaming River Battery Disconnect Switch Installation B) for cable operated switches, follow. Wiring a disconnect switch is an easy task, but make sure to follow the instructions carefully to ensure that the switch is wired properly. The inspector means that your installation must serve as a disconnect; Disconnect switches play a pivotal role in electrical safety and maintenance by enabling circuit isolation and protection. Learn to. Disconnect Switch Installation.
From www.hotrod.com
Ask Anything How to Size and Install a Battery Disconnect Switch Hot Disconnect Switch Installation However it gets to to exploit the rule of six which says. B) for cable operated switches, follow. In summary, prioritizing safety, understanding the differences between circuit breakers and disconnect switches, following. Disconnect switch location and installation. The inspector means that your installation must serve as a disconnect; Disconnect switches protect personnel and equipment from electrical hazards by preventing the. Disconnect Switch Installation.
From www.longwindingroads.com
Installing an RV Battery Disconnect Switch Long Winding Roads Disconnect Switch Installation Disconnect switches play a pivotal role in electrical safety and maintenance by enabling circuit isolation and protection. Wiring a disconnect switch is an easy task, but make sure to follow the instructions carefully to ensure that the switch is wired properly. Disconnect switches protect personnel and equipment from electrical hazards by preventing the risk of electrocution and. The installation process. Disconnect Switch Installation.
From www.youtube.com
How to install a disconnect? 1st Electric Response YouTube Disconnect Switch Installation Disconnect switch location and installation. However it gets to to exploit the rule of six which says. When it comes to wiring a service disconnect, it’s important to follow the proper procedures and safety guidelines. Disconnect switches protect personnel and equipment from electrical hazards by preventing the risk of electrocution and. The inspector means that your installation must serve as. Disconnect Switch Installation.
From enginerileyfanlight.z14.web.core.windows.net
Electrical Disconnect Wiring Diagram Disconnect Switch Installation The inspector means that your installation must serve as a disconnect; The installation process involves connecting the disconnect switch to the main electrical panel, ensuring that the wiring is done correctly and securely. In summary, prioritizing safety, understanding the differences between circuit breakers and disconnect switches, following. Learn to safely wire a disconnect switch at home for. When it comes. Disconnect Switch Installation.
From schematiclistmoller.z19.web.core.windows.net
Ac Disconnect Wiring Diagram Disconnect Switch Installation The installation process involves connecting the disconnect switch to the main electrical panel, ensuring that the wiring is done correctly and securely. Disconnect switches play a pivotal role in electrical safety and maintenance by enabling circuit isolation and protection. In summary, prioritizing safety, understanding the differences between circuit breakers and disconnect switches, following. Wiring a disconnect switch is an easy. Disconnect Switch Installation.
From www.youtube.com
How To Install A Battery Disconnect Switch YouTube Disconnect Switch Installation In summary, prioritizing safety, understanding the differences between circuit breakers and disconnect switches, following. The inspector means that your installation must serve as a disconnect; Disconnect switch location and installation. The installation process involves connecting the disconnect switch to the main electrical panel, ensuring that the wiring is done correctly and securely. When it comes to wiring a service disconnect,. Disconnect Switch Installation.
From www.hunker.com
How to Install an Electric Disconnect Switch Hunker Disconnect Switch Installation B) for cable operated switches, follow. The installation process involves connecting the disconnect switch to the main electrical panel, ensuring that the wiring is done correctly and securely. Wiring a disconnect switch is an easy task, but make sure to follow the instructions carefully to ensure that the switch is wired properly. The inspector means that your installation must serve. Disconnect Switch Installation.
From www.wiringcore.com
Battery Master Disconnect Switch Wiring Diagram » Wiring Core Disconnect Switch Installation When it comes to wiring a service disconnect, it’s important to follow the proper procedures and safety guidelines. The installation process involves connecting the disconnect switch to the main electrical panel, ensuring that the wiring is done correctly and securely. Wiring a disconnect switch is an easy task, but make sure to follow the instructions carefully to ensure that the. Disconnect Switch Installation.