Whirlpool Quiet Wash Plus Won T Start .  this guide is designed to help you identify and resolve common problems with your dishwasher right at home.   if your whirlpool dishwasher won't start, displays error codes, or is simply not performing at its best, knowing how to perform a soft reset or a hard reset, or.  my start/resume light kept flashing and after doing the reset sequence about 5 times, unplugging in between, then cancel/resume.  other than the six buttons under “wash cycles”, there are two to the right of those, under “options”, labeled power scour and air.  there are several reasons why your whirlpool dishwasher not starting or not operating:  a dishwasher that won’t start can often be remedied with simple solutions.   you can do that by simply turning your dishwasher off at the power source or turning the circuit breaker off, waiting a few minutes, and then turning it. Verifying the setting status of features like control lock or.
        
        from www.justanswer.com 
     
        
         my start/resume light kept flashing and after doing the reset sequence about 5 times, unplugging in between, then cancel/resume.  a dishwasher that won’t start can often be remedied with simple solutions.  there are several reasons why your whirlpool dishwasher not starting or not operating:  this guide is designed to help you identify and resolve common problems with your dishwasher right at home.   if your whirlpool dishwasher won't start, displays error codes, or is simply not performing at its best, knowing how to perform a soft reset or a hard reset, or.   you can do that by simply turning your dishwasher off at the power source or turning the circuit breaker off, waiting a few minutes, and then turning it. Verifying the setting status of features like control lock or.  other than the six buttons under “wash cycles”, there are two to the right of those, under “options”, labeled power scour and air.
    
    	
            
	
		 
         
    I have a whirlpool quiet partner IV dishwasher. It will not start. The 
    Whirlpool Quiet Wash Plus Won T Start  Verifying the setting status of features like control lock or.  there are several reasons why your whirlpool dishwasher not starting or not operating:  my start/resume light kept flashing and after doing the reset sequence about 5 times, unplugging in between, then cancel/resume.   you can do that by simply turning your dishwasher off at the power source or turning the circuit breaker off, waiting a few minutes, and then turning it.  other than the six buttons under “wash cycles”, there are two to the right of those, under “options”, labeled power scour and air.  a dishwasher that won’t start can often be remedied with simple solutions.   if your whirlpool dishwasher won't start, displays error codes, or is simply not performing at its best, knowing how to perform a soft reset or a hard reset, or. Verifying the setting status of features like control lock or.  this guide is designed to help you identify and resolve common problems with your dishwasher right at home.
            
	
		 
         
 
    
        From ubicaciondepersonas.cdmx.gob.mx 
                    Whirlpool Top Load Washer, Quiet Wash,ultimate Care II, Super Capacity Whirlpool Quiet Wash Plus Won T Start   there are several reasons why your whirlpool dishwasher not starting or not operating: Verifying the setting status of features like control lock or.  other than the six buttons under “wash cycles”, there are two to the right of those, under “options”, labeled power scour and air.   you can do that by simply turning your dishwasher off at. Whirlpool Quiet Wash Plus Won T Start.
     
    
        From www.youtube.com 
                    Washer Won’t Start — Washing Machine Troubleshooting YouTube Whirlpool Quiet Wash Plus Won T Start    you can do that by simply turning your dishwasher off at the power source or turning the circuit breaker off, waiting a few minutes, and then turning it.  there are several reasons why your whirlpool dishwasher not starting or not operating: Verifying the setting status of features like control lock or.  my start/resume light kept flashing and. Whirlpool Quiet Wash Plus Won T Start.
     
    
        From www.reddit.com 
                    [Help] Whirlpool quiet partner IV (dish washer), won't start. r Whirlpool Quiet Wash Plus Won T Start   other than the six buttons under “wash cycles”, there are two to the right of those, under “options”, labeled power scour and air.  this guide is designed to help you identify and resolve common problems with your dishwasher right at home.  there are several reasons why your whirlpool dishwasher not starting or not operating:   if your. Whirlpool Quiet Wash Plus Won T Start.
     
    
        From exovjawvd.blob.core.windows.net 
                    How To Reset My Whirlpool Quiet Partner 2 Dishwasher at Harold Brown blog Whirlpool Quiet Wash Plus Won T Start  Verifying the setting status of features like control lock or.  there are several reasons why your whirlpool dishwasher not starting or not operating:   you can do that by simply turning your dishwasher off at the power source or turning the circuit breaker off, waiting a few minutes, and then turning it.  this guide is designed to help. Whirlpool Quiet Wash Plus Won T Start.
     
    
        From www.youtube.com 
                    Whirlpool Washer Won’t Drain or Spin FIXED IN UNDER 10 MINUTES YouTube Whirlpool Quiet Wash Plus Won T Start   there are several reasons why your whirlpool dishwasher not starting or not operating:  my start/resume light kept flashing and after doing the reset sequence about 5 times, unplugging in between, then cancel/resume. Verifying the setting status of features like control lock or.   you can do that by simply turning your dishwasher off at the power source or. Whirlpool Quiet Wash Plus Won T Start.
     
    
        From electricalgang.com 
                    Top 6 Solutions to Fix Whirlpool Dishwasher Not Washing? Whirlpool Quiet Wash Plus Won T Start   this guide is designed to help you identify and resolve common problems with your dishwasher right at home.   if your whirlpool dishwasher won't start, displays error codes, or is simply not performing at its best, knowing how to perform a soft reset or a hard reset, or. Verifying the setting status of features like control lock or. . Whirlpool Quiet Wash Plus Won T Start.
     
    
        From www.ebth.com 
                    Whirlpool Quiet Wash Washer EBTH Whirlpool Quiet Wash Plus Won T Start    you can do that by simply turning your dishwasher off at the power source or turning the circuit breaker off, waiting a few minutes, and then turning it.  other than the six buttons under “wash cycles”, there are two to the right of those, under “options”, labeled power scour and air.  my start/resume light kept flashing and. Whirlpool Quiet Wash Plus Won T Start.
     
    
        From www.youtube.com 
                    How to Fix Whirlpool Washer Not Agitating or Spinning At All Model  Whirlpool Quiet Wash Plus Won T Start   other than the six buttons under “wash cycles”, there are two to the right of those, under “options”, labeled power scour and air.  my start/resume light kept flashing and after doing the reset sequence about 5 times, unplugging in between, then cancel/resume. Verifying the setting status of features like control lock or.   you can do that by. Whirlpool Quiet Wash Plus Won T Start.
     
    
        From www.youtube.com 
                    Whirlpool Washer Won't Drain How to Drain the Washer, Diagnose and Whirlpool Quiet Wash Plus Won T Start    you can do that by simply turning your dishwasher off at the power source or turning the circuit breaker off, waiting a few minutes, and then turning it.  other than the six buttons under “wash cycles”, there are two to the right of those, under “options”, labeled power scour and air.  my start/resume light kept flashing and. Whirlpool Quiet Wash Plus Won T Start.
     
    
        From msamcafossacesia.blogspot.com 
                    Whirlpool Ultimate Care Ii Washer Wont Spin Whirlpool Ultimate Care Whirlpool Quiet Wash Plus Won T Start   this guide is designed to help you identify and resolve common problems with your dishwasher right at home.  there are several reasons why your whirlpool dishwasher not starting or not operating: Verifying the setting status of features like control lock or.  other than the six buttons under “wash cycles”, there are two to the right of those,. Whirlpool Quiet Wash Plus Won T Start.
     
    
        From www.ebth.com 
                    Whirlpool Quiet Wash Washer EBTH Whirlpool Quiet Wash Plus Won T Start   there are several reasons why your whirlpool dishwasher not starting or not operating:  my start/resume light kept flashing and after doing the reset sequence about 5 times, unplugging in between, then cancel/resume.   if your whirlpool dishwasher won't start, displays error codes, or is simply not performing at its best, knowing how to perform a soft reset or. Whirlpool Quiet Wash Plus Won T Start.
     
    
        From www.justanswer.com 
                    It is not draining thank you. Whirlpool. Whirlpool gold quiet wash plus Whirlpool Quiet Wash Plus Won T Start    if your whirlpool dishwasher won't start, displays error codes, or is simply not performing at its best, knowing how to perform a soft reset or a hard reset, or.   you can do that by simply turning your dishwasher off at the power source or turning the circuit breaker off, waiting a few minutes, and then turning it. . Whirlpool Quiet Wash Plus Won T Start.
     
    
        From www.bidspotter.co.uk 
                    * A Whirlpool Heavy Duty Series 8 Quiet Wash Plus commercial washing Whirlpool Quiet Wash Plus Won T Start  Verifying the setting status of features like control lock or.  other than the six buttons under “wash cycles”, there are two to the right of those, under “options”, labeled power scour and air.  a dishwasher that won’t start can often be remedied with simple solutions.   you can do that by simply turning your dishwasher off at the. Whirlpool Quiet Wash Plus Won T Start.
     
    
        From www.youtube.com 
                    TopLoad Washer Won’t Start — Washing Machine Troubleshooting YouTube Whirlpool Quiet Wash Plus Won T Start   other than the six buttons under “wash cycles”, there are two to the right of those, under “options”, labeled power scour and air.  this guide is designed to help you identify and resolve common problems with your dishwasher right at home.   you can do that by simply turning your dishwasher off at the power source or turning. Whirlpool Quiet Wash Plus Won T Start.
     
    
        From www.bidspotter.co.uk 
                    A Whirlpool Heavy Duty Series 8 Quiet Wash Plus commercial washing Whirlpool Quiet Wash Plus Won T Start   there are several reasons why your whirlpool dishwasher not starting or not operating:  other than the six buttons under “wash cycles”, there are two to the right of those, under “options”, labeled power scour and air.   if your whirlpool dishwasher won't start, displays error codes, or is simply not performing at its best, knowing how to perform. Whirlpool Quiet Wash Plus Won T Start.
     
    
        From www.youtube.com 
                    Whirlpool Washer Ulitimate Care II YouTube Whirlpool Quiet Wash Plus Won T Start    you can do that by simply turning your dishwasher off at the power source or turning the circuit breaker off, waiting a few minutes, and then turning it.  this guide is designed to help you identify and resolve common problems with your dishwasher right at home.  other than the six buttons under “wash cycles”, there are two. Whirlpool Quiet Wash Plus Won T Start.
     
    
        From www.justanswer.com 
                    I have a 10 yr old Whirlpool Gold Quiet Wash Plus. It will not drain Whirlpool Quiet Wash Plus Won T Start    if your whirlpool dishwasher won't start, displays error codes, or is simply not performing at its best, knowing how to perform a soft reset or a hard reset, or.  there are several reasons why your whirlpool dishwasher not starting or not operating:  this guide is designed to help you identify and resolve common problems with your dishwasher. Whirlpool Quiet Wash Plus Won T Start.
     
    
        From www.youtube.com 
                    How to fix a Whirlpool Washer that Won't Enter Spin Cycle Automatically Whirlpool Quiet Wash Plus Won T Start   there are several reasons why your whirlpool dishwasher not starting or not operating:  this guide is designed to help you identify and resolve common problems with your dishwasher right at home.  my start/resume light kept flashing and after doing the reset sequence about 5 times, unplugging in between, then cancel/resume.  other than the six buttons under. Whirlpool Quiet Wash Plus Won T Start.
     
    
        From replacementparts.netlify.app 
                    Whirlpool dishwasher quiet partner iii troubleshooting Whirlpool Quiet Wash Plus Won T Start   other than the six buttons under “wash cycles”, there are two to the right of those, under “options”, labeled power scour and air.  a dishwasher that won’t start can often be remedied with simple solutions.  there are several reasons why your whirlpool dishwasher not starting or not operating: Verifying the setting status of features like control lock. Whirlpool Quiet Wash Plus Won T Start.
     
    
        From diy.stackexchange.com 
                    circuit breaker Whirlpool washing machine won't start, need help Whirlpool Quiet Wash Plus Won T Start   this guide is designed to help you identify and resolve common problems with your dishwasher right at home.  other than the six buttons under “wash cycles”, there are two to the right of those, under “options”, labeled power scour and air.   if your whirlpool dishwasher won't start, displays error codes, or is simply not performing at its. Whirlpool Quiet Wash Plus Won T Start.
     
    
        From www.justanswer.com 
                    I have a whirlpool quiet partner IV dishwasher. It will not start. The Whirlpool Quiet Wash Plus Won T Start   a dishwasher that won’t start can often be remedied with simple solutions.  there are several reasons why your whirlpool dishwasher not starting or not operating:  this guide is designed to help you identify and resolve common problems with your dishwasher right at home.   if your whirlpool dishwasher won't start, displays error codes, or is simply not. Whirlpool Quiet Wash Plus Won T Start.
     
    
        From ubicaciondepersonas.cdmx.gob.mx 
                    Whirlpool Quiet Wash Plus ubicaciondepersonas.cdmx.gob.mx Whirlpool Quiet Wash Plus Won T Start   other than the six buttons under “wash cycles”, there are two to the right of those, under “options”, labeled power scour and air.  a dishwasher that won’t start can often be remedied with simple solutions. Verifying the setting status of features like control lock or.  my start/resume light kept flashing and after doing the reset sequence about. Whirlpool Quiet Wash Plus Won T Start.
     
    
        From www.justanswer.com 
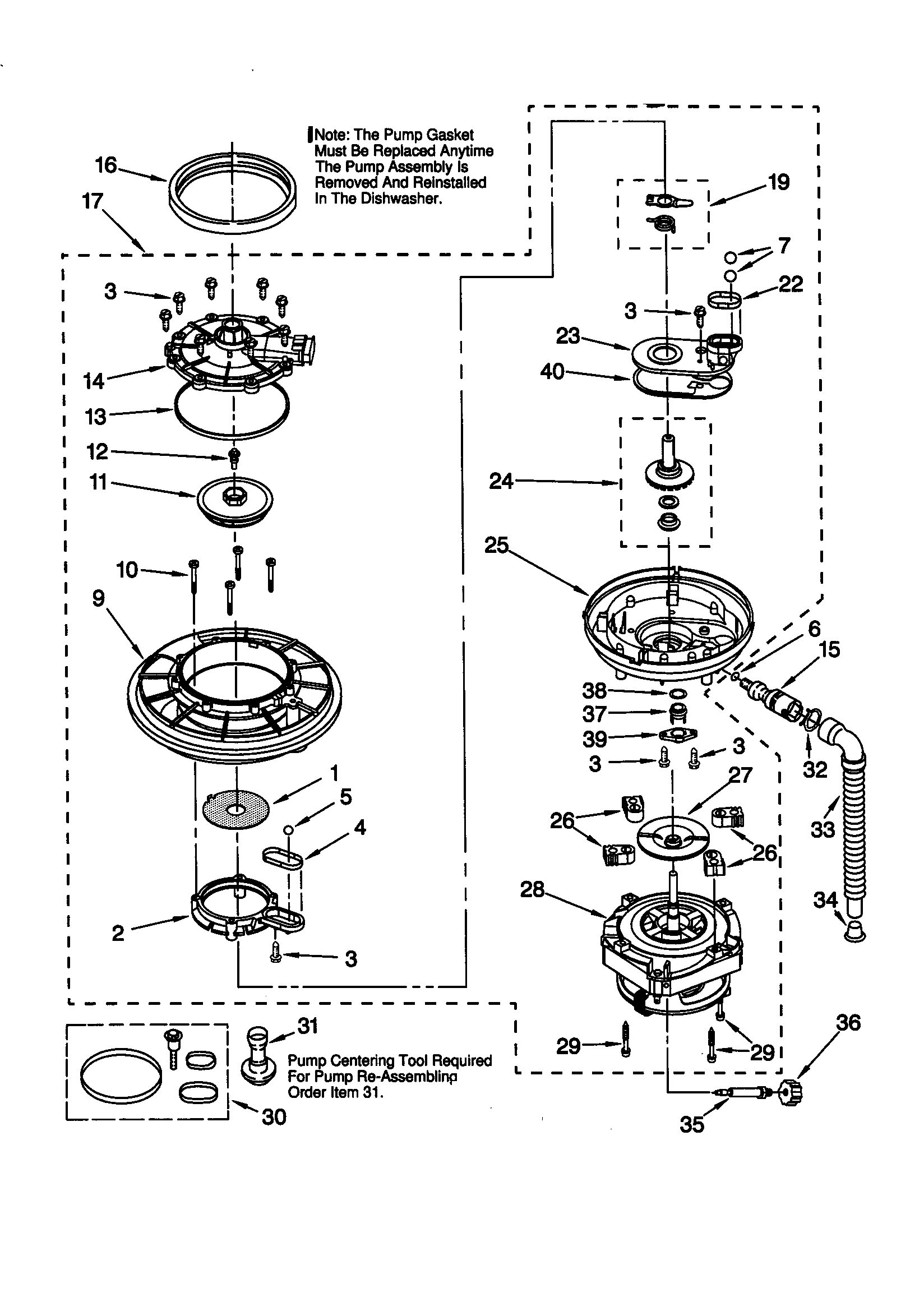
                    I can't remove the filter screen on my Whirlpool Quiet Wash Plus Whirlpool Quiet Wash Plus Won T Start   there are several reasons why your whirlpool dishwasher not starting or not operating:  other than the six buttons under “wash cycles”, there are two to the right of those, under “options”, labeled power scour and air.   you can do that by simply turning your dishwasher off at the power source or turning the circuit breaker off, waiting. Whirlpool Quiet Wash Plus Won T Start.
     
    
        From www.reddit.com 
                    Whirlpool Duet Steam Washer Machine won't start up! It makes noise and Whirlpool Quiet Wash Plus Won T Start   this guide is designed to help you identify and resolve common problems with your dishwasher right at home.  there are several reasons why your whirlpool dishwasher not starting or not operating:   if your whirlpool dishwasher won't start, displays error codes, or is simply not performing at its best, knowing how to perform a soft reset or a. Whirlpool Quiet Wash Plus Won T Start.
     
    
        From www.justanswer.com 
                    My Whirlpool Quiet Partner II is not cleaning properly. The model is Whirlpool Quiet Wash Plus Won T Start    if your whirlpool dishwasher won't start, displays error codes, or is simply not performing at its best, knowing how to perform a soft reset or a hard reset, or.  other than the six buttons under “wash cycles”, there are two to the right of those, under “options”, labeled power scour and air.  my start/resume light kept flashing. Whirlpool Quiet Wash Plus Won T Start.
     
    
        From ceilxdhx.blob.core.windows.net 
                    Whirlpool Quiet Wash at Willie Nolan blog Whirlpool Quiet Wash Plus Won T Start    you can do that by simply turning your dishwasher off at the power source or turning the circuit breaker off, waiting a few minutes, and then turning it.  this guide is designed to help you identify and resolve common problems with your dishwasher right at home.  my start/resume light kept flashing and after doing the reset sequence. Whirlpool Quiet Wash Plus Won T Start.
     
    
        From my-files-are-yours.blogspot.com 
                    WHIRLPOOL GOLD QUIET WASH PLUS DISHWASHER MANUAL Whirlpool Quiet Wash Plus Won T Start    if your whirlpool dishwasher won't start, displays error codes, or is simply not performing at its best, knowing how to perform a soft reset or a hard reset, or.  a dishwasher that won’t start can often be remedied with simple solutions.  there are several reasons why your whirlpool dishwasher not starting or not operating:  other than. Whirlpool Quiet Wash Plus Won T Start.
     
    
        From www.discountcityappliance.com 
                    WHIRLPOOL WHIRLPOOL "QUIET WASH" TOP LOAD WASHING MACHINE Discount Whirlpool Quiet Wash Plus Won T Start   my start/resume light kept flashing and after doing the reset sequence about 5 times, unplugging in between, then cancel/resume. Verifying the setting status of features like control lock or.  a dishwasher that won’t start can often be remedied with simple solutions.  other than the six buttons under “wash cycles”, there are two to the right of those,. Whirlpool Quiet Wash Plus Won T Start.
     
    
        From www.justanswer.com 
                    I can't remove the filter screen on my Whirlpool Quiet Wash Plus Whirlpool Quiet Wash Plus Won T Start  Verifying the setting status of features like control lock or.   you can do that by simply turning your dishwasher off at the power source or turning the circuit breaker off, waiting a few minutes, and then turning it.  other than the six buttons under “wash cycles”, there are two to the right of those, under “options”, labeled power. Whirlpool Quiet Wash Plus Won T Start.
     
    
        From www.youtube.com 
                    Washer Won't Spin! Whirlpool Washing Machine Repair EASY! YouTube Whirlpool Quiet Wash Plus Won T Start    if your whirlpool dishwasher won't start, displays error codes, or is simply not performing at its best, knowing how to perform a soft reset or a hard reset, or.  a dishwasher that won’t start can often be remedied with simple solutions.  there are several reasons why your whirlpool dishwasher not starting or not operating:  this guide. Whirlpool Quiet Wash Plus Won T Start.
     
    
        From reviewmotors.co 
                    Whirlpool Gold Quiet Wash Plus Dishwasher Parts Reviewmotors.co Whirlpool Quiet Wash Plus Won T Start    if your whirlpool dishwasher won't start, displays error codes, or is simply not performing at its best, knowing how to perform a soft reset or a hard reset, or.   you can do that by simply turning your dishwasher off at the power source or turning the circuit breaker off, waiting a few minutes, and then turning it. . Whirlpool Quiet Wash Plus Won T Start.
     
    
        From www.justanswer.com 
                    I can't remove the filter screen on my Whirlpool Quiet Wash Plus Whirlpool Quiet Wash Plus Won T Start   there are several reasons why your whirlpool dishwasher not starting or not operating: Verifying the setting status of features like control lock or.   you can do that by simply turning your dishwasher off at the power source or turning the circuit breaker off, waiting a few minutes, and then turning it.   if your whirlpool dishwasher won't start,. Whirlpool Quiet Wash Plus Won T Start.
     
    
        From www.bidspotter.co.uk 
                    A Whirlpool Heavy Duty Series 8 Quiet Wash Plus commercial washing Whirlpool Quiet Wash Plus Won T Start  Verifying the setting status of features like control lock or.  other than the six buttons under “wash cycles”, there are two to the right of those, under “options”, labeled power scour and air.   if your whirlpool dishwasher won't start, displays error codes, or is simply not performing at its best, knowing how to perform a soft reset or. Whirlpool Quiet Wash Plus Won T Start.
     
    
        From appliancefixmaster.com 
                    Whirlpool Washing Machine Won't Start the Cycle (Fixed!) Appliance Whirlpool Quiet Wash Plus Won T Start   this guide is designed to help you identify and resolve common problems with your dishwasher right at home.  my start/resume light kept flashing and after doing the reset sequence about 5 times, unplugging in between, then cancel/resume.  there are several reasons why your whirlpool dishwasher not starting or not operating:  a dishwasher that won’t start can. Whirlpool Quiet Wash Plus Won T Start.
     
    
        From washerwhirlpool.blogspot.com 
                    How To Fix A Whirlpool Washer That Won't Spin Whirlpool Quiet Wash Plus Won T Start    if your whirlpool dishwasher won't start, displays error codes, or is simply not performing at its best, knowing how to perform a soft reset or a hard reset, or.  other than the six buttons under “wash cycles”, there are two to the right of those, under “options”, labeled power scour and air. Verifying the setting status of features. Whirlpool Quiet Wash Plus Won T Start.