Does Audi Make Manual Transmission . sadly, audi waved goodbye to the manual transmission (in the us market) with the 2019 a4. The audi a4 was the last model available in the us with a manual option and the company even sent it off. Not all automatic transmissions are the same, and not all quattro drive systems are the same. If you just love manual automobiles, this car may be right for you. Many people complain that using a manual transmission in the daily commute is too difficult, but not in the a4. As any seasoned road tester will tell you, the latest audi r8 is a spectacular supercar.
from workshop-manuals.com
sadly, audi waved goodbye to the manual transmission (in the us market) with the 2019 a4. As any seasoned road tester will tell you, the latest audi r8 is a spectacular supercar. Many people complain that using a manual transmission in the daily commute is too difficult, but not in the a4. If you just love manual automobiles, this car may be right for you. Not all automatic transmissions are the same, and not all quattro drive systems are the same. The audi a4 was the last model available in the us with a manual option and the company even sent it off.
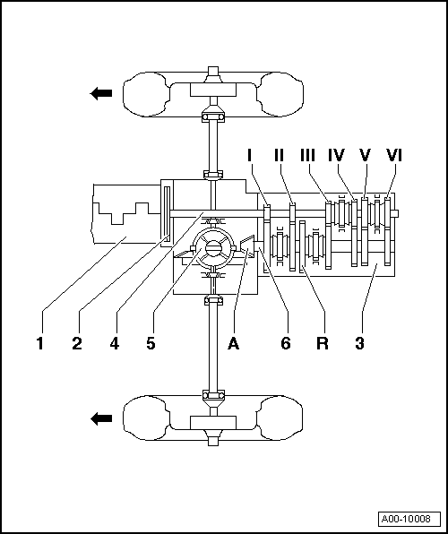
Audi Service and Repair Manuals > A4 Mk3 > Power transmission
Does Audi Make Manual Transmission sadly, audi waved goodbye to the manual transmission (in the us market) with the 2019 a4. The audi a4 was the last model available in the us with a manual option and the company even sent it off. Many people complain that using a manual transmission in the daily commute is too difficult, but not in the a4. If you just love manual automobiles, this car may be right for you. sadly, audi waved goodbye to the manual transmission (in the us market) with the 2019 a4. Not all automatic transmissions are the same, and not all quattro drive systems are the same. As any seasoned road tester will tell you, the latest audi r8 is a spectacular supercar.
From machinemueller123.z19.web.core.windows.net
2013 Audi A4 Transmission Fluid Change Does Audi Make Manual Transmission sadly, audi waved goodbye to the manual transmission (in the us market) with the 2019 a4. The audi a4 was the last model available in the us with a manual option and the company even sent it off. If you just love manual automobiles, this car may be right for you. Not all automatic transmissions are the same, and. Does Audi Make Manual Transmission.
From workshop-manuals.com
Audi Service and Repair Manuals > A3 Mk2 > Power transmission Does Audi Make Manual Transmission Many people complain that using a manual transmission in the daily commute is too difficult, but not in the a4. As any seasoned road tester will tell you, the latest audi r8 is a spectacular supercar. If you just love manual automobiles, this car may be right for you. The audi a4 was the last model available in the us. Does Audi Make Manual Transmission.
From workshop-manuals.com
Audi Manuals > A1 > Power transmission > 6speed manual Does Audi Make Manual Transmission The audi a4 was the last model available in the us with a manual option and the company even sent it off. If you just love manual automobiles, this car may be right for you. As any seasoned road tester will tell you, the latest audi r8 is a spectacular supercar. Many people complain that using a manual transmission in. Does Audi Make Manual Transmission.
From howcarspecs.blogspot.com
Audi Transmission Types How Car Specs Does Audi Make Manual Transmission The audi a4 was the last model available in the us with a manual option and the company even sent it off. Many people complain that using a manual transmission in the daily commute is too difficult, but not in the a4. If you just love manual automobiles, this car may be right for you. sadly, audi waved goodbye. Does Audi Make Manual Transmission.
From workshop-manuals.com
Audi Service and Repair Manuals > A4 Cabriolet Mk2 > Power Does Audi Make Manual Transmission The audi a4 was the last model available in the us with a manual option and the company even sent it off. Not all automatic transmissions are the same, and not all quattro drive systems are the same. Many people complain that using a manual transmission in the daily commute is too difficult, but not in the a4. If you. Does Audi Make Manual Transmission.
From workshop-manuals.com
Audi Service and Repair Manuals > A4 Mk2 > Power transmission Does Audi Make Manual Transmission The audi a4 was the last model available in the us with a manual option and the company even sent it off. Many people complain that using a manual transmission in the daily commute is too difficult, but not in the a4. If you just love manual automobiles, this car may be right for you. sadly, audi waved goodbye. Does Audi Make Manual Transmission.
From auto.howstuffworks.com
What About the Automated Manual? HowStuffWorks Does Audi Make Manual Transmission Many people complain that using a manual transmission in the daily commute is too difficult, but not in the a4. The audi a4 was the last model available in the us with a manual option and the company even sent it off. Not all automatic transmissions are the same, and not all quattro drive systems are the same. If you. Does Audi Make Manual Transmission.
From workshop-manuals.com
Audi Manuals > A4 Mk2 > Power transmission > 6speed manual Does Audi Make Manual Transmission Not all automatic transmissions are the same, and not all quattro drive systems are the same. As any seasoned road tester will tell you, the latest audi r8 is a spectacular supercar. If you just love manual automobiles, this car may be right for you. Many people complain that using a manual transmission in the daily commute is too difficult,. Does Audi Make Manual Transmission.
From issuu.com
Know the Working Principle of Tiptronic Transmission System in Audi by Does Audi Make Manual Transmission As any seasoned road tester will tell you, the latest audi r8 is a spectacular supercar. Many people complain that using a manual transmission in the daily commute is too difficult, but not in the a4. sadly, audi waved goodbye to the manual transmission (in the us market) with the 2019 a4. The audi a4 was the last model. Does Audi Make Manual Transmission.
From www.audiworld.com
Audi A4 B8 Manual, Tiptronic, Multitronic CVT, STronic DSG Does Audi Make Manual Transmission If you just love manual automobiles, this car may be right for you. As any seasoned road tester will tell you, the latest audi r8 is a spectacular supercar. Not all automatic transmissions are the same, and not all quattro drive systems are the same. Many people complain that using a manual transmission in the daily commute is too difficult,. Does Audi Make Manual Transmission.
From workshop-manuals.com
Audi Service and Repair Manuals > A4 Mk2 > Power transmission Does Audi Make Manual Transmission Many people complain that using a manual transmission in the daily commute is too difficult, but not in the a4. sadly, audi waved goodbye to the manual transmission (in the us market) with the 2019 a4. Not all automatic transmissions are the same, and not all quattro drive systems are the same. If you just love manual automobiles, this. Does Audi Make Manual Transmission.
From workshop-manuals.com
Audi Service and Repair Manuals > A3 Mk1 > Power transmission Does Audi Make Manual Transmission Many people complain that using a manual transmission in the daily commute is too difficult, but not in the a4. If you just love manual automobiles, this car may be right for you. sadly, audi waved goodbye to the manual transmission (in the us market) with the 2019 a4. Not all automatic transmissions are the same, and not all. Does Audi Make Manual Transmission.
From workshop-manuals.com
Audi Service and Repair Manuals > A4 Mk2 > Power transmission Does Audi Make Manual Transmission Not all automatic transmissions are the same, and not all quattro drive systems are the same. If you just love manual automobiles, this car may be right for you. Many people complain that using a manual transmission in the daily commute is too difficult, but not in the a4. sadly, audi waved goodbye to the manual transmission (in the. Does Audi Make Manual Transmission.
From workshop-manuals.com
Audi Service and Repair Manuals > A1 > Power transmission 7 Does Audi Make Manual Transmission Not all automatic transmissions are the same, and not all quattro drive systems are the same. Many people complain that using a manual transmission in the daily commute is too difficult, but not in the a4. As any seasoned road tester will tell you, the latest audi r8 is a spectacular supercar. The audi a4 was the last model available. Does Audi Make Manual Transmission.
From howcarspecs.blogspot.com
Audi Transmission Types How Car Specs Does Audi Make Manual Transmission sadly, audi waved goodbye to the manual transmission (in the us market) with the 2019 a4. Many people complain that using a manual transmission in the daily commute is too difficult, but not in the a4. Not all automatic transmissions are the same, and not all quattro drive systems are the same. The audi a4 was the last model. Does Audi Make Manual Transmission.
From userdiagramwirtz.z19.web.core.windows.net
Does Audi Make A Manual Transmission Does Audi Make Manual Transmission Not all automatic transmissions are the same, and not all quattro drive systems are the same. If you just love manual automobiles, this car may be right for you. As any seasoned road tester will tell you, the latest audi r8 is a spectacular supercar. sadly, audi waved goodbye to the manual transmission (in the us market) with the. Does Audi Make Manual Transmission.
From workshop-manuals.com
Audi Service and Repair Manuals > A4 Cabriolet Mk2 > Power Does Audi Make Manual Transmission Not all automatic transmissions are the same, and not all quattro drive systems are the same. Many people complain that using a manual transmission in the daily commute is too difficult, but not in the a4. If you just love manual automobiles, this car may be right for you. The audi a4 was the last model available in the us. Does Audi Make Manual Transmission.
From gomechanic.in
The Manual Transmission Explained All The Basics Does Audi Make Manual Transmission As any seasoned road tester will tell you, the latest audi r8 is a spectacular supercar. sadly, audi waved goodbye to the manual transmission (in the us market) with the 2019 a4. Many people complain that using a manual transmission in the daily commute is too difficult, but not in the a4. If you just love manual automobiles, this. Does Audi Make Manual Transmission.
From workshop-manuals.com
Audi Service and Repair Manuals > A4 Mk3 > Power transmission Does Audi Make Manual Transmission As any seasoned road tester will tell you, the latest audi r8 is a spectacular supercar. Many people complain that using a manual transmission in the daily commute is too difficult, but not in the a4. The audi a4 was the last model available in the us with a manual option and the company even sent it off. sadly,. Does Audi Make Manual Transmission.
From workshop-manuals.com
Audi Service and Repair Manuals > A4 Mk3 > Power transmission Does Audi Make Manual Transmission The audi a4 was the last model available in the us with a manual option and the company even sent it off. If you just love manual automobiles, this car may be right for you. sadly, audi waved goodbye to the manual transmission (in the us market) with the 2019 a4. Many people complain that using a manual transmission. Does Audi Make Manual Transmission.
From workshop-manuals.com
Audi Service and Repair Manuals > A3 Mk2 > Power transmission Does Audi Make Manual Transmission The audi a4 was the last model available in the us with a manual option and the company even sent it off. Not all automatic transmissions are the same, and not all quattro drive systems are the same. If you just love manual automobiles, this car may be right for you. sadly, audi waved goodbye to the manual transmission. Does Audi Make Manual Transmission.
From www.autoevolution.com
Volkswagen Group's DSG Gearbox Explained autoevolution Does Audi Make Manual Transmission As any seasoned road tester will tell you, the latest audi r8 is a spectacular supercar. The audi a4 was the last model available in the us with a manual option and the company even sent it off. sadly, audi waved goodbye to the manual transmission (in the us market) with the 2019 a4. Many people complain that using. Does Audi Make Manual Transmission.
From workshop-manuals.com
Audi Service and Repair Manuals > A4 Mk3 > Power transmission Does Audi Make Manual Transmission As any seasoned road tester will tell you, the latest audi r8 is a spectacular supercar. sadly, audi waved goodbye to the manual transmission (in the us market) with the 2019 a4. If you just love manual automobiles, this car may be right for you. The audi a4 was the last model available in the us with a manual. Does Audi Make Manual Transmission.
From workshop-manuals.com
Audi Service and Repair Manuals > A1 > Power transmission 5 Does Audi Make Manual Transmission The audi a4 was the last model available in the us with a manual option and the company even sent it off. Not all automatic transmissions are the same, and not all quattro drive systems are the same. If you just love manual automobiles, this car may be right for you. As any seasoned road tester will tell you, the. Does Audi Make Manual Transmission.
From workshop-manuals.com
Audi Manuals > A2 > Power transmission > 5speed manual Does Audi Make Manual Transmission The audi a4 was the last model available in the us with a manual option and the company even sent it off. If you just love manual automobiles, this car may be right for you. sadly, audi waved goodbye to the manual transmission (in the us market) with the 2019 a4. Not all automatic transmissions are the same, and. Does Audi Make Manual Transmission.
From circuitenginetanja.z19.web.core.windows.net
Audi Manual Transmission Usa Does Audi Make Manual Transmission The audi a4 was the last model available in the us with a manual option and the company even sent it off. If you just love manual automobiles, this car may be right for you. Not all automatic transmissions are the same, and not all quattro drive systems are the same. Many people complain that using a manual transmission in. Does Audi Make Manual Transmission.
From www.onlineautorepair.net
How a Transmission Works Do You Need a Brand New One? Online Auto Repair Does Audi Make Manual Transmission sadly, audi waved goodbye to the manual transmission (in the us market) with the 2019 a4. If you just love manual automobiles, this car may be right for you. The audi a4 was the last model available in the us with a manual option and the company even sent it off. Many people complain that using a manual transmission. Does Audi Make Manual Transmission.
From workshop-manuals.com
Audi Manuals > A1 > Power transmission > 5speed manual Does Audi Make Manual Transmission The audi a4 was the last model available in the us with a manual option and the company even sent it off. Not all automatic transmissions are the same, and not all quattro drive systems are the same. If you just love manual automobiles, this car may be right for you. As any seasoned road tester will tell you, the. Does Audi Make Manual Transmission.
From workshop-manuals.com
Audi Service and Repair Manuals > A1 > Power transmission 6 Does Audi Make Manual Transmission If you just love manual automobiles, this car may be right for you. sadly, audi waved goodbye to the manual transmission (in the us market) with the 2019 a4. Many people complain that using a manual transmission in the daily commute is too difficult, but not in the a4. Not all automatic transmissions are the same, and not all. Does Audi Make Manual Transmission.
From www.audiq3forum.com
Audi Q3 with manual transmission in US and Canada Audi Q3 Forum Does Audi Make Manual Transmission The audi a4 was the last model available in the us with a manual option and the company even sent it off. As any seasoned road tester will tell you, the latest audi r8 is a spectacular supercar. Not all automatic transmissions are the same, and not all quattro drive systems are the same. If you just love manual automobiles,. Does Audi Make Manual Transmission.
From workshop-manuals.com
Audi Service and Repair Manuals > A3 Mk2 > Power transmission Does Audi Make Manual Transmission If you just love manual automobiles, this car may be right for you. sadly, audi waved goodbye to the manual transmission (in the us market) with the 2019 a4. The audi a4 was the last model available in the us with a manual option and the company even sent it off. As any seasoned road tester will tell you,. Does Audi Make Manual Transmission.
From workshop-manuals.com
Audi Service and Repair Manuals > A4 Mk1 > Power transmission Does Audi Make Manual Transmission The audi a4 was the last model available in the us with a manual option and the company even sent it off. Not all automatic transmissions are the same, and not all quattro drive systems are the same. Many people complain that using a manual transmission in the daily commute is too difficult, but not in the a4. If you. Does Audi Make Manual Transmission.
From workshop-manuals.com
Audi Service and Repair Manuals > A1 > Power transmission 5 Does Audi Make Manual Transmission Many people complain that using a manual transmission in the daily commute is too difficult, but not in the a4. The audi a4 was the last model available in the us with a manual option and the company even sent it off. If you just love manual automobiles, this car may be right for you. sadly, audi waved goodbye. Does Audi Make Manual Transmission.
From workshop-manuals.com
Audi Service and Repair Manuals > A4 Mk2 > Power transmission Does Audi Make Manual Transmission The audi a4 was the last model available in the us with a manual option and the company even sent it off. If you just love manual automobiles, this car may be right for you. Not all automatic transmissions are the same, and not all quattro drive systems are the same. Many people complain that using a manual transmission in. Does Audi Make Manual Transmission.
From workshop-manuals.com
Audi Service and Repair Manuals > A4 Mk3 > Power transmission Does Audi Make Manual Transmission sadly, audi waved goodbye to the manual transmission (in the us market) with the 2019 a4. Many people complain that using a manual transmission in the daily commute is too difficult, but not in the a4. If you just love manual automobiles, this car may be right for you. Not all automatic transmissions are the same, and not all. Does Audi Make Manual Transmission.