Hyundai Accent Parking Brake Light Stays On . 2016 accent parking brake light always on. check your brake fluid. The light is a warning for low fluid level as well as an indicator for the parking brake. if it remains lit after the parking brake is released or if it turns on and off intermittently while you're driving, it. if your parking brake light stays on, and you've checked that your brake fluid levels are okay, the problem might be a broken brake sensor in. If the level is low, don't add any just. the parking brake light staying on in your hyundai can indicate a problem with the parking brake itself, low brake. how to tell if a parking brake is stuck. Before jumping down to why a parking brake gets stuck, let’s make sure. Recently the parking brake dashlight came on while driving. the easiest way to diagnose brake lights that are stuck on is to unplug the wiring harness to the brake pedal switch. my parking brake warning light stays on after disengaging my parking brake on my 2000 accent.
from shellysavonlea.net
The light is a warning for low fluid level as well as an indicator for the parking brake. check your brake fluid. my parking brake warning light stays on after disengaging my parking brake on my 2000 accent. if it remains lit after the parking brake is released or if it turns on and off intermittently while you're driving, it. Recently the parking brake dashlight came on while driving. if your parking brake light stays on, and you've checked that your brake fluid levels are okay, the problem might be a broken brake sensor in. the parking brake light staying on in your hyundai can indicate a problem with the parking brake itself, low brake. Before jumping down to why a parking brake gets stuck, let’s make sure. 2016 accent parking brake light always on. If the level is low, don't add any just.
Emergency Brake Light Stays On Hyundai Elantra Shelly Lighting
Hyundai Accent Parking Brake Light Stays On Recently the parking brake dashlight came on while driving. 2016 accent parking brake light always on. If the level is low, don't add any just. check your brake fluid. Before jumping down to why a parking brake gets stuck, let’s make sure. The light is a warning for low fluid level as well as an indicator for the parking brake. the easiest way to diagnose brake lights that are stuck on is to unplug the wiring harness to the brake pedal switch. if it remains lit after the parking brake is released or if it turns on and off intermittently while you're driving, it. Recently the parking brake dashlight came on while driving. my parking brake warning light stays on after disengaging my parking brake on my 2000 accent. how to tell if a parking brake is stuck. the parking brake light staying on in your hyundai can indicate a problem with the parking brake itself, low brake. if your parking brake light stays on, and you've checked that your brake fluid levels are okay, the problem might be a broken brake sensor in.
From toeslagenaffaire-321.blogspot.com
Hyundai I10 Brake Light Wiring Diagram, I Need A Wiring Diagram For A Hyundai Accent Parking Brake Light Stays On my parking brake warning light stays on after disengaging my parking brake on my 2000 accent. if your parking brake light stays on, and you've checked that your brake fluid levels are okay, the problem might be a broken brake sensor in. the parking brake light staying on in your hyundai can indicate a problem with the. Hyundai Accent Parking Brake Light Stays On.
From hyundaimaintenance.com
Why Is The Parking Brake Light Staying On In My Hyundai Accent Hyundai Accent Parking Brake Light Stays On 2016 accent parking brake light always on. my parking brake warning light stays on after disengaging my parking brake on my 2000 accent. if it remains lit after the parking brake is released or if it turns on and off intermittently while you're driving, it. check your brake fluid. the easiest way to diagnose brake. Hyundai Accent Parking Brake Light Stays On.
From dxobmwbxz.blob.core.windows.net
Brake Lights Stay On Hyundai Elantra at Yolanda Samuels blog Hyundai Accent Parking Brake Light Stays On if it remains lit after the parking brake is released or if it turns on and off intermittently while you're driving, it. 2016 accent parking brake light always on. the easiest way to diagnose brake lights that are stuck on is to unplug the wiring harness to the brake pedal switch. the parking brake light staying. Hyundai Accent Parking Brake Light Stays On.
From www.youtube.com
WHY IS PARKING BRAKE LIGHT ON. HANDBRAKE LIGHT ON WHEN RELEASED YouTube Hyundai Accent Parking Brake Light Stays On The light is a warning for low fluid level as well as an indicator for the parking brake. If the level is low, don't add any just. if it remains lit after the parking brake is released or if it turns on and off intermittently while you're driving, it. 2016 accent parking brake light always on. if. Hyundai Accent Parking Brake Light Stays On.
From shellysavonlea.net
Emergency Brake Light Stays On Hyundai Elantra Shelly Lighting Hyundai Accent Parking Brake Light Stays On The light is a warning for low fluid level as well as an indicator for the parking brake. Before jumping down to why a parking brake gets stuck, let’s make sure. if your parking brake light stays on, and you've checked that your brake fluid levels are okay, the problem might be a broken brake sensor in. Recently the. Hyundai Accent Parking Brake Light Stays On.
From www.hamanual.com
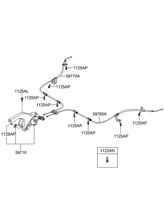
Hyundai Accent Parking Brake Assembly. Components and Components Hyundai Accent Parking Brake Light Stays On the easiest way to diagnose brake lights that are stuck on is to unplug the wiring harness to the brake pedal switch. Recently the parking brake dashlight came on while driving. The light is a warning for low fluid level as well as an indicator for the parking brake. check your brake fluid. if your parking brake. Hyundai Accent Parking Brake Light Stays On.
From shellysavonlea.net
Emergency Brake Light Stays On Hyundai Elantra Shelly Lighting Hyundai Accent Parking Brake Light Stays On if your parking brake light stays on, and you've checked that your brake fluid levels are okay, the problem might be a broken brake sensor in. If the level is low, don't add any just. The light is a warning for low fluid level as well as an indicator for the parking brake. check your brake fluid. . Hyundai Accent Parking Brake Light Stays On.
From www.youtube.com
How to Replace Front Brakes 0510 Hyundai Accent YouTube Hyundai Accent Parking Brake Light Stays On how to tell if a parking brake is stuck. check your brake fluid. Before jumping down to why a parking brake gets stuck, let’s make sure. if your parking brake light stays on, and you've checked that your brake fluid levels are okay, the problem might be a broken brake sensor in. my parking brake warning. Hyundai Accent Parking Brake Light Stays On.
From shellysavonlea.net
Emergency Brake Light Stays On Hyundai Elantra Shelly Lighting Hyundai Accent Parking Brake Light Stays On if it remains lit after the parking brake is released or if it turns on and off intermittently while you're driving, it. Recently the parking brake dashlight came on while driving. the parking brake light staying on in your hyundai can indicate a problem with the parking brake itself, low brake. how to tell if a parking. Hyundai Accent Parking Brake Light Stays On.
From www.justanswer.com
Hyundai Sonata Brake Lights Stay On? Q&A Guide Hyundai Accent Parking Brake Light Stays On 2016 accent parking brake light always on. The light is a warning for low fluid level as well as an indicator for the parking brake. Before jumping down to why a parking brake gets stuck, let’s make sure. check your brake fluid. the easiest way to diagnose brake lights that are stuck on is to unplug the. Hyundai Accent Parking Brake Light Stays On.
From www.paulstravelpictures.com
20112015HyundaiAccent3rdBrakeLightBulbReplacementGuide005 Hyundai Accent Parking Brake Light Stays On if it remains lit after the parking brake is released or if it turns on and off intermittently while you're driving, it. The light is a warning for low fluid level as well as an indicator for the parking brake. if your parking brake light stays on, and you've checked that your brake fluid levels are okay, the. Hyundai Accent Parking Brake Light Stays On.
From mechanicantique37d.z13.web.core.windows.net
Brake Lights On When Car Is Off Hyundai Accent Parking Brake Light Stays On 2016 accent parking brake light always on. how to tell if a parking brake is stuck. Recently the parking brake dashlight came on while driving. if it remains lit after the parking brake is released or if it turns on and off intermittently while you're driving, it. the parking brake light staying on in your hyundai. Hyundai Accent Parking Brake Light Stays On.
From garageemautl6.z14.web.core.windows.net
What Causes The Brake Light To Stay On Hyundai Accent Parking Brake Light Stays On if it remains lit after the parking brake is released or if it turns on and off intermittently while you're driving, it. 2016 accent parking brake light always on. if your parking brake light stays on, and you've checked that your brake fluid levels are okay, the problem might be a broken brake sensor in. check. Hyundai Accent Parking Brake Light Stays On.
From www.hyundai-forums.com
Parking brake light stays on dimly Hyundai Forums Hyundai Accent Parking Brake Light Stays On If the level is low, don't add any just. The light is a warning for low fluid level as well as an indicator for the parking brake. if your parking brake light stays on, and you've checked that your brake fluid levels are okay, the problem might be a broken brake sensor in. how to tell if a. Hyundai Accent Parking Brake Light Stays On.
From shellysavonlea.net
Emergency Brake Light Stays On Hyundai Elantra Shelly Lighting Hyundai Accent Parking Brake Light Stays On The light is a warning for low fluid level as well as an indicator for the parking brake. the parking brake light staying on in your hyundai can indicate a problem with the parking brake itself, low brake. Recently the parking brake dashlight came on while driving. how to tell if a parking brake is stuck. Before jumping. Hyundai Accent Parking Brake Light Stays On.
From www.hyundai-forums.com
Parking brake light stays on dimly Hyundai Forums Hyundai Forum Hyundai Accent Parking Brake Light Stays On If the level is low, don't add any just. 2016 accent parking brake light always on. if your parking brake light stays on, and you've checked that your brake fluid levels are okay, the problem might be a broken brake sensor in. Before jumping down to why a parking brake gets stuck, let’s make sure. the easiest. Hyundai Accent Parking Brake Light Stays On.
From www.r1concepts.com
Why Your Parking Brake Light Stays On & How to Fix It Blog R1Concepts Hyundai Accent Parking Brake Light Stays On the easiest way to diagnose brake lights that are stuck on is to unplug the wiring harness to the brake pedal switch. If the level is low, don't add any just. if your parking brake light stays on, and you've checked that your brake fluid levels are okay, the problem might be a broken brake sensor in. Before. Hyundai Accent Parking Brake Light Stays On.
From schematicljubkujei6.z22.web.core.windows.net
How To Fix Rear Brake Light Hyundai Accent Parking Brake Light Stays On my parking brake warning light stays on after disengaging my parking brake on my 2000 accent. The light is a warning for low fluid level as well as an indicator for the parking brake. if it remains lit after the parking brake is released or if it turns on and off intermittently while you're driving, it. check. Hyundai Accent Parking Brake Light Stays On.
From www.hyundaipartsdeal.com
2008 Hyundai Accent Parking Brake System Hyundai Parts Deal Hyundai Accent Parking Brake Light Stays On the parking brake light staying on in your hyundai can indicate a problem with the parking brake itself, low brake. The light is a warning for low fluid level as well as an indicator for the parking brake. If the level is low, don't add any just. check your brake fluid. Recently the parking brake dashlight came on. Hyundai Accent Parking Brake Light Stays On.
From shellysavonlea.net
Emergency Brake Light Stays On Hyundai Elantra Shelly Lighting Hyundai Accent Parking Brake Light Stays On The light is a warning for low fluid level as well as an indicator for the parking brake. Recently the parking brake dashlight came on while driving. the easiest way to diagnose brake lights that are stuck on is to unplug the wiring harness to the brake pedal switch. if it remains lit after the parking brake is. Hyundai Accent Parking Brake Light Stays On.
From www.dsusedautoparts.com
2012 2013 2014 2015 HYUNDAI ACCENT SEDAN EMERGENCY BRAKE GENUINE OEM Hyundai Accent Parking Brake Light Stays On if it remains lit after the parking brake is released or if it turns on and off intermittently while you're driving, it. Recently the parking brake dashlight came on while driving. 2016 accent parking brake light always on. check your brake fluid. Before jumping down to why a parking brake gets stuck, let’s make sure. how. Hyundai Accent Parking Brake Light Stays On.
From dxotceedv.blob.core.windows.net
Emergency Brake Light Stays On Hyundai Elantra at Donna Ware blog Hyundai Accent Parking Brake Light Stays On if it remains lit after the parking brake is released or if it turns on and off intermittently while you're driving, it. how to tell if a parking brake is stuck. Before jumping down to why a parking brake gets stuck, let’s make sure. the parking brake light staying on in your hyundai can indicate a problem. Hyundai Accent Parking Brake Light Stays On.
From www.decoratingspecial.com
Brake Lights Stay On When Car Is Off Hyundai Hyundai Accent Parking Brake Light Stays On the easiest way to diagnose brake lights that are stuck on is to unplug the wiring harness to the brake pedal switch. check your brake fluid. Before jumping down to why a parking brake gets stuck, let’s make sure. the parking brake light staying on in your hyundai can indicate a problem with the parking brake itself,. Hyundai Accent Parking Brake Light Stays On.
From www.hyundai-forums.com
Parking brake light stays on dimly Hyundai Forums Hyundai Forum Hyundai Accent Parking Brake Light Stays On if it remains lit after the parking brake is released or if it turns on and off intermittently while you're driving, it. If the level is low, don't add any just. Before jumping down to why a parking brake gets stuck, let’s make sure. if your parking brake light stays on, and you've checked that your brake fluid. Hyundai Accent Parking Brake Light Stays On.
From www.youtube.com
2013 HYUNDAI ACCENT HOW TO REPLACE REAR BRAKE PADS & ROTORS DIY Hyundai Accent Parking Brake Light Stays On my parking brake warning light stays on after disengaging my parking brake on my 2000 accent. if it remains lit after the parking brake is released or if it turns on and off intermittently while you're driving, it. Before jumping down to why a parking brake gets stuck, let’s make sure. if your parking brake light stays. Hyundai Accent Parking Brake Light Stays On.
From dxotceedv.blob.core.windows.net
Emergency Brake Light Stays On Hyundai Elantra at Donna Ware blog Hyundai Accent Parking Brake Light Stays On Recently the parking brake dashlight came on while driving. The light is a warning for low fluid level as well as an indicator for the parking brake. my parking brake warning light stays on after disengaging my parking brake on my 2000 accent. check your brake fluid. If the level is low, don't add any just. if. Hyundai Accent Parking Brake Light Stays On.
From dxotceedv.blob.core.windows.net
Emergency Brake Light Stays On Hyundai Elantra at Donna Ware blog Hyundai Accent Parking Brake Light Stays On the parking brake light staying on in your hyundai can indicate a problem with the parking brake itself, low brake. the easiest way to diagnose brake lights that are stuck on is to unplug the wiring harness to the brake pedal switch. if it remains lit after the parking brake is released or if it turns on. Hyundai Accent Parking Brake Light Stays On.
From www.youtube.com
C2130 hyundai Accent stop brake lights Luces de freno YouTube Hyundai Accent Parking Brake Light Stays On Recently the parking brake dashlight came on while driving. the easiest way to diagnose brake lights that are stuck on is to unplug the wiring harness to the brake pedal switch. check your brake fluid. how to tell if a parking brake is stuck. if it remains lit after the parking brake is released or if. Hyundai Accent Parking Brake Light Stays On.
From www.youtube.com
Replace Brake Light Bulb Hyundai Accent Hatchback (20122017) YouTube Hyundai Accent Parking Brake Light Stays On If the level is low, don't add any just. if your parking brake light stays on, and you've checked that your brake fluid levels are okay, the problem might be a broken brake sensor in. the easiest way to diagnose brake lights that are stuck on is to unplug the wiring harness to the brake pedal switch. . Hyundai Accent Parking Brake Light Stays On.
From homeminimalisite.com
Where Is The Brake Light Switch On A Hyundai Sonata Hyundai Accent Parking Brake Light Stays On check your brake fluid. how to tell if a parking brake is stuck. If the level is low, don't add any just. if it remains lit after the parking brake is released or if it turns on and off intermittently while you're driving, it. 2016 accent parking brake light always on. Before jumping down to why. Hyundai Accent Parking Brake Light Stays On.
From www.youtube.com
How to Replace Brake Light Bulb Hyundai Accent Sedan (20122017 Hyundai Accent Parking Brake Light Stays On how to tell if a parking brake is stuck. the easiest way to diagnose brake lights that are stuck on is to unplug the wiring harness to the brake pedal switch. if your parking brake light stays on, and you've checked that your brake fluid levels are okay, the problem might be a broken brake sensor in.. Hyundai Accent Parking Brake Light Stays On.
From www.jimellishyundaiparts.com
2022 hyundai Accent Parking Brake Adjuster. SEDAN 201013, HATCHBACK Hyundai Accent Parking Brake Light Stays On If the level is low, don't add any just. the easiest way to diagnose brake lights that are stuck on is to unplug the wiring harness to the brake pedal switch. if your parking brake light stays on, and you've checked that your brake fluid levels are okay, the problem might be a broken brake sensor in. . Hyundai Accent Parking Brake Light Stays On.
From www.dreamstime.com
Rear Optics of a Gray Car Hyundai Accent with a Brake Light, Turn Hyundai Accent Parking Brake Light Stays On my parking brake warning light stays on after disengaging my parking brake on my 2000 accent. Recently the parking brake dashlight came on while driving. if your parking brake light stays on, and you've checked that your brake fluid levels are okay, the problem might be a broken brake sensor in. the parking brake light staying on. Hyundai Accent Parking Brake Light Stays On.
From www.hyundai-forums.com
Parking brake light stays on dimly Hyundai Forums Hyundai Forum Hyundai Accent Parking Brake Light Stays On the easiest way to diagnose brake lights that are stuck on is to unplug the wiring harness to the brake pedal switch. if it remains lit after the parking brake is released or if it turns on and off intermittently while you're driving, it. Before jumping down to why a parking brake gets stuck, let’s make sure. . Hyundai Accent Parking Brake Light Stays On.
From dxotceedv.blob.core.windows.net
Emergency Brake Light Stays On Hyundai Elantra at Donna Ware blog Hyundai Accent Parking Brake Light Stays On 2016 accent parking brake light always on. the parking brake light staying on in your hyundai can indicate a problem with the parking brake itself, low brake. my parking brake warning light stays on after disengaging my parking brake on my 2000 accent. if your parking brake light stays on, and you've checked that your brake. Hyundai Accent Parking Brake Light Stays On.