Hoshizaki Error Code Ee . Error codes other than e1 and e2 are. Error code indication * see the controller board service manual for detailed diagnosis and remedies. To change the model code, continue through the remaining steps; * the error and caution codes other than e1 and e2 are indicated as “ee” in the 7. Check actuator motor and control board. Before engaging the ice dispense switch, check for the correct vdc from the locations given in the disengaged column in the table. When the control board detects an error, the display shows one of the following error codes in the display mode. If error recurs after unit resumes operation, display shows “ee” and unit shuts down. If actuator motor’s internal position sensor does not indicate water tank is fully open within. When the bin control switch breaks down, the band opens and presses the button on the microswitch (contacts open) to stop the icemaker (error code:. Ice and am leds are on: Cb k7 connector pins #2 (y) and #3 (w/bk): Press the reset button to view the current model code. 3 minutes, display shows “ee” and unit stops for 60 minutes. Press the “reset” button to reset.
from www.youtube.com
Cb k7 connector pins #2 (y) and #3 (w/bk): Before engaging the ice dispense switch, check for the correct vdc from the locations given in the disengaged column in the table. Error codes other than e1 and e2 are. 3 minutes, display shows “ee” and unit stops for 60 minutes. If actuator motor’s internal position sensor does not indicate water tank is fully open within. Check actuator motor and control board. * the error and caution codes other than e1 and e2 are indicated as “ee” in the 7. If error recurs after unit resumes operation, display shows “ee” and unit shuts down. Press the “reset” button to reset. Ice and am leds are on:
HITACHI VRF ERROR CODEEE YouTube
Hoshizaki Error Code Ee Before engaging the ice dispense switch, check for the correct vdc from the locations given in the disengaged column in the table. If error recurs after unit resumes operation, display shows “ee” and unit shuts down. To change the model code, continue through the remaining steps; * the error and caution codes other than e1 and e2 are indicated as “ee” in the 7. Press the reset button to view the current model code. Check actuator motor and control board. When the bin control switch breaks down, the band opens and presses the button on the microswitch (contacts open) to stop the icemaker (error code:. Cb k7 connector pins #2 (y) and #3 (w/bk): Ice and am leds are on: If actuator motor’s internal position sensor does not indicate water tank is fully open within. Before engaging the ice dispense switch, check for the correct vdc from the locations given in the disengaged column in the table. When the control board detects an error, the display shows one of the following error codes in the display mode. Error codes other than e1 and e2 are. Press the “reset” button to reset. Error code indication * see the controller board service manual for detailed diagnosis and remedies. 3 minutes, display shows “ee” and unit stops for 60 minutes.
From www.youtube.com
Hoshizaki Ice Machine Error Code, Remote Reset YouTube Hoshizaki Error Code Ee Error code indication * see the controller board service manual for detailed diagnosis and remedies. 3 minutes, display shows “ee” and unit stops for 60 minutes. Ice and am leds are on: Before engaging the ice dispense switch, check for the correct vdc from the locations given in the disengaged column in the table. To change the model code, continue. Hoshizaki Error Code Ee.
From giofsrbie.blob.core.windows.net
Hoshizaki Ice Maker Error Code Ee at Danielle Trivett blog Hoshizaki Error Code Ee Error codes other than e1 and e2 are. Check actuator motor and control board. To change the model code, continue through the remaining steps; Error code indication * see the controller board service manual for detailed diagnosis and remedies. If actuator motor’s internal position sensor does not indicate water tank is fully open within. Press the “reset” button to reset.. Hoshizaki Error Code Ee.
From giofsrbie.blob.core.windows.net
Hoshizaki Ice Maker Error Code Ee at Danielle Trivett blog Hoshizaki Error Code Ee If error recurs after unit resumes operation, display shows “ee” and unit shuts down. * the error and caution codes other than e1 and e2 are indicated as “ee” in the 7. Error code indication * see the controller board service manual for detailed diagnosis and remedies. When the bin control switch breaks down, the band opens and presses the. Hoshizaki Error Code Ee.
From device.report
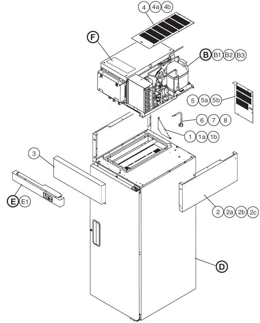
HOSHIZAKI IM240DNEHC Ice Machine Instruction Manual Hoshizaki Error Code Ee When the bin control switch breaks down, the band opens and presses the button on the microswitch (contacts open) to stop the icemaker (error code:. * the error and caution codes other than e1 and e2 are indicated as “ee” in the 7. Error codes other than e1 and e2 are. Press the reset button to view the current model. Hoshizaki Error Code Ee.
From airconpros.com.sg
Mitsubishi Aircon Error code Details & Solutions E9, P2, E6, P1, P6 Hoshizaki Error Code Ee Check actuator motor and control board. If error recurs after unit resumes operation, display shows “ee” and unit shuts down. Press the “reset” button to reset. Press the reset button to view the current model code. * the error and caution codes other than e1 and e2 are indicated as “ee” in the 7. Error codes other than e1 and. Hoshizaki Error Code Ee.
From giopygsru.blob.core.windows.net
Samsung Top Load Washer Codes at Gregory Roberson blog Hoshizaki Error Code Ee Press the reset button to view the current model code. When the bin control switch breaks down, the band opens and presses the button on the microswitch (contacts open) to stop the icemaker (error code:. Error codes other than e1 and e2 are. * the error and caution codes other than e1 and e2 are indicated as “ee” in the. Hoshizaki Error Code Ee.
From manualzz.com
Hoshizaki ROX10WBE Manualzz Hoshizaki Error Code Ee * the error and caution codes other than e1 and e2 are indicated as “ee” in the 7. When the bin control switch breaks down, the band opens and presses the button on the microswitch (contacts open) to stop the icemaker (error code:. If error recurs after unit resumes operation, display shows “ee” and unit shuts down. Check actuator motor. Hoshizaki Error Code Ee.
From www.youtube.com
Hoshizaki 8 beep error YouTube Hoshizaki Error Code Ee Press the reset button to view the current model code. Error codes other than e1 and e2 are. To change the model code, continue through the remaining steps; Check actuator motor and control board. Ice and am leds are on: Cb k7 connector pins #2 (y) and #3 (w/bk): If error recurs after unit resumes operation, display shows “ee” and. Hoshizaki Error Code Ee.
From mcgrp.ru
Hoshizaki FM80KEN [37/61] Error codes Hoshizaki Error Code Ee If error recurs after unit resumes operation, display shows “ee” and unit shuts down. 3 minutes, display shows “ee” and unit stops for 60 minutes. * the error and caution codes other than e1 and e2 are indicated as “ee” in the 7. Error codes other than e1 and e2 are. Press the “reset” button to reset. When the control. Hoshizaki Error Code Ee.
From storables.com
How To Fix The Error Code EE For Whirlpool Oven & Range Storables Hoshizaki Error Code Ee * the error and caution codes other than e1 and e2 are indicated as “ee” in the 7. Error codes other than e1 and e2 are. Before engaging the ice dispense switch, check for the correct vdc from the locations given in the disengaged column in the table. Press the reset button to view the current model code. To change. Hoshizaki Error Code Ee.
From www.manualslib.com
HOSHIZAKI HRE77BCHDN INSTRUCTION MANUAL Pdf Download ManualsLib Hoshizaki Error Code Ee When the control board detects an error, the display shows one of the following error codes in the display mode. If actuator motor’s internal position sensor does not indicate water tank is fully open within. Press the reset button to view the current model code. 3 minutes, display shows “ee” and unit stops for 60 minutes. Error codes other than. Hoshizaki Error Code Ee.
From mans.io
Hoshizaki KM901MAJ [65/68] B wiring diagrams Hoshizaki Error Code Ee Before engaging the ice dispense switch, check for the correct vdc from the locations given in the disengaged column in the table. Press the “reset” button to reset. When the control board detects an error, the display shows one of the following error codes in the display mode. Ice and am leds are on: Error code indication * see the. Hoshizaki Error Code Ee.
From refrigeratorsolutions.com
How To Solve Frigidaire Upright Freezer Error Codes? Hoshizaki Error Code Ee Ice and am leds are on: Error code indication * see the controller board service manual for detailed diagnosis and remedies. When the bin control switch breaks down, the band opens and presses the button on the microswitch (contacts open) to stop the icemaker (error code:. If actuator motor’s internal position sensor does not indicate water tank is fully open. Hoshizaki Error Code Ee.
From hoshizaki.com.hk
Regular Maintenance Hoshizaki Hoshizaki Error Code Ee Press the reset button to view the current model code. Before engaging the ice dispense switch, check for the correct vdc from the locations given in the disengaged column in the table. Ice and am leds are on: * the error and caution codes other than e1 and e2 are indicated as “ee” in the 7. If error recurs after. Hoshizaki Error Code Ee.
From www.icemachine.online
Hoshizaki FM1000AKENSB ICE MACHINE Hoshizaki Error Code Ee Error codes other than e1 and e2 are. Error code indication * see the controller board service manual for detailed diagnosis and remedies. Press the reset button to view the current model code. If error recurs after unit resumes operation, display shows “ee” and unit shuts down. Cb k7 connector pins #2 (y) and #3 (w/bk): Before engaging the ice. Hoshizaki Error Code Ee.
From becoolrefrigeration.co.uk
Hoshizaki Ice Machine error codes Be Cool Refrigeration Hoshizaki Error Code Ee Press the reset button to view the current model code. * the error and caution codes other than e1 and e2 are indicated as “ee” in the 7. Cb k7 connector pins #2 (y) and #3 (w/bk): Error codes other than e1 and e2 are. When the control board detects an error, the display shows one of the following error. Hoshizaki Error Code Ee.
From www.reddit.com
Clearing Fujitsu Error EEE r/hvacadvice Hoshizaki Error Code Ee If error recurs after unit resumes operation, display shows “ee” and unit shuts down. When the bin control switch breaks down, the band opens and presses the button on the microswitch (contacts open) to stop the icemaker (error code:. If actuator motor’s internal position sensor does not indicate water tank is fully open within. Cb k7 connector pins #2 (y). Hoshizaki Error Code Ee.
From www.youtube.com
Hoshizaki 3 beep error YouTube Hoshizaki Error Code Ee 3 minutes, display shows “ee” and unit stops for 60 minutes. Before engaging the ice dispense switch, check for the correct vdc from the locations given in the disengaged column in the table. If error recurs after unit resumes operation, display shows “ee” and unit shuts down. Press the reset button to view the current model code. If actuator motor’s. Hoshizaki Error Code Ee.
From www.youtube.com
Hoshizaki 1 beep error YouTube Hoshizaki Error Code Ee Ice and am leds are on: When the control board detects an error, the display shows one of the following error codes in the display mode. 3 minutes, display shows “ee” and unit stops for 60 minutes. Press the reset button to view the current model code. When the bin control switch breaks down, the band opens and presses the. Hoshizaki Error Code Ee.
From mans.io
Hoshizaki WR48A [38/40] B wiring diagrams Hoshizaki Error Code Ee If actuator motor’s internal position sensor does not indicate water tank is fully open within. Press the “reset” button to reset. Error codes other than e1 and e2 are. Press the reset button to view the current model code. Before engaging the ice dispense switch, check for the correct vdc from the locations given in the disengaged column in the. Hoshizaki Error Code Ee.
From giofsrbie.blob.core.windows.net
Hoshizaki Ice Maker Error Code Ee at Danielle Trivett blog Hoshizaki Error Code Ee * the error and caution codes other than e1 and e2 are indicated as “ee” in the 7. When the control board detects an error, the display shows one of the following error codes in the display mode. Error code indication * see the controller board service manual for detailed diagnosis and remedies. Ice and am leds are on: Press. Hoshizaki Error Code Ee.
From www.lavkastariny70.ru
HOSHIZAKI KML325MAJ LowProfile Modular Crescent Cuber, 51 OFF Hoshizaki Error Code Ee If actuator motor’s internal position sensor does not indicate water tank is fully open within. Before engaging the ice dispense switch, check for the correct vdc from the locations given in the disengaged column in the table. When the bin control switch breaks down, the band opens and presses the button on the microswitch (contacts open) to stop the icemaker. Hoshizaki Error Code Ee.
From www.slideserve.com
PPT How To Repair The Error Code EE On Sub Zero Wine Cooler Hoshizaki Error Code Ee Ice and am leds are on: Error codes other than e1 and e2 are. Error code indication * see the controller board service manual for detailed diagnosis and remedies. If actuator motor’s internal position sensor does not indicate water tank is fully open within. When the control board detects an error, the display shows one of the following error codes. Hoshizaki Error Code Ee.
From mcgrp.ru
Hoshizaki FM300AKEN [70/79] 使用说明书 Hoshizaki Error Code Ee If error recurs after unit resumes operation, display shows “ee” and unit shuts down. Error codes other than e1 and e2 are. If actuator motor’s internal position sensor does not indicate water tank is fully open within. Error code indication * see the controller board service manual for detailed diagnosis and remedies. Check actuator motor and control board. When the. Hoshizaki Error Code Ee.
From aps0711.com
Ablaufwanne, Hoshizaki, IM240 online bestellen APS Glass & Bar Hoshizaki Error Code Ee To change the model code, continue through the remaining steps; Error code indication * see the controller board service manual for detailed diagnosis and remedies. When the control board detects an error, the display shows one of the following error codes in the display mode. When the bin control switch breaks down, the band opens and presses the button on. Hoshizaki Error Code Ee.
From dokumen.tips
(PDF) Auxiliary Codes HOSHIZAKI DOKUMEN.TIPS Hoshizaki Error Code Ee Cb k7 connector pins #2 (y) and #3 (w/bk): 3 minutes, display shows “ee” and unit stops for 60 minutes. * the error and caution codes other than e1 and e2 are indicated as “ee” in the 7. Error code indication * see the controller board service manual for detailed diagnosis and remedies. Ice and am leds are on: When. Hoshizaki Error Code Ee.
From giofsrbie.blob.core.windows.net
Hoshizaki Ice Maker Error Code Ee at Danielle Trivett blog Hoshizaki Error Code Ee To change the model code, continue through the remaining steps; If actuator motor’s internal position sensor does not indicate water tank is fully open within. 3 minutes, display shows “ee” and unit stops for 60 minutes. Check actuator motor and control board. Ice and am leds are on: Press the reset button to view the current model code. Press the. Hoshizaki Error Code Ee.
From www.cateringinsight.com
Hoshizaki 'We burned a few bridges with dealers but now we're back in Hoshizaki Error Code Ee Check actuator motor and control board. If error recurs after unit resumes operation, display shows “ee” and unit shuts down. Cb k7 connector pins #2 (y) and #3 (w/bk): When the bin control switch breaks down, the band opens and presses the button on the microswitch (contacts open) to stop the icemaker (error code:. * the error and caution codes. Hoshizaki Error Code Ee.
From www.pinterest.com
LG Front Load Washer EE Error Code How To Repair? Lg front load Hoshizaki Error Code Ee To change the model code, continue through the remaining steps; When the control board detects an error, the display shows one of the following error codes in the display mode. Error codes other than e1 and e2 are. * the error and caution codes other than e1 and e2 are indicated as “ee” in the 7. Check actuator motor and. Hoshizaki Error Code Ee.
From www.gasheaterservicesydney.com.au
Gas Heater and Hot water Error codes Hoshizaki Error Code Ee Ice and am leds are on: Before engaging the ice dispense switch, check for the correct vdc from the locations given in the disengaged column in the table. Press the “reset” button to reset. If actuator motor’s internal position sensor does not indicate water tank is fully open within. To change the model code, continue through the remaining steps; 3. Hoshizaki Error Code Ee.
From device.report
HOSHIZAKI IM240NE Self Contained Cuber Machine Instruction Manual Hoshizaki Error Code Ee * the error and caution codes other than e1 and e2 are indicated as “ee” in the 7. Press the reset button to view the current model code. If error recurs after unit resumes operation, display shows “ee” and unit shuts down. Cb k7 connector pins #2 (y) and #3 (w/bk): Error code indication * see the controller board service. Hoshizaki Error Code Ee.
From www.youtube.com
HITACHI VRF ERROR CODEEE YouTube Hoshizaki Error Code Ee When the bin control switch breaks down, the band opens and presses the button on the microswitch (contacts open) to stop the icemaker (error code:. * the error and caution codes other than e1 and e2 are indicated as “ee” in the 7. When the control board detects an error, the display shows one of the following error codes in. Hoshizaki Error Code Ee.
From www.yumpu.com
fm120e cm110e Hoshizaki Hoshizaki Error Code Ee 3 minutes, display shows “ee” and unit stops for 60 minutes. When the bin control switch breaks down, the band opens and presses the button on the microswitch (contacts open) to stop the icemaker (error code:. When the control board detects an error, the display shows one of the following error codes in the display mode. Cb k7 connector pins. Hoshizaki Error Code Ee.
From enginefloreddu2n3.z21.web.core.windows.net
List Of Engine Codes Hoshizaki Error Code Ee Before engaging the ice dispense switch, check for the correct vdc from the locations given in the disengaged column in the table. 3 minutes, display shows “ee” and unit stops for 60 minutes. If actuator motor’s internal position sensor does not indicate water tank is fully open within. Press the reset button to view the current model code. If error. Hoshizaki Error Code Ee.
From www.partstown.com
Hoshizaki Freezer Error Codes Parts Town Hoshizaki Error Code Ee 3 minutes, display shows “ee” and unit stops for 60 minutes. When the control board detects an error, the display shows one of the following error codes in the display mode. * the error and caution codes other than e1 and e2 are indicated as “ee” in the 7. Before engaging the ice dispense switch, check for the correct vdc. Hoshizaki Error Code Ee.