Master Cylinder Keeps Going Out . Regular brake maintenance is pivotal to ensure a vehicle’s safety. If you suspect your brake master cylinder is bad, there are a few signs to look out for. These include a soft and spongy brake pedal, an illuminated check engine or. When your car's brakes suddenly go out, the problem might be the brake master cylinder or the abs module. It can also cause a soft or spongy clutch pedal or other issues with the clutch pedal. Since the two are integral parts of your car's braking. Sometimes, it can cause the clutch pedal to stay on the floor. However, one issue that can mystify even seasoned mechanics is the unexpected master cylinder failure after brake job. The most common symptom of a bad clutch master cylinder is a low clutch or brake fluid level due to a leak. The first symptom that is the easiest to notice is when the brake warning light illuminates on the dashboard. This article explores the reasons behind this failure and the solutions available to address it. Before condemning the master cylinder, check brake fluid level and check for external leaks from brake lines, calipers, or wheel cylinders. This indicates that there is some kind of.
from klatekfmr.blob.core.windows.net
When your car's brakes suddenly go out, the problem might be the brake master cylinder or the abs module. Since the two are integral parts of your car's braking. This indicates that there is some kind of. If you suspect your brake master cylinder is bad, there are a few signs to look out for. Sometimes, it can cause the clutch pedal to stay on the floor. The most common symptom of a bad clutch master cylinder is a low clutch or brake fluid level due to a leak. It can also cause a soft or spongy clutch pedal or other issues with the clutch pedal. Regular brake maintenance is pivotal to ensure a vehicle’s safety. This article explores the reasons behind this failure and the solutions available to address it. Before condemning the master cylinder, check brake fluid level and check for external leaks from brake lines, calipers, or wheel cylinders.
Why Is My Brake Master Cylinder Leaking at Marie Elston blog
Master Cylinder Keeps Going Out If you suspect your brake master cylinder is bad, there are a few signs to look out for. The first symptom that is the easiest to notice is when the brake warning light illuminates on the dashboard. Regular brake maintenance is pivotal to ensure a vehicle’s safety. When your car's brakes suddenly go out, the problem might be the brake master cylinder or the abs module. However, one issue that can mystify even seasoned mechanics is the unexpected master cylinder failure after brake job. Sometimes, it can cause the clutch pedal to stay on the floor. The most common symptom of a bad clutch master cylinder is a low clutch or brake fluid level due to a leak. This indicates that there is some kind of. This article explores the reasons behind this failure and the solutions available to address it. If you suspect your brake master cylinder is bad, there are a few signs to look out for. Since the two are integral parts of your car's braking. Before condemning the master cylinder, check brake fluid level and check for external leaks from brake lines, calipers, or wheel cylinders. It can also cause a soft or spongy clutch pedal or other issues with the clutch pedal. These include a soft and spongy brake pedal, an illuminated check engine or.
From www.racingjunk.com
Finding and Fixing Problems with Master Cylinders and Brake Boosters Master Cylinder Keeps Going Out Sometimes, it can cause the clutch pedal to stay on the floor. If you suspect your brake master cylinder is bad, there are a few signs to look out for. Since the two are integral parts of your car's braking. Before condemning the master cylinder, check brake fluid level and check for external leaks from brake lines, calipers, or wheel. Master Cylinder Keeps Going Out.
From www.2carpros.com
Master Cylinder Keeps Going Empty Master Cylinder Keeps Going Master Cylinder Keeps Going Out Before condemning the master cylinder, check brake fluid level and check for external leaks from brake lines, calipers, or wheel cylinders. Since the two are integral parts of your car's braking. Sometimes, it can cause the clutch pedal to stay on the floor. These include a soft and spongy brake pedal, an illuminated check engine or. When your car's brakes. Master Cylinder Keeps Going Out.
From www.youtube.com
How to Replace Brake Master Cylinder A Step by Step Guide and How Master Cylinder Keeps Going Out This indicates that there is some kind of. When your car's brakes suddenly go out, the problem might be the brake master cylinder or the abs module. This article explores the reasons behind this failure and the solutions available to address it. These include a soft and spongy brake pedal, an illuminated check engine or. The first symptom that is. Master Cylinder Keeps Going Out.
From www.youtube.com
Never Ever Add Brake Fluid To Your Master Cylinder!!!! YouTube Master Cylinder Keeps Going Out The most common symptom of a bad clutch master cylinder is a low clutch or brake fluid level due to a leak. These include a soft and spongy brake pedal, an illuminated check engine or. Sometimes, it can cause the clutch pedal to stay on the floor. However, one issue that can mystify even seasoned mechanics is the unexpected master. Master Cylinder Keeps Going Out.
From klahvvczm.blob.core.windows.net
Power Steering Fluid Leaking From Pump at Paul Addison blog Master Cylinder Keeps Going Out This indicates that there is some kind of. This article explores the reasons behind this failure and the solutions available to address it. Since the two are integral parts of your car's braking. If you suspect your brake master cylinder is bad, there are a few signs to look out for. These include a soft and spongy brake pedal, an. Master Cylinder Keeps Going Out.
From klaktjdyb.blob.core.windows.net
What Are Signs Of Master Cylinder Going Out at Carrie Hernandez blog Master Cylinder Keeps Going Out The first symptom that is the easiest to notice is when the brake warning light illuminates on the dashboard. When your car's brakes suddenly go out, the problem might be the brake master cylinder or the abs module. These include a soft and spongy brake pedal, an illuminated check engine or. However, one issue that can mystify even seasoned mechanics. Master Cylinder Keeps Going Out.
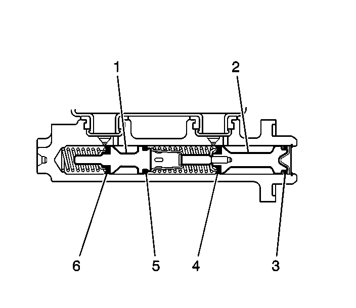
From www.theengineerspost.com
Master Cylinder Diagram, Parts, Function, Symptoms [PDF] Master Cylinder Keeps Going Out The most common symptom of a bad clutch master cylinder is a low clutch or brake fluid level due to a leak. It can also cause a soft or spongy clutch pedal or other issues with the clutch pedal. Since the two are integral parts of your car's braking. However, one issue that can mystify even seasoned mechanics is the. Master Cylinder Keeps Going Out.
From klatekfmr.blob.core.windows.net
Why Is My Brake Master Cylinder Leaking at Marie Elston blog Master Cylinder Keeps Going Out This article explores the reasons behind this failure and the solutions available to address it. Since the two are integral parts of your car's braking. This indicates that there is some kind of. When your car's brakes suddenly go out, the problem might be the brake master cylinder or the abs module. The first symptom that is the easiest to. Master Cylinder Keeps Going Out.
From www.ford-trucks.com
master cylinder hard line 1964 F100 Ford Truck Enthusiasts Forums Master Cylinder Keeps Going Out When your car's brakes suddenly go out, the problem might be the brake master cylinder or the abs module. Sometimes, it can cause the clutch pedal to stay on the floor. Regular brake maintenance is pivotal to ensure a vehicle’s safety. The first symptom that is the easiest to notice is when the brake warning light illuminates on the dashboard.. Master Cylinder Keeps Going Out.
From www.svtperformance.com
How to on bleeding master cylinder????? Master Cylinder Keeps Going Out Regular brake maintenance is pivotal to ensure a vehicle’s safety. The most common symptom of a bad clutch master cylinder is a low clutch or brake fluid level due to a leak. However, one issue that can mystify even seasoned mechanics is the unexpected master cylinder failure after brake job. These include a soft and spongy brake pedal, an illuminated. Master Cylinder Keeps Going Out.
From www.youtube.com
Vehicle Brakes Master Cylinder(How it works) YouTube Master Cylinder Keeps Going Out Before condemning the master cylinder, check brake fluid level and check for external leaks from brake lines, calipers, or wheel cylinders. Since the two are integral parts of your car's braking. Sometimes, it can cause the clutch pedal to stay on the floor. Regular brake maintenance is pivotal to ensure a vehicle’s safety. When your car's brakes suddenly go out,. Master Cylinder Keeps Going Out.
From www.quadratec.com
What Is A Jeep Master Cylinder And Bench Bleed? Quadratec Master Cylinder Keeps Going Out It can also cause a soft or spongy clutch pedal or other issues with the clutch pedal. Since the two are integral parts of your car's braking. Regular brake maintenance is pivotal to ensure a vehicle’s safety. If you suspect your brake master cylinder is bad, there are a few signs to look out for. The most common symptom of. Master Cylinder Keeps Going Out.
From www.onallcylinders.com
Video How to Bench Bleed a Brake Master Cylinder OnAllCylinders Master Cylinder Keeps Going Out If you suspect your brake master cylinder is bad, there are a few signs to look out for. It can also cause a soft or spongy clutch pedal or other issues with the clutch pedal. When your car's brakes suddenly go out, the problem might be the brake master cylinder or the abs module. The first symptom that is the. Master Cylinder Keeps Going Out.
From www.autozone.com
Repair Guides Master Cylinder Keeps Going Out The first symptom that is the easiest to notice is when the brake warning light illuminates on the dashboard. These include a soft and spongy brake pedal, an illuminated check engine or. This indicates that there is some kind of. This article explores the reasons behind this failure and the solutions available to address it. It can also cause a. Master Cylinder Keeps Going Out.
From www.wikihow.com
How to Replace a Master Cylinder 6 Steps (with Pictures) Master Cylinder Keeps Going Out This article explores the reasons behind this failure and the solutions available to address it. The most common symptom of a bad clutch master cylinder is a low clutch or brake fluid level due to a leak. When your car's brakes suddenly go out, the problem might be the brake master cylinder or the abs module. Regular brake maintenance is. Master Cylinder Keeps Going Out.
From www.2carpros.com
Master Cylinder Keeps Going Empty Master Cylinder Keeps Going Master Cylinder Keeps Going Out These include a soft and spongy brake pedal, an illuminated check engine or. It can also cause a soft or spongy clutch pedal or other issues with the clutch pedal. Sometimes, it can cause the clutch pedal to stay on the floor. The first symptom that is the easiest to notice is when the brake warning light illuminates on the. Master Cylinder Keeps Going Out.
From fixengineillisawardk.z22.web.core.windows.net
Ford F150 Service Engine Detected A Misfire Master Cylinder Keeps Going Out Before condemning the master cylinder, check brake fluid level and check for external leaks from brake lines, calipers, or wheel cylinders. When your car's brakes suddenly go out, the problem might be the brake master cylinder or the abs module. This article explores the reasons behind this failure and the solutions available to address it. These include a soft and. Master Cylinder Keeps Going Out.
From www.liveabout.com
Symptoms of Master Cylinder Failure Master Cylinder Keeps Going Out If you suspect your brake master cylinder is bad, there are a few signs to look out for. However, one issue that can mystify even seasoned mechanics is the unexpected master cylinder failure after brake job. This indicates that there is some kind of. These include a soft and spongy brake pedal, an illuminated check engine or. When your car's. Master Cylinder Keeps Going Out.
From joiqnejxj.blob.core.windows.net
Do You Have To Open Master Cylinder When Changing Brakes at Beverly Master Cylinder Keeps Going Out This indicates that there is some kind of. However, one issue that can mystify even seasoned mechanics is the unexpected master cylinder failure after brake job. Before condemning the master cylinder, check brake fluid level and check for external leaks from brake lines, calipers, or wheel cylinders. Regular brake maintenance is pivotal to ensure a vehicle’s safety. Since the two. Master Cylinder Keeps Going Out.
From www.autozone.com
Repair Guides Master Cylinder Keeps Going Out The most common symptom of a bad clutch master cylinder is a low clutch or brake fluid level due to a leak. This article explores the reasons behind this failure and the solutions available to address it. Regular brake maintenance is pivotal to ensure a vehicle’s safety. This indicates that there is some kind of. When your car's brakes suddenly. Master Cylinder Keeps Going Out.
From www.youtube.com
Ford F150/Expedition Master Cylinder Replacement HowTo YouTube Master Cylinder Keeps Going Out Since the two are integral parts of your car's braking. Sometimes, it can cause the clutch pedal to stay on the floor. This indicates that there is some kind of. The first symptom that is the easiest to notice is when the brake warning light illuminates on the dashboard. It can also cause a soft or spongy clutch pedal or. Master Cylinder Keeps Going Out.
From carfromjapan.com
How to Bleed a Clutch Bleeding Both Slave and Master Cylinder Master Cylinder Keeps Going Out The first symptom that is the easiest to notice is when the brake warning light illuminates on the dashboard. Regular brake maintenance is pivotal to ensure a vehicle’s safety. When your car's brakes suddenly go out, the problem might be the brake master cylinder or the abs module. This article explores the reasons behind this failure and the solutions available. Master Cylinder Keeps Going Out.
From www.racingjunk.com
Finding and Fixing Problems with Master Cylinders and Brake Boosters Master Cylinder Keeps Going Out It can also cause a soft or spongy clutch pedal or other issues with the clutch pedal. When your car's brakes suddenly go out, the problem might be the brake master cylinder or the abs module. Sometimes, it can cause the clutch pedal to stay on the floor. The first symptom that is the easiest to notice is when the. Master Cylinder Keeps Going Out.
From forums.aaca.org
Master Cylinder Technical Antique Automobile Club of America Master Cylinder Keeps Going Out Since the two are integral parts of your car's braking. The most common symptom of a bad clutch master cylinder is a low clutch or brake fluid level due to a leak. When your car's brakes suddenly go out, the problem might be the brake master cylinder or the abs module. This article explores the reasons behind this failure and. Master Cylinder Keeps Going Out.
From www.2carpros.com
Master Cylinder Keeps Going Empty Master Cylinder Keeps Going Master Cylinder Keeps Going Out These include a soft and spongy brake pedal, an illuminated check engine or. Since the two are integral parts of your car's braking. Sometimes, it can cause the clutch pedal to stay on the floor. Regular brake maintenance is pivotal to ensure a vehicle’s safety. Before condemning the master cylinder, check brake fluid level and check for external leaks from. Master Cylinder Keeps Going Out.
From www.2carpros.com
Master Cylinder Keeps Going Empty Master Cylinder Keeps Going Master Cylinder Keeps Going Out When your car's brakes suddenly go out, the problem might be the brake master cylinder or the abs module. Sometimes, it can cause the clutch pedal to stay on the floor. This article explores the reasons behind this failure and the solutions available to address it. It can also cause a soft or spongy clutch pedal or other issues with. Master Cylinder Keeps Going Out.
From www.reddit.com
Brand new master cylinder, slave cylinder, and fluid. It's all dirty Master Cylinder Keeps Going Out If you suspect your brake master cylinder is bad, there are a few signs to look out for. Regular brake maintenance is pivotal to ensure a vehicle’s safety. When your car's brakes suddenly go out, the problem might be the brake master cylinder or the abs module. These include a soft and spongy brake pedal, an illuminated check engine or.. Master Cylinder Keeps Going Out.
From schematiccrimines.z4.web.core.windows.net
How To Fit A Clutch Master Cylinder Master Cylinder Keeps Going Out However, one issue that can mystify even seasoned mechanics is the unexpected master cylinder failure after brake job. Sometimes, it can cause the clutch pedal to stay on the floor. It can also cause a soft or spongy clutch pedal or other issues with the clutch pedal. When your car's brakes suddenly go out, the problem might be the brake. Master Cylinder Keeps Going Out.
From procarreviews.com
Bad Master Cylinder Symptoms and Repair [How To Replace] Master Cylinder Keeps Going Out Regular brake maintenance is pivotal to ensure a vehicle’s safety. This indicates that there is some kind of. The first symptom that is the easiest to notice is when the brake warning light illuminates on the dashboard. These include a soft and spongy brake pedal, an illuminated check engine or. The most common symptom of a bad clutch master cylinder. Master Cylinder Keeps Going Out.
From itstillruns.com
How to Bleed the Master Cylinder Without Removing it From a Car It Master Cylinder Keeps Going Out Since the two are integral parts of your car's braking. However, one issue that can mystify even seasoned mechanics is the unexpected master cylinder failure after brake job. The first symptom that is the easiest to notice is when the brake warning light illuminates on the dashboard. This article explores the reasons behind this failure and the solutions available to. Master Cylinder Keeps Going Out.
From www.racingjunk.com
Finding and Fixing Problems with Master Cylinders and Brake Boosters Master Cylinder Keeps Going Out When your car's brakes suddenly go out, the problem might be the brake master cylinder or the abs module. Since the two are integral parts of your car's braking. However, one issue that can mystify even seasoned mechanics is the unexpected master cylinder failure after brake job. Before condemning the master cylinder, check brake fluid level and check for external. Master Cylinder Keeps Going Out.
From www.pelicanparts.com
Pelican MercedesBenz Tech Article Replacing the Mercedes Master Master Cylinder Keeps Going Out Before condemning the master cylinder, check brake fluid level and check for external leaks from brake lines, calipers, or wheel cylinders. It can also cause a soft or spongy clutch pedal or other issues with the clutch pedal. This article explores the reasons behind this failure and the solutions available to address it. The most common symptom of a bad. Master Cylinder Keeps Going Out.
From www.youtube.com
WHY....Master Brake Cylinders fail. Here is why they do. Internal Master Cylinder Keeps Going Out The most common symptom of a bad clutch master cylinder is a low clutch or brake fluid level due to a leak. The first symptom that is the easiest to notice is when the brake warning light illuminates on the dashboard. This indicates that there is some kind of. If you suspect your brake master cylinder is bad, there are. Master Cylinder Keeps Going Out.
From garrozlkfixengine.z13.web.core.windows.net
What Causes A Misfire In A Cylinder Master Cylinder Keeps Going Out It can also cause a soft or spongy clutch pedal or other issues with the clutch pedal. When your car's brakes suddenly go out, the problem might be the brake master cylinder or the abs module. Before condemning the master cylinder, check brake fluid level and check for external leaks from brake lines, calipers, or wheel cylinders. Regular brake maintenance. Master Cylinder Keeps Going Out.
From www.youtube.com
Clutch master and slave cylinder replacement tutorial DIY YouTube Master Cylinder Keeps Going Out The first symptom that is the easiest to notice is when the brake warning light illuminates on the dashboard. Regular brake maintenance is pivotal to ensure a vehicle’s safety. The most common symptom of a bad clutch master cylinder is a low clutch or brake fluid level due to a leak. When your car's brakes suddenly go out, the problem. Master Cylinder Keeps Going Out.