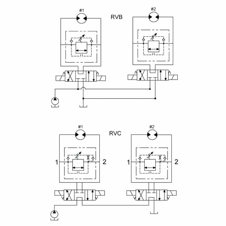
How Does A Dual Crossover Relief Valve Work . Spherical poppets for low leakage. — the crossover relief valve (crv) is designed to protect your equipment from damage whenever a circuit is overloaded, like on a. See datasheets, drawings and specifications of rvc and rvb valves. provides crossover relief protection for reversible hydraulic motors or can be used as a cushion valve for a double acting cylinder. It relieves the inlet pressure. learn how crossover relief valves work in series and parallel circuits to prevent back pressure on motors. Fast acting differential area reliefs for high flow capacity. Bosch rexroth oil control manufactures a variety of valves for.
from wirelibrarycirques.z4.web.core.windows.net
learn how crossover relief valves work in series and parallel circuits to prevent back pressure on motors. Spherical poppets for low leakage. See datasheets, drawings and specifications of rvc and rvb valves. provides crossover relief protection for reversible hydraulic motors or can be used as a cushion valve for a double acting cylinder. Fast acting differential area reliefs for high flow capacity. It relieves the inlet pressure. — the crossover relief valve (crv) is designed to protect your equipment from damage whenever a circuit is overloaded, like on a. Bosch rexroth oil control manufactures a variety of valves for.
Crossover Relief Valve Schematic
How Does A Dual Crossover Relief Valve Work Fast acting differential area reliefs for high flow capacity. It relieves the inlet pressure. See datasheets, drawings and specifications of rvc and rvb valves. Bosch rexroth oil control manufactures a variety of valves for. provides crossover relief protection for reversible hydraulic motors or can be used as a cushion valve for a double acting cylinder. — the crossover relief valve (crv) is designed to protect your equipment from damage whenever a circuit is overloaded, like on a. Fast acting differential area reliefs for high flow capacity. learn how crossover relief valves work in series and parallel circuits to prevent back pressure on motors. Spherical poppets for low leakage.
From goolevalve.en.made-in-china.com
Quick Crossover Safety (Relief) Valve China Safety Valve and Relief Valve How Does A Dual Crossover Relief Valve Work Fast acting differential area reliefs for high flow capacity. learn how crossover relief valves work in series and parallel circuits to prevent back pressure on motors. See datasheets, drawings and specifications of rvc and rvb valves. Spherical poppets for low leakage. provides crossover relief protection for reversible hydraulic motors or can be used as a cushion valve for. How Does A Dual Crossover Relief Valve Work.
From summit-hydraulics.com
Dual Crossover Hydraulic Relief Cushion Valve, 3/4” NPT Ports, 30 GPM How Does A Dual Crossover Relief Valve Work provides crossover relief protection for reversible hydraulic motors or can be used as a cushion valve for a double acting cylinder. See datasheets, drawings and specifications of rvc and rvb valves. learn how crossover relief valves work in series and parallel circuits to prevent back pressure on motors. — the crossover relief valve (crv) is designed to. How Does A Dual Crossover Relief Valve Work.
From radial-dynamics.com
Crossover Relief Valve Radial Dynamics How Does A Dual Crossover Relief Valve Work Spherical poppets for low leakage. — the crossover relief valve (crv) is designed to protect your equipment from damage whenever a circuit is overloaded, like on a. Fast acting differential area reliefs for high flow capacity. See datasheets, drawings and specifications of rvc and rvb valves. It relieves the inlet pressure. learn how crossover relief valves work in. How Does A Dual Crossover Relief Valve Work.
From parkerhydrolic.com
Parker DWV Series Differential Area Crossover Relief How Does A Dual Crossover Relief Valve Work provides crossover relief protection for reversible hydraulic motors or can be used as a cushion valve for a double acting cylinder. learn how crossover relief valves work in series and parallel circuits to prevent back pressure on motors. Spherical poppets for low leakage. Fast acting differential area reliefs for high flow capacity. Bosch rexroth oil control manufactures a. How Does A Dual Crossover Relief Valve Work.
From goolevalve.en.made-in-china.com
Double Port with Sprocket Wheel Operated Quick Crossover Safety Relief How Does A Dual Crossover Relief Valve Work Spherical poppets for low leakage. Fast acting differential area reliefs for high flow capacity. — the crossover relief valve (crv) is designed to protect your equipment from damage whenever a circuit is overloaded, like on a. Bosch rexroth oil control manufactures a variety of valves for. See datasheets, drawings and specifications of rvc and rvb valves. learn how. How Does A Dual Crossover Relief Valve Work.
From dxomjaxjh.blob.core.windows.net
Function Of Relief Valve In Hydraulic System at Ilene Draper blog How Does A Dual Crossover Relief Valve Work Bosch rexroth oil control manufactures a variety of valves for. Fast acting differential area reliefs for high flow capacity. learn how crossover relief valves work in series and parallel circuits to prevent back pressure on motors. provides crossover relief protection for reversible hydraulic motors or can be used as a cushion valve for a double acting cylinder. . How Does A Dual Crossover Relief Valve Work.
From www.greentractortalk.com
Crossover Relief Valve Green Tractor Talk How Does A Dual Crossover Relief Valve Work Fast acting differential area reliefs for high flow capacity. learn how crossover relief valves work in series and parallel circuits to prevent back pressure on motors. See datasheets, drawings and specifications of rvc and rvb valves. — the crossover relief valve (crv) is designed to protect your equipment from damage whenever a circuit is overloaded, like on a.. How Does A Dual Crossover Relief Valve Work.
From www.hydromot.lu
Shock valve M+S Hydraulic type KPDS, from HYDROMOT How Does A Dual Crossover Relief Valve Work Bosch rexroth oil control manufactures a variety of valves for. See datasheets, drawings and specifications of rvc and rvb valves. Spherical poppets for low leakage. provides crossover relief protection for reversible hydraulic motors or can be used as a cushion valve for a double acting cylinder. Fast acting differential area reliefs for high flow capacity. learn how crossover. How Does A Dual Crossover Relief Valve Work.
From www.cylinderservices.net
Crossover Reliefs (Cushion Valves) Hydraulic Catalog Cylinder How Does A Dual Crossover Relief Valve Work Bosch rexroth oil control manufactures a variety of valves for. provides crossover relief protection for reversible hydraulic motors or can be used as a cushion valve for a double acting cylinder. It relieves the inlet pressure. Fast acting differential area reliefs for high flow capacity. See datasheets, drawings and specifications of rvc and rvb valves. learn how crossover. How Does A Dual Crossover Relief Valve Work.
From www.marslaptop.com
Dual Crossover Hydraulic Relief Cushion Valve, 1/2” NPT Ports, 19 GPM How Does A Dual Crossover Relief Valve Work Spherical poppets for low leakage. provides crossover relief protection for reversible hydraulic motors or can be used as a cushion valve for a double acting cylinder. Fast acting differential area reliefs for high flow capacity. learn how crossover relief valves work in series and parallel circuits to prevent back pressure on motors. See datasheets, drawings and specifications of. How Does A Dual Crossover Relief Valve Work.
From www.hydro.com.pl
Dual cross pressure relief valves VMDI HYDRO ZNPHS How Does A Dual Crossover Relief Valve Work — the crossover relief valve (crv) is designed to protect your equipment from damage whenever a circuit is overloaded, like on a. learn how crossover relief valves work in series and parallel circuits to prevent back pressure on motors. It relieves the inlet pressure. provides crossover relief protection for reversible hydraulic motors or can be used as. How Does A Dual Crossover Relief Valve Work.
From www.northerntool.com
Northman Modular DualPort Relief Valve — Model MRF02DK220 Northern How Does A Dual Crossover Relief Valve Work Fast acting differential area reliefs for high flow capacity. learn how crossover relief valves work in series and parallel circuits to prevent back pressure on motors. provides crossover relief protection for reversible hydraulic motors or can be used as a cushion valve for a double acting cylinder. — the crossover relief valve (crv) is designed to protect. How Does A Dual Crossover Relief Valve Work.
From vacaero.com
Pressure Relief Valves How Does A Dual Crossover Relief Valve Work learn how crossover relief valves work in series and parallel circuits to prevent back pressure on motors. Fast acting differential area reliefs for high flow capacity. Spherical poppets for low leakage. Bosch rexroth oil control manufactures a variety of valves for. provides crossover relief protection for reversible hydraulic motors or can be used as a cushion valve for. How Does A Dual Crossover Relief Valve Work.
From www.marslaptop.com
Dual Crossover Hydraulic Relief Cushion Valve, 3/4” NPT Ports, 30 GPM How Does A Dual Crossover Relief Valve Work Fast acting differential area reliefs for high flow capacity. It relieves the inlet pressure. Spherical poppets for low leakage. provides crossover relief protection for reversible hydraulic motors or can be used as a cushion valve for a double acting cylinder. — the crossover relief valve (crv) is designed to protect your equipment from damage whenever a circuit is. How Does A Dual Crossover Relief Valve Work.
From wiringfixfuscous.z5.web.core.windows.net
Crossover Relief Valve Schematic How Does A Dual Crossover Relief Valve Work — the crossover relief valve (crv) is designed to protect your equipment from damage whenever a circuit is overloaded, like on a. provides crossover relief protection for reversible hydraulic motors or can be used as a cushion valve for a double acting cylinder. See datasheets, drawings and specifications of rvc and rvb valves. It relieves the inlet pressure.. How Does A Dual Crossover Relief Valve Work.
From automationforum.co
What is a pressure relief valve? Instrumentation and Control Engineering How Does A Dual Crossover Relief Valve Work Spherical poppets for low leakage. Fast acting differential area reliefs for high flow capacity. — the crossover relief valve (crv) is designed to protect your equipment from damage whenever a circuit is overloaded, like on a. It relieves the inlet pressure. provides crossover relief protection for reversible hydraulic motors or can be used as a cushion valve for. How Does A Dual Crossover Relief Valve Work.
From wirelibrarycirques.z4.web.core.windows.net
Crossover Relief Valve Schematic How Does A Dual Crossover Relief Valve Work It relieves the inlet pressure. — the crossover relief valve (crv) is designed to protect your equipment from damage whenever a circuit is overloaded, like on a. Fast acting differential area reliefs for high flow capacity. Bosch rexroth oil control manufactures a variety of valves for. provides crossover relief protection for reversible hydraulic motors or can be used. How Does A Dual Crossover Relief Valve Work.
From www.relatedfluidpower.com
Crossover Relief Valves • Related Fluid Power How Does A Dual Crossover Relief Valve Work Fast acting differential area reliefs for high flow capacity. Spherical poppets for low leakage. learn how crossover relief valves work in series and parallel circuits to prevent back pressure on motors. Bosch rexroth oil control manufactures a variety of valves for. — the crossover relief valve (crv) is designed to protect your equipment from damage whenever a circuit. How Does A Dual Crossover Relief Valve Work.
From shop.kageinnovation.com
Shop Crossover Relief Valve 3000 PSI How Does A Dual Crossover Relief Valve Work learn how crossover relief valves work in series and parallel circuits to prevent back pressure on motors. Bosch rexroth oil control manufactures a variety of valves for. — the crossover relief valve (crv) is designed to protect your equipment from damage whenever a circuit is overloaded, like on a. provides crossover relief protection for reversible hydraulic motors. How Does A Dual Crossover Relief Valve Work.
From summit-hydraulics.com
Dual Crossover Hydraulic Relief Cushion Valve, 3/4” NPT Ports, 30 GPM How Does A Dual Crossover Relief Valve Work See datasheets, drawings and specifications of rvc and rvb valves. Bosch rexroth oil control manufactures a variety of valves for. — the crossover relief valve (crv) is designed to protect your equipment from damage whenever a circuit is overloaded, like on a. Fast acting differential area reliefs for high flow capacity. learn how crossover relief valves work in. How Does A Dual Crossover Relief Valve Work.
From www.popscreen.com
Prince Crossover Relief Valve, Model DRV4HH Relief Valves How Does A Dual Crossover Relief Valve Work Spherical poppets for low leakage. Fast acting differential area reliefs for high flow capacity. See datasheets, drawings and specifications of rvc and rvb valves. — the crossover relief valve (crv) is designed to protect your equipment from damage whenever a circuit is overloaded, like on a. learn how crossover relief valves work in series and parallel circuits to. How Does A Dual Crossover Relief Valve Work.
From hydropack.com.au
VAU Series Dual Crossover Relief Valves HYDROPACK How Does A Dual Crossover Relief Valve Work Fast acting differential area reliefs for high flow capacity. Bosch rexroth oil control manufactures a variety of valves for. — the crossover relief valve (crv) is designed to protect your equipment from damage whenever a circuit is overloaded, like on a. It relieves the inlet pressure. learn how crossover relief valves work in series and parallel circuits to. How Does A Dual Crossover Relief Valve Work.
From oupo44qbfixmachine.z13.web.core.windows.net
Crossover Relief Valve Schematic How Does A Dual Crossover Relief Valve Work Fast acting differential area reliefs for high flow capacity. — the crossover relief valve (crv) is designed to protect your equipment from damage whenever a circuit is overloaded, like on a. Spherical poppets for low leakage. It relieves the inlet pressure. Bosch rexroth oil control manufactures a variety of valves for. learn how crossover relief valves work in. How Does A Dual Crossover Relief Valve Work.
From www.amazon.com
Dual Crossover Hydraulic Relief Cushion Valve, 3/4” NPT How Does A Dual Crossover Relief Valve Work Fast acting differential area reliefs for high flow capacity. Bosch rexroth oil control manufactures a variety of valves for. See datasheets, drawings and specifications of rvc and rvb valves. It relieves the inlet pressure. provides crossover relief protection for reversible hydraulic motors or can be used as a cushion valve for a double acting cylinder. learn how crossover. How Does A Dual Crossover Relief Valve Work.
From www.asiahydraulic-co.ir
VAU MP/MR Series Dual Crossover Relief Valves ASIA HYDRAULIC CO How Does A Dual Crossover Relief Valve Work — the crossover relief valve (crv) is designed to protect your equipment from damage whenever a circuit is overloaded, like on a. Fast acting differential area reliefs for high flow capacity. Spherical poppets for low leakage. Bosch rexroth oil control manufactures a variety of valves for. learn how crossover relief valves work in series and parallel circuits to. How Does A Dual Crossover Relief Valve Work.
From www.youtube.com
Pressure Relief Valves (Types and Working Principle) YouTube How Does A Dual Crossover Relief Valve Work Spherical poppets for low leakage. See datasheets, drawings and specifications of rvc and rvb valves. Fast acting differential area reliefs for high flow capacity. learn how crossover relief valves work in series and parallel circuits to prevent back pressure on motors. Bosch rexroth oil control manufactures a variety of valves for. — the crossover relief valve (crv) is. How Does A Dual Crossover Relief Valve Work.
From dnfluidcontrol.com
Dual Cross Over Relief Valve Hydraulic D&N Fluid Control How Does A Dual Crossover Relief Valve Work — the crossover relief valve (crv) is designed to protect your equipment from damage whenever a circuit is overloaded, like on a. It relieves the inlet pressure. See datasheets, drawings and specifications of rvc and rvb valves. Spherical poppets for low leakage. Fast acting differential area reliefs for high flow capacity. Bosch rexroth oil control manufactures a variety of. How Does A Dual Crossover Relief Valve Work.
From www.harshuk.com
Dual CrossOver Relief Valve Harsh UK How Does A Dual Crossover Relief Valve Work See datasheets, drawings and specifications of rvc and rvb valves. Spherical poppets for low leakage. Fast acting differential area reliefs for high flow capacity. provides crossover relief protection for reversible hydraulic motors or can be used as a cushion valve for a double acting cylinder. — the crossover relief valve (crv) is designed to protect your equipment from. How Does A Dual Crossover Relief Valve Work.
From userpartjanina.z19.web.core.windows.net
Crossover Relief Valve Schematic How Does A Dual Crossover Relief Valve Work See datasheets, drawings and specifications of rvc and rvb valves. provides crossover relief protection for reversible hydraulic motors or can be used as a cushion valve for a double acting cylinder. learn how crossover relief valves work in series and parallel circuits to prevent back pressure on motors. Fast acting differential area reliefs for high flow capacity. Spherical. How Does A Dual Crossover Relief Valve Work.
From flavored.ph
1/2” NPT Ports 19 GPM Max Flow Dual Crossover Hydraulic Relief Cushion How Does A Dual Crossover Relief Valve Work learn how crossover relief valves work in series and parallel circuits to prevent back pressure on motors. It relieves the inlet pressure. provides crossover relief protection for reversible hydraulic motors or can be used as a cushion valve for a double acting cylinder. See datasheets, drawings and specifications of rvc and rvb valves. Spherical poppets for low leakage.. How Does A Dual Crossover Relief Valve Work.
From resolutionsforyou.com
Pressure relief valve diagram How Does A Dual Crossover Relief Valve Work Bosch rexroth oil control manufactures a variety of valves for. provides crossover relief protection for reversible hydraulic motors or can be used as a cushion valve for a double acting cylinder. learn how crossover relief valves work in series and parallel circuits to prevent back pressure on motors. Fast acting differential area reliefs for high flow capacity. It. How Does A Dual Crossover Relief Valve Work.
From www.lakeudenhydro.fi
DUAL CROSSOVER RELIEF VALVE EPMS 210BAR KPDS210 How Does A Dual Crossover Relief Valve Work See datasheets, drawings and specifications of rvc and rvb valves. Spherical poppets for low leakage. learn how crossover relief valves work in series and parallel circuits to prevent back pressure on motors. It relieves the inlet pressure. provides crossover relief protection for reversible hydraulic motors or can be used as a cushion valve for a double acting cylinder.. How Does A Dual Crossover Relief Valve Work.
From waterleak.co.uk
Pressure Relief Valve (PRV) Simple Guide And Diagram How Does A Dual Crossover Relief Valve Work See datasheets, drawings and specifications of rvc and rvb valves. Spherical poppets for low leakage. It relieves the inlet pressure. — the crossover relief valve (crv) is designed to protect your equipment from damage whenever a circuit is overloaded, like on a. provides crossover relief protection for reversible hydraulic motors or can be used as a cushion valve. How Does A Dual Crossover Relief Valve Work.
From constructiongrader.tpub.com
Dual Crossover Relief Valve How Does A Dual Crossover Relief Valve Work See datasheets, drawings and specifications of rvc and rvb valves. Fast acting differential area reliefs for high flow capacity. It relieves the inlet pressure. — the crossover relief valve (crv) is designed to protect your equipment from damage whenever a circuit is overloaded, like on a. learn how crossover relief valves work in series and parallel circuits to. How Does A Dual Crossover Relief Valve Work.
From summit-hydraulics.com
Dual Crossover Hydraulic Relief Cushion Valve, 1/2” NPT Ports, 19 GPM How Does A Dual Crossover Relief Valve Work Spherical poppets for low leakage. — the crossover relief valve (crv) is designed to protect your equipment from damage whenever a circuit is overloaded, like on a. Fast acting differential area reliefs for high flow capacity. learn how crossover relief valves work in series and parallel circuits to prevent back pressure on motors. It relieves the inlet pressure.. How Does A Dual Crossover Relief Valve Work.