Vacuum Filtration Drawing . In this technique, an aspirator sucks out the air that is contained in the flask where the büchner funnel. The bhs pocket leaf filter (plf) shown below is used for pressure and vacuum filtration tests to determine filtration rates, filtrate. It helps to ensure that the correct components are used and arranged properly to achieve. Vacuum filtration is a technique for separating a solid. Filtration by vacuum filtration is a physical method of separating a suspended solid from a solution or liquid by passing the solution or. Suction filtration (also called vacuum filtration) is a technique used to separate liquids from solids. A vacuum filtration diagram serves as a guide for setting up and carrying out a vacuum filtration process.
from www.tiktok.com
Filtration by vacuum filtration is a physical method of separating a suspended solid from a solution or liquid by passing the solution or. Suction filtration (also called vacuum filtration) is a technique used to separate liquids from solids. The bhs pocket leaf filter (plf) shown below is used for pressure and vacuum filtration tests to determine filtration rates, filtrate. A vacuum filtration diagram serves as a guide for setting up and carrying out a vacuum filtration process. Vacuum filtration is a technique for separating a solid. In this technique, an aspirator sucks out the air that is contained in the flask where the büchner funnel. It helps to ensure that the correct components are used and arranged properly to achieve.
من يبي عيوني؟fyp TikTok
Vacuum Filtration Drawing The bhs pocket leaf filter (plf) shown below is used for pressure and vacuum filtration tests to determine filtration rates, filtrate. Vacuum filtration is a technique for separating a solid. A vacuum filtration diagram serves as a guide for setting up and carrying out a vacuum filtration process. It helps to ensure that the correct components are used and arranged properly to achieve. In this technique, an aspirator sucks out the air that is contained in the flask where the büchner funnel. Filtration by vacuum filtration is a physical method of separating a suspended solid from a solution or liquid by passing the solution or. The bhs pocket leaf filter (plf) shown below is used for pressure and vacuum filtration tests to determine filtration rates, filtrate. Suction filtration (also called vacuum filtration) is a technique used to separate liquids from solids.
From www.vacuumfiltrations.com
Main Steps of Vacuum Filtration Hawach Scientific Co., Ltd Vacuum Filtration Drawing Suction filtration (also called vacuum filtration) is a technique used to separate liquids from solids. In this technique, an aspirator sucks out the air that is contained in the flask where the büchner funnel. Vacuum filtration is a technique for separating a solid. Filtration by vacuum filtration is a physical method of separating a suspended solid from a solution or. Vacuum Filtration Drawing.
From www.sugarprocesstech.com
Sugar Tech Sugar Technology related articles with online calculators Vacuum Filtration Drawing In this technique, an aspirator sucks out the air that is contained in the flask where the büchner funnel. Vacuum filtration is a technique for separating a solid. Suction filtration (also called vacuum filtration) is a technique used to separate liquids from solids. Filtration by vacuum filtration is a physical method of separating a suspended solid from a solution or. Vacuum Filtration Drawing.
From mavink.com
Labeled Vacuum Filtration Diagram Vacuum Filtration Drawing Filtration by vacuum filtration is a physical method of separating a suspended solid from a solution or liquid by passing the solution or. A vacuum filtration diagram serves as a guide for setting up and carrying out a vacuum filtration process. Suction filtration (also called vacuum filtration) is a technique used to separate liquids from solids. The bhs pocket leaf. Vacuum Filtration Drawing.
From www.mrsewing.com
Rotary Cutters mrsewing Vacuum Filtration Drawing Vacuum filtration is a technique for separating a solid. It helps to ensure that the correct components are used and arranged properly to achieve. Filtration by vacuum filtration is a physical method of separating a suspended solid from a solution or liquid by passing the solution or. The bhs pocket leaf filter (plf) shown below is used for pressure and. Vacuum Filtration Drawing.
From chemglass.com
CG1052A ADAPTERS, VACUUM FILTRATION Chemglass Life Sciences Vacuum Filtration Drawing Vacuum filtration is a technique for separating a solid. Filtration by vacuum filtration is a physical method of separating a suspended solid from a solution or liquid by passing the solution or. In this technique, an aspirator sucks out the air that is contained in the flask where the büchner funnel. Suction filtration (also called vacuum filtration) is a technique. Vacuum Filtration Drawing.
From commons.wikimedia.org
FileVacuumfiltrationdiagram.png Wikimedia Commons Vacuum Filtration Drawing Vacuum filtration is a technique for separating a solid. The bhs pocket leaf filter (plf) shown below is used for pressure and vacuum filtration tests to determine filtration rates, filtrate. A vacuum filtration diagram serves as a guide for setting up and carrying out a vacuum filtration process. Filtration by vacuum filtration is a physical method of separating a suspended. Vacuum Filtration Drawing.
From showcase.ulvac.co.jp
OMC050|Oil Rotary Vacuum Pump|Rough&Middle Vacuum Pump|Products|ULVAC Vacuum Filtration Drawing A vacuum filtration diagram serves as a guide for setting up and carrying out a vacuum filtration process. The bhs pocket leaf filter (plf) shown below is used for pressure and vacuum filtration tests to determine filtration rates, filtrate. In this technique, an aspirator sucks out the air that is contained in the flask where the büchner funnel. Suction filtration. Vacuum Filtration Drawing.
From getdrawings.com
Vacuum Cleaner Drawing at GetDrawings Free download Vacuum Filtration Drawing Filtration by vacuum filtration is a physical method of separating a suspended solid from a solution or liquid by passing the solution or. It helps to ensure that the correct components are used and arranged properly to achieve. Suction filtration (also called vacuum filtration) is a technique used to separate liquids from solids. The bhs pocket leaf filter (plf) shown. Vacuum Filtration Drawing.
From husholdningsapparater.blogspot.com
Vacuum filtration Vacuum Filtration Drawing A vacuum filtration diagram serves as a guide for setting up and carrying out a vacuum filtration process. The bhs pocket leaf filter (plf) shown below is used for pressure and vacuum filtration tests to determine filtration rates, filtrate. In this technique, an aspirator sucks out the air that is contained in the flask where the büchner funnel. Filtration by. Vacuum Filtration Drawing.
From dotbjoleen.pages.dev
Best Shark Cordless Vacuum 2024 Model Tim Magdalene Vacuum Filtration Drawing In this technique, an aspirator sucks out the air that is contained in the flask where the büchner funnel. Vacuum filtration is a technique for separating a solid. It helps to ensure that the correct components are used and arranged properly to achieve. Filtration by vacuum filtration is a physical method of separating a suspended solid from a solution or. Vacuum Filtration Drawing.
From www.shutterstock.com
Lab Concept VacuumAssisted Filtration. Stock Vector Illustration Vacuum Filtration Drawing A vacuum filtration diagram serves as a guide for setting up and carrying out a vacuum filtration process. Filtration by vacuum filtration is a physical method of separating a suspended solid from a solution or liquid by passing the solution or. Suction filtration (also called vacuum filtration) is a technique used to separate liquids from solids. Vacuum filtration is a. Vacuum Filtration Drawing.
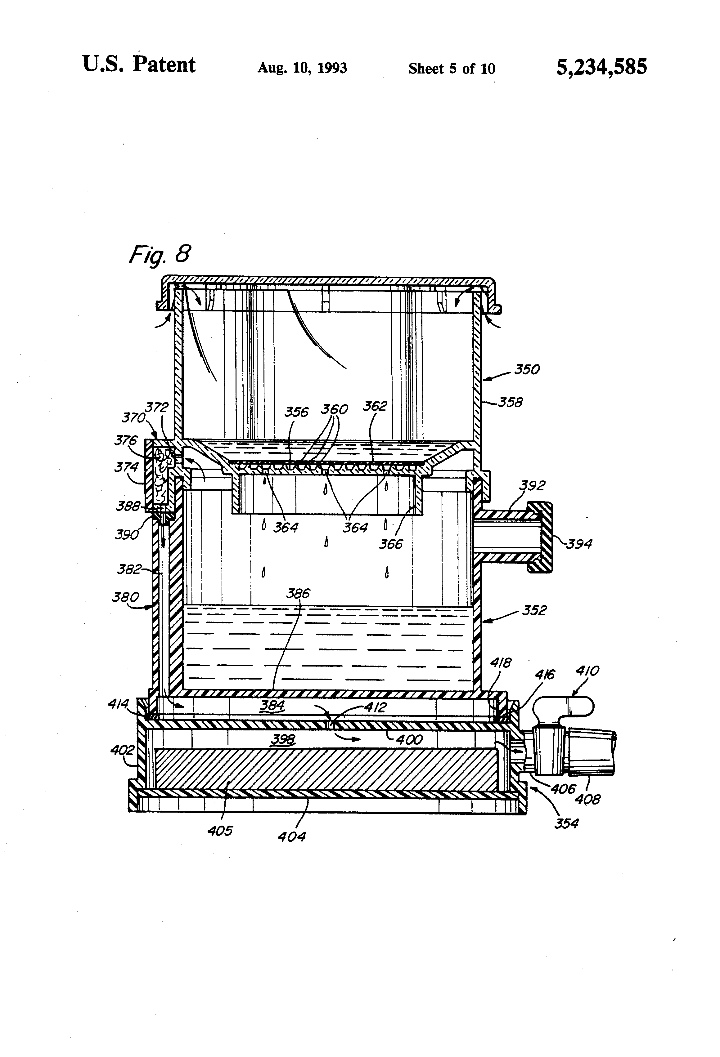
From www.google.ca
Patent US5234585 Vacuum filtration device Google Patents Vacuum Filtration Drawing Filtration by vacuum filtration is a physical method of separating a suspended solid from a solution or liquid by passing the solution or. It helps to ensure that the correct components are used and arranged properly to achieve. Suction filtration (also called vacuum filtration) is a technique used to separate liquids from solids. A vacuum filtration diagram serves as a. Vacuum Filtration Drawing.
From www.researchgate.net
Buchner filtration system with vacuum pump (credits Merck Millipore Vacuum Filtration Drawing Filtration by vacuum filtration is a physical method of separating a suspended solid from a solution or liquid by passing the solution or. Suction filtration (also called vacuum filtration) is a technique used to separate liquids from solids. The bhs pocket leaf filter (plf) shown below is used for pressure and vacuum filtration tests to determine filtration rates, filtrate. A. Vacuum Filtration Drawing.
From ubicaciondepersonas.cdmx.gob.mx
Vacuum Filtration ubicaciondepersonas.cdmx.gob.mx Vacuum Filtration Drawing Suction filtration (also called vacuum filtration) is a technique used to separate liquids from solids. A vacuum filtration diagram serves as a guide for setting up and carrying out a vacuum filtration process. The bhs pocket leaf filter (plf) shown below is used for pressure and vacuum filtration tests to determine filtration rates, filtrate. Filtration by vacuum filtration is a. Vacuum Filtration Drawing.
From getdrawings.com
Vacuum Cleaner Drawing at GetDrawings Free download Vacuum Filtration Drawing Filtration by vacuum filtration is a physical method of separating a suspended solid from a solution or liquid by passing the solution or. The bhs pocket leaf filter (plf) shown below is used for pressure and vacuum filtration tests to determine filtration rates, filtrate. A vacuum filtration diagram serves as a guide for setting up and carrying out a vacuum. Vacuum Filtration Drawing.
From mavink.com
Filtration Labelled Diagram Vacuum Filtration Drawing Filtration by vacuum filtration is a physical method of separating a suspended solid from a solution or liquid by passing the solution or. It helps to ensure that the correct components are used and arranged properly to achieve. Vacuum filtration is a technique for separating a solid. The bhs pocket leaf filter (plf) shown below is used for pressure and. Vacuum Filtration Drawing.
From www.cc-jensen.com
CCJensen Vacuum Filters Spare Parts Transformer Oil Filtration Vacuum Filtration Drawing Suction filtration (also called vacuum filtration) is a technique used to separate liquids from solids. It helps to ensure that the correct components are used and arranged properly to achieve. Filtration by vacuum filtration is a physical method of separating a suspended solid from a solution or liquid by passing the solution or. In this technique, an aspirator sucks out. Vacuum Filtration Drawing.
From www.drawellanalytical.com
Common Lab Vacuum Freeze Dryer Problems and Troubleshooting Tips Drawell Vacuum Filtration Drawing The bhs pocket leaf filter (plf) shown below is used for pressure and vacuum filtration tests to determine filtration rates, filtrate. In this technique, an aspirator sucks out the air that is contained in the flask where the büchner funnel. Vacuum filtration is a technique for separating a solid. Suction filtration (also called vacuum filtration) is a technique used to. Vacuum Filtration Drawing.
From www.google.co.uk
Patent US6623631 Filter assembly for vacuum filtration Google Patents Vacuum Filtration Drawing Filtration by vacuum filtration is a physical method of separating a suspended solid from a solution or liquid by passing the solution or. In this technique, an aspirator sucks out the air that is contained in the flask where the büchner funnel. Vacuum filtration is a technique for separating a solid. The bhs pocket leaf filter (plf) shown below is. Vacuum Filtration Drawing.
From www.vacuumfiltrations.com
Main Steps of Vacuum Filtration Hawach Scientific Co., Ltd Vacuum Filtration Drawing The bhs pocket leaf filter (plf) shown below is used for pressure and vacuum filtration tests to determine filtration rates, filtrate. A vacuum filtration diagram serves as a guide for setting up and carrying out a vacuum filtration process. Vacuum filtration is a technique for separating a solid. Suction filtration (also called vacuum filtration) is a technique used to separate. Vacuum Filtration Drawing.
From www.researchgate.net
Schematic illustration of (a) the vacuum filtration method using AAO Vacuum Filtration Drawing Filtration by vacuum filtration is a physical method of separating a suspended solid from a solution or liquid by passing the solution or. It helps to ensure that the correct components are used and arranged properly to achieve. Vacuum filtration is a technique for separating a solid. A vacuum filtration diagram serves as a guide for setting up and carrying. Vacuum Filtration Drawing.
From filtrationchina.com
Iran + Sand Filter + Agriculture JX Filtration Vacuum Filtration Drawing In this technique, an aspirator sucks out the air that is contained in the flask where the büchner funnel. It helps to ensure that the correct components are used and arranged properly to achieve. The bhs pocket leaf filter (plf) shown below is used for pressure and vacuum filtration tests to determine filtration rates, filtrate. Vacuum filtration is a technique. Vacuum Filtration Drawing.
From www.tiktok.com
من يبي عيوني؟fyp TikTok Vacuum Filtration Drawing Suction filtration (also called vacuum filtration) is a technique used to separate liquids from solids. In this technique, an aspirator sucks out the air that is contained in the flask where the büchner funnel. A vacuum filtration diagram serves as a guide for setting up and carrying out a vacuum filtration process. Filtration by vacuum filtration is a physical method. Vacuum Filtration Drawing.
From showcase.ulvac.co.jp
OMC200|Oil Rotary Vacuum Pump|Rough&Middle Vacuum Pump|Products|ULVAC Vacuum Filtration Drawing Vacuum filtration is a technique for separating a solid. Suction filtration (also called vacuum filtration) is a technique used to separate liquids from solids. A vacuum filtration diagram serves as a guide for setting up and carrying out a vacuum filtration process. The bhs pocket leaf filter (plf) shown below is used for pressure and vacuum filtration tests to determine. Vacuum Filtration Drawing.
From stock.adobe.com
Vacuum Filtration of compounds using buchner funnel and vacuum Vacuum Filtration Drawing A vacuum filtration diagram serves as a guide for setting up and carrying out a vacuum filtration process. Vacuum filtration is a technique for separating a solid. It helps to ensure that the correct components are used and arranged properly to achieve. Suction filtration (also called vacuum filtration) is a technique used to separate liquids from solids. Filtration by vacuum. Vacuum Filtration Drawing.
From www.iqsdirectory.com
Central Vacuum System What is it & How Does It Work? Vacuum Filtration Drawing It helps to ensure that the correct components are used and arranged properly to achieve. A vacuum filtration diagram serves as a guide for setting up and carrying out a vacuum filtration process. Suction filtration (also called vacuum filtration) is a technique used to separate liquids from solids. In this technique, an aspirator sucks out the air that is contained. Vacuum Filtration Drawing.
From mavink.com
Suction Filtration Diagram Vacuum Filtration Drawing The bhs pocket leaf filter (plf) shown below is used for pressure and vacuum filtration tests to determine filtration rates, filtrate. Suction filtration (also called vacuum filtration) is a technique used to separate liquids from solids. Vacuum filtration is a technique for separating a solid. It helps to ensure that the correct components are used and arranged properly to achieve.. Vacuum Filtration Drawing.
From mavink.com
Labeled Vacuum Filtration Diagram Vacuum Filtration Drawing The bhs pocket leaf filter (plf) shown below is used for pressure and vacuum filtration tests to determine filtration rates, filtrate. Filtration by vacuum filtration is a physical method of separating a suspended solid from a solution or liquid by passing the solution or. A vacuum filtration diagram serves as a guide for setting up and carrying out a vacuum. Vacuum Filtration Drawing.
From chem.libretexts.org
D Setup of vacuum filtration Chemistry LibreTexts Vacuum Filtration Drawing A vacuum filtration diagram serves as a guide for setting up and carrying out a vacuum filtration process. Suction filtration (also called vacuum filtration) is a technique used to separate liquids from solids. The bhs pocket leaf filter (plf) shown below is used for pressure and vacuum filtration tests to determine filtration rates, filtrate. Vacuum filtration is a technique for. Vacuum Filtration Drawing.
From www.researchgate.net
Gravity Filtration Setup Download Scientific Diagram Vacuum Filtration Drawing A vacuum filtration diagram serves as a guide for setting up and carrying out a vacuum filtration process. Filtration by vacuum filtration is a physical method of separating a suspended solid from a solution or liquid by passing the solution or. It helps to ensure that the correct components are used and arranged properly to achieve. The bhs pocket leaf. Vacuum Filtration Drawing.
From www.freepik.com
Premium Vector Laboratory Solvent filtration apparatus vacuum Vacuum Filtration Drawing It helps to ensure that the correct components are used and arranged properly to achieve. The bhs pocket leaf filter (plf) shown below is used for pressure and vacuum filtration tests to determine filtration rates, filtrate. In this technique, an aspirator sucks out the air that is contained in the flask where the büchner funnel. Suction filtration (also called vacuum. Vacuum Filtration Drawing.
From www.tiktok.com
من يبي عيوني؟fyp TikTok Vacuum Filtration Drawing A vacuum filtration diagram serves as a guide for setting up and carrying out a vacuum filtration process. Vacuum filtration is a technique for separating a solid. The bhs pocket leaf filter (plf) shown below is used for pressure and vacuum filtration tests to determine filtration rates, filtrate. Filtration by vacuum filtration is a physical method of separating a suspended. Vacuum Filtration Drawing.
From filtrationchina.com
Iran + Sand Filter + Agriculture JX Filtration Vacuum Filtration Drawing It helps to ensure that the correct components are used and arranged properly to achieve. The bhs pocket leaf filter (plf) shown below is used for pressure and vacuum filtration tests to determine filtration rates, filtrate. In this technique, an aspirator sucks out the air that is contained in the flask where the büchner funnel. Vacuum filtration is a technique. Vacuum Filtration Drawing.
From mavink.com
Vacuum Filtration Setup Diagram Vacuum Filtration Drawing In this technique, an aspirator sucks out the air that is contained in the flask where the büchner funnel. Suction filtration (also called vacuum filtration) is a technique used to separate liquids from solids. A vacuum filtration diagram serves as a guide for setting up and carrying out a vacuum filtration process. The bhs pocket leaf filter (plf) shown below. Vacuum Filtration Drawing.
From www.911metallurgist.com
Ceramic Vacuum Disk Filter Vacuum Filtration Drawing The bhs pocket leaf filter (plf) shown below is used for pressure and vacuum filtration tests to determine filtration rates, filtrate. Vacuum filtration is a technique for separating a solid. Suction filtration (also called vacuum filtration) is a technique used to separate liquids from solids. Filtration by vacuum filtration is a physical method of separating a suspended solid from a. Vacuum Filtration Drawing.