Chain Stitch Sewing Machine Mechanism . understanding the chain stitch mechanism. These are mainly intended for attaching garment components that are not exposed to high amounts of loads during wear using a lock stitch. so the secret behind sewing machines is that they work a totally different way, using a different kind of stitch and two totally separate threads, one fed from above (by the needle) and a second one fed from below (by a reel called a bobbin mounted in a rotating carrier called a shuttle). Single needle and looper mechanism. with a chain stitch, the sewing machine holds down the fabric with a presser foot, and at the beginning of each stitch, it creates a loop. a single needle chain stitch is a sewing machine that is designed to sew stitches.
from www.jninternational.net
Single needle and looper mechanism. a single needle chain stitch is a sewing machine that is designed to sew stitches. understanding the chain stitch mechanism. so the secret behind sewing machines is that they work a totally different way, using a different kind of stitch and two totally separate threads, one fed from above (by the needle) and a second one fed from below (by a reel called a bobbin mounted in a rotating carrier called a shuttle). These are mainly intended for attaching garment components that are not exposed to high amounts of loads during wear using a lock stitch. with a chain stitch, the sewing machine holds down the fabric with a presser foot, and at the beginning of each stitch, it creates a loop.
FX4404P FX4404PMD multineedle,double chain stitch machine
Chain Stitch Sewing Machine Mechanism so the secret behind sewing machines is that they work a totally different way, using a different kind of stitch and two totally separate threads, one fed from above (by the needle) and a second one fed from below (by a reel called a bobbin mounted in a rotating carrier called a shuttle). These are mainly intended for attaching garment components that are not exposed to high amounts of loads during wear using a lock stitch. Single needle and looper mechanism. a single needle chain stitch is a sewing machine that is designed to sew stitches. understanding the chain stitch mechanism. with a chain stitch, the sewing machine holds down the fabric with a presser foot, and at the beginning of each stitch, it creates a loop. so the secret behind sewing machines is that they work a totally different way, using a different kind of stitch and two totally separate threads, one fed from above (by the needle) and a second one fed from below (by a reel called a bobbin mounted in a rotating carrier called a shuttle).
From www.youtube.com
Sewalot Presents the Willcox & Gibbs chain stitch sewing machine by Chain Stitch Sewing Machine Mechanism a single needle chain stitch is a sewing machine that is designed to sew stitches. with a chain stitch, the sewing machine holds down the fabric with a presser foot, and at the beginning of each stitch, it creates a loop. so the secret behind sewing machines is that they work a totally different way, using a. Chain Stitch Sewing Machine Mechanism.
From ismacs.net
James Gibbs' Other Chain Stitch Sewing Machine Chain Stitch Sewing Machine Mechanism with a chain stitch, the sewing machine holds down the fabric with a presser foot, and at the beginning of each stitch, it creates a loop. Single needle and looper mechanism. so the secret behind sewing machines is that they work a totally different way, using a different kind of stitch and two totally separate threads, one fed. Chain Stitch Sewing Machine Mechanism.
From www.youtube.com
Chain Stitch Mechanism Sewing Machine YouTube Chain Stitch Sewing Machine Mechanism a single needle chain stitch is a sewing machine that is designed to sew stitches. These are mainly intended for attaching garment components that are not exposed to high amounts of loads during wear using a lock stitch. so the secret behind sewing machines is that they work a totally different way, using a different kind of stitch. Chain Stitch Sewing Machine Mechanism.
From www.worldengroup.com
Wd1508p Flat Bed Double Chain Stitch Sewing Machine with Horizontal Chain Stitch Sewing Machine Mechanism with a chain stitch, the sewing machine holds down the fabric with a presser foot, and at the beginning of each stitch, it creates a loop. so the secret behind sewing machines is that they work a totally different way, using a different kind of stitch and two totally separate threads, one fed from above (by the needle). Chain Stitch Sewing Machine Mechanism.
From www.fiddlebase.com
Raymond's Sewing Machines Fiddlebase Chain Stitch Sewing Machine Mechanism understanding the chain stitch mechanism. These are mainly intended for attaching garment components that are not exposed to high amounts of loads during wear using a lock stitch. Single needle and looper mechanism. so the secret behind sewing machines is that they work a totally different way, using a different kind of stitch and two totally separate threads,. Chain Stitch Sewing Machine Mechanism.
From tzfits.en.made-in-china.com
Fit3800d2 Two Needles Direct Drive Chain Stitch Sewing Machine Chain Stitch Sewing Machine Mechanism understanding the chain stitch mechanism. Single needle and looper mechanism. a single needle chain stitch is a sewing machine that is designed to sew stitches. so the secret behind sewing machines is that they work a totally different way, using a different kind of stitch and two totally separate threads, one fed from above (by the needle). Chain Stitch Sewing Machine Mechanism.
From ehive.com
Willcox & Gibbs Chain Stitch Sewing Machine on eHive Chain Stitch Sewing Machine Mechanism with a chain stitch, the sewing machine holds down the fabric with a presser foot, and at the beginning of each stitch, it creates a loop. Single needle and looper mechanism. a single needle chain stitch is a sewing machine that is designed to sew stitches. understanding the chain stitch mechanism. so the secret behind sewing. Chain Stitch Sewing Machine Mechanism.
From www.textileblog.com
Stitch Formation Techniques of Various Sewing Machines Textile Blog Chain Stitch Sewing Machine Mechanism understanding the chain stitch mechanism. These are mainly intended for attaching garment components that are not exposed to high amounts of loads during wear using a lock stitch. so the secret behind sewing machines is that they work a totally different way, using a different kind of stitch and two totally separate threads, one fed from above (by. Chain Stitch Sewing Machine Mechanism.
From tzfits.en.made-in-china.com
FlatBed Double Chain Stitch Machine with Horizontal Movement Mechanism Chain Stitch Sewing Machine Mechanism Single needle and looper mechanism. a single needle chain stitch is a sewing machine that is designed to sew stitches. understanding the chain stitch mechanism. with a chain stitch, the sewing machine holds down the fabric with a presser foot, and at the beginning of each stitch, it creates a loop. These are mainly intended for attaching. Chain Stitch Sewing Machine Mechanism.
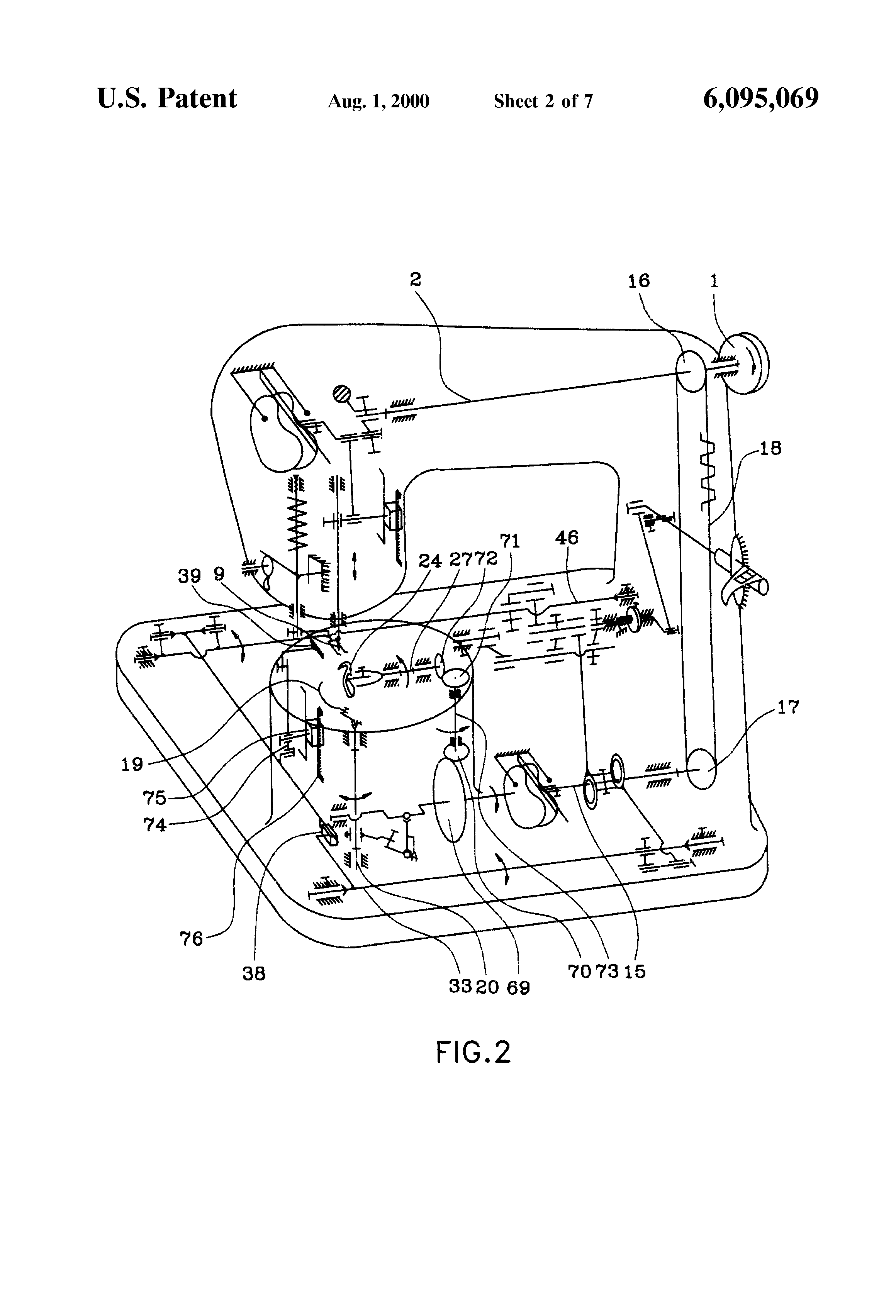
From www.google.co.uk
Patent US6095069 Doublethread chainstitch sewing machine Google Chain Stitch Sewing Machine Mechanism with a chain stitch, the sewing machine holds down the fabric with a presser foot, and at the beginning of each stitch, it creates a loop. a single needle chain stitch is a sewing machine that is designed to sew stitches. These are mainly intended for attaching garment components that are not exposed to high amounts of loads. Chain Stitch Sewing Machine Mechanism.
From www.pinterest.com
TK1508P 14 needle flatbed double chain stitch machine with Chain Stitch Sewing Machine Mechanism so the secret behind sewing machines is that they work a totally different way, using a different kind of stitch and two totally separate threads, one fed from above (by the needle) and a second one fed from below (by a reel called a bobbin mounted in a rotating carrier called a shuttle). These are mainly intended for attaching. Chain Stitch Sewing Machine Mechanism.
From machineryhacks.com
Chain Stitch Machine Everything You Need to Know! Chain Stitch Sewing Machine Mechanism understanding the chain stitch mechanism. Single needle and looper mechanism. These are mainly intended for attaching garment components that are not exposed to high amounts of loads during wear using a lock stitch. a single needle chain stitch is a sewing machine that is designed to sew stitches. so the secret behind sewing machines is that they. Chain Stitch Sewing Machine Mechanism.
From industrialsewingmachine.global.brother
DA9270 Double Chain Stitch Industrial Sewing Machine Brother Chain Stitch Sewing Machine Mechanism understanding the chain stitch mechanism. Single needle and looper mechanism. so the secret behind sewing machines is that they work a totally different way, using a different kind of stitch and two totally separate threads, one fed from above (by the needle) and a second one fed from below (by a reel called a bobbin mounted in a. Chain Stitch Sewing Machine Mechanism.
From www.sewingbar.com
Flat bed multi needle double chain stitch sewing machine Chain Stitch Sewing Machine Mechanism with a chain stitch, the sewing machine holds down the fabric with a presser foot, and at the beginning of each stitch, it creates a loop. Single needle and looper mechanism. understanding the chain stitch mechanism. These are mainly intended for attaching garment components that are not exposed to high amounts of loads during wear using a lock. Chain Stitch Sewing Machine Mechanism.
From suprena-sewing.com
SP928 Suprena 3needle feedoffthearm chain stitch sewing machines Chain Stitch Sewing Machine Mechanism with a chain stitch, the sewing machine holds down the fabric with a presser foot, and at the beginning of each stitch, it creates a loop. so the secret behind sewing machines is that they work a totally different way, using a different kind of stitch and two totally separate threads, one fed from above (by the needle). Chain Stitch Sewing Machine Mechanism.
From www.google.com
Patent US6973887 Chain stitch sewing mechanism Google Patents Chain Stitch Sewing Machine Mechanism so the secret behind sewing machines is that they work a totally different way, using a different kind of stitch and two totally separate threads, one fed from above (by the needle) and a second one fed from below (by a reel called a bobbin mounted in a rotating carrier called a shuttle). with a chain stitch, the. Chain Stitch Sewing Machine Mechanism.
From emdigitizer.com
Complete Details About Chain Stitch Sewing Machine » EMDIGITIZER Chain Stitch Sewing Machine Mechanism with a chain stitch, the sewing machine holds down the fabric with a presser foot, and at the beginning of each stitch, it creates a loop. understanding the chain stitch mechanism. These are mainly intended for attaching garment components that are not exposed to high amounts of loads during wear using a lock stitch. so the secret. Chain Stitch Sewing Machine Mechanism.
From www.alibaba.com
Dt 1508p Flatbed Chain Stitch Industrial Sewing Machine With Chain Stitch Sewing Machine Mechanism with a chain stitch, the sewing machine holds down the fabric with a presser foot, and at the beginning of each stitch, it creates a loop. Single needle and looper mechanism. so the secret behind sewing machines is that they work a totally different way, using a different kind of stitch and two totally separate threads, one fed. Chain Stitch Sewing Machine Mechanism.
From www.indiamart.com
Sera Flatlock Chain Stitch Sewing Machine, Automatic Grade Semi Chain Stitch Sewing Machine Mechanism understanding the chain stitch mechanism. a single needle chain stitch is a sewing machine that is designed to sew stitches. These are mainly intended for attaching garment components that are not exposed to high amounts of loads during wear using a lock stitch. with a chain stitch, the sewing machine holds down the fabric with a presser. Chain Stitch Sewing Machine Mechanism.
From textiletrainer.com
Study on Mechanism of Chain Stitch Formation with Dynamic Image Chain Stitch Sewing Machine Mechanism understanding the chain stitch mechanism. Single needle and looper mechanism. a single needle chain stitch is a sewing machine that is designed to sew stitches. with a chain stitch, the sewing machine holds down the fabric with a presser foot, and at the beginning of each stitch, it creates a loop. These are mainly intended for attaching. Chain Stitch Sewing Machine Mechanism.
From www.jninternational.net
FX4404P FX4404PMD multineedle,double chain stitch machine Chain Stitch Sewing Machine Mechanism a single needle chain stitch is a sewing machine that is designed to sew stitches. understanding the chain stitch mechanism. so the secret behind sewing machines is that they work a totally different way, using a different kind of stitch and two totally separate threads, one fed from above (by the needle) and a second one fed. Chain Stitch Sewing Machine Mechanism.
From sewkey.en.made-in-china.com
China HighSpeed Single/Double Needle Chain Stitch Sewing Machine Chain Stitch Sewing Machine Mechanism Single needle and looper mechanism. so the secret behind sewing machines is that they work a totally different way, using a different kind of stitch and two totally separate threads, one fed from above (by the needle) and a second one fed from below (by a reel called a bobbin mounted in a rotating carrier called a shuttle). . Chain Stitch Sewing Machine Mechanism.
From www.sewingbar.com
Parallel 2 needle chain stitch sewing machine Chain Stitch Sewing Machine Mechanism a single needle chain stitch is a sewing machine that is designed to sew stitches. These are mainly intended for attaching garment components that are not exposed to high amounts of loads during wear using a lock stitch. with a chain stitch, the sewing machine holds down the fabric with a presser foot, and at the beginning of. Chain Stitch Sewing Machine Mechanism.
From www.foxsew.com
Double Needle Chain Stitch Sewing Machine Chain Stitch Sewing Machine Chain Stitch Sewing Machine Mechanism a single needle chain stitch is a sewing machine that is designed to sew stitches. Single needle and looper mechanism. so the secret behind sewing machines is that they work a totally different way, using a different kind of stitch and two totally separate threads, one fed from above (by the needle) and a second one fed from. Chain Stitch Sewing Machine Mechanism.
From www.demasewingautomation.com
Chain Stitch Sewing Machine Double Needle Chain Stitch Sewing Machine Mechanism so the secret behind sewing machines is that they work a totally different way, using a different kind of stitch and two totally separate threads, one fed from above (by the needle) and a second one fed from below (by a reel called a bobbin mounted in a rotating carrier called a shuttle). understanding the chain stitch mechanism.. Chain Stitch Sewing Machine Mechanism.
From atlaslevy.3dcartstores.com
Feed off arm Three Needle Chainstitch sewing machine AtlasU Chain Stitch Sewing Machine Mechanism understanding the chain stitch mechanism. Single needle and looper mechanism. a single needle chain stitch is a sewing machine that is designed to sew stitches. with a chain stitch, the sewing machine holds down the fabric with a presser foot, and at the beginning of each stitch, it creates a loop. These are mainly intended for attaching. Chain Stitch Sewing Machine Mechanism.
From www.youtube.com
How Chain Stitch Sewing Machines Work YouTube Chain Stitch Sewing Machine Mechanism These are mainly intended for attaching garment components that are not exposed to high amounts of loads during wear using a lock stitch. Single needle and looper mechanism. understanding the chain stitch mechanism. with a chain stitch, the sewing machine holds down the fabric with a presser foot, and at the beginning of each stitch, it creates a. Chain Stitch Sewing Machine Mechanism.
From www.miketony.com.tw
FLATBED,4NEEDLE,DOUBLE CHAIN STITCH MACHINE FOR ATTACHING ELASTIC(WITH Chain Stitch Sewing Machine Mechanism a single needle chain stitch is a sewing machine that is designed to sew stitches. so the secret behind sewing machines is that they work a totally different way, using a different kind of stitch and two totally separate threads, one fed from above (by the needle) and a second one fed from below (by a reel called. Chain Stitch Sewing Machine Mechanism.
From nbfanghung.en.made-in-china.com
CylinderBed Multi Needle Double Chain Stitch Machine (TJVC008 Chain Stitch Sewing Machine Mechanism These are mainly intended for attaching garment components that are not exposed to high amounts of loads during wear using a lock stitch. so the secret behind sewing machines is that they work a totally different way, using a different kind of stitch and two totally separate threads, one fed from above (by the needle) and a second one. Chain Stitch Sewing Machine Mechanism.
From emdigitizer.com
Complete Details About Chain Stitch Sewing Machine » EMDIGITIZER Chain Stitch Sewing Machine Mechanism Single needle and looper mechanism. so the secret behind sewing machines is that they work a totally different way, using a different kind of stitch and two totally separate threads, one fed from above (by the needle) and a second one fed from below (by a reel called a bobbin mounted in a rotating carrier called a shuttle). . Chain Stitch Sewing Machine Mechanism.
From www.sewingbar.com
Flat bed multi needle double chain stitch sewing machine Chain Stitch Sewing Machine Mechanism Single needle and looper mechanism. with a chain stitch, the sewing machine holds down the fabric with a presser foot, and at the beginning of each stitch, it creates a loop. so the secret behind sewing machines is that they work a totally different way, using a different kind of stitch and two totally separate threads, one fed. Chain Stitch Sewing Machine Mechanism.
From www.pinterest.com
WILLCOX & GIBBS, WILLCOX & GIBBS CHAIN STITCH SEWING MACHINE W&G Chain Stitch Sewing Machine Mechanism with a chain stitch, the sewing machine holds down the fabric with a presser foot, and at the beginning of each stitch, it creates a loop. a single needle chain stitch is a sewing machine that is designed to sew stitches. These are mainly intended for attaching garment components that are not exposed to high amounts of loads. Chain Stitch Sewing Machine Mechanism.
From medium.com
Complete Details About Chain Stitch Sewing Machine by Emdigitizerblog Chain Stitch Sewing Machine Mechanism understanding the chain stitch mechanism. These are mainly intended for attaching garment components that are not exposed to high amounts of loads during wear using a lock stitch. Single needle and looper mechanism. a single needle chain stitch is a sewing machine that is designed to sew stitches. so the secret behind sewing machines is that they. Chain Stitch Sewing Machine Mechanism.
From industrialsewingmachine.global.brother
DA927A Double Chain Stitch Industrial Sewing Machine Brother Chain Stitch Sewing Machine Mechanism understanding the chain stitch mechanism. a single needle chain stitch is a sewing machine that is designed to sew stitches. These are mainly intended for attaching garment components that are not exposed to high amounts of loads during wear using a lock stitch. so the secret behind sewing machines is that they work a totally different way,. Chain Stitch Sewing Machine Mechanism.
From ordnur.com
Principles of Lock and Chain Stitch Formation and Its Differences ORDNUR Chain Stitch Sewing Machine Mechanism a single needle chain stitch is a sewing machine that is designed to sew stitches. so the secret behind sewing machines is that they work a totally different way, using a different kind of stitch and two totally separate threads, one fed from above (by the needle) and a second one fed from below (by a reel called. Chain Stitch Sewing Machine Mechanism.